GM Service Manual Online
For 1990-2009 cars only

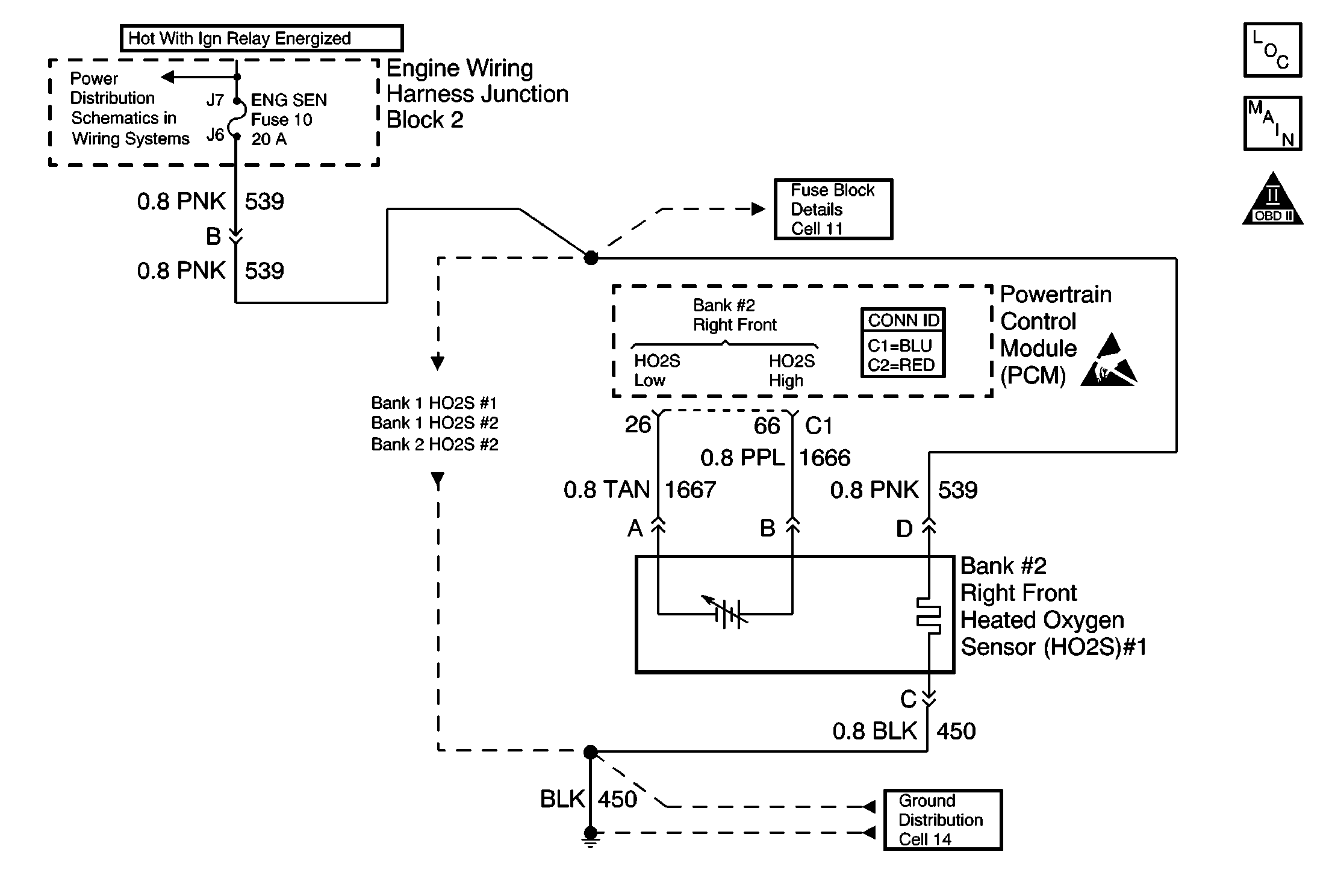
Object Number: 582470  Size: MF
Engine Controls Component Views
Oxygen Sensors
OBD II Symbol Description Notice
Handling ESD Sensitive Parts Notice

Circuit Description

The powertrain control module (PCM) supplies a voltage of about 450 mV between the HO2S high and low signal circuits. The oxygen sensor varies the voltage over a range from about 1,000 mV when the exhaust is rich, down through about 10 mV when the exhaust is lean.

The PCM monitors and stores the heated oxygen sensor (HO2S) voltage information. The PCM evaluates the HO2S voltage samples in order to determine the amount of time the HO2S voltage was out of range. The PCM compares the stored HO2S voltage samples taken within each sample period and determines if majority of the samples are out of the operating range.

The PCM monitors the HO2S voltage for being fixed above a predetermined voltage. If the PCM detects the voltage is above a predetermined voltage, a DTC will set.

Conditions for Running the DTC

    • DTCs P0101, P0102, P0103, P0112, P0113, P0117, P0118, P0121, P0122, P0123, P0125, P0200, P0335, P0336, P0351-P0358, P1258 not set.
    • The fuel system is operating in Closed Loop.
    • The AIR, EGR, and the Catalyst diagnostics are not active.
    • The ignition voltage is more than 9.0 volts.
    • The throttle position (TP) sensor angle is between 2-70 percent.

Conditions for Setting the DTC

    • The HO2S signal voltage remains above 775 mV.
    • The conditions are present for 33 seconds.

Action Taken When the DTC Sets

    • The PCM illuminates the malfunction indicator lamp (MIL) on the second consecutive ignition cycle that the diagnostic runs and fails.
    • The PCM records the operating conditions at the time the diagnostic fails. The first time the diagnostic fails, the PCM stores this information in the Failure Records. If the diagnostic reports a failure on the second consecutive ignition cycle, the PCM records the operating conditions at the time of the failure. The PCM writes the conditions to the Freeze Frame and updates the Failure Records.

Conditions for Clearing the MIL/DTC

    • The PCM turns OFF the malfunction indicator lamp (MIL) after 3 consecutive ignition cycles that the diagnostic runs and does not fail.
    • A last test failed, or current DTC, clears when the diagnostic runs and does not fail.
    • A history DTC clears after 40 consecutive warm-up cycles, if no failures are reported by this or any other emission related diagnostic.
    • Use a scan tool in order to clear the MIL and the DTC.

Diagnostic Aids

Important: 

   • Remove any debris from the PCM connector surfaces before servicing the PCM. Inspect the PCM connector gaskets when diagnosing/replacing the PCM. Ensure that the gaskets are installed correctly. The gaskets prevent contaminant intrusion into the PCM.
   • For any test that requires probing the PCM or component harness connectors, use the J 35616 connector test adapter kit . Using this kit prevents any damage to the harness connector terminals. Refer to Using Connector Test Adapters in Wiring Systems.

Inspect the HO2S electrical connections for evidence of water intrusion. Water present in the connector causes the B+ supply to the heater to bleed over to the signal circuit.

    • Fuel pressure--The system goes rich if the pressure is too high. The PCM compensates for some increase. However, if the fuel pressure is too high, a DTC may set. Refer to Fuel System Diagnosis .
    • Rich injectors--Perform the Injector Balance Test. Refer to Fuel Injector Balance Test with Tech 2 or Fuel Injector Balance Test with Special Tool .
    • Leaking injector: Refer to the Fuel System Diagnosis .
    • Evaporative emissions (EVAP) canister purge. Inspect for fuel saturation. If full of fuel, inspect the canister control and hoses. Refer to Evaporative Emission Control System Operation Description .
    • MAF sensor--Disconnect the MAF sensor and see if the rich condition is corrected. If so, inspect for proper installation. If installed OK, replace the MAF sensor. If the MAF sensor is installed backwards, the system goes rich. The plastic portion of the sensor has arrows cast into it indicating proper air flow direction. The arrows must point towards the engine.
    • An oxygen supply inside the HO2S is necessary for proper operation. The HO2S wires provide the supply of oxygen. Inspect the HO2S wires and connections for breaks or contamination. Refer to Heated Oxygen Sensor Wiring Repairs in Wiring Systems.
    • TP sensor--An intermittent TP sensor output causes the system to go rich, due to a false indication of the engine accelerating.

For an intermittent condition, refer to Symptoms .

Test Description

The numbers below refer to the step numbers on the diagnostic table.

  1. The engine must be at the normal operating temperature before performing this test.

  2. Using the Freeze Frame and/or Failure Records data may aid in locating an intermittent condition. If you can not duplicate the DTC, the information included in the Freeze Frame and/or Failure Records data can help determine how many miles since the DTC set. The Fail Counter and Pass Counter can also be used to determine how many ignition cycles the diagnostic reported a pass and/or a fail. Operate the vehicle within the same freeze frame conditions (RPM, load, vehicle speed, temperature etc.) that the PCM recorded. This isolates when the DTC failed.

  3. If the voltage remains high, this indicates the signal circuit is shorted to a voltage. If the voltage goes low, this indicates a rich condition.

  4. This step isolates the condition. If the voltage remains high, this indicates the signal circuit is not shorted to the heater feed circuit.

  5. Test for a short between the HO2S signal circuit and any other wires powered by this fuse that run together inside the same harness.

Step

Action

Value(s)

Yes

No

1

Did you perform the Powertrain On-Board Diagnostic (OBD) System Check?

--

Go to Step 2

Go to Powertrain On Board Diagnostic (OBD) System Check

2

  1. Install a scan tool.
  2. Idle the engine at the normal operating temperature.
  3. Operate the engine above 1200 RPM for 2 minutes.
  4. Monitor the HO2S voltage display on the Engine 1 Data List using the scan tool.

Is the HO2S voltage greater than the specified value?

775 mV

Go to Step 4

Go to Step 3

3

  1. Turn ON the ignition leaving the engine OFF.
  2. Review the Freeze Frame and/or Failure Records data for this DTC and observe the parameters.
  3. Turn OFF the ignition for 15 seconds.
  4. Idle the engine.
  5. Operate the vehicle within the conditions required for this diagnostic to run, and as close to the conditions recorded in Freeze Frame/Failure Records as possible. Special operating conditions that need to be met before the PCM will run this diagnostic, where applicable, are listed in Conditions for Running the DTC.
  6. Select the Diagnostic Trouble Code (DTC) option and the Specific DTC option, then enter the DTC number using the scan tool.

Does the scan tool indicate that this diagnostic failed this ignition?

--

Go to Step 4

Go to Diagnostic Aids

4

  1. Turn ON the ignition leaving the engine OFF.
  2. Monitor the HO2S voltage.

Is the HO2S voltage greater than the specified value?

775 mV

Go to Step 5

Go to Diagnostic Aids

5

Remove the HO2S heater fuse while monitoring the HO2S voltage.

Does the voltage drop to within the specified range when the power to the heater is disconnected?

350-550 mV

Go to Step 6

Go to Step 7

6

  1. Reinstall the fuse.
  2. Disconnect the HO2S.
  3. Jumper the HO2S low circuit (PCM side) to a known good ground.
  4. Monitor the HO2S voltage using the scan tool.

Does the scan tool indicate the HO2S voltage within the specified range?

350-550 mV

Go to Step 10

Go to Step 8

7

Important: Disconnecting the PCM may eliminate the short to voltage if the signal circuit is shorted to another C1 circuit.

  1. Turn OFF the ignition.
  2. Disconnect the PCM connector C1 located on the same side as the manufacturer's logo. Refer to Powertrain Control Module Replacement/Programming .
  3. Disconnect the HO2S.
  4. Turn ON the ignition.
  5. Test for a voltage on the HO2S sensor signal circuit at the PCM harness connector using the DMM.

Is a voltage present?

--

Go to Step 8

Go to Step 9

8

Repair the short to voltage in the HO2S signal circuit. Refer to Wiring Repairs in Wiring Systems .

Is the action complete?

--

Go to Step 11

--

9

Important: Program the replacement PCM. Refer to Powertrain Control Module Replacement/Programming .

Replace the PCM.

Is the action complete?

--

Go to Step 11

--

10

Replace the HO2S. Refer to Heated Oxygen Sensor Replacement - Bank 2 Sensor 1 .

Is the action complete?

--

Go to Step 11

--

11

  1. Select the Diagnostic Trouble Code (DTC) option and the Clear DTC Information option using the scan tool.
  2. Idle the engine at the normal operating temperature.
  3. Select the Diagnostic Trouble Code (DTC) option and the Specific DTC option, then enter the DTC number using the scan tool.
  4. Operate the vehicle within the Conditions for Running the DTC as specified in the supporting text, if applicable.

Does the scan tool indicate that this test ran and passed?

--

Go to Step 12

Go to Step 2

12

Select the Capture Info option and the Review Info option using the scan tool.

Does the scan tool display any DTCs that you have not diagnosed?

--

Go to the applicable DTC table

System OK