GM Service Manual Online
For 1990-2009 cars only

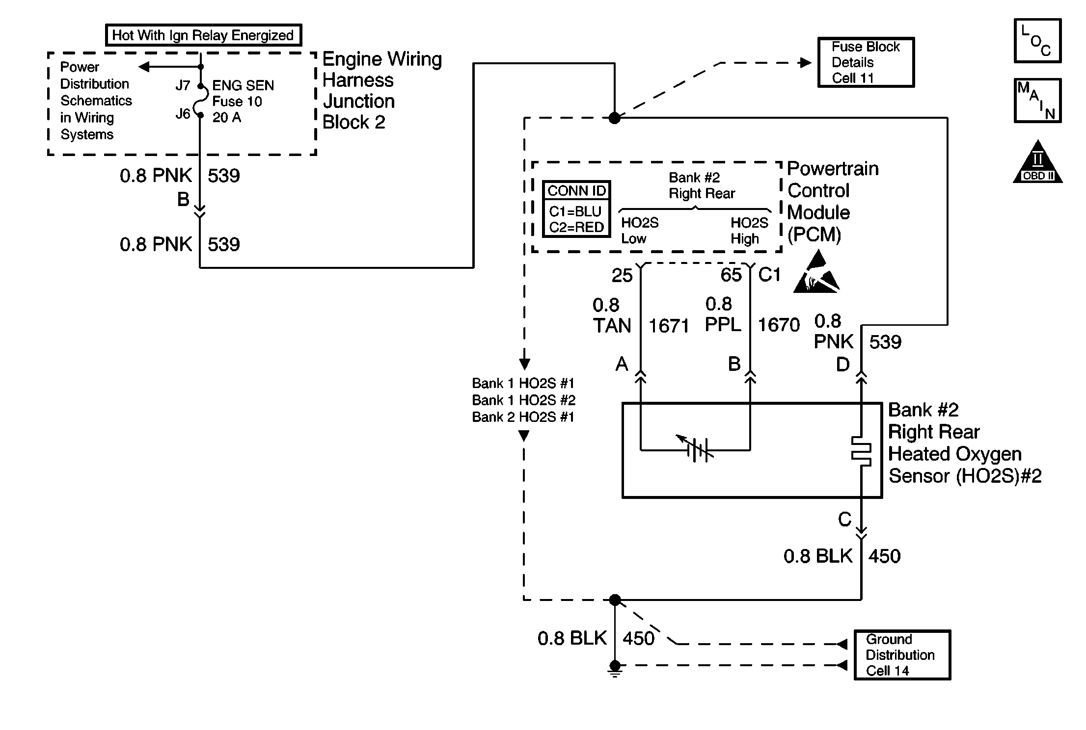
Object Number: 582472  Size: MF
Engine Controls Component Views
Oxygen Sensors
OBD II Symbol Description Notice
Handling ESD Sensitive Parts Notice

Circuit Description

The PCM supplies a bias voltage (approximately 450 mV) on the Heated Oxygen Sensor (HO2S) signal high and low circuits. When you turn the ignition to the ON position, battery voltage is supplied to the HO2S heater. As the heater reaches the operating temperature, the HO2S voltage responds by changing from a bias voltage range to the normal operation. Typically, as the HO2S reaches the operating temperature, the HO2S voltage goes from a bias voltage to a voltage below 300 mV. Depending on the exhaust gas content, it is possible for the HO2S voltage to go above 450 mV.

The PCM runs the heater test only on a cold start (depends on the cumulative air flow) and only once an ignition cycle. When you start the engine the PCM monitors the HO2S voltage. When the HO2S voltage goes above or below the bias range threshold, the PCM determines how much time it took. If the PCM detects that the process took too much time for the HO2S to enter into normal operating range, this DTC sets. The time the process takes the HO2S to reach operating temperature is based on the amount of air that flows into the engine.

Conditions for Running the DTC

    • DTCs P0101, P0102, P0103, P0112, P0113, P0117, P0118, P0121, P0122, P0123, P0125, P0200, P0335, P0336, P0351-P0358, P1258 not set.
    • The intake air temperature and the engine coolant temperature are less than 50°C (122°F) and are within 8°C (14.5°F) of each other at engine start-up.
    • The ignition voltage is between 10.0 volts and 18.0 volts.
    • The AIR, EGR, and the Catalyst diagnostics are not active.

Conditions for Setting the DTC

The HO2S voltage remains between 300 mV and 700 mV for a predetermined amount of time (depends on engine coolant temperature and air flow).

Action Taken When the DTC Sets

    • The PCM illuminates the malfunction indicator lamp (MIL) on the second consecutive ignition cycle that the diagnostic runs and fails.
    • The PCM records the operating conditions at the time the diagnostic fails. The first time the diagnostic fails, the PCM stores this information in the Failure Records. If the diagnostic reports a failure on the second consecutive ignition cycle, the PCM records the operating conditions at the time of the failure. The PCM writes the conditions to the Freeze Frame and updates the Failure Records.

Conditions for Clearing the MIL/DTC

    • The PCM turns OFF the malfunction indicator lamp (MIL) after 3 consecutive ignition cycles that the diagnostic runs and does not fail.
    • A last test failed, or current DTC, clears when the diagnostic runs and does not fail.
    • A history DTC clears after 40 consecutive warm-up cycles, if no failures are reported by this or any other emission related diagnostic.
    • Use a scan tool in order to clear the MIL and the DTC.

Diagnostic Aids

Important: 

   • Remove any debris from the PCM connector surfaces before servicing the PCM. Inspect the PCM connector gaskets when diagnosing/replacing the PCM. Ensure that the gaskets are installed correctly. The gaskets prevent contaminant intrusion into the PCM.
   • For any test that requires probing the PCM or component harness connectors, use the J 35616 connector test adapter kit. Using this kit prevents any damage to the harness connector terminals. Refer to Using Connector Test Adapters in Wiring Systems.

    • The heater diagnostic only runs on a cold start and runs once per ignition cycle.
    • An oxygen supply inside the HO2S is necessary for proper operation. The HO2S wires provide the supply of oxygen. Inspect the HO2S wires and connections for breaks or contamination. Refer to Heated Oxygen Sensor Wiring Repairs in Wiring System.
    • For an intermittent condition, refer to Symptoms .
    • This diagnostic may fail due to a restriction in the secondary air injection (AIR) system. Refer to DTC P1416 Secondary Air Injection (AIR) System Bank 2 .

Test Description

The numbers below refer to the step numbers on the diagnostic table.

  1. The engine must be allowed to cool, as the HO2S may be at operating temperature and no drop or rise in HO2S voltage would occur. If the HO2S voltage stays between 300-700 mV indicates the HO2S heater is inoperative.

  2. If more than one HO2S heater DTC is set, this is a good indication that the HO2S fuse is open. Test all the related circuits going to all of the heated oxygen sensors for a short to ground. If all wiring is OK, it may be necessary to disconnect each HO2S one at a time to locate a shorted sensor.

  3. Lower the exhaust system to gain sufficient access to the HO2S and/or the HO2S connector if necessary. This step verifies whether the B+ supply is available at the sensor.

  4. This step verifies whether a ground is available at the sensor.

  5. This step tests whether the HO2S heater element is internally open.

  6. Inspect the ignition feed circuits at the Underhood Electrical Center for poor connections.

  7. Test the ground circuits for an open if more then one heater DTC sets.

Step

Action

Value(s)

Yes

No

1

Did you perform the Powertrain On-Board Diagnostic (OBD) System Check?

--

Go to Step 2

Go to Powertrain On Board Diagnostic (OBD) System Check

2

Important: If you have been operating the engine, allow the engine to cool for about one half hour before proceeding.

  1. Turn OFF the ignition.
  2. Install the scan tool.
  3. Turn ON the ignition leaving the engine OFF.
  4. Monitor the HO2S voltage display on the Engine 1 Data List of the scan tool.

Does the HO2S voltage go from a bias voltage to above or below the specified values?

300-700 mV

Go to Diagnostic Aids

Go to Step 3

3

Inspect the fuse for the HO2S ignition feed.

Is the HO2S fuse open?

--

Go to Step 11

Go to Step 4

4

  1. Raise the vehicle. Go to Lifting and Jacking the Vehicle in General Information.
  2. Disconnect the HO2S electrical connector.
  3. Probe the ignition feed circuit at the HO2S electrical connector (PCM side) using the J 35616-200 test lamp connected to a known good ground. Do not use the HO2S heater ground or the HO2S low circuit.

Is the test lamp illuminated?

--

Go to Step 5

Go to Step 7

5

Connect the J 35616-200 test lamp between the HO2S ignition feed and the HO2S heater ground.

Is the test lamp illuminated?

--

Go to Step 6

Go to Step 8

6

Measure the resistance between the HO2S ignition feed and the HO2S heater ground at the HO2S pigtail using the DMM.

Is the HO2S resistance within the specified values?

3.5-14.0ohms

Go to Step 9

Go to Step 10

7

Repair the open in the HO2S ignition feed circuit to the HO2S. Refer to Wiring Repairs in Wiring Systems .

Is the action complete?

--

Go to Step 12

--

8

Repair the open in the HO2S heater ground circuit. Refer to Wiring Repairs in Wiring Systems .

Is the action complete?

--

Go to Step 12

--

9

  1. Inspect for a poor connection at the HO2S. Refer to Testing for Intermittent Conditions and Poor Connections in Wiring Systems.
  2. If you find a poor connection repair as necessary. Refer to Repairing Connector Terminals in Wiring Systems.

Did you find and repair the condition?

--

Go to Step 12

Go to Step 10

10

Replace the HO2S. Refer to Heated Oxygen Sensor Replacement - Bank 2 Sensor 2 .

Is the action complete?

--

Go to Step 12

--

11

  1. Repair the short to ground in the HO2S ignition feed circuit. Refer to Wiring Repairs in Wiring Systems .
  2. Replace the faulty fuse.

Is the action complete?

--

Go to Step 12

--

12

  1. Select the Diagnostic Trouble Code (DTC) option and the Clear DTC Information option using the scan tool.
  2. Idle the engine at the normal operating temperature.
  3. Select the Diagnostic Trouble Code (DTC) option and the Specific DTC option, then enter the DTC number using the scan tool.
  4. Operate the vehicle within the Conditions for Running the DTC as specified in the supporting text, if applicable.

Does the scan tool indicate that this test ran and passed?

--

Go to Step 13

Go to Step 2

13

Select the Capture Info option and the Review Info option using the scan tool.

Does the scan tool display any DTCs that you have not diagnosed?

--

Go to the applicable DTC table

System OK