GM Service Manual Online
For 1990-2009 cars only

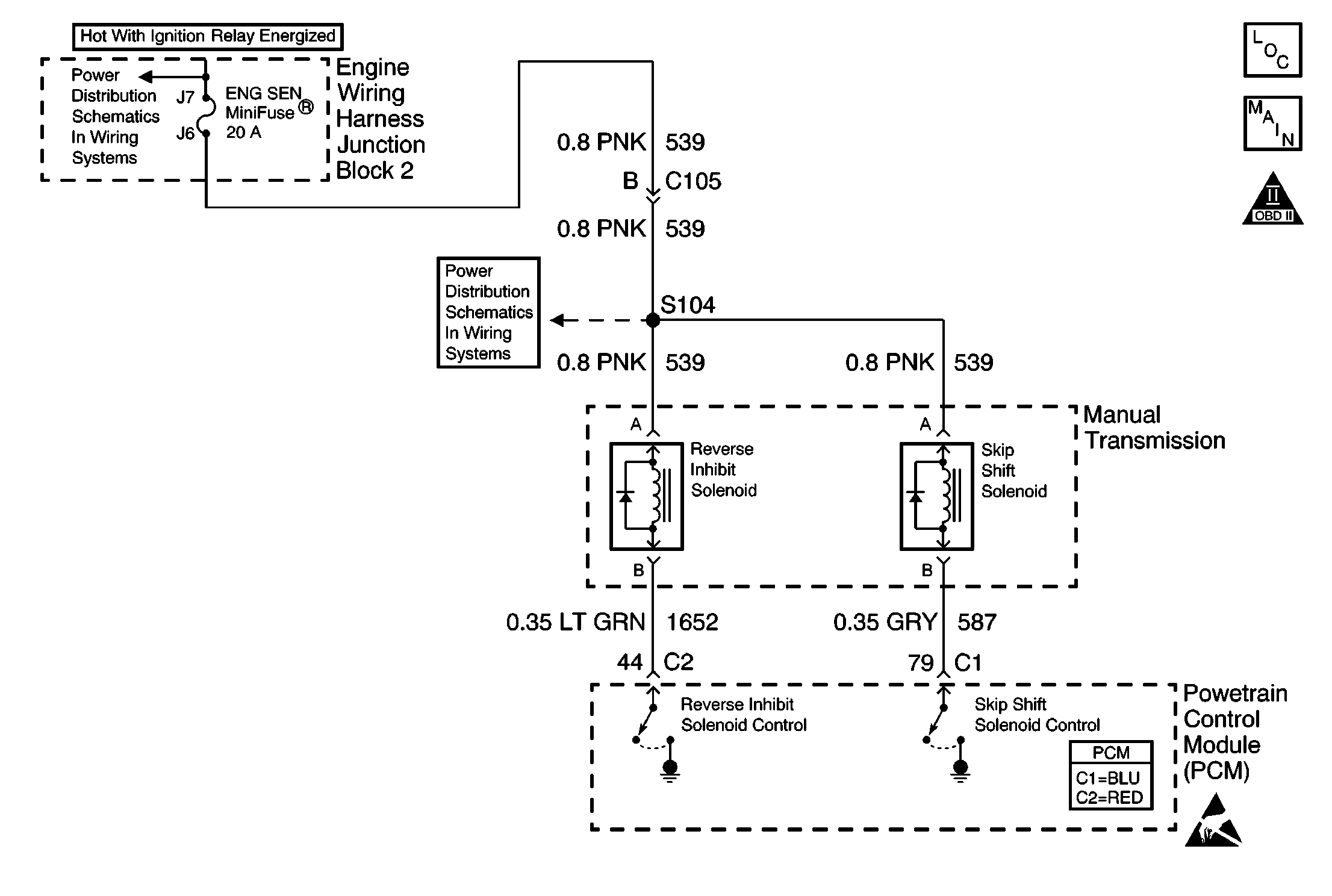
Object Number: 582491  Size: MF
Engine Controls Component Views
OBD II Symbol Description Notice
Cruise Control Clutch Switch and Manual Transmission
Handling ESD Sensitive Parts Notice

Circuit Description

A voltage is supplied directly to the Reverse Inhibit solenoid. The PCM controls the solenoid by grounding the control circuit via an internal switch called a driver. The driver supplies the ground for the component being controlled. Each driver has a fault line which the PCM monitors. When the PCM commands a component ON, the voltage of the control circuit should be low (near 0 volts). When the PCM commands the control circuit to a component OFF, the voltage potential of the circuit should be high (near battery voltage). If the fault detection circuit senses a voltage other than what is expected, the fault line status changes causing the DTC to set.

When the Reverse Inhibit solenoid energizes, the operator can shift the transmission into reverse. The PCM enables the Reverse Inhibit solenoid whenever vehicle speed is below 5 mph. When the vehicle speed is above 5 mph, the PCM de-energizes the solenoid, which prevents the operator from shifting the transmission into reverse.

Conditions for Running the DTC

    • The engine speed is more than 400 RPM.
    • The ignition voltage is between 6.0 volts and 18.0 volts.

Conditions for Setting the DTC

    • The PCM detects that the commanded state of the driver and the actual state of the control circuit do not match.
    • Condition must exist for a minimum of 5 seconds.

Action Taken When the DTC Sets

    • The powertrain control module (PCM) stores the DTC information into memory when the diagnostic runs and fails.
    • The malfunction indicator lamp (MIL) will not illuminate.
    • The PCM records the operating conditions at the time the diagnostic fails. The PCM stores this information in the Failure Records.

Conditions for Clearing the DTC

    • A last test failed, or current DTC, clears when the diagnostic runs and does not fail.
    • A history DTC will clear after 40 consecutive warm-up cycles, if no failures are reported by this or any other non-emission related diagnostic.
    • Use a scan tool in order to clear the DTC.

Diagnostic Aids

Important: 

   • Remove any debris from the PCM connector surfaces before servicing the PCM. Inspect the PCM connector gaskets when diagnosing/replacing the PCM. Ensure that the gaskets are installed correctly. The gaskets prevent contaminate intrusion into the PCM.
   • For any test that requires probing the PCM or a component harness connector, use the J 35616 connector test adapter kit. Using this kit prevents damage to the harness/component terminals. Refer to Using Connector Test Adapters in Wiring Systems.

Low system voltage can cause this DTC to set. When reviewing captured data, verify if a low system voltage condition was present at the time the DTC was stored in memory.

For an intermittent condition, refer to Symptoms .

Test Description

The numbers below refer to the step numbers on the diagnostic table.

  1. Listen for an audible click when the solenoid operates. Be sure that both the ON and the OFF states are commanded. Repeat the commands as necessary.

  2. This step tests for voltage at the coil side of the Reverse Inhibit solenoid. The ENG SEN fuse supplies power to the coil side of the Reverse Inhibit solenoid.

  3. This step verifies that the PCM is providing ground to the Reverse Inhibit solenoid.

  4. This step tests if a ground is constantly being applied to the Reverse Inhibit solenoid.

Step

Action

Values

Yes

No

1

Did you perform the Powertrain On-Board Diagnostic (OBD) System Check ?

--

Go to Step 2

Go to Powertrain On Board Diagnostic (OBD) System Check

2

  1. Start the engine and idle at the normal operating temperature.
  2. With the scan tool, command the solenoid ON and OFF.

Does the solenoid turn ON and OFF when commanded?

--

Go to Step 3

Go to Step 4

3

  1. Review the Freeze Frame and/or Failure records data for this DTC.
  2. Turn OFF the ignition for 30 seconds.
  3. Start the engine.
  4. Operate the vehicle within the Conditions for running the DTC as specified in the supporting text or as close to the Freeze Frame and/or Failure records data that you observe.

Does this DTC reset?

--

Go to Step 4

Go to Intermittent Conditions

4

  1. Turn OFF the ignition.
  2. Disconnect the solenoid electrical connector.
  3. Turn ON the ignition, with the engine OFF.
  4. Probe the coil side feed circuit of the Reverse Inhibit solenoid with a test lamp that is connected to a good ground.

Does the test lamp illuminate?

--

Go to Step 5

Go to Step 11

5

  1. Connect a test lamp between the control circuit of the Reverse Inhibit solenoid and the coil side feed circuit of the Reverse Inhibit solenoid. Refer to Probing Electrical Connectors in Wiring Systems .
  2. With a scan tool, command the Reverse Inhibit solenoid ON and OFF.

Does the test lamp turn ON and OFF with each command?

--

Go to Step 9

Go to Step 6

6

Does the test lamp remain illuminated with each command?

--

Go to Step 8

Go to Step 7

7

  1. Test the control circuit of the Reverse Inhibit solenoid for a short to voltage or an open. Refer to Circuit Testing in Wiring Systems.
  2. If you find a condition, repair as necessary. Refer to Wiring Repairs in Wiring Systems.

Did you find and correct the condition?

--

Go to Step 14

Go to Step 10

8

  1. Test the control circuit of the Reverse Inhibit solenoid for a short to ground. Refer to Circuit Testing in Wiring Systems.
  2. If you find a condition, repair as necessary. Refer to Wiring Repairs in Wiring Systems.

Did you find and correct the condition?

--

Go to Step 14

Go to Step 13

9

  1. Inspect for poor connections at the Reverse Inhibit solenoid. Refer to Testing for Intermittent Conditions and Poor Connections in Wiring Systems.
  2. If you find a condition, repair as necessary. Refer to Repairing Connector Terminals in Wiring Systems.

Did you find and correct the condition?

--

Go to Step 14

Go to Step 12

10

  1. Inspect for poor connections at the PCM. Refer to Testing for Intermittent Conditions and Poor Connections in Wiring Systems.
  2. If you find a condition, repair as necessary. Refer to Repairing Connector Terminals in Wiring Systems.

Did you find and correct the condition?

--

Go to Step 14

Go to Step 13

11

Repair the coil side feed circuit of the Reverse Inhibit solenoid. Refer to Wiring Repairs in Wiring Systems .

Is the action complete?

--

Go to Step 14

--

12

Replace the Reverse Inhibit solenoid. Refer to Reverse Lockout Solenoid in Manual Transmission MM6.

Is the action complete?

--

Go to Step 14

--

13

Important: Program the replacement PCM.

Replace the PCM. Refer to Powertrain Control Module Replacement/Programming .

Is the action complete?

--

Go to Step 14

--

14

  1. Use a scan tool in order to clear the DTCs.
  2. Operate vehicle within the Conditions for Running the DTC as specified in the supporting text.

Does the DTC reset?

--

Go to Step 2

Go to Step 15

15

With a scan tool, review the Stored information (capture info).

Does the scan tool display any DTCs that you have not diagnosed?

--

Go to Diagnostic Trouble Code (DTC) List/Type

System OK