GM Service Manual Online
For 1990-2009 cars only

Tools Required

    • J 39580 Engine Support Table
    • J 36221 Hydraulic Clutch Line Separator
    • J 25034-C Power Steering Pump Pulley Remover
    • J 25033-C Power Steering Pump Pulley Installer
    • J 39549 Ball Joint/Tie Rod Separator
    • J 21366 Converter Holding Strap
    • J 41798 Engine Lifting Brackets
    • J 38836 Pilot Bushing Installer/Clutch Alignment Arbor

Removal Procedure

Caution: Unless directed otherwise, the ignition and start switch must be in the OFF or LOCK position, and all electrical loads must be OFF before servicing any electrical component. Disconnect the negative battery cable to prevent an electrical spark should a tool or equipment come in contact with an exposed electrical terminal. Failure to follow these precautions may result in personal injury and/or damage to the vehicle or its components.


    Object Number: 211587  Size: SH
  1. Disconnect the negative battery cable. Refer to Battery Negative Cable Disconnection and Connection in Engine Electrical.
  2. Disconnect the positive battery cable.
  3. Recover the air conditioning system. Refer to Refrigerant Recovery and Recharging in Heating, Ventilation, and Air Conditioning.
  4. Drain the engine oil.
  5. Remove the fan shroud. Refer to Fan Shroud Replacement in Engine Cooling.
  6. Remove the upper radiator (inlet) hose. Refer to Radiator Inlet Hose Replacement in Engine Cooling.
  7. Remove the lower radiator (outlet) hose. Refer to Radiator Outlet Hose Replacement in Engine Cooing.
  8. Remove the shift control closeout boot, if equipped with a manual transmission. Refer to Shift Control Shift Closeout Boot Replacement in Manual Transmission -MM6.
  9. Relieve the fuel system pressure. Refer to Fuel Pressure Relief in Engine Controls - 5.7L.

  10. Object Number: 282941  Size: SH
  11. Remove the air conditioning (A/C) compressor and condenser hose bolt at the accumulator.
  12. Discard the O-ring.

  13. Object Number: 208376  Size: SH
  14. Remove the upper oil cooler line from the radiator.

  15. Object Number: 221721  Size: SH
  16. Remove the air conditioning condenser tube nut.
  17. Remove the condenser tube from the condenser.

  18. Object Number: 282934  Size: SH
  19. Remove the inlet and outlet heater hoses from the water pump.
  20. 15.1. Squeeze the hose clamp together with pliers.
    15.2. Slide the hose clamp away from the water pump fitting.
    15.3. Gently twist and pull the heater hose from the water pump fitting.

    Object Number: 220597  Size: SH
  21. Disconnect the fuel line from the fuel rail.
  22. Disconnect the vapor line from the fuel vapor purge valve.

  23. Object Number: 220601  Size: SH
  24. Remove the cruise control cable from the throttle lever.

  25. Object Number: 220602  Size: SH

    Caution: In order to avoid possible injury or vehicle damage, always replace the accelerator control cable with a NEW cable whenever you remove the engine from the vehicle.

    In order to avoid cruise control cable damage, position the cable out of the way while you remove or install the engine. Do not pry or lean against the cruise control cable and do not kink the cable. You must replace a damaged cable.

  26. Remove the accelerator control cable from the throttle lever.
  27. Unsnap and remove the accelerator and cruise control cable from the throttle body bracket.

  28. Object Number: 604923  Size: SH
  29. Remove the secondary air injection (AIR) hose (2) from the AIR shut-off valve (1).
  30. Remove the brake booster vacuum hose.
  31. Remove the front brake lines from the brake pressure modulator valve.

  32. Object Number: 346047  Size: SH
  33. Disconnect the secondary captured locks.
  34. Disconnect the forward lamp harness from the engine harness.
  35. Disconnect the engine harness vacuum tube from the bottom of the vacuum check valve.

  36. Object Number: 346043  Size: SH
  37. Disconnect the powertrain control module (PCM) connectors.
  38. Remove the PCM from the bracket.
  39. Remove the right side insulator panel. Refer to Instrument Panel Insulator Panel Replacement - Right Side in Instrument Panel, Gages, and Console.
  40. Remove the hinge pillar trim panel. Refer to Body Hinge Pillar Trim Panel Replacement in Interior Trim.

  41. Object Number: 346039  Size: SH
  42. Disconnect the engine wiring harness from the instrument panel wiring harness.

  43. Object Number: 346041  Size: SH
  44. Pull the engine wiring harness through the front of dash.
  45. Lay the engine wire harness on top of the engine.
  46. Raise and suitably support the vehicle. Refer to Lifting and Jacking the Vehicle in General Information.

  47. Object Number: 208376  Size: SH
  48. Remove the lower oil cooler line from the radiator.
  49. Remove the front wheels. Refer to Tire and Wheel Removal and Installation in Tires and Wheels.
  50. Disconnect ALL oxygen sensor electrical connectors.
  51. Remove the exhaust crossover pipe. Refer to Exhaust Crossover Pipe Replacement in Engine Exhaust.
  52. Remove the driver side front fascia air deflector. Refer to Front Bumper Fascia Air Deflector Replacement in Bumpers.

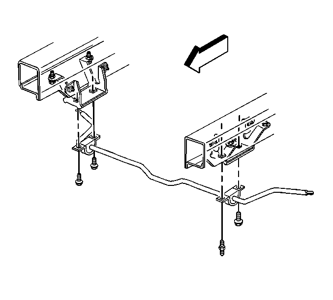
  53. Object Number: 657717  Size: SH
  54. Remove the stabilizer bar bracket bolts/stud.
  55. Remove the stabilizer bar brackets.

  56. Object Number: 346034  Size: SH
  57. Remove the wiring harness ground bolt.
  58. Reposition the RF (Radio Frequency) ground strap and cruise control ground lead away from the frame rail.

  59. Object Number: 208264  Size: SH
  60. Unsnap the automatic transmission range selector lever cable from the range selector lever, if equipped.

  61. Object Number: 341079  Size: SH
  62. Remove the automatic transmission range selector lever cable retainer, if equipped.

  63. Object Number: 208276  Size: SH
  64. Unsnap the automatic transmission range selector lever cable from the bracket, if equipped.

  65. Object Number: 43255  Size: SH
  66. If equipped with a manual transmission perform the following:
  67. 47.1. Using the J 36221 , depress the white circular release ring on the actuator hose and simultaneously pull lightly on the master cylinder hose to disconnect.
    47.2. Protect both ends from dirt and damage.
  68. Remove the propeller shaft. Refer to One-Piece Propeller Shaft Replacement in Propeller Shaft.
  69. Remove the torque arm. Refer to Torque Arm Replacement in Rear Suspension.

  70. Object Number: 220630  Size: SH
  71. Remove the intermediate steering shaft bolt and shaft from the power steering rack.

  72. Object Number: 346036  Size: SH
  73. Disconnect the left and right side wheel speed sensor electrical connectors.

  74. Object Number: 211599  Size: SH
  75. Reposition the generator output terminal boot.
  76. Remove the battery positive cable nut from the generator output stud.
  77. Remove the positive lead from the generator.
  78. Remove the starter motor. Refer to Starter Motor Replacement in Engine Electrical.

  79. Object Number: 220629  Size: SH
  80. Remove the right and left side shock absorber lower bolts.

  81. Object Number: 657718  Size: SH
  82. Remove the cotter pins and nuts from the left and right upper ball joints.

  83. Object Number: 181072  Size: SH
  84. Using J 39549 separate the upper control arms (2) from the steering knuckles (3).
  85. Secure both steering knuckles.

  86. Object Number: 173551  Size: SH
  87. Remove the front fuel pipe heat shield nuts (1).
  88. Remove the front fuel pipe heat shield (2).
  89. Open the fuel pipe clip (7).
  90. Unclip the brake lines from the brake pipe clip.
  91. Position the J 39580 below the vehicle.
  92. Lower the vehicle until the crossmember is resting on the J 39580 .
  93. Secure the vehicle to the hoist.

  94. Object Number: 220632  Size: SH
  95. Remove the front crossmember bolts.

  96. Object Number: 208587  Size: SH
  97. Remove the transmission crossmember bolts.
  98. Carefully raise the vehicle off of the engine and transmission assembly.
  99. Secure the crossmember to the J 39580 .

  100. Object Number: 309151  Size: SH
  101. Remove the ignition coil(s) (as required) for the proper fit of the J 41798 before lifting the engine. Refer to Ignition Coil Replacement in Engine Controls - 5.7L.
  102. Install the J 41798 to the engine.

  103. Object Number: 551461  Size: SH
  104. Install a ratchet with hex-head socket to the drive belt tensioner bolt.
  105. Rotate the drive belt tensioner clockwise in order to relieve tension on the accessory drive belt.
  106. Remove the drive belt from the tensioner and pulleys.
  107. Slowly release tension on the drive belt tensioner.
  108. Remove the ratchet and socket from the drive belt tensioner bolt.

  109. Object Number: 551463  Size: SH
  110. Install a ratchet with hex-head socket on the A/C belt tensioner bolt.
  111. Rotate the A/C drive belt tensioner clockwise in order to relieve tension on the drive belt.
  112. Remove the A/C drive belt from the pulleys.
  113. Slowly release tension on the A/C drive belt tensioner.
  114. Remove the ratchet and socket from the A/C drive belt tensioner bolt.

  115. Object Number: 354410  Size: SH
  116. Using J 25034-C , remove the power steering pump pulley.

  117. Object Number: 290570  Size: SH
  118. Remove the power steering pump bolts (4), and brace (3) from the pump (1).
  119. Reposition the power steering pump to the crossmember.

  120. Object Number: 657954  Size: SH
  121. Remove the power steering pump bracket bolts and bracket.

  122. Object Number: 365446  Size: SH
  123. Disconnect the A/C compressor electrical connector.
  124. Remove the rosebud clip from the engine bracket.

  125. Object Number: 282955  Size: SH
  126. Remove the A/C compressor bolts.
  127. Remove the A/C compressor.

  128. Object Number: 282957  Size: SH
  129. Remove the A/C compressor bracket bolts.
  130. Remove the A/C compressor bracket.

  131. Object Number: 208478  Size: SH
  132. Remove the left transmission cover bolt and cover, if equipped.

  133. Object Number: 208464  Size: SH
  134. Remove the right transmission cover bolt and cover, if equipped.

  135. Object Number: 208580  Size: SH
  136. Remove the torque converter bolts.

  137. Object Number: 481327  Size: SH
  138. Remove the engine wiring harness clip bolt (1) from the automatic transmission, if equipped.
  139. Disconnect the following electrical connectors from the automatic transmission, if equipped:
  140. • 20-way connector (2)
    •  Vehicle speed sensor (3)
  141. Remove the automatic transmission fill tube bolt.

  142. Object Number: 477352  Size: SH
  143. Remove the rosebud clip (1) from the right side of the manual transmission, if equipped.
  144. Disconnect the back-up lamp switch electrical connector (2).

  145. Object Number: 477355  Size: SH
  146. Disconnect the following electrical connectors from the left side of the manual transmission, if equipped:
  147. • Skip shift solenoid (1)
    • Reverse lockout solenoid (2)
    • Vehicle speed sensor (3)
  148. Remove the push-in retainer (4) from the manual transmission tab.

  149. Object Number: 211626  Size: SH
  150. Remove the generator rear bracket bolt (1).

  151. Object Number: 211628  Size: SH
  152. Remove the generator bolts and transmission oil cooler clip.
  153. Remove the generator.
  154. Install an engine hoist to the J 41798 .

  155. Object Number: 220586  Size: SH
  156. Remove the right side engine mount bolts and mount.

  157. Object Number: 220590  Size: SH
  158. Remove the engine mount heat shield nuts and shield.

  159. Object Number: 220591  Size: SH
  160. Remove the left side engine mount studs and mount.
  161. Raise the engine using the J 41798 .
  162. With the aide of an assistant, lift the engine and transmission from the crossmember.
  163. Support the transmission on the J 39580 .

  164. Object Number: 208590  Size: SH
  165. Remove the automatic transmission bolts, if equipped.

  166. Object Number: 210528  Size: SH
  167. Remove the manual transmission bolts (2), if equipped.
  168. Separate the transmission from the engine.
  169. Attach the J 21366 to the automatic transmission.

  170. Object Number: 441863  Size: SH
  171. Remove the pressure plate bolts (4), if equipped.
  172. Remove the pressure plate (3) and clutch disc (2) from the flywheel (1), if equipped.

  173. Object Number: 178458  Size: SH
  174. Remove the engine flywheel bolts.
  175. Remove the automatic transmission flywheel, if equipped.

  176. Object Number: 156166  Size: SH
  177. Remove the manual transmission flywheel, if equipped.
  178. Install the engine to a engine stand.
  179. Remove the engine hoist from the engine block.

  180. Object Number: 309151  Size: SH
  181. Remove the J 41798 from the engine block.

  182. Object Number: 550682  Size: SH
  183. Remove the exhaust manifold pipe nuts (1).
  184. Remove the left catalytic converter and gasket (2).

  185. Object Number: 550687  Size: SH
  186. Remove the exhaust manifold pipe nuts (1).
  187. Remove the right catalytic converter and gasket (2).

  188. Object Number: 658007  Size: SH
  189. Disconnect the connector position assurance (CPA) retainer (1).
  190. Remove the rosebud clips (4) from the fuel rail.
  191. Disconnect the following engine wiring harness electrical connectors:
  192. • Idle air control (IAC) valve
    • Throttle position (TP) sensor
    • Fuel injectors (3)
    • Ignition coil (2)
    • Canister purge valve (5)
    • Air injection reaction (AIR) solenoid

    Object Number: 658005  Size: SH
  193. Disconnect the CPA retainer (1).
  194. Remove the rosebud clips (3) from the fuel rail.
  195. Disconnect the following engine wiring harness electrical connectors:
  196. • Fuel injectors (2)
    • Ignition coil (4)

    Object Number: 379365  Size: SH
  197. Remove engine wiring harness ground bolts (2, 3).
  198. Disconnect the following engine wiring harness electrical connectors:
  199. • Oil pressure sensor (1)
    • Knock sensor harness (4)

    Object Number: 655069  Size: SH
  200. Remove the engine wiring harness clip bolt (3).
  201. Disconnect the manifold absolute pressure (MAP) sensor electrical connector (1).
  202. Remove the vacuum hose (2) from the tee on the rear vacuum port.

  203. Object Number: 657853  Size: SH
  204. Disconnect the following engine wiring harness electrical connectors:
  205. • Oil level sensor (1)
    • Crankshaft position (CKP) sensor (2)
  206. Remove the engine wiring harness from the engine.

Installation Procedure


    Object Number: 657853  Size: SH
  1. Lay the engine wiring harness on to the engine.
  2. Connect the following engine wiring harness electrical connectors:
  3. • Oil level sensor (1)
    • CKP sensor (2)

    Object Number: 655069  Size: SH
  4. Install the vacuum hose (2) to the tee on the rear vacuum port.
  5. Connect the MAP sensor electrical connector (1).
  6. Notice: Use the correct fastener in the correct location. Replacement fasteners must be the correct part number for that application. Fasteners requiring replacement or fasteners requiring the use of thread locking compound or sealant are identified in the service procedure. Do not use paints, lubricants, or corrosion inhibitors on fasteners or fastener joint surfaces unless specified. These coatings affect fastener torque and joint clamping force and may damage the fastener. Use the correct tightening sequence and specifications when installing fasteners in order to avoid damage to parts and systems.

  7. Install the engine wiring harness clip bolt (3).
  8. Tighten
    Tighten the engine wiring harness clip bolt to 50 N·m (37 lb ft).


    Object Number: 379365  Size: SH
  9. Connect the following engine wiring harness electrical connectors:
  10. • Oil pressure sensor (1)
    • Knock sensor harness (4)
  11. Install engine wiring harness ground bolts (2, 3).
  12. Tighten
    Tighten the engine wiring harness ground bolts to 50 N·m (37 lb ft).


    Object Number: 658005  Size: SH
  13. Connect the following engine wiring harness electrical connectors:
  14. • Fuel injectors (2)
    • Ignition coil (4)
  15. Install the rosebud clips (3) to the fuel rail.
  16. Connect the CPA retainer (1).

  17. Object Number: 658007  Size: SH
  18. Connect the following engine wiring harness electrical connectors:
  19. • IAC valve
    • TP sensor
    • Fuel injectors (3)
    • Ignition coil (2)
    • Canister purge valve (5)
    • AIR solenoid
  20. Install the rosebud clips (4) to the fuel rail.
  21. Connect the CPA retainer (1).

  22. Object Number: 550687  Size: SH
  23. Install the right catalytic converter gasket (2) and converter.
  24. Install the exhaust manifold pipe nuts (1).
  25. Tighten
    Tighten the exhaust manifold pipe nuts to 35 N·m (26 lb ft).


    Object Number: 550682  Size: SH
  26. Install the left catalytic converter gasket (2) and converter.
  27. Install the exhaust manifold pipe nuts (1).
  28. Tighten
    Tighten the exhaust manifold pipe nuts to 35 N·m (26 lb ft).


    Object Number: 309151  Size: SH
  29. Install the J 41798 to the engine block.
  30. Install a engine hoist to the engine block.
  31. Remove the engine from the engine stand.

  32. Object Number: 156166  Size: SH
  33. Install the manual transmission flywheel, if equipped.

  34. Object Number: 178458  Size: SH
  35. Install the automatic transmission flywheel, if equipped.
  36. Install the engine flywheel bolts.
  37. Tighten

    1. Tighten the engine flywheel bolts a first pass in sequence to 20 N·m (26 lb ft).
    2. Tighten the engine flywheel bolts a second pass in sequence to 50 N·m (37 lb ft).
    3. Tighten the engine flywheel bolts a final pass in sequence to 100 N·m (74 lb ft).

    Object Number: 71488  Size: SH
  38. Install the clutch disc and pressure plate to the flywheel, if equipped.
  39. Install the pressure plate bolts until snug, if equipped.
  40. Using J 38836 , align the clutch disc splines with the pilot bearing.

  41. Object Number: 71490  Size: SH
  42. Tighten the clutch pressure plate bolts.
  43. Tighten
    Tighten the clutch pressure plate bolts in sequence (as shown) and evenly over 3 increments with the fourth increment to 70 N·m (52 lb ft).

  44. Remove the J 38836 .
  45. Remove the J 21366 from the automatic transmission.
  46. Mate the transmission to the engine.

  47. Object Number: 210528  Size: SH
  48. Install the manual transmission bolts (2), if equipped.
  49. Tighten
    Tighten the manual transmission bolts to 50 N·m (37 lb ft).


    Object Number: 208590  Size: SH
  50. Install the automatic transmission bolts, if equipped.
  51. Tighten
    Tighten the automatic transmission bolts to 95 N·m (70 lb ft).

  52. Remove the support from the transmission on the J 39580 .
  53. With the aide of an assistant, position the engine and transmission over the crossmember.
  54. Lower the engine using the J 41798 .

  55. Object Number: 220591  Size: SH
  56. Install the left side engine mount and studs.
  57. Tighten
    Tighten the engine mount studs to 50 N·m (37 lb ft).


    Object Number: 220590  Size: SH
  58. Install the engine mount heat shield and nuts.
  59. Tighten
    Tighten the engine mount heat shield nuts to 10 N·m (89 lb in).


    Object Number: 220586  Size: SH
  60. Install the right side engine mount and bolts.
  61. Tighten
    Tighten the engine mount bolts to 50 N·m (37 lb ft).

  62. Remove the engine hoist from the J 41798 .

  63. Object Number: 211628  Size: SH
  64. Install the generator.
  65. Install the transmission oil cooler clip and generator bolts until snug.

  66. Object Number: 211626  Size: SH
  67. Install the generator rear bracket bolt (1) until snug.
  68. Tighten the generator bolts.
  69. Tighten

        • Tighten the generator rear bracket bolt to 25 N·m (18 lb ft).
        • Tighten the generator bolts to 50 N·m (37 lb ft).

    Object Number: 477355  Size: SH
  70. Install the push-in retainer (4) to the manual transmission tab.
  71. Connect the following electrical connectors to the left side of the manual transmission, if equipped:
  72. • Skip shift solenoid (1)
    • Reverse lockout solenoid (2)
    • Vehicle speed sensor (3)

    Object Number: 477352  Size: SH
  73. Install the rosebud clip (1) to the right side of the manual transmission, if equipped.
  74. Connect the back-up lamp switch electrical connector (2).
  75. Install the automatic transmission fill tube bolt.
  76. Tighten
    Tighten the automatic transmission fill tube bolt to 50 N·m (37 lb ft).


    Object Number: 481327  Size: SH
  77. Install the engine wiring harness clip bolt (1) to the automatic transmission, if equipped.
  78. Tighten
    Tighten the engine wiring harness clip bolt to 2.5 N·m (22 lb in).

  79. Connect the following electrical connectors to the automatic transmission, if equipped:
  80. • 20-way connector (2)
    •  Vehicle speed sensor (3)

    Object Number: 208580  Size: SH
  81. Install the torque converter bolts.
  82. Tighten
    Tighten the torque converter bolts to 63 N·m (47 lb ft).


    Object Number: 208464  Size: SH
  83. Install the right transmission cover and bolt, if equipped.
  84. Tighten
    Tighten the transmission cover bolt to 12 N·m (106 lb in).


    Object Number: 208478  Size: SH
  85. Install the left transmission cover and bolt, if equipped.
  86. Tighten
    Tighten the transmission cover bolt to 12 N·m (106 lb in).


    Object Number: 282957  Size: SH
  87. Install the A/C compressor bracket.
  88. Install the A/C compressor bracket bolts.
  89. Tighten
    Tighten the A/C compressor bolts to 50 N·m (37 lb ft).


    Object Number: 282955  Size: SH
  90. Install the A/C compressor.
  91. Install the A/C compressor bolts.
  92. Tighten
    Tighten the A/C compressor bolts to 50 N·m (37 lb ft).


    Object Number: 365446  Size: SH
  93. Connect the A/C compressor electrical connector.
  94. Install the rosebud clip to the engine bracket.

  95. Object Number: 657954  Size: SH
  96. Install the power steering pump bracket and bolts.
  97. Tighten
    Tighten the power steering pump bracket bolts to 50 N·m (37 lb ft).


    Object Number: 290570  Size: SH
  98. Position the power steering pump to the engine.
  99. Install the power steering pump brace (3) and bolts (4) to the pump (1).
  100. Tighten
    Tighten the power steering pump bolts to 25 N·m (18 lb ft).


    Object Number: 290557  Size: SH
  101. Using J 25033-C install the power steering pump pulley (1).

  102. Object Number: 551463  Size: SH
  103. Install the A/C drive belt around the crankshaft balancer.
  104. Install a ratchet with hex-head socket to the A/C belt tensioner bolt.
  105. Rotate the A/C drive belt tensioner clockwise in order to relieve tension on the drive belt tensioner.
  106. Install the A/C drive belt under the idler pulley.
  107. Install the A/C drive belt over the A/C compressor pulley.
  108. Slowly release tension on the A/C drive belt tensioner.
  109. Remove the ratchet and socket from the A/C drive belt tensioner bolt.

  110. Object Number: 551461  Size: SH
  111. Route the accessory drive belt around all the pulleys except the water pump pulley and tensioner.
  112. Install a ratchet with hex-head socket to the drive belt tensioner bolt.
  113. Rotate the drive belt tensioner clockwise in order to relieve tension on the accessory drive belt tensioner.
  114. Install the accessory drive belt under the water pump pulley.
  115. Install the accessory drive belt onto the drive belt tensioner.
  116. Slowly release the tension.
  117. Remove the ratchet and socket from the drive belt tensioner bolt.

  118. Object Number: 309151  Size: SH
  119. Remove the J 41798 from the engine.
  120. Install the ignition coil(s) (as required). Refer to Ignition Coil Replacement in Engine Controls - 5.7L.
  121. Ensure that the crossmember is still secured to the J 39580 .
  122. Carefully lower the vehicle onto the engine and transmission assembly.

  123. Object Number: 208587  Size: SH
  124. Install the transmission crossmember bolts.
  125. Tighten
    Tighten the transmission support bolts to 57 N·m (42 lb ft).


    Object Number: 220632  Size: SH
  126. Install the front crossmember bolts.
  127. Tighten

        • Tighten the four upper crossmember bolts to 125 N·m (92 lb ft).
        • Tighten the two lower crossmember bolts to 145 N·m (107 lb ft).
  128. Remove the security straps from the vehicle.
  129. Separate the engine wire harness branches.
  130. Raise the vehicle until the crossmember is off the J 39580 .
  131. Remove the J 39580 .

  132. Object Number: 173551  Size: SH
  133. Clip the brake lines to the brake pipe clip.
  134. Close the fuel pipe clip (7).
  135. Install the front fuel pipe heat shield (2).
  136. Install the front fuel pipe heat shield nuts (1).
  137. Tighten
    Tighten the front fuel pipe heat shield nuts to 5 N·m (44 lb in).


    Object Number: 657718  Size: SH
  138. Unsecure both steering knuckles.
  139. Install the left and right upper control arm nuts.
  140. Tighten
    Tighten the upper control arm nuts to 53 N·m (39 lb ft).

  141. Install new cotter pins.

  142. Object Number: 220629  Size: SH
  143. Install the right and left side shock absorber lower bolts.
  144. Tighten
    Tighten the shock absorber bolts to 65 N·m (48 lb ft).

  145. Install the starter motor. Refer to Starter Motor Replacement in Engine Electrical.

  146. Object Number: 211599  Size: SH
  147. Install the positive lead to the generator.
  148. Install the battery positive cable nut to the generator output stud.
  149. Tighten
    Tighten the engine wiring harness generator output stud nut to 22 N·m (16 lb ft).

  150. Position the generator output terminal boot over the terminal.

  151. Object Number: 346036  Size: SH
  152. Connect the left and right side wheel speed sensor electrical connectors.

  153. Object Number: 220630  Size: SH
  154. Install the intermediate steering shaft to the power steering rack.
  155. Install the intermediate steering shaft bolt.
  156. Tighten
    Tighten the intermediate steering shaft bolt to 47 N·m (35 lb ft).

  157. Install the torque arm. Refer to Torque Arm Replacement in Rear Suspension.
  158. Install the propeller shaft. Refer to One-Piece Propeller Shaft Replacement in Propeller Shaft.

  159. Object Number: 43255  Size: SH
  160. Connect the master cylinder hose to the clutch actuator hose, if equipped.

  161. Object Number: 208276  Size: SH
  162. Snap the automatic transmission range selector lever cable to the bracket, if equipped.

  163. Object Number: 341079  Size: SH
  164. Install the automatic transmission range selector lever cable retainer, if equipped.

  165. Object Number: 208264  Size: SH
  166. Snap the automatic transmission range selector lever cable to the range selector lever, if equipped.

  167. Object Number: 346034  Size: SH
  168. Position the RF ground strap and cruise control ground lead to the frame rail.
  169. Install the engine wiring harness ground bolt.
  170. Tighten
    Tighten the engine wiring harness ground bolt to 12 N·m (106 lb in).


    Object Number: 657717  Size: SH
  171. Install the stabilizer bar brackets.
  172. Install the stabilizer bar bracket bolts/stud.
  173. Tighten
    Tighten the stabilizer bar bracket bolts/stud to 55 N·m (41 lb ft).

  174. Install the drive side front fascia air deflector. Refer to Front Bumper Fascia Air Deflector Replacement in Bumpers.
  175. Install the exhaust crossover pipe. Refer to Exhaust Crossover Pipe Replacement in Engine Exhaust.
  176. Connect ALL oxygen sensor electrical connectors.
  177. Install the front wheels. Refer to Tire and Wheel Removal and Installation in Tires and Wheels.

  178. Object Number: 208376  Size: SH
  179. Install the lower oil cooler line to the radiator.
  180. Tighten
    Tighten the lower oil cooler line fitting to 27 N·m (20 lb ft).

  181. Lower the vehicle.

  182. Object Number: 346041  Size: SH
  183. Pull the engine wiring harness through the front of dash.

  184. Object Number: 346039  Size: SH
  185. Connect the engine wiring harness to the instrument panel wiring harness.
  186. Remove the hinge pillar trim panel. Refer to Body Hinge Pillar Trim Panel Replacement in Interior Trim.
  187. Remove the right side insulator panel. Refer to Instrument Panel Insulator Panel Replacement - Right Side in Instrument Panel, Gages, and Console.

  188. Object Number: 346043  Size: SH
  189. Install the PCM to the bracket.
  190. Connect the PCM connectors.
  191. Tighten
    Tighten the PCM connector bolts to 8 N·m (71 lb in).


    Object Number: 346047  Size: SH
  192. Connect the engine harness vacuum tube to the bottom of the vacuum check valve.
  193. Connect the forward lamp harness to the engine harness.
  194. Connect the secondary captured locks.
  195. Install the front two brake lines to the brake pressure modulator valve.
  196. Tighten
    Tighten the brake pipe fittings to 15 N·m (11 lb ft).

  197. Install the brake booster vacuum hose.

  198. Object Number: 604923  Size: SH
  199. Install the AIR hose (2) to the AIR shut-off valve (1).

  200. Object Number: 220602  Size: SH
  201. Install and snap the accelerator and cruise control cable to the throttle body bracket.
  202. Caution: In order to avoid possible injury or vehicle damage, always replace the accelerator control cable with a NEW cable whenever you remove the engine from the vehicle.

    In order to avoid cruise control cable damage, position the cable out of the way while you remove or install the engine. Do not pry or lean against the cruise control cable and do not kink the cable. You must replace a damaged cable.

  203. Install the accelerator control cable to the throttle lever.

  204. Object Number: 220601  Size: SH
  205. Install the cruise control cable to the throttle lever.

  206. Object Number: 220597  Size: SH
  207. Connect the fuel line to the fuel rail.
  208. Connect the vapor line to the fuel vapor purge valve.

  209. Object Number: 282934  Size: SH
  210. Install the inlet and outlet heater hoses to the water pump.

  211. Object Number: 221721  Size: SH
  212. Install the condenser tube to the condenser.
  213. Install the air conditioning condenser tube nut.
  214. Tighten
    Tighten the air conditioning condenser tube nut to 16 N·m (12 lb ft).


    Object Number: 208376  Size: SH
  215. Install the upper oil cooler line to the radiator.
  216. Tighten
    Tighten the lower oil cooler line fitting to 27 N·m (20 lb ft).


    Object Number: 282941  Size: SH
  217. Install the A/C compressor and condenser hose bolt at the accumulator.
  218. Tighten
    Tighten the A/C compressor and condenser hose bolt to 16 N·m (12 lb ft).

  219. Install the shift control closeout boot, if equipped with a manual transmission. Refer to Shift Control Shift Closeout Boot Replacement in Manual Transmission -MM6.
  220. Install the lower radiator (outlet) hose. Refer to Radiator Outlet Hose Replacement in Engine Cooling.
  221. Install the upper radiator (inlet) hose. Refer to Radiator Inlet Hose Replacement in Engine Cooling.
  222. Install the fan shroud. Refer to Fan Shroud Replacement in Engine Cooling.

  223. Object Number: 211587  Size: SH
  224. Connect the positive battery cable.
  225. Tighten
    Tighten the positive battery cable fitting to 15 N·m (11 lb ft).

  226. Connect the negative battery cable. Refer to Battery Negative Cable Disconnection and Connection in Engine Electrical.
  227. Recharge the A/C system. Refer to Refrigerant Recovery and Recharging in Heating, Ventilation, and Air Conditioning.
  228. Fill the crankcase with the proper quantity and grade of engine oil. Refer to Approximate Fluid Capacities and Fluid and Lubricant Recommendations in Maintenance and Lubrication.
  229. Disable the ignition system.
  230. Crank the engine several times. Listen for any unusual noises or evidence that parts are binding.
  231. Enable the ignition system.
  232. Start the engine and listen for unusual noises.
  233. Check the vehicles oil pressure gage and confirm that the engine has acceptable oil pressure.
  234. Run the engine speed at about 1,000 RPM until the engine has reached normal operating temperature.
  235. Listen for sticking lifters and other unusual noises.
  236. Inspect for fuel, oil and/or coolant leaks while the engine is running.
  237. Perform the crankshaft position (CKP) system variation learn procedure. Refer to Crankshaft Position System Variation Learn in Engine Controls - 5.7L.
  238. Bleed the brake system. Refer to Hydraulic Brake System Bleeding in Hydraulic Brakes.
  239. Bleed the power steering system. Refer to Power Steering System Bleeding in Power Steering System.
  240. Bleed the clutch hydraulic system, if equipped. Refer to Hydraulic Clutch Bleeding in Clutch.
  241. Perform a final inspection for the proper engine oil and coolant levels.