GM Service Manual Online
For 1990-2009 cars only
Makes
🢒
Chevrolet
🢒
2002
🢒
Camaro
🢒
Body and Accessories
🢒
Seats
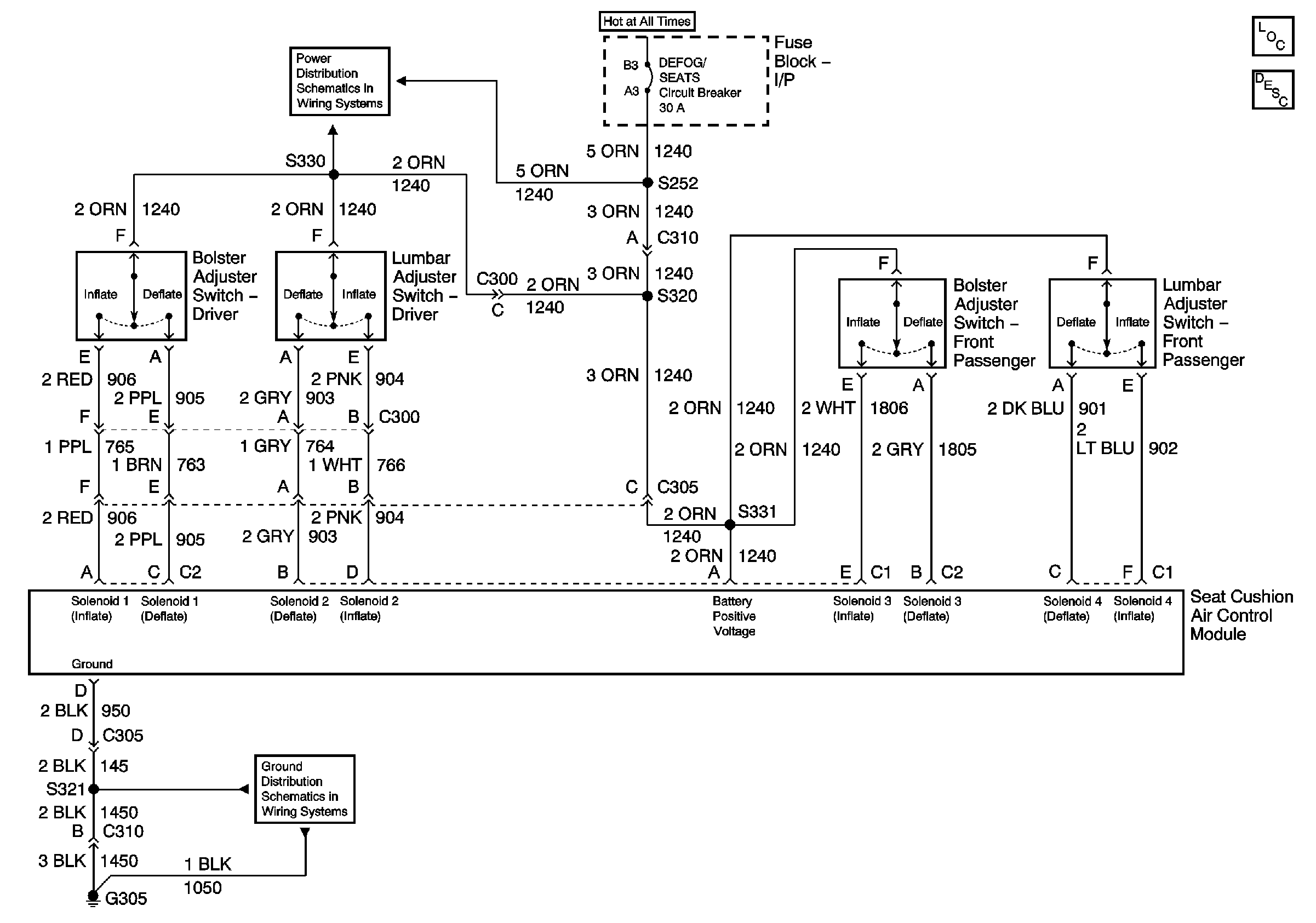
🢒 Lumbar Support Schematics
Master Electrical Component List
Lumbar Support Description and Operation
COURTESY, RADIO ACCY Fuses and DEFOG/SEATS CKT BRKR
G305, G310, G320