GM Service Manual Online
For 1990-2009 cars only

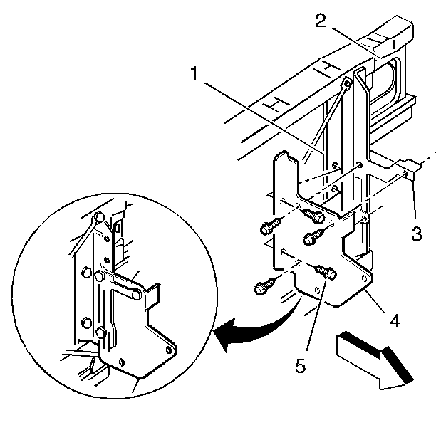
Radiator Air Baffle Assemblies and Deflectors Side Baffle

Removal Procedure

  1. Disconnect the negative battery cable. Refer to

    Caution: Unless directed otherwise, the ignition and start switch must be in the OFF or LOCK position, and all electrical loads must be OFF before servicing any electrical component. Disconnect the negative battery cable to prevent an electrical spark should a tool or equipment come in contact with an exposed electrical terminal. Failure to follow these precautions may result in personal injury and/or damage to the vehicle or its components.

    in General Information.

  2. Object Number: 70442  Size: SH
  3. Remove the baffle retainers (5).
  4. Remove the side baffle (4).

Installation Procedure


    Object Number: 70442  Size: SH
  1. Install the side baffle (4).
  2. Install the side baffle retainers (5).
  3. Connect the negative battery cable.
  4. Tighten
    Tighten the negative battery cable bolt to 17 N·m (13 lb ft).

    Notice: Use the correct fastener in the correct location. Replacement fasteners must be the correct part number for that application. Fasteners requiring replacement or fasteners requiring the use of thread locking compound or sealant are identified in the service procedure. Do not use paints, lubricants, or corrosion inhibitors on fasteners or fastener joint surfaces unless specified. These coatings affect fastener torque and joint clamping force and may damage the fastener. Use the correct tightening sequence and specifications when installing fasteners in order to avoid damage to parts and systems.

Radiator Air Baffle Assemblies and Deflectors Lower Deflector

Removal Procedure

  1. Raise the vehicle. Suitably support the vehicle. Refer to General Information.

  2. Object Number: 70444  Size: SH
  3. Remove the lower deflector screws (2).
  4. Remove the lower deflector (1).

Installation Procedure


    Object Number: 70444  Size: SH
  1. Install the lower deflector (1) to the radiator support (3).
  2. Install the lower deflector screws (2).
  3. Tighten
    Tighten the screws to 1.5 N·m (13 lb in).

    Notice: Use the correct fastener in the correct location. Replacement fasteners must be the correct part number for that application. Fasteners requiring replacement or fasteners requiring the use of thread locking compound or sealant are identified in the service procedure. Do not use paints, lubricants, or corrosion inhibitors on fasteners or fastener joint surfaces unless specified. These coatings affect fastener torque and joint clamping force and may damage the fastener. Use the correct tightening sequence and specifications when installing fasteners in order to avoid damage to parts and systems.

  4. Lower the vehicle.

Radiator Air Baffle Assemblies and Deflectors Side Deflector

Removal Procedure


    Object Number: 70446  Size: SH
  1. Remove the side deflector screws.
  2. Remove the side deflector.

Installation Procedure


    Object Number: 70446  Size: SH
  1. Install the side deflector to the wheel housing extension panel.
  2. Install the screws.
  3. Tighten
    Tighten the screws to 1.9 N·m (17 lb in).

    Notice: Use the correct fastener in the correct location. Replacement fasteners must be the correct part number for that application. Fasteners requiring replacement or fasteners requiring the use of thread locking compound or sealant are identified in the service procedure. Do not use paints, lubricants, or corrosion inhibitors on fasteners or fastener joint surfaces unless specified. These coatings affect fastener torque and joint clamping force and may damage the fastener. Use the correct tightening sequence and specifications when installing fasteners in order to avoid damage to parts and systems.