GM Service Manual Online
For 1990-2009 cars only

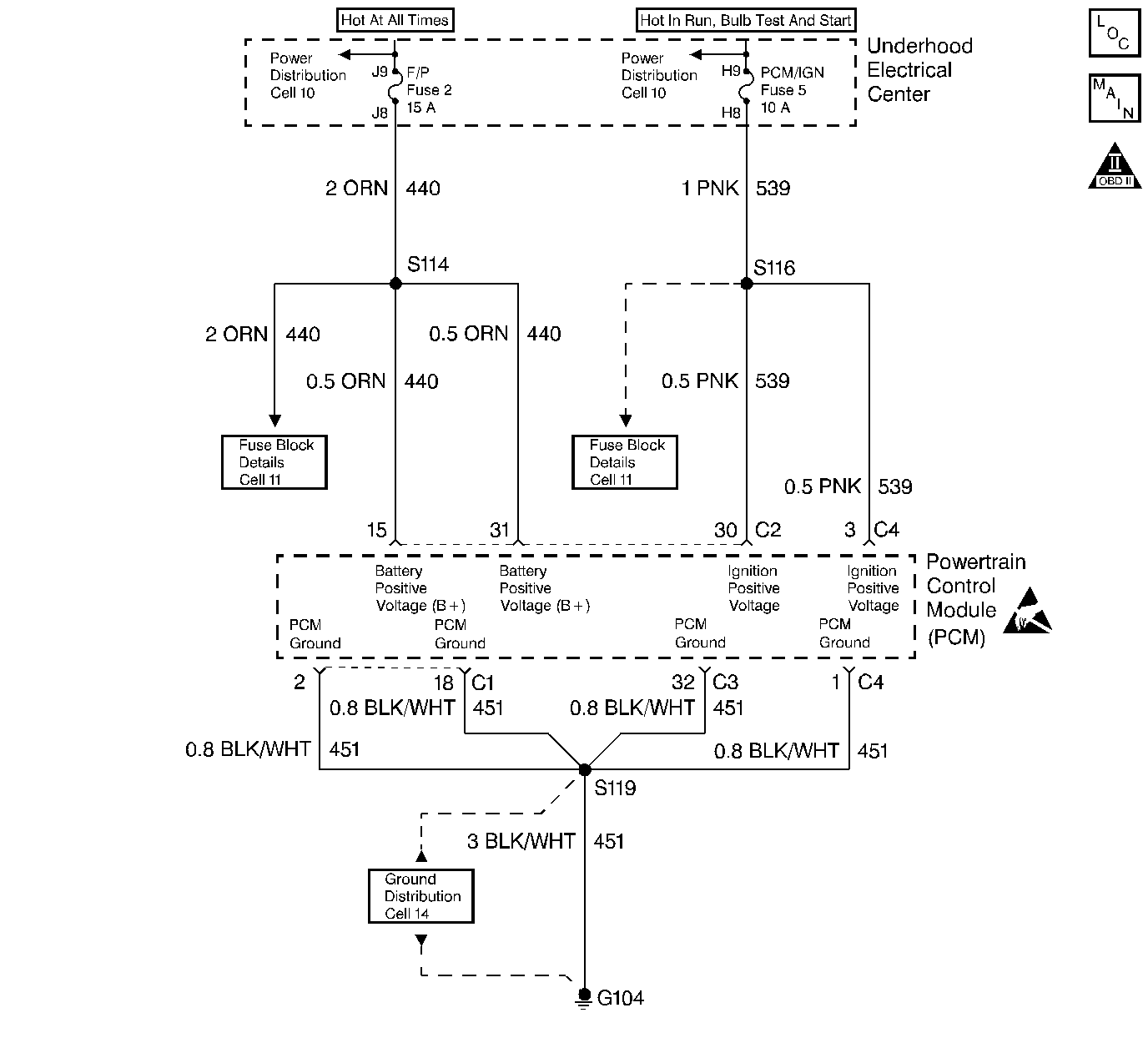
Object Number: 30386  Size: LF
Engine Controls Components
Power, Ground, MIL and DLC
OBD II Symbol Description Notice
Handling ESD Sensitive Parts Notice

Circuit Description

The PCM continuously monitors system voltage. System voltage information is taken from the PCMs ignition feed circuits. Since voltages below 8.0 Volts or above 17.1 Volts, could cause improper system operation and/or component damage, the PCM operates in a default mode if a PCM Voltage DTC is set. If system voltage is low the PCM will raise the idle speed to increase generator output. If system voltage is high, the PCM disables most outputs to protect the hardware. Class 2 Serial Data is shut down when system voltage is below 9.2 Volts or above 16.0 Volts. A scan tool will not display data if system voltage is outside this range. Because of this, a DVM must be used to monitor system voltage when checking to see if the fault is currently present.

Conditions for Setting the DTC

    • Engine running.
    • The PCM senses system voltage above 17.1 Volts.
    • Condition present for 6 seconds.

Action Taken When the DTC Sets

    • DTC P0563 will be stored in the PCM memory when the diagnostic runs and fails.
    • The Malfunction Indicator Lamp (MIL) will not illuminate.
    • The PCM will record operating conditions at the time the diagnostic fails. This information will be stored in Failure Records.
    • Most PCM outputs will be disabled.
    • The transmission defaults to third gear.
    • TCC operation is inhibited.
    • During the time the fault is present, the PCM will cycle the fans ON and OFF every few seconds.

Conditions for Clearing the MIL/DTC

    • A history DTC will clear after 40 consecutive warm-up cycles, if no failures are reported by this or any other non-emission related diagnostic.
    • A last test failed (Current DTC) will clear when the diagnostic runs and does not fail.
    • PCM battery voltage is interrupted.
    • Using a scan tool.

Diagnostic Aids

    • Check the generator voltage sense circuit for high resistance or loose connections. These could cause an intermittent overcharging condition. Refer to Charging/Starting for circuit details.
    • Using Freeze Frame and/or Failure Records data may aid in locating an intermittent condition. If the DTC cannot be duplicated, the information included in the Freeze Frame and/or Failure Records data can be useful in determining how many miles since the DTC set. The Fail Counter and Pass Counter can also be used to determine how many ignition cycles the diagnostic reported a pass and/or a fail. Operate vehicle within the same freeze frame conditions (RPM, load, vehicle speed, temperature etc.) that were noted. This will isolate when the DTC failed.

For intermittents, refer to Symptoms .

Test Description

Number(s) below refer to step numbers on the diagnostic table.

  1. Checks for excessive generator output. Voltage should remain below 17.1 Volts.

Step

Action

Value(s)

Yes

No

1

Was the Powertrain On-Board Diagnostic (OBD) System Check performed?

--

Go to Step 2

Go to Powertrain On Board Diagnostic (OBD) System Check

2

  1. Turn all the accessories OFF.
  2. Using a DVM (J 39200), measure battery voltage at the battery while running the engine above 2000 RPM.

Is battery voltage less than the value shown?

17.1 V

Go to Diagnostic Aids

Go to Step 3

3

Repair Starting/Charging system. Refer to Service Category Starting/ Charging.

Is the repair completed?

--

Go to Step 4

--

4

  1. Using the scan tool, select DTC, Clear Info.
  2. Start the engine and idle at normal operating temperature.
  3. Select DTC, Specific, then enter the DTC number which was set.
  4. Operate the vehicle within the conditions for setting this DTC as specified in the supporting text, if applicable.

Does the scan tool indicate that this test ran and passed?

--

Go to Step 5

Go to Step 2

5

Using the scan tool, select Capture Info, Review Info.

Are any DTCs displayed that have not been diagnosed?

--

Go to the applicable DTC table

System OK