| Connector 1: | Power Seat Switch |
| Connector 2: | Power Seat Test Connector |
Connector Part Information
|
Pin | Wire Color | Circuit No. | Function |
|---|---|---|---|
1 | L-BU | -- | Heated Seat Switch Signal |
2 | RD/WH | -- | Battery Positive Voltage |
3 | BK | -- | Ground |
4 | BK | -- | Ground |
Connector Part Information
|
Pin | Wire Color | Circuit No. | Function |
|---|---|---|---|
1 | RD/WH | -- | Battery Positive Voltage |
2 | BK | -- | Ground |
| Connector 1: | Power Seat Switch to Floor |
| Connector 2: | Power Seat Test Connector |
| Connector 3: | Power Seat Lifter Motor Rear |
| Connector 4: | Power Seat Lifter Motor Front |
| Connector 5: | Power Seat Slide Motor |
| Connector 6: | Power Seat Recline Motor |
| Connector 7: | Power Seat Module |
Connector Part Information
|
Pin | Wire Color | Circuit No. | Function |
|---|---|---|---|
1 | B | 2 | Battery Positive Voltage |
2 | -- | -- | -- |
3 | Y | 1 | Ground |
4 | -- | -- | -- |
Connector Part Information
|
Pin | Wire Color | Circuit No. | Function |
|---|---|---|---|
1 | RD/WH | -- | Battery Positive Voltage |
2 | BK | -- | Ground |
Connector Part Information
|
Pin | Wire Color | Circuit No. | Function |
|---|---|---|---|
1 | L/R | 7 | Lifter Motor Rear Ground |
2 | B/W | 8 | Lifter Motor Rear Battery Positive Voltage |
Connector Part Information
|
Pin | Wire Color | Circuit No. | Function |
|---|---|---|---|
1 | L/R | 5 | Lifter Motor Front Battery Positive Voltage |
2 | B/W | 6 | Lifter Motor Front Ground |
Connector Part Information
|
Pin | Wire Color | Circuit No. | Function |
|---|---|---|---|
1 | Br | 10 | Slide Motor Battery Positive Voltage |
2 | W/B | 9 | Slide Motor Ground |
Connector Part Information
|
Pin | Wire Color | Circuit No. | Function |
|---|---|---|---|
1 | B/Y | 4 | Recline Battery Positive Voltage |
2 | G | 3 | Recline Motor Ground |
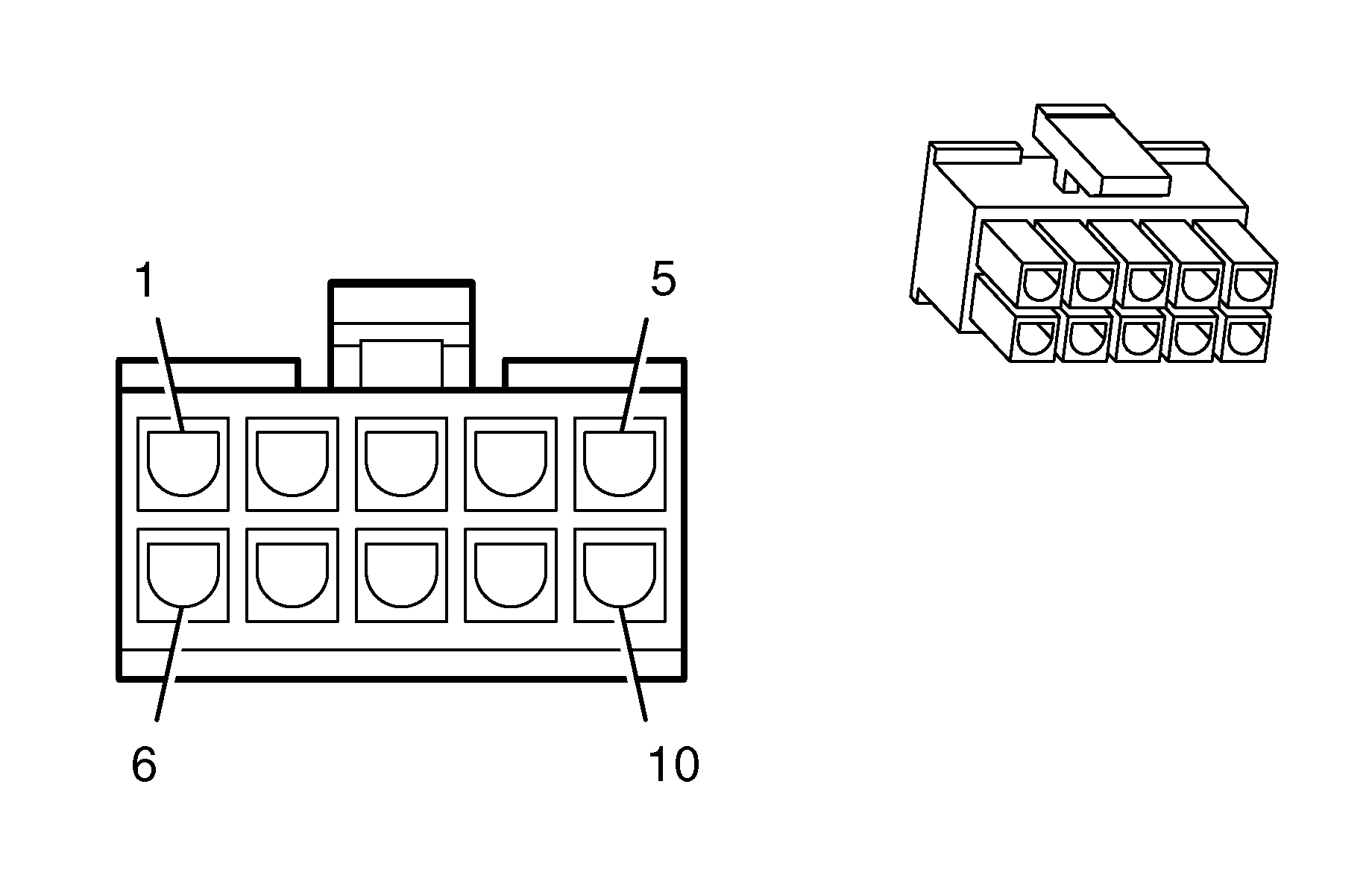
Connector Part Information
|
Pin | Wire Color | Circuit No. | Function |
|---|---|---|---|
1 | Y | 1 | Body Ground |
2 | Br | 10 | Slide Motor Positive Voltage |
3 | W/B | 9 | Slide Motor Ground |
4 | B | 2 | Body Battery Positive Voltage |
5 | L/R | 5 | Lifter Motor Front Battery Positive Voltage |
6 | B/W | 6 | Lifter Motor Front Ground |
7 | B/W | 8 | Lifter Motor Rear Battery Positive Voltage |
8 | B/Y | 4 | Recline Battery Positive Voltage |
9 | G | 3 | Recline Motor Ground |
10 | L/R | 7 | Lifter Motor Rear Ground |