GM Service Manual Online
For 1990-2009 cars only

Removal Procedure

  1. It is only necessary to lower the headliner. Only perform the steps in the headliner replacement procedure that will lower the headliner enough to gain access to the part. Refer to Headlining Trim Panel Replacement.
  2. Remove the sunroof motor. Refer to Sunroof Motor/Actuator Replacement.
  3. Remove the sunroof window from the sunroof module. Refer to Sunroof Window Replacement.

Installation Procedure


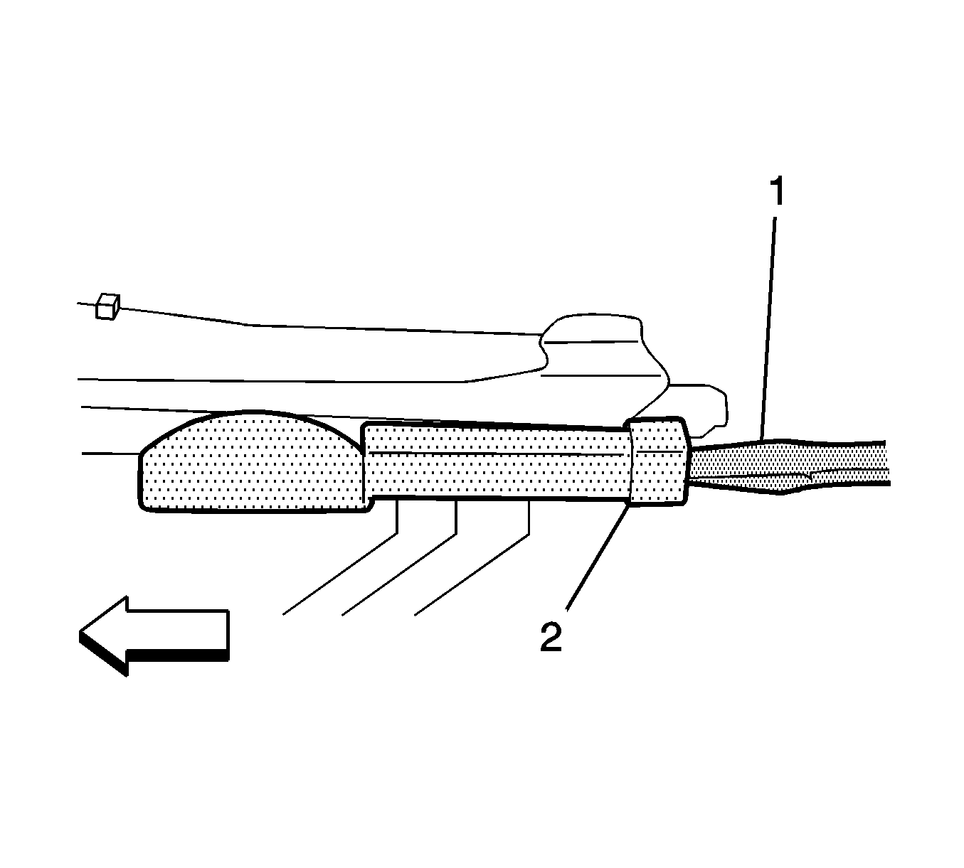
    Object Number: 1938508  Size: SH
  1. Position a flat blade tool (1) inline with the sunroof cable plate (2) pushing rearward.

  2. Object Number: 2084431  Size: SH
  3. Push the sunroof cable plate (1) until the sunroof drive wedge (2) reaches the synchronization position.

  4. Object Number: 1938509  Size: SH
  5. Align the drive wedge (1) with the hole (2) in the mechanism.
  6. Install the sunroof motor. Refer to Sunroof Motor/Actuator Replacement.
  7. Install the sunroof window to the sunroof module. Refer to Sunroof Window Replacement.
  8. Verify the sunroof operation.
  9. Install headliner. Refer to Headlining Trim Panel Replacement.