GM Service Manual Online
For 1990-2009 cars only
Connector 1: A/C Compressor
Connector 2: A/C Refrigerant Pressure Sensor 2.0L
Connector 3: Accelerator Pedal Position Sensor
Connector 4: Alarm
Connector 5: Ambient Light Sensor (w/C60)
Connector 6: Ambient Light/Sunload Sensor (with C68)
Connector 7: Audio Amplifier
Connector 8: Backup Lamp Switch
Connector 9: Body Control Module (BCM) X1
Connector 10: Body Control Module (BCM) X2
Connector 11: Body Control Module (BCM) X3
Connector 12: Body Control Module (BCM) X4
Connector 13: Body Control Module (BCM) X5
Connector 14: Body Control Module (BCM) X6
Connector 15: Body Control Module (BCM) X7
Connector 16: Boost Pressure Sensor (2.0L Diesel)
Connector 17: Brake Fluid Level Switch
Connector 18: Camshaft Position (CMP) Sensor (2.0L Diesel)
Connector 19: Camshaft Position (CMP) Sensor (2.4L)
Connector 20: Camshaft Position (CMP) Sensor (2.4L)
Connector 21: Center High Mounted Stop Lamp (CHMSL)
Connector 22: Cigar Lighter
Connector 23: Clock
Connector 24: Clutch Start Switch
Connector 25: Contact Coil
Connector 26: Contact Coil
Connector 27: Cooling Fan - Auxiliary
Connector 28: Cooling Fan - Main
Connector 29: Crankshaft Position (CKP) Sensor (2.0L Diesel)
Connector 30: Crankshaft Position (CKP) Sensor (2.4L)
Connector 31: Data Link Connector
Connector 32: Diesel Particulate Filter Pressure Sensor (2.0L Diesel)
Connector 33: Dome Lamp
Connector 34: Door Latch - Driver
Connector 35: Door Latch - Driver (w/Dead Locking)
Connector 36: Door Latch - Left Rear
Connector 37: Door Latch - Passenger
Connector 38: Door Latch - Right Rear
Connector 39: Door Lock Switch - Driver
Connector 40: Driver Information Center (C100/Long Body)
Connector 41: Driver Information Center (C105/Short Body)
Connector 42: Electronic Brake Control Module (EBCM)
Connector 43: Engine Control Module (ECM) X1 (LD9)
Connector 44: Engine Control Module (ECM) X1 (LLW)
Connector 45: Engine Control Module (ECM) X1 (LU1)
Connector 46: Engine Control Module (ECM) X2 (LD9)
Connector 47: Engine Control Module (ECM) X2 (LLW)
Connector 48: Engine Control Module (ECM) X2 (LU1)
Connector 49: Engine Coolant Temperature (ECT) Sensor (2.0L Diesel)
Connector 50: Engine Coolant Temperature (ECT) Sensor (2.4L)
Connector 51: Engine Oil Pressure Sensor (LU1)
Connector 52: EVAP Canister Purge Solenoid Valve (2.4L)
Connector 53: EVAP Canister Purge Solenoid Valve (3.2L)
Connector 54: Exhaust Gas Recirculation (EGR) Valve (2.0L Diesel)
Connector 55: Exhaust Gas Recirculation (EGR) Valve (2.4L)
Connector 56: Exhaust Gas Temperature Sensor I (2.0 Diesel)
Connector 57: Exhaust Gas Temperature Sensor 2 (2.0L Diesel)
Connector 58: Fog Lamp
Connector 59: Folding Mirror Unit
Connector 60: Fuel Door Lock Actuator
Connector 61: Fuel Filter Heater/Temperature Sensor (2.0L Diesel)
Connector 62: Fuel Injector 1 (2.0L Diesel)
Connector 63: Fuel Injector 1 (2.4L)
Connector 64: Fuel Injector 2 (2.0L Diesel)
Connector 65: Fuel Injector 2 (2.4L)
Connector 66: Fuel Injector 3 (2.0L Diesel)
Connector 67: Fuel Injector 3 (2.4L)
Connector 68: Fuel Injector 4 (2.0L Diesel)
Connector 69: Fuel Injector 4 (2.4L)
Connector 70: Fuel Pump Module (2.4L)
Connector 71: Fuel Pump Module (2.0L Diesel)
Connector 72: Fuel Pump Module (3.2L)
Connector 73: Fuel Rail Pressure Control Valve (2.0L Diesel)
Connector 74: Fuel Rail Pressure Sensor (2.0L Diesel)
Connector 75: Fuel Tank Pressure Sensor (3.2L)
Connector 76: Generator
Connector 77: Glow Plug Control Unit (2.0L Diesel)
Connector 78: Hands Free Unit
Connector 79: Hazard Switch
Connector 80: Head Lamp Washer Pump
Connector 81: Headlamp - Left
Connector 82: Headlamp - Left (w/Leveling)
Connector 83: Headlamp - Right
Connector 84: Headlamp - Right (w/Leveling)
Connector 85: Heated Oxygen Sensor HO2S 1 (2.4L)
Connector 86: Heated Oxygen Sensor (HO2S) 2 (2.4L)
Connector 87: Heated Oxygen Sensor Bank 2 (3.2L)
Connector 88: Heated Seat - Left
Connector 89: Heated Seat - Right
Connector 90: Heated Seat Switch - Left
Connector 91: Heated Seat Switch - Left
Connector 92: Heated Seat Switch - Right
Connector 93: Heated Seat Switch - Right
Connector 94: High Pressure Pump (2.0L Diesel)
Connector 95: Hill Descent Switch
Connector 96: Hood Open Switch
Connector 97: HVAC Control Module X1 (C68)
Connector 98: I/P Compartment Lamp
Connector 99: I/P Compartment Lamp Switch
Connector 100: Ignition Coil Module (2.4L)
Connector 101: Ignition Key Cylinder Lamp
Connector 102: Ignition Switch
Connector 103: Inclination Sensor
Connector 104: Inflatable Restraint Retractor Pretensioner - Left Front (C105/Short Body)
Connector 105: Inflatable Restraint Retractor Pretensioner - Right Front (C105/Short Body)
Connector 106: Inflatable Restraint Roof Rail Module - Left
Connector 107: Inflatable Restraint Roof Rail Module - Right
Connector 108: Inflatable Restraint Side Impact Sensor - Left Front
Connector 109: Inflatable Restraint Side Impact Sensor - Right Front
Connector 110: Inflatable Restraint Steering Wheel Module Coil X1
Connector 111: Inflatable Restraint Steering Wheel Module Coil X2
Connector 112: Instrument Cluster
Connector 113: Intake Air Temperature (IAT) Sensor (2.4L)
Connector 114: Intrusion Sensor
Connector 115: Knock Sensor (2.4L)
Connector 116: License Lamp
Connector 117: Liftgate Actuator
Connector 118: Liftgate Ajar
Connector 119: Liftgate Glass
Connector 120: Liftgate Key Cylinder
Connector 121: Manifold Absolute Pressure (MAP) Sensor (2.4L)
Connector 122: Map Lamp
Connector 123: Mass Air Flow (MAF) Sensor (2.0L Diesel)
Connector 124: Mass Air Flow (MAF) Sensor (3.2L)
Connector 125: Navigation Unit
Connector 126: Object Detection Module
Connector 127: Object Sensor - Left Rear Corner
Connector 128: Object Sensor - Left Rear Middle
Connector 129: Object Sensor - Right Rear Corner
Connector 130: Object Sensor - Right Rear Middle
Connector 131: Oil Level Sensor (2.4L)
Connector 132: Oil Level Switch (2.0L Diesel)
Connector 133: Oil Pressure Switch (2.0L Diesel)
Connector 134: Oil Pressure Switch (2.4L)
Connector 135: Outside Air Temperature/Air Quality Sensor
Connector 136: Outside Air Temperature/Air Quality Sensor (C68)
Connector 137: Outside Rearview Mirror (OSRVM) - Left (LHD)
Connector 138: Outside Rearview Mirror (OSRVM) - Left (RHD)
Connector 139: Outside Rearview Mirror (OSRVM) - Right (LHD)
Connector 140: Outside Rearview Mirror (OSRVM) - Right (RHD)
Connector 141: Outside Rearview Mirror (OSRVM) Switch
Connector 142: Park Brake Switch
Connector 143: Park/Turn Signal Lamp - Left
Connector 144: Park/Turn Signal Lamp - Left (TR6)
Connector 145: Park/Turn Signal Lamp - Right
Connector 146: Park/Turn Signal Lamp - Right (TR6)
Connector 147: Passenger Seatbelt Indicator
Connector 148: Power Outlet - Cargo
Connector 149: Power Outlet - Rear
Connector 150: Power Seat Switch
Connector 151: Power Seat Test Connector
Connector 152: Power Sounder
Connector 153: Power Steering Control Module
Connector 154: Power Steering Magnetic Coil
Connector 155: PRND Lamp
Connector 156: PTC Heater (2.0L Diesel)
Connector 157: Radio X1 (C100/Long Body)
Connector 158: Radio X2 (C100/Long Body)
Connector 159: Radio (C105/Short Body)
Connector 160: Rain Sensor
Connector 161: Rear Compartment Courtesy Lamp
Connector 162: Rear Differential Clutch Control Module
Connector 163: Rear Monitor
Connector 164: Rear Window Wiper Module
Connector 165: Rear Window Washer Fluid Pump
Connector 166: Remote Control Door Lock Receiver
Connector 167: Resistor
Connector 168: Seatbelt Reminder Sensor
Connector 169: Seatbelt Switch - Left
Connector 170: Seatbelt Switch - Right
Connector 171: Sensing and Diagnostic Module (SDM)
Connector 172: Speaker - Left Front
Connector 173: Speaker - Left Rear
Connector 174: Speaker - Right Front
Connector 175: Speaker - Right Front
Connector 176: Speaker - Right Rear
Connector 177: Steering Angle Sensor
Connector 178: Stepwell Lamp - Left
Connector 179: Stepwell Lamp - Right
Connector 180: Stop Lamp Switch
Connector 181: Subwoofer
Connector 182: Sunroof Module
Connector 183: Sunroof Switch
Connector 184: Sunvisor Lamp - Left
Connector 185: Sunvisor Lamp - Right
Connector 186: Tail Lamp - Right
Connector 187: Theft Deterrent Control Module
Connector 188: Throttle Body (LD9)
Connector 189: Throttle Body (LLW)
Connector 190: Throttle Body (LU1)
Connector 191: Traction Control Switch
Connector 192: Trailer Relay Module (V92)
Connector 193: Transmission Control Module (TCM) X1
Connector 194: Transmission Control Module (TCM) X2
Connector 195: Turn Signal/Multifunction Switch
Connector 196: Turn Signal Repeater Lamp - Left
Connector 197: Turn Signal Repeater Lamp - Right
Connector 198: Tweeter - Left Front
Connector 199: Tweeter - Left Rear
Connector 200: Tweeter - Right Front
Connector 201: Tweeter - Right Rear
Connector 202: Water in Fuel Sensor (2.0L Diesel)
Connector 203: Wheel Speed Sensor - Left Front
Connector 204: Wheel Speed Sensor - Left Rear
Connector 205: Wheel Speed Sensor - Right Front
Connector 206: Wheel Speed Sensor - Right Rear
Connector 207: Windshield Washer Fluid Level Switch
Connector 208: Windshield Washer Fluid Pump
Connector 209: Windshield Wiper Motor
Connector 210: Windshield Wiper Switch
Connector 211: XBCM X1
Connector 212: XBCM X2
Connector 213: Yaw Sensor

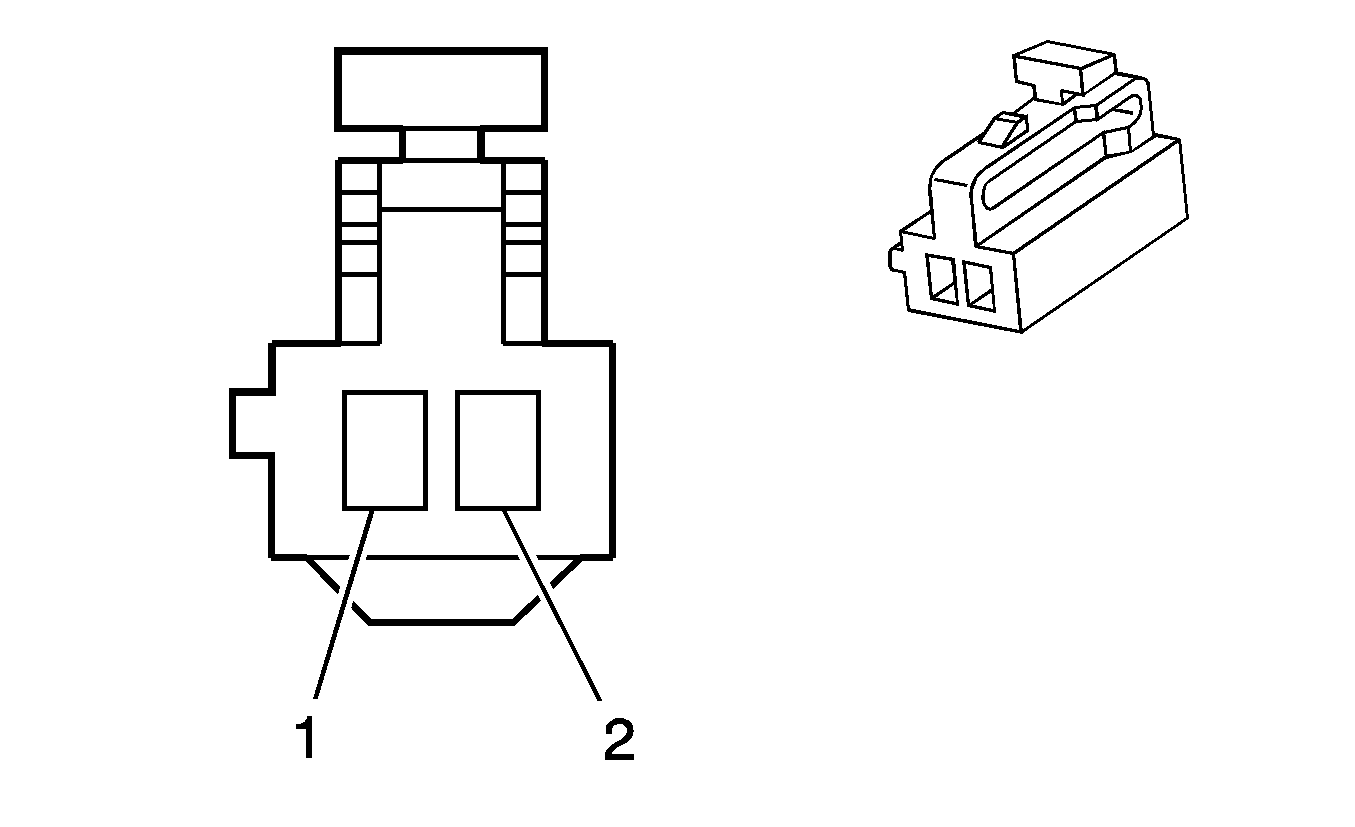
A/C Compressor


Object Number: 1334534  Size: CH

Connector Part Information

  • OEM: PED 12162017
  • Service: N/A
  • Description: 2-Way F 150 Sealed

A/C Compressor

Pin

Wire

Circuit

Function

A

0.35 BK

150

Ground (LD9/LU1)

A

0.35 BK

250

Ground (LLW)

B

0.35 D-GN

59

A/C Compressor Clutch Supply Volt

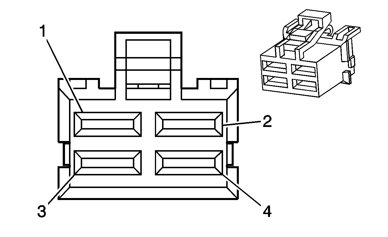
A/C Refrigerant Pressure Sensor 2.0L


Object Number: 1519475  Size: CH

Connector Part Information

  • OEM: PKI 832316
  • Service: N/A
  • Description: 3-Way F 150.2 Sealed

A/C Refrigerant Pressure Sensor 2.0L

Pin

Wire

Circuit

Function

1

0.35 BN

1274

5-Volt Reference (LD9)

1

0.35 GY

2700

5-Volt Reference (LLW/LU1)

2

0.35 BK/WH

2751

Low Reference (LD9/LLW)

2

0.35 BN

5514

Low Reference (LU1)

3

0.35 OG/BK

380

A/C Refrigerant Pressure Sensor Signal

Accelerator Pedal Position Sensor


Object Number: 886053  Size: CH

Connector Part Information

  • OEM: PED 15326830
  • Service: N/A
  • Description: 6-Way F GT 150 Series Unsealed

Accelerator Pedal Position Sensor

Pin

Wire

Circuit

Function

A

0.35 WH/BK

1164

Accelerator Pedal Position Low Reference 1

B

0.35 D-BU

1161

Accelerator Pedal Position Signal 1

C

0.35 BN

1271

Accelerator Pedal Position Low Reference 1

D

0.35 PU

1272

Accelerator Pedal Position 5-Volt Reference 2

E

0.35 L-BU

1162

Accelerator Pedal Position Signal 2

F

0.35 BN

1274

Accelerator Pedal Position Low Reference 2

Alarm


Object Number: 1835107  Size: CH

Connector Part Information

  • OEM: PED 15313469
  • Service: N/A
  • Description: 4-Way F Micro 064 Unsealed

Alarm

Pin

Wire

Circuit

Function

1

0.35 GY

--

Low Reference

2

0.35 YE

--

Signal

3

--

--

Not Used

4

0.35 D-BU

--

12-Volt Reference

Ambient Light Sensor (w/C60)


Object Number: 82383  Size: CH

Connector Part Information

  • OEM: PED 12059249
  • Service: N/A
  • Description: 2-Way F Metri-Pack 150 Unsealed (NA)

Ambient Light Sensor (w/C60)

Pin

Wire

Circuit

Function

A

0.35 WH

278

Ambient Light Sensor Signal

B

0.35 WH/BK

351

Signal Ground

Ambient Light/Sunload Sensor (with C68)


Object Number: 130637  Size: CH

Connector Part Information

  • OEM: PED 12064760
  • Service: N/A
  • Description: 4-Way F Metri-Pack Unsealed

Ambient Light/Sunload Sensor (with C68)

Pin

Wire

Circuit

Function

A

0.35 L-BU/BK

590

Solar Sensor Driver Signal

B

0.35 WH

278

Ambient Light Sensor Signal

C

0.35 L-BU

590

Solar Sensor Driver Signal

D

0.35 BK/WH

351

Ground

Audio Amplifier


Object Number: 1466978  Size: CH

Connector Part Information

  • OEM: TYCO 368544-1
  • Service: N/A
  • Description: 18-Way F MS-AL Unsealed

Audio Amplifier

Pin

Wire

Circuit

Function

1

0.35 BK

550

Ground

2

0.35 RD/BK

2540

Battery Positive Voltage

3

0.35 YE

116

Left Rear Speaker Signal (-)

4

0.35 BN

119

Left Rear Speaker (+)

5

0.35 D-GN

117

Right Front Speaker Signal (-)

6

0.35 L-GN

200

Right Front Speaker (+)

7

--

--

Not Used

8

0.35 YE

1860

Front Center Speaker (+)

9

0.35 BK

550

Ground

10

0.35 RD/WH

2540

Battery Positive Voltage

11

--

--

Not Used

12

0.35 L-BU

115

Right Rear Speaker Signal (-)

13

0.35 D-BU

46

Right Rear Speaker (+)

14

0.35 GY

118

Left Front Speaker Signal (-) 1

15

0.35 BN

24

Left Front Speaker (+) 1

16-17

--

--

Not Used

18

0.35 L-BU

1960

Front Center Speaker (-)

Backup Lamp Switch


Object Number: 1527729  Size: CH

Connector Part Information

  • OEM: PED 15419715
  • Service: N/A
  • Description: 2-Way F GT 150 Sealed

Backup Lamp Switch

Pin

Wire

Circuit

Function

A

0.35 D-BU

38

Backup Lamp Relay Control

A

0.35 D-BU

6316

Reverse Gear SW Signal

B

0.35 BK

250

Ground

Body Control Module (BCM) X1


Object Number: 1664499  Size: CH

Connector Part Information

  • OEM: JST HITPB-25-D-K
  • Service: N/A
  • Description: 25-Way F 064+280 (BK)

Body Control Module (BCM) X1

Pin

Wire

Circuit

Function

1

0.35 RD/WH

1240

Battery Positive Voltage

2

0.35 RD/WH

1440

Battery Positive Voltage

3

0.35 RD/WH

1540

Battery Positive Voltage

4

0.35 RD/WH

1340

Battery Positive Voltage

5

0.35 D-BU/WH

1315

Right Front Turn Signal Lamp Supply Volt

6

--

--

Not Used

7

0.35 YE

196

Wiper Motor Park Switch Signal

8-10

--

--

Not Used

11

0.35 D-GN/WH

1317

Fog Lamp Relay Control

12

0.35 OG

5186

Left Trailer Turn Signal Lamp

13

0.35 YE

5187

Right Trailer Turn Signal Lamp

14

0.35 L-GN

482

Rain Sensor Signal

15

0.35 OG

2268

Windshield Washer Relay Control

16

0.35 BN/WH

1969

HDLP High Beam Relay Control

17

--

--

Not Used

18

0.35 BN

481

Rain Sensor Signal

19

0.35 D-BU

5985

Accessory Wakeup Serial Data

20

0.35 YE

1977

Rear Fog Lamp Relay Control

21

0.35 YE

5199

Run/Crank Relay Coil Control

22

0.35 L-BU

1344

Liftgate Release Relay Control

23

--

--

Not Used

24

0.35 WH

2282

Headlamp Washer Relay Control

25

0.35 WH

1080

Park Brake Relay Supply Voltage

Body Control Module (BCM) X2


Object Number: 1664500  Size: CH

Connector Part Information

  • OEM: JST HITPB-25-E-N
  • Service: N/A
  • Description: 25-Way F 064+280 (BN)

Body Control Module (BCM) X2

Pin

Wire

Circuit

Function

1

0.35 YE

18

Left Rear Stop/Turn Lamp Supply Voltage

2

0.35 D-GN

19

Right Rear Stop/Turn Lamp Supply Voltage

3

--

--

Not Used

4

0.35 L-BU/WH

1314

Left Front Turn Signal Lamp Supply Voltage

5

--

--

Not Used

6

0.35 BN

683

Rear Defog Indicator Supply Voltage

7-10

--

--

Not Used

11

0.35 BN

755

RAP Relay Coil Control

12

--

--

Not Used

13

0.35 L-GN

5486

Run Relay Coil Control

14

0.35 BN

4

Accessory Voltage

15

0.35 PU

5531

Hood Closed Switch Signal

16

0.35 L-BU

1134

Park Brake Switch Signal

17

--

--

Not Used

18

0.35 BN

288

Horn Relay Control

19

0.35 WH

193

Rear Defog Relay Control

20

0.35 GY

91

Wiper Motor Relay Coil Supply Voltage

21

0.35 BN

860

F/Windshield Wiper Switch High Signal

22

--

--

Not Used

23

0.35 PK/WH

1970

HDLP Low Beam Relay Control

24

0.35 D-BU

45

Park Lamp Relay Control

25

--

--

Not Used

Body Control Module (BCM) X3


Object Number: 1664502  Size: CH

Connector Part Information

  • OEM: JST HITPB-25-F-PK
  • Service: N/A
  • Description: 25-Way F 064+280 (PK)

Body Control Module (BCM) X3

Pin

Wire

Circuit

Function

1

0.35 GY/BK

690

Courtesy Lamp Relay Control

2

0.35 L-GN

24

Backup Lamp Supply Voltage

3-7

--

--

Not Used

8

0.35 BN/WH

746

Right Front Door Ajar Switch Signal

9

--

--

Not Used

10

0.35 GY/BK

745

Left Front Door Ajar Switch Signal

11

0.35 GY

6137

EVAP Core Temp Sensor Signal

12

0.35 PK/BK

1303

Lift Gate Ajar Switch Signal 1

13-14

--

--

Not Used

15

0.35 GY

6127

Liftgate Unlatch Switch Signal

16

0.35 PU

5059

Intrusion Arm On Signal

17-19

--

--

Not Used

20

0.35 PU

1124

Door Lock Key Switch Unlock Signal

21

0.35 YE

1491

Backuplight Lamp Control

22

0.35 L-GN

1123

Door Lock Key Switch Lock Signal

23

0.35 BN

305

Trunk Key Switch Signal

24-25

--

--

Not Used

Body Control Module (BCM) X4


Object Number: 1664505  Size: CH

Connector Part Information

  • OEM: JST HITPB-28-G-H
  • Service: N/A
  • Description: 28-Way F 064+280 (GY)

Body Control Module (BCM) X4

Pin

Wire

Circuit

Function

1

--

--

Not Used

2

0.35 PK

6190

Liftgate Glass/Trunk Exterior Release Control

3-5

--

--

Not Used

6

0.35 L-BU

5921

Fuel Door Lock Relay Control

7

0.35 L-GN

1391

Left Front Door Lock Relay Control

8

0.35 OG

9000

Rear Wiper Auto On Signal

9

0.35 PK/BK

5291

Driver Door Unlock Relay

10

0.35 BN/WH

6724

Head Lamp Washer Pump Switch Signal

11

0.35 OG/BK

781

Driver Door Lock Switch Unlock Signal

12

0.35 OG/BK

782

Driver Door Lock Switch Lock Signal

13-14

--

--

Not Used

15

0.35 D-GN

1376

Alarm Armed Signal

16

0.35 L-BU

187

Rear Fog Lamp Switch Signal

17-21

--

--

Not Used

22

0.35 D-GN

5060

Low Speed GMLAN Serial Data

23

0.35 BN

126

Left Front Door Open Switch Signal

24

0.35 D-GN/WH

762

A/C Request Signal

25

0.35 PU/WH

1382

LED Dimming Signal

26-28

--

--

Not Used

Body Control Module (BCM) X5


Object Number: 1664495  Size: CH

Connector Part Information

  • OEM: HITPB-27-A-LM
  • Service: N/A
  • Description: 27-Way F HIT Series (L-GN)

Body Control Module (BCM) X5

Pin

Wire

Circuit

Function

1

--

--

Not Used

2

0.35 WH/BK

1073

Ignition Key Resister Signal

3

0.35 GY

1884

Cruise Control Switch Signal

4

0.35 WH

530

Off/Run/Crank Voltage

5

0.35 L-GN

1715

Windshield Wiper Switch High Signal

6-7

--

--

Not Used

8

0.35 BN/BK

6009

Windshield Wiper Switch Low Reference

9

0.35 L-BU

1714

Windshield Wiper Switch Low Signal

10-13

--

--

Not Used

14

0.35 PK

39

Run/Crank Ignition 1 Voltage

15

0.35 L-BU/WH

1414

Left Front Turn Switch Signal

16

0.35 D-BU/WH

1415

Right Front Turn Switch Signal

17

0.35 PK

1444

12-Volt Reference

18

0.35 PU

524

HDLP Dimmer Switch High Beam

19

0.35 BN

2144

Hazard Switch Signal

20

0.35 D-GN

5525

Tap Up/Down Enable Signal

21

0.35 YE

43

Accessory Voltage

22

--

--

Not Used

23

0.35 L-BU

553

Shift Select Switch Perform Signal

24

0.35 PK

94

Windshield Washer Switch Signal

25

0.35 YE

307

HDLP Switch Flash To Pass Signal

26

0.35 BN/WH

816

BTSI Solenoid Control (M98)

27

--

--

Not Used

Body Control Module (BCM) X6


Object Number: 1664496  Size: CH

Connector Part Information

  • OEM: JST HITPB-25-B-5
  • Service: N/A
  • Description: 25-Way F (WH)

Body Control Module (BCM) X6

Pin

Wire

Circuit

Function

1

0.35 OG

1732

Electronic Control Unit 12-Volt Reference 3

2

0.35 RD/WH

1640

Battery Positive Voltage

3

0.35 BN/WH

230

I/P Lamp Dimming Control

4-7

--

--

Not Used

8

0.35 L-BU

13

HDLP Switch Park Lamp Signal

9

--

--

Not Used

10

0.35 D-BU

6189

Lift Glass/Trunk Release Signal

11

0.35 WH

278

Ambient Light Sensor Signal

12

0.35 WH

103

Headlamp Switch On Signal

13-16

--

--

Not Used

17

0.35 D-GN

306

HDLP Switch Off Signal Control

18

0.35 PK

5068

Intrusion Sensor Switch Disable

19

--

--

Not Used

20

0.35 L-BU

292

Rear Defog Switch Signal

21

0.35 L-BU

1788

Traction Control Switch Signal (1)

22-24

--

--

Not Used

25

0.35 PU

328

Interior Lamp Defeat Switch Signal

Body Control Module (BCM) X7


Object Number: 1664498  Size: CH

Connector Part Information

  • OEM: JST HITPB-25-C-LE
  • Service: N/A
  • Description: 25-Way F 064+280 (L-BU)

Body Control Module (BCM) X7

Pin

Wire

Circuit

Function

1

0.35 BK

350

Ground

2

0.35 RD/WH

1140

Battery Positive Voltage

3

0.35 RD/WH

1040

Battery Positive Voltage

4

--

--

Not Used

5

0.35 BK

350

Ground

6

--

--

Not Used

7

0.35 YE

749

Security Indicator Control

8

0.35 TN/BK

2500

High Speed GMLAN Serial Data (+)

9

0.35 TN

2501

High Speed GMLAN Serial Data (-)

10

0.35 D-GN

5060

Low Speed GMLAN Serial Data

11

0.35 D-GN

44

I/P Lamp Dimmer Switch Signal

12

0.35 OG/WH

812

12-Volt Reference

13

0.35 PU

7062

Brake Pedal Switch Normally Closed Contact Signal

14

0.35 BN

6138

EVAP Core Temp Sensor Low Reference

15

--

--

Not Used

16

0.35 TN/BK

2500

High Speed GMLAN Serial Data (+)

17

0.35 TN

2501

High Speed GMLAN Serial Data (-)

18

0.35 YE

1491

Backlight Lamp Control

19

0.35 L-BU

5986

Serial Data Communication Enable

20

--

--

Not Used

21

0.35 OG

192

Front Fog Lamp Switch Signal

22-24

--

--

Not Used

25

0.35 PU/WH

1382

LED Dimming Signal

Boost Pressure Sensor (2.0L Diesel)


Object Number: 1835112  Size: CH

Connector Part Information

  • OEM: TYCO 368162-1
  • Service: N/A
  • Description: 4-Way F JPT Sealed

Boost Pressure Sensor (2.0L Diesel)

Pin

Wire

Circuit

Function

1

0.35 BN/WH

3123

Boost Pressure Sensor Low Reference

2

0.35 YE

3135

Boost Pressure Temperature Signal

3

0.35 GN/WH

3113

5 Volt Reference

4

0.35 WH

3140

Boost Pressure Sensor Signal

Brake Fluid Level Switch


Object Number: 655692  Size: CH

Connector Part Information

  • OEM: PED 12162193
  • Service: N/A
  • Description: 2-Way F 150.2 Sealed

Brake Fluid Level Switch

Pin

Wire

Circuit

Function

A

0.35 BN

333

Brake Fluid Sensor Signal

B

0.35 BK

650

Ground

Camshaft Position (CMP) Sensor (2.0L Diesel)


Object Number: 1467004  Size: CH

Connector Part Information

  • OEM: TYCO 85205-1
  • Service: N/A
  • Description: 3-Way F JPT Sealed

Camshaft Position (CMP) Sensor (2.0L Diesel)

Pin

Wire

Circuit

Function

1

WH/BN

--

Signal

2

RD

--

Heated O2 Sensor High Signal

3

PK/BK

--

Engine Main Relay Fused Control (3)

Camshaft Position (CMP) Sensor (2.4L)


Object Number: 1467078  Size: CH

Connector Part Information

  • OEM: KET MG640541-5
  • Service: N/A
  • Description: 3-Way F ITC Sealed

Camshaft Position (CMP) Sensor (2.4L)

Pin

Wire

Circuit

Function

1

PK/BK

--

Engine Main Relay Fused Control (3)

2

BK/WH

--

Camshaft Position Sensor Low Reference

3

BN/WH

--

Camshaft Position Sensor Signal

Camshaft Position (CMP) Sensor (2.4L)


Object Number: 1467078  Size: CH

Connector Part Information

  • OEM: KET MG640541-5
  • Service: N/A
  • Description: 3-Way F ITC Sealed

Camshaft Position (CMP) Sensor (2.4L)

Pin

Wire

Circuit

Function

1

PK/BK

--

Engine Main Relay Fused Control (3)

2

BK/WH

--

Camshaft Position Sensor Low Reference

3

BN/WH

--

Camshaft Position Sensor Signal

Center High Mounted Stop Lamp (CHMSL)


Object Number: 1467074  Size: CH

Connector Part Information

  • OEM: MG 630679
  • Service: N/A
  • Description: 2-Way F 090 Unsealed

Center High Mounted Stop Lamp (CHMSL)

Pin

Wire

Circuit

Function

1

L-BU

--

Stop Lamp Supply Voltage

2

BK

--

Ground

Cigar Lighter


Object Number: 1467075  Size: CH

Connector Part Information

  • OEM: MG 630685-5
  • Service: N/A
  • Description: 2-Way F 205+250 Type Unsealed

Cigar Lighter

Pin

Wire

Circuit

Function

1

YE

--

Ignition Voltage

2

BK

--

Ground

Clock


Object Number: 1835126  Size: CH

Connector Part Information

  • OEM: PED 15499930
  • Service: N/A
  • Description: 6-Way F Mirco 064 Unsealed

Clock

Pin

Wire

Circuit

Function

1

--

--

Not Used

2

RD/WH

--

Battery Positive Voltage

3

YE

--

Accessory Voltage

4

YE

--

Backlight Lamp Control

5

BN/WH

--

Signal Ground

6

--

--

Not Used

Clutch Start Switch


Object Number: 1835107  Size: CH

Connector Part Information

  • OEM: PED 15313469
  • Service: N/A
  • Description: 4-Way F 064 Micro Unsealed

Clutch Start Switch

Pin

Wire

Circuit

Function

1

WH

--

Ignition 1 Voltage

2

GY

--

Clutch Pedal Position Signal

3-4

--

--

Not Used

Contact Coil


Object Number: 1593397  Size: CH

Connector Part Information

  • OEM: PED 15393433
  • Service: N/A
  • Description: 10-Way F 064 Unsealed

Contact Coil

Pin

Wire

Circuit

Function

1

--

--

Not Used

2

BN

--

Remote Compact Disc/Cassette Player Supply Voltage

3

GY

--

Cruise Control Set/Coast/Resume/Accelerate Switch Signal

4

L-GN

--

Handset Volume Control Ground

5

L-GN

--

Remote Radio Control Signal

6

PK

--

12-Volt Reference

7

D-BU/WH

--

Handset Volume Control Supply

8

--

--

Not Used

9

BK

--

Ground

10

BN

--

Horn Relay Control

Contact Coil


Object Number: 1593397  Size: CH

Connector Part Information

  • OEM: PED 15393433
  • Service: N/A
  • Description: 10-Way F 064 Unsealed

Contact Coil

Pin

Wire

Circuit

Function

1

--

--

Not Used

2

BN

--

Remote Compact Disc/Cassette Player Supply Voltage

3

GY

--

Cruise Control Set/Coast/Resume/Accelerate Switch Signal

4

L-GN

--

Handset Volume Control Ground

5

L-GN

--

Remote Radio Control Signal

6

PK

--

12-Volt Reference

7

D-BU/WH

--

Handset Volume Control Supply

8

--

--

Not Used

9

BK

--

Ground

10

BN

--

Horn Relay Control

Cooling Fan - Auxiliary


Object Number: 1481270  Size: CH

Connector Part Information

  • OEM: TYCO 6-176146-6
  • Service: N/A
  • Description: 2-Way F Sealed (GY)

Cooling Fan - Auxiliary

Pin

Wire

Circuit

Function

1

WH

--

Cooling Fan Motor Low

2

GY

--

Cooling Fan Motor Supply Voltage

Cooling Fan - Main


Object Number: 1481270  Size: CH

Connector Part Information

  • OEM: TYCO 176146-2
  • Service: N/A
  • Description: 2-Way F Sealed (BK)

Cooling Fan - Main

Pin

Wire

Circuit

Function

1

BK

--

Ground

2

L-BU

--

Cooling Fan Motor Supply Voltage

Crankshaft Position (CKP) Sensor (2.0L Diesel)


Object Number: 1467004  Size: CH

Connector Part Information

  • OEM: TYCO 85205-1
  • Service: N/A
  • Description: 3-Way F JPT Sealed

Crankshaft Position (CKP) Sensor (2.0L Diesel)

Pin

Wire

Circuit

Function

1

D-GN

--

Input

2

GY

--

Heated O2 Sensor Heater Low Control Bank 1 Sensor 1

3

BK/WH

--

Input

Crankshaft Position (CKP) Sensor (2.4L)


Object Number: 1467004  Size: CH

Connector Part Information

  • OEM: TYCO 85205-1
  • Service: N/A
  • Description: 3-Way F JPT Sealed

Crankshaft Position (CKP) Sensor (2.4L)

Pin

Wire

Circuit

Function

1

D-BU/WH

--

Crankshaft POS Sensor Signal (3)

2

YE/BK

--

Crankshaft POS Sensor Low Reference (3)

3

BK/WH

--

Signal Ground

Data Link Connector


Object Number: 1468419  Size: CH

Connector Part Information

  • OEM: MOLEX 51115-1611
  • Service: N/A
  • Description: 16-Way F OBD II Unsealed

Data Link Connector

Pin

Wire

Circuit

Function

1

D-GN

--

Low Speed GMLAN Serial Data

2-3

--

--

Not Used

4

BK

--

Ground

5

BK/WH

--

Signal Ground

6

BN/BK

--

High Speed GMLAN Serial Data (+)

7

PU

--

Engine/Radio Serial Data K Line

8

WH

--

Central Control Module Diagnosis Enable

9-13

--

--

Not Used

14

BN

--

High Speed GMLAN Serial Data (-)

15

--

--

Not Used

16

RD/WH

--

Battery Positive Voltage

Diesel Particulate Filter Pressure Sensor (2.0L Diesel)


Object Number: 1830930  Size: CH

Connector Part Information

  • OEM: FEP 1J0973703
  • Service: N/A
  • Description: 3-Way F Sealed

Diesel Particulate Filter Pressure Sensor (2.0L Diesel)

Pin

Wire

Circuit

Function

1

PU

--

5-Volt Reference (LHD)

D-GN

--

5-Volt Reference (RHD)

2

BN/WH

--

Low Reference

3

D-GN

--

Signal

Dome Lamp


Object Number: 1661131  Size: CH

Connector Part Information

  • OEM: TYCO 936227-1
  • Service: N/A
  • Description: 4-Way F Unsealed

Dome Lamp

Pin

Wire

Circuit

Function

1

GY/BK

--

Courtesy Lamp Relay Control

2

OG

--

BCM 12-Volt Reference

3

BK

--

Ground

4

--

--

Not Used

Door Latch - Driver


Object Number: 845631  Size: CH

Connector Part Information

  • OEM: TYCO 6-1355688-1
  • Service: N/A
  • Description: 10-Way F M/T Sealed

Door Latch - Driver

Pin

Wire

Circuit

Function

1

GY/BK

--

Driver Door Ajar Switch Signal

2

BN

--

Driver Door Open Switch Signal

3

BK

--

Ground

4

PU

--

Door Lock Key Switch Unlock Signal

5

--

--

Not Used

6

BN

--

Driver Door Double Lock Actuator Lock Control

7

BN

--

Door Lock Actuator Unlock Control

8

GY

--

Door Lock Actuator Lock Control

9

L-GN

--

Door Lock Key Switch Lock Signal

10

--

--

Not Used

Door Latch - Driver (w/Dead Locking)


Object Number: 845631  Size: CH

Connector Part Information

  • OEM: TYCO 6-1355688-1
  • Service: N/A
  • Description: 10-Way F M/T Sealed

Door Latch - Driver (w/Dead Locking)

Pin

Wire

Circuit

Function

1

BN

--

Driver Door Double Lock Actuator Lock Signal

2

BN

--

Door Lock Actuator Unlock Control

3

GY

--

Door Lock Actuator Lock Control

4

L-GN

--

Door Lock Key Switch Signal

5

--

--

Not Used

6

BN/WH

--

Driver Door Ajar Switch Signal

7

--

--

Not Used

8

BK

--

Ground

9

PU

--

Door Lock Key Switch Unlock Signal

10

--

--

Not Used

Door Latch - Left Rear


Object Number: 812596  Size: CH

Connector Part Information

  • OEM: TYCO 6-1355683-1
  • Service: N/A
  • Description: 6-Way F M/T Sealed

Door Latch - Left Rear

Pin

Wire

Circuit

Function

1

BN

--

Door Double Lock Actuator Lock

2

BN

--

Door Lock Actuator Unlock Control

3

GY

--

Door Lock Actuator Lock Control

4

BN/WH

--

Left Rear Door Ajar Switch Signal

5

--

--

Not Used

6

BK

--

Ground

Door Latch - Passenger


Object Number: 845631  Size: CH

Connector Part Information

  • OEM: TYCO 6-1355688-1
  • Service: N/A
  • Description: 10-Way F M/T Sealed

Door Latch - Passenger

Pin

Wire

Circuit

Function

1

BN/WH

--

Passenger Door Ajar Switch Signal

2

--

--

Not Used

3

BK

--

Ground

4

PU

--

Door Lock Key Switch Unlock Signal

5

--

--

Not Used

6

BN

--

Passenger Door Double Lock Actuator Lock Control

7

BN

--

Door Lock Actuator Unlock Control

8

GY

--

Door Lock Actuator Lock Control

9

L-GN

--

Door Lock Key Switch Lock Signal

10

--

--

Not Used

Door Latch - Right Rear


Object Number: 812596  Size: CH

Connector Part Information

  • OEM: TYCO 6-1355683-1
  • Service: N/A
  • Description: 6-Way F M/T Sealed

Door Latch - Right Rear

Pin

Wire

Circuit

Function

1

BN

--

Door Double Lock Actuator Lock

2

BN

--

Door Lock Actuator Unlock Control

3

GY

--

Door Lock Actuator Lock Control

4

BN/WH

--

Right Rear Door Ajar Switch Signal

5

--

--

Not Used

6

BK

--

Ground

Door Lock Switch - Driver


Object Number: 1835107  Size: CH

Connector Part Information

  • OEM: PED 13513469
  • Service: N/A
  • Description: 4-Way F 064 Unsealed

Door Lock Switch - Driver

Pin

Wire

Circuit

Function

1

OG/BK

--

Lock Signal

2

BK

--

Ground

3

OG/BK

--

Unlock Signal

4

--

--

Not Used

Driver Information Center (C100/Long Body)


Object Number: 850856  Size: CH

Connector Part Information

  • OEM: PED 15394150
  • Service: N/A
  • Description: 16-Way F Mirco 064 Unsealed

Driver Information Center (C100/Long Body)

Pin

Wire

Circuit

Function

1

RD/WH

--

Battery Positive Voltage

2

BK

--

Ground

3

--

--

Not Used

4

YE

--

Backlight Lamp Control

5

BN/WH

--

Signal Ground

6

PK

--

Run/Crank Ignition 1 Voltage

7

D-GN

--

Low Speed GMLAN Serial Data

8-14

--

--

Not Used

15

BN/WH

--

CAN Bus High Serial Data

16

--

--

Not Used

Driver Information Center (C105/Short Body)


Object Number: 1990503  Size: CH

Connector Part Information

  • OEM: TYCO 968265-1
  • Service: N/A
  • Description: 32-Way F 064 Quadlock (BK)

Driver Information Center (C105/Short Body)

Pin

Wire

Circuit

Function

1

BK

--

Ground

2

BK/WH

--

Ground

3

RD/WH

--

Battery Positive Voltage

4

--

--

Not Used

5

RD/WH

--

Battery Positive Voltage

6-16

--

--

Not Used

17

BN/WH

--

MID Speed CAN High

18

BN

--

MID Speed CAN Low

19

BN

--

MID Speed CAN Low

20

BN/WH

--

MID Speed CAN High

21

--

--

Not Used

22

BN/WH

--

MID Speed CAN High

23

BN

--

MID Speed CAN Low

24

--

--

Not Used

25

GN

--

Low Speed GMLAN Serial Data

26-32

--

--

Not Used

Electronic Brake Control Module (EBCM)


Object Number: 1830966  Size: CH

Connector Part Information

  • OEM: TYCO 1355628-2
  • Service: N/A
  • Description: 47-Way F

Electronic Brake Control Module (EBCM)

Pin

Wire

Circuit

Function

1

RD/WH

--

Battery Positive Voltage

2

--

--

Not Used

3

D-GN/WH

--

Vehicle Speed Signal

4-7

--

--

Not Used

8

L-BU

--

Serial Data

9-10

--

--

Not Used

11

BN/BK

--

High Speed GMLAN (+)

12

BN/BK

--

High Speed GMLAN (+)

13

BN

--

High Speed GMLAN (-)

14

BN

--

High Speed GMLAN (-)

15

--

--

Not Used

16

BK/WH

--

Ground

17

--

--

Not Used

18

BN/WH

--

CAN (+)

19

OG/BK

--

CAN (-)

20-21

--

--

Not Used

22

D-GN

--

12-Volt Reference

23-28

--

--

Not Used

29

L-BU

--

Low Reference

30-31

--

--

Not Used

32

RD/WH

--

Battery Positive Voltage

33

BN

--

Right Front Wheel Speed Sensor Low Reference

34

D-GN

--

Right Front Wheel Speed Sensor Signal

35

--

--

Not Used

36

BN

--

Left Rear Wheel Speed Sensor Signal

37

OG

--

Left Rear Wheel Speed Sensor Low Reference

38

L-BU

--

Hill Descent Switch Signal

39-41

--

--

Not Used

42

WH

--

Right Rear Wheel Speed Sensor Low Reference

43

BN

--

Right Rear Wheel Speed Sensor Signal

44

--

--

Not Used

45

L-BU

--

Left Front Wheel Speed Sensor Signal

46

YE

--

Left Front Wheel Speed Sensor Low Reference

47

--

--

Not Used

Engine Control Module (ECM) X1 (LD9)


Object Number: 743315  Size: CH

Connector Part Information

  • OEM: BOSCH 1928403454
  • Service: N/A
  • Description: 81-Way F ECU 81P Assembly Seal

Engine Control Module (ECM) X1 (LD9)

Pin

Wire

Circuit

Function

1

BK

--

Ground

2

BK

--

Ground

3

--

--

Not Used

4

PK/BK

--

Engine Main Relay Fused Control (1)

5-12

--

--

Not Used

13

OG/BK

--

Trans Park/Neutral Signal (1)

14-15

--

--

Not Used

16

D-BL

--

APM Signal (1)

17

--

--

Stop Lamp Supply Voltage

18

RD/WH

--

Battery Positive Voltage

19

BN

--

APM 5-Volt Reference (2)

20

GY

--

F/Pump Pressure Sensor 5-Volt Reference

21

WH/BK

--

APM 5-Volt Reference (1)

22

--

--

Not Used

23

D-GN/WH

--

A/C Comp Clutch Supply Voltage

24

D-BU

--

High Speed Cooling Fan Relay Control

25-29

--

--

Not Used

30

BN/BK

--

High Speed GMLAN Serial Data (+) 1

31

--

--

Not Used

32

BN

--

Charge Indicator Control

33

D-BU

--

Backup Lamp Relay Control

34

--

--

Not Used

35

L-BU

--

Secondary Fuel Level Sensor Signal

36

D-BU

--

Primary Fuel Level Sensor Signal

37

--

--

Not Used

38

PU

--

Engine/Radio Serial Data K-Line

39

PK

--

Run/Crank Ignition 1 Voltage

40

BN

--

Engine Main Relay Coil Control

41-42

--

--

Not Used

43

D-GN

--

Low Speed Cooling Fan Relay Control

44-48

--

--

Not Used

49

BN

--

High Speed GMLAN Serial Data (1) 1

50

--

--

Not Used

51

D-GN/WH

--

Fuel Pump Primary Relay Control

52-53

--

--

Not Used

54

L-BU

--

APM Signal (2)

55

OG/BK

--

A/C Refrigerant Press Sensor Signal

56-62

--

--

Not Used

63

WH

--

EVAP Canister Vent Solenoid Control

64-66

--

--

Not Used

67

BK

--

Ground

68

BK

--

Ground

69

--

--

Not Used

70

GY

--

Generator Field Duty Cylinder Signal

71

--

--

Not Used

72

BN/WH

--

Cruise Control Clutch Pedal Pstn S/W Signal

73

D-BU

--

Accessory Wakeup Serial Data

74

D-GN

--

F/Pump Pressure Sensor Signal

75

--

--

Not Used

76

BN/WH

--

Fuel Level Sensor Low Reference

77

BK/WH

--

Signal Ground

78

PU

--

APM Low Reference (2)

79

BN

--

APM Low Reference (1)

80

--

--

Not Used

81

YE

--

Starter Relay Coil Control

Engine Control Module (ECM) X1 (LLW)


Object Number: 2182087  Size: CH

Connector Part Information

  • OEM: TYCO 284743-1
  • Service: N/A
  • Description: 94-Way F FIAT Housing Assembly Sealed

Engine Control Module (ECM) X1 (LLW)

Pin

Wire

Circuit

Function

1

0.35 PK/BK

5291

Main Relay Fused Coil Control (2)

2

0.35 BK

250

Ground

3

0.35 PK/BK

5290

Main Relay Fused Coil Control (1)

4

0.35 BK

250

Ground

5

0.35 PK/BK

5290

Main Relay Fused Coil Control (1)

6

0.35 BK

250

Ground

7

--

--

Not Used

8

0.35 PU

1272

APM Low Reference (2)

9

0.35 D-BU

1161

APM Signal (1)

10

0.35 BK/WH

3210

Heated O2 Sensor High Signal Bank 1 Sensor (2)

11

0.35 D-GN

3211

Heated O2 Sensor Low Signal Bank 1 Sensor (2)

12

0.35 BK/WH

275

Signal Ground

13

0.35 OG/BK

380

TCC On/Off Solenoid A Contact

14

0.35 BN/WH

6281

Fuel Level Sensor Low Reference

15

0.35 D-BU

1936

Primary Fuel Level Sensor

16

--

--

Not Used

17

0.35 L-BU

20

Stop Lamp Supply Voltage

18

0.35 GY

3141

CTS Ground

19

0.35 BN

25

Change Indicator Control

20

0.35 D-GN/WH

465

Fuel Pump Primary Relay Control

21

--

--

Not Used

22

0.35 GY

2700

ACP 5-Volt Reference

23-24

--

--

Not Used

25

0.35 PU

1319

Engine/Radio Serial Data K-Line

26-27

--

--

Not Used

28

0.35 PK

539

Run/Crank Ignition 1 Voltage

29

0.35 D-GN/WH

459

A/C Compressor Clutch Relay Control

30

0.35 BN

1271

APM Low Reference (1)

31

0.35 L-BU

1162

APM Signal (2)

32

0.35 D-GN/BK

3032

Temperature Sensor 2

33

0.35 BK

3033

Temperature Sensor 2

34

0.35 D-GN

3034

Temperature Sensor 1

35

0.35 BK/WH

3035

Temperature Sensor 1

36

--

--

Not Used

37

0.35 BK/WH

3037

CTS Signal

38-39

--

--

Not Used

40

0.35 D-BU

38

Backup Lamp Relay Control

41-42

--

--

Not Used

43

0.35 D-BU

5985

ACC Wakeup Serial Data

44

0.35 PU

3044

CTS Signal

45

0.35 WH/BK

1164

APM 5-Volt Reference (1)

46

0.35 BN

1274

APN 5-Volt Reference (2)

47-51

--

--

Not Used

52

0.35 WH

3052

GPCU 01

53-54

--

--

Not Used

55

0.35 YE

447

Starter Relay Coil Control

56

--

--

Not Used

57

0.35 WH/BK

910

PTC Request Signal

58

0.35 WH

3058

WIT Sensor

59-63

--

--

Not Used

64

0.35 D-GN

3064

CTS Signal

65

--

--

Not Used

66

0.35 YE

3158

CTS Signal

67

--

--

Not Used

68

0.35 D-GN

1488

Noise Reduction Microphone (+)

69

0.345 D-GN

335

Low Speed Cool Fan Relay Control

70-71

--

--

Not Used

72

0.35 BN

5069

Engine Main Relay Coil Control

73-74

--

--

Not Used

75

0.35 GY

23

Generator Field Duty Cycle Signal

76-79

--

--

Not Used

80

0.35 BN/WH

379

Cruise Control Clutch Switch Signal

81

0.35 OG/BK

1786

Trans P/N Signal (1)

82

--

--

Not Used

83

0.35 TN

2501

Low Speed GMLAN Serial Data (-)

84

0.35 TN/BK

2500

High Speed GMLAN Serial Data (+)

85-89

--

--

Not Used

90

0.35 D-BU

473

High Speed Cool Fan Relay Control

91

0.35 L-GN/WH

6549

Auxiliary GAS/PTC Relay Coil Control

92

--

--

Not Used

93

0.35 WH/RD

3093

GPCU ST

94

0.35 YE

2197

PTC Heater Relay Coil Supply Volt

Engine Control Module (ECM) X1 (LU1)


Object Number: 1826274  Size: CH

Connector Part Information

  • OEM: 1928404927
  • Service: See Catalog
  • Description: 96-Way F 120 Series, Sealed (BK)

Terminal Part Information

  • Pins: 7, 9, 12-13, 18-20, 26, 31-37, 40, 44, 46-49, 53-96
  • Terminal/Tray: 33467-0003/23
  • Core/Insulation Crimp: H/H
  • Release Tool/Test Probe: J-38125-213/J-35616-64B (L-BU)

Engine Control Module (ECM) X1 (LU1)

Pin

Wire

Circuit

Function

1

0.8 L-GN

5282

Camshaft Phaser Exhaust Solenoid (1)

2

0.8 PU

5284

Camshaft Phaser Intake Solenoid (1)

3

--

--

Not Used

4

0.5 YE/BK

846

Fuel Injector 6 Control

5

0.5 GN/WH

428

EVAP Canister Purge Solenoid Control

6

--

--

Not Used

7

0.5 OG

5275

Camshaft Position Intake Sensor (1)

8

--

--

Not Used

9

0.5 PU

5274

Camshaft Position Exhaust Sensor (2)

10

0.5 OG

225

Generator Turn On Signal

11

0.35 BN

1174

Oil Level Switch Signal

12

0.35 BN/GN

6392

IMT Valve Control

13

0.35 PK

6414

Ignition Coil 2, 4, 6 Low Reference

14

--

--

Not Used

15

0.5 GY

705

5-Volt Reference

16-23

--

--

Not Used

24

0.5 YE

582

TAC Motor Control - 2

25

0.8 WH

5283

Camshaft Phaser Exhaust Solenoid (2)

26

0.35 D-GN

1746

Fuel Injector 3 Control

27

--

--

Not Used

28

1 BN/WH

845

Fuel Injector 5 Control

29

--

--

Not Used

30

0.5 GY

23

Generator Field Duty Cycle Signal

31-32

--

--

Not Used

33

0.5 YE

5276

Camshaft Position (CMP) Sensor Signal - Bank 2 Intake

34

0.5 D-GN

5273

Camshaft Position Exhaust Sensor (1)

35

0.5 WH

5039

CKP Sensor High

36-38

--

--

Not Used

39

0.5 GY

2701

5 Volt Reference

40

0.5 GY

605

5 Volt Reference

41

0.5 BN/RD

470

Low Reference

42

--

--

Not Used

43

0.5 BN/RD

470

Low Reference

44

0.5 BN/RD

470

Low Reference

45

0.5 BN

5024

CKP Sensor Low

46

0.5 GY/BK

798

Crank Shaft Position Sensor

47

--

--

Not Used

48

0.5 BN

581

TAC Motor Control - 1

49

0.8 OG

5272

Camshaft Position (CMP) Actuator Solenoid Control - Bank 2 Intake

50

1 L-BU

844

Fuel Injector 4 Control

51

1 BN/D-BU

1744

Fuel Injector 1 Control

52

1 L-GN/BU

1745

Fuel Injector 2 Control

53-54

--

--

Not Used

55

0.5PU

2121

Ignition Control (1)

56

0.5 L-BU

2123

Ignition Control (3)

57

0.5 D-GN

2125

Ignition Control (5)

58

--

--

Not Used

59

0.5 D-BU

496

Knock Sensor Signal (1)

60

0.5 BN

407

Low Reference

61

0.5 BN/BK

231

Oil Pressure Switch Signal

62-64

--

--

Not Used

65

0.5 D-BU/WH

5041

Intake Manifold - Signal - 1

66

--

--

Not Used

67

0.5 BU/WH

1667

Heated Oxygen Sensor Low Reference - Bank 1 Sensor (1)

68

0.5 OG

5280

Heated Oxygen Sensor Pump Current Bank 2 Sensor (2)

69

0.5 WH

5279

Heated Oxygen Sensor Input Pump Current Bank 1 Sensor (1)

70

0.5 PU/WH

1665

Heated Oxygen Sensor High Signal - Bank 2 Sensor (1)

71

--

--

Not Used

72

0.8 D-BU

5038

Heated Oxygen Sensor Heater Low Control Bank 2 Sensor (1)

73-77

--

--

Not Used

78

0.5 PU

6413

Ignition Coil 1, 3, 5 Low Reference

79

0.5 OG/WH

2122

Ignition Coil 2 Control

80

0.5 D-GN/WH

2124

Ignition Coil 4 Control

81

0.5 L-BU/WH

2126

Ignition Coil 6 Control

82

0.5 YE

410

Engine Coolant Temperature Sensor Signal

83

0.5 GY

1716

Knock Sensor Low Reference (1)

84

0.5 L-BU

1876

Knock Sensor Signal (2)

85

0.5 Gn/WH

357

Oil Temperature Sensor Signal

86-87

--

--

Not Used

88

0.5 BN/YE

2752

Low Reference

89

0.5 PU

486

Throttle Position Sensor Signal (2)

90

0.5 D-GN

485

Throttle Position Sensor Signal (1)

91

0.5PU/WH

5281

Heated Oxygen Sensor Pump Current Bank 2 Sensor (1)

92

0.5 PU

1666

Heated Oxygen Sensor High Signal Bank 1 Sensor (1)

93

0.5 BN/WH

1653

Heated Oxygen Sensor Low Signal Bank 2 Sensor (1)

94

0.5 L-GN

5278

Heated Oxygen Sensor Input Pump Current Bank 1 Sensor (1)

95

--

--

Not Used

96

0.8 PU/WH

5037

Heated Oxygen Sensor Heater Low Control Bank 1 Sensor (1)

Engine Control Module (ECM) X2 (LD9)


Object Number: 743317  Size: CH

Connector Part Information

  • OEM: BOSCH 1928403462
  • Service: N/A
  • Description: 40-Way F ECU 40P Assembly Seal

Engine Control Module (ECM) X2 (LD9)

Pin

Wire

Circuit

Function

82

--

--

Not Used

83

L-GN/BK

--

Fuel Injector Control (2)

84

BN/WH

--

Heated O2 Sensor Low Signal Bank 1 Sensor (1)

85

BK

--

Ground

86

OG/BK

--

Intake Air Temperature Sensor Low Reference

87

BN

--

Sensor Low Reference

88

BK/WH

--

Camshaft Position Sensor Low Reference

89

BN

--

Sensor Low Reference

90

--

--

Not Used

91

L-BU

--

Fuel Injector Control (4)

92

L-BU

--

Heated O2 Sensor Control Sensor 2

93

GY

--

5-Volt Reference

94

GY

--

5-Volt Reference

95

D-BU/WH

--

Crankshaft POS Sensor Signal (3)

96

YE/BK

--

Crankshaft POS Sensor Low Reference (3)

97

D-BU

--

Knock Sensor Signal (1)

98

--

--

Not Used

99

BN/WH

--

Fuel Injector Control (3)

100

L-GN

--

Manifold Absolute Pressure Sensor Signal

101

D-GN/WH

--

Oil Temperature Sensor Signal

102

PU/WH

--

Heated O2 Sensor High Signal Bank 1 Sensor (2)

103

PU/WH

--

Heated O2 Sensor high Signal Bank 1 Sensor (1)

104

D-GN

--

High Idle Switch Control

105

BN

--

Oil Pressure Gage Signal

106

D-GN/WH

--

EVAP Canister Purge Solenoid Control

107

BN

--

Fuel Injector Control (1)

108

BN

--

Intake Air Temperature Sensor Signal

109

YE

--

Engine Coolant Temperature Sensor Signal

110

GY

--

Exhaust Gas Recirculation Vacuum Regulator Valve Signal

111

BN

--

Oil Level Switch Signal

112

D-BU

--

Throttle POS Sensor Signal (5)

113

BN/WH

--

Camshaft Position Sensor Signal

114

D-BU

--

Idle Speed Control Motor Control Retract

115

--

--

Not Used

116

L-BU

--

Ignition Coil 1 and 4 Control

117

D-GN

--

Heated O2 Sensor Control Sensor 1

118

GY

--

Exhaust Gas Recirculation Solenoid Control

119

L-BU

--

Idle Speed Control Motor Control Extend

120

--

--

Not Used

121

D-GN/WH

--

Ignition Coil 2 and 3 Control

Engine Control Module (ECM) X2 (LLW)


Object Number: 1830964  Size: CH

Connector Part Information

  • OEM: TYCO 284742-1
  • Service: N/A
  • Description: 60-Way F MQS+1 MM Unsealed

Engine Control Module (ECM) X2 (LLW)

Pin

Wire

Circuit

Function

1

0.35 YE/BK

3101

High

2

0.35 YE/D-BU

3102

High

3

--

--

Not Used

4

0.35 D-BU/WH

3104

Ground

5-6

--

--

Not Used

7

0.35 BK/WH

3107

Input

8

0.35 WH

3108

Ground

9-11

--

--

Not Used

12

0.35 GY

3112

Heated O2 Sensor Heated High Contact Bank 1 Sensor (1)

13

0.35 GY/WH

3113

Heated O2 Sensor Heated Low Contact Bank 1 Sensor (1)

14

--

--

Not Used

15

0.35 YE

3115

Signal

16

0.35 D-GN

3116

High

17

0.35 YE

3117

High

18

--

--

Not Used

19

0.35 RD/BK

3119

Low

20

0.35 RD

3120

Heated O2 Sensor High Signal Bank 1 Sensor (2)

21

0.35 L-GN

1174

Oil Level Switch Signal

22

--

--

Not Used

23

0.35 BN/WH

3123

Heated O2 Sensor Heater High Control Bank 1 Sensor (2)

24-26

--

--

Not Used

27

0.35 D-GN

3127

Input

28

0.35 YE

3128

Supply

29-30

--

--

Not Used

31

0.35 D-BU

3131

Low

32

--

--

Not Used

33

0.35 GY

3133

Heated O2 Sensor Heater High Control Bank 1 Sensor (3)

34

0.35 BN

3134

Supply

35

0.35 BN

445

Oil Pressure Gage Signal

36

--

--

Not Used

37

0.35 D-GN

3137

Signal

38-39

--

--

Not Used

40

0.35 WH

3140

Battery Positive Voltage

41

0.35 D-BU/WH

6282

Fuel Level Sensor #2 Low Reference

42

0.35 YE

3142

Signal

43

0.35 D-BU

3143

Signal

44

0.35 D-GN

3144

Ground

45

--

--

Not Used

46

0.35 D-GN/BK

3146

Low

47

0.35 WH

3147

Low

48

--

--

Not Used

49

0.35 BK

3149

Ground

50

0.35 WH/BK

3150

Signal

51

--

--

Not Used

52

0.35 WH

3152

TPA

53

0.35 YE

3153

Signal

54-57

--

--

Not Used

58

0.35 L-BU

1937

Secondary Fuel Level Sensor Signal

59

0.35 D-GN

3159

TPA

60

0.35 PK

3160

EGR

Engine Control Module (ECM) X2 (LU1)


Object Number: 1826273  Size: CH

Connector Part Information

  • OEM: BOSCH 1928404780 (W/Cover)
  • Service: N/A
  • Description: 58-Way F ECU Sealed

Engine Control Module (ECM) X2 (LU1)

Pin

Wire

Circuit

Function

1

0.35 BK

250

Ground

2

0.35 BK

250

Ground

3

0.35 PK/BK

5290

Engine Main Relay Fused Control (1)

4

0.35 BK

250

Ground

5

0.35 PK/BK

5290

Engine Main Relay Fused Control (1)

6

0.35 PK/BK

5290

Engine Main Relay Fused Control (1)

7

0.35 GY/WH

3122

Heated O2 Sensor Low Bank 1 (2)

8

--

--

Not Used

9

0.35 BN

452

Sensor Low Reference

10

0.35 D-GN/WH

465

Fuel Pump Primary Relay

11

0.35 BN

5514

Sensor low Reference

12

--

--

Not Used

13

0.35 YE

492

Mass Air Flow Sensor Signal

14

--

--

Not Used

15

0.35 D-BU

1161

APM Signal (1)

16

0.35 BN/WH

379

Cruise Control Clutch S/W Signal

17

0.35 OG/BN

1785

Tans Park/Neutral Signal (1)

18

0.35 PK/BK

6316

Engine Reverse Gear SW Signal

19

--

--

Not Used

20

0.35 OG/WH

3225

Heat O2 Sensor Low Bank 2 (2)

21

--

--

Not Used

22

0.35 BN

2760

Intake Air Temperature Sensor Low Reference

23

0.35 BN/WH

1669

Heat O2 Low Signal Bank 1 (2)

24

0.35 BN

1671

Heated O2 Low Signal Bank 1 Sensor (2)

25

0.35 L-BU

1162

APM Signal (1)

26

0.35 L-BU

1937

Secondary Fuel Level Sensor Signal

27-33

--

--

Not Used

34

0.35 BN

1271

APM Low Reference (1)

35

0.35 D-GN

2700

5-Volt Reference

36

0.35 D-BU

1936

Primary Fuel Level Sensor

37

--

--

Not Used

38

0.35 PU/WH

1668

Heated O2 Sensor High Signal Bank 1 (2)

39

0.35 OG/BK

380

ACP Sensor Signal

40

--

--

Not Used

41

0.35 D-BU

5985

Accessory Wakeup Serial Data

42

0.35 TN/BK

2500

High Speed GMLAN Serial Data (+) 1

43

--

--

Not Used

44

0.35 D-GN/WH

459

A/C Compressor Clutch Relay Control

45

0.35 D-BU

473

High Speed Cooling Fan Relay Control

46

0.35 D-GN

335

Low Speed Cooling Fan Relay Control

47

0.35 PU

1272

APM Low References (2)

48

0.35 BN

1274

APM 5-Volt Reference (2)

49

0.35 WH/BK

1164

APM 5-Volt Reference (1)

50

0.35 BN

472

Intake Air Temperature Sensor Signal

51

0.35 PU

1670

Heated O2 High Signal Bank 2 (2)

52

0.35 L-BU

20

Stop Lamp Supply Voltage

53

--

--

Not Used

54

0.35 PK

539

Run/Crank Ignition 1 Voltage

55

0.35 TN

2501

High Speed GMLAN Serial Data (-) 1

56

0.35 RD/WH

40

Battery Positive Voltage

57

0.35 PU/WH

1035

Starter Relay Coil Control

58

0.35 BN

5069

Engine Main Relay Coil Control

Engine Coolant Temperature (ECT) Sensor (2.0L Diesel)


Object Number: 62426  Size: CH

Connector Part Information

  • OEM: PED 12040753
  • Service: N/A
  • Description: 2-Way F 150 Series Sealed

Engine Coolant Temperature (ECT) Sensor (2.0L Diesel)

Pin

Wire

Circuit

Function

1

GY

--

CTS Ground

2

YE

--

CTS Signal

Engine Coolant Temperature (ECT) Sensor (2.4L)


Object Number: 62426  Size: CH

Connector Part Information

  • OEM: PKI 832238
  • Service: N/A
  • Description: 2-Way F 150.2 Sealed

Engine Coolant Temperature (ECT) Sensor (2.4L)

Pin

Wire

Circuit

Function

1

YE

--

Engine Coolant Temperature Sensor Signal

2

BN

--

Sensor Low Reference

Engine Oil Pressure Sensor (LU1)


Object Number: 1519475  Size: CH

Connector Part Information

  • OEM: 7283-2429
  • Service: N/A
  • Description: 3-Way F 150.2 Sealed (GY)

Engine Oil Pressure Sensor (LU1)

Pin

Wire

Circuit

Function

1

0.35 BN/RD

470

Low Reference

2

0.35 GY

605

5 Volt Reference

3

0.35 BN/BK

231

Engine Oil Pressure Sensor Signal

EVAP Canister Purge Solenoid Valve (2.4L)


Object Number: 1481266  Size: CH

Connector Part Information

  • OEM: PKI 832229
  • Service: N/A
  • Description: 2-Way F Sealed

EVAP Canister Purge Solenoid Valve (2.4L)

Pin

Wire

Circuit

Function

1

PK/WH

--

Engine Main Relay Fused Control (3)

2

D-GN/WH

--

EVAP Canister Purge Solenoid Control

EVAP Canister Purge Solenoid Valve (3.2L)


Object Number: 1481266  Size: CH

Connector Part Information

  • OEM: PKI 832229
  • Service: N/A
  • Description: 2-Way F Sealed

EVAP Canister Purge Solenoid Valve (3.2L)

Pin

Wire

Circuit

Function

1

WH

--

EVAP Canister Vent Solenoid Control

2

PK

--

Run/Crank Ignition 1 Voltage

Exhaust Gas Recirculation (EGR) Valve (2.0L Diesel)


Object Number: 1467003  Size: CH

Connector Part Information

  • OEM: TYCO 827551-3
  • Service: N/A
  • Description: 2-Way F Timmer Sealed

Exhaust Gas Recirculation (EGR) Valve (2.0L Diesel)

Pin

Wire

Circuit

Function

1

PK

--

EGR

2

PK/BK

--

Engine Main Relay Coil Control (3)

Exhaust Gas Recirculation (EGR) Valve (2.4L)


Object Number: 1468387  Size: CH

Connector Part Information

  • OEM: PKI 832503
  • Service: N/A
  • Description: 5-Way F 150 Sealed

Exhaust Gas Recirculation (EGR) Valve (2.4L)

Pin

Wire

Circuit

Function

1

GY

--

Exhaust Gas Recirculation Solenoid Control

2

BN

--

Sensor Low Reference

3

GY

--

Exhaust Recirculation Vacuum Valve Signal

4

GY

--

5-Volt Reference

5

PK/BK

--

Engine Main Relay Fused Controls (3)

Exhaust Gas Temperature Sensor I (2.0 Diesel)


Object Number: 1265364  Size: CH

Connector Part Information

  • OEM: 621-02020
  • Service: N/A
  • Description: 2-Way F

Exhaust Gas Temperature Sensor I (2.0 Diesel)

Pin

Wire

Circuit

Function

1

GN

--

Signal 1

2

BK/WH

--

Low Reference

Exhaust Gas Temperature Sensor 2 (2.0L Diesel)


Object Number: 1265364  Size: CH

Connector Part Information

  • OEM: 621-02020
  • Service: N/A
  • Description: 2-Way F

Exhaust Gas Temperature Sensor 2 (2.0L Diesel)

Pin

Wire

Circuit

Function

1

GN/BK

--

Signal 2

2

BK

--

Low Reference

Fog Lamp


Object Number: 1413064  Size: CH

Connector Part Information

  • OEM: PED 12124819
  • Service: N/A
  • Description: 2-Way Sealed

Fog Lamp

Pin

Wire

Circuit

Function

1

PU

--

Front Fog Lamp Supply Voltage

2

BK

--

Ground

Folding Mirror Unit


Object Number: 1835081  Size: CH

Connector Part Information

  • OEM: KUM PH 845-05010
  • Service: N/A
  • Description: 5-Way F CDR Unsealed

Folding Mirror Unit

Pin

Wire

Circuit

Function

1

L-BU

--

Fold Signal

2

YE

--

Extend Signal

3

BK

--

Ground

4

PK

--

Relay Control

5

YE

--

Accessory Voltage

Fuel Door Lock Actuator


Object Number: 872877  Size: CH

Connector Part Information

  • OEM: PED 15332130
  • Service: N/A
  • Description: 2-Way M GT 150 Unsealed

Fuel Door Actuator

Pin

Wire

Circuit

Function

1

GY

--

Door Lock Actuator Lock Control

2

BN

--

Door Lock Actuator Unlock Control

Fuel Filter Heater/Temperature Sensor (2.0L Diesel)


Object Number: 1835094  Size: CH

Connector Part Information

  • OEM: FCI 17260406A
  • Service: N/A
  • Description: 6-Way F 150/280 Series Sealed

Fuel Filter Heater/Temperature Sensor (2.0L Diesel)

Pin

Wire

Circuit

Function

1-2

--

--

Not Used

3

BK

--

Ground (LHD)

Ignition Voltage (RHD)

4

BU

--

Power Take Off Enable Switch (LHD)

Fuel Filter Heater (RHD)

5

GN

--

Heated Oxygen Sensor Low Signal Bank 2 Sensor 1 (LHD)

Fuel Temperature Signal (RHD)

6

BK/WH

--

Heated Oxygen Sensor High Signal Bank 2 Sensor 1 (LHD)

Fuel Temperature Ground (RHD)

Fuel Injector 1 (2.0L Diesel)


Object Number: 784092  Size: CH

Connector Part Information

  • OEM: BOSCH 1928403874
  • Service: N/A
  • Description: 2-Way F Sealed

Fuel Injector 1 (2.0L Diesel)

Pin

Wire

Circuit

Function

1

D-GN

--

High

2

WH

--

Low

Fuel Injector 1 (2.4L)


Object Number: 1405759  Size: CH

Connector Part Information

  • OEM: PED 12131678
  • Service: N/A
  • Description: 2-Way F Minifuse Sealed

Fuel Injector 1 (2.4L)

Pin

Wire

Circuit

Function

1

PK/BK

--

Engine Main Relay Fused Control (4)

2

L-BU

--

Fuel Injector Control (1)

Fuel Injector 2 (2.0L Diesel)


Object Number: 784092  Size: CH

Connector Part Information

  • OEM: BOSCH 1928403874
  • Service: N/A
  • Description: 2-Way F Sealed

Fuel Injector 2 (2.0L Diesel)

Pin

Wire

Circuit

Function

1

YE/D-BU

--

High

2

D-BU

--

Low

Fuel Injector 2 (2.4L)


Object Number: 1405759  Size: CH

Connector Part Information

  • OEM: PED 12131678
  • Service: N/A
  • Description: 2-Way F Minifuse Sealed

Fuel Injector 2 (2.4L)

Pin

Wire

Circuit

Function

1

PK/BK

--

Engine Main Relay Fused Control (4)

2

BN/WH

--

Fuel Injector Control (3)

Fuel Injector 3 (2.0L Diesel)


Object Number: 784092  Size: CH

Connector Part Information

  • OEM: BOSCH 1928403874
  • Service: N/A
  • Description: 2-Way F Sealed

Fuel Injector 3 (2.0L Diesel)

Pin

Wire

Circuit

Function

1

YE/BK

--

High

2

D-GN/BK

--

Low

Fuel Injector 3 (2.4L)


Object Number: 1405759  Size: CH

Connector Part Information

  • OEM: PED 12131678
  • Service: N/A
  • Description: 2-Way F Minifuse Sealed

Fuel Injector 3 (2.4L)

Pin

Wire

Circuit

Function

1

PK/BK

--

Engine Main Relay Fused Control (4)

2

L-BU

--

Fuel Injector Control (4)

Fuel Injector 4 (2.0L Diesel)


Object Number: 784092  Size: CH

Connector Part Information

  • OEM: BOSCH 1928403874
  • Service: N/A
  • Description: 2-Way F Sealed

Fuel Injector 4 (2.0L Diesel)

Pin

Wire

Circuit

Function

1

YE

--

High

2

GY

--

Low

Fuel Injector 4 (2.4L)


Object Number: 1405759  Size: CH

Connector Part Information

  • OEM: PED 12131678
  • Service: N/A
  • Description: 2-Way F Minifuse Sealed

Fuel Injector 4 (2.4L)

Pin

Wire

Circuit

Function

1

PK/BK

--

Engine Main Relay Fused Control (4)

2

L-BU

--

Fuel Injector Control (2)

Fuel Pump Module (2.4L)


Object Number: 1468407  Size: CH

Connector Part Information

  • OEM: KET MG641521
  • Service: N/A
  • Description: 5-Way F 090II Sealed

Fuel Pump Module (2.4L)

Pin

Wire

Circuit

Function

1

PK

--

Run/Crank Ignition Voltage

2

BN/WH

--

Fuel Level Sensor Low

3

D-BU

--

Primary Fuel Level Sensor

4

GY

--

Fuel Pump Supply Voltage

5

BK

--

Ground

Fuel Pump Module (2.0L Diesel)


Object Number: 1468407  Size: CH

Connector Part Information

  • OEM: KET MG641521
  • Service: N/A
  • Description: 5-Way F 090II Sealed

Fuel Pump Module (2.0L Diesel)

Pin

Wire

Circuit

Function

1

PK

--

Run/Crank Ignition Voltage

2

BN/WH

--

Fuel Level Sensor Low

3

D-BU

--

Primary Fuel Level Sensor

4

GY

--

Fuel Pump Supply Voltage

5

BK

--

Ground

Fuel Pump Module (3.2L)


Object Number: 1468407  Size: CH

Connector Part Information

  • OEM: KET MG641521
  • Service: N/A
  • Description: 5-Way F 090II Sealed

Fuel Pump Module (3.2L)

Pin

Wire

Circuit

Function

1

PK

--

Run/Crank Ignition Voltage

2

BN/WH

--

Fuel Level Sensor Low

3

D-BU

--

Primary Fuel Level Sensor

4

GY

--

Fuel Pump Supply Voltage

5

BK

--

Ground

Fuel Rail Pressure Control Valve (2.0L Diesel)


Object Number: 784092  Size: CH

Connector Part Information

  • OEM: BOSCH 1928403874
  • Service: N/A
  • Description: 2-Way F Sealed

Fuel Rail Pressure Control Valve (2.0L Diesel)

Pin

Wire

Circuit

Function

1

BN

--

Low

2

D-BU/WH

--

Ground

Fuel Rail Pressure Sensor (2.0L Diesel)


Object Number: 1331443  Size: CH

Connector Part Information

  • OEM: BOSCH 1928403968
  • Service: N/A
  • Description: 2-Way F Sealed

Fuel Rail Pressure Sensor (2.0L Diesel)

Pin

Wire

Circuit

Function

1

WH

--

Ground

2

D-BU

--

Signal

3

YE

--

Supply

Fuel Tank Pressure Sensor (3.2L)


Object Number: 1497773  Size: CH

Connector Part Information

  • OEM: PKI 832311
  • Service: N/A
  • Description: 3-Way F 150 Sealed

Fuel Tank Pressure Sensor (3.2L)

Pin

Wire

Circuit

Function

1

BN/WH

--

Fuel Level Sensor Low

2

D-GN

--

Fuel Tank Pressure Sensor Signal

3

GY

--

Fuel Tank Pressure Sensor 5-Volt Reference

Generator


Object Number: 697046  Size: CH

Connector Part Information

  • OEM: PED 12186568
  • Service: N/A
  • Description: 4-Way F 150 Unsealed

Generator

Pin

Wire

Circuit

Function

1

--

--

Not Used

2

BN

--

Charge Indicator Control

3

GY

--

Generator Field Duty Cycle Signal

4

--

--

Not Used

Glow Plug Control Unit (2.0L Diesel)


Object Number: 1835994  Size: CH

Connector Part Information

  • OEM: FCI 60432001
  • Service: N/A
  • Description: 11-Way F Sealed

Glow Plug Control Unit (2.0L Diesel)

Pin

Wire

Circuit

Function

1

GY

--

Shunt High Signal

2

GY

--

Shunt High Signal

3

GY

--

Shunt High Signal

4

GY

--

Shunt High Signal

5

--

--

Not Used

6

PK/BK

--

Ignition Voltage

7

BK/WH

--

Signal Ground

8

--

--

Not Used

9

WH

--

GPCU 01

10

RD/WH

--

Battery Positive Voltage

11

WH/RD

--

GPCU ST

Hands Free Unit


Object Number: 1836009  Size: CH

Connector Part Information

  • OEM: KET MG 651563
  • Service: N/A
  • Description: 23-Way F MS-AL Unsealed

Hands Free Unit

Pin

Wire

Circuit

Function

1

D-BU

--

Audio Earpiece Signal

2

--

--

Not Used

3

PK

--

Audio Handset Low Ref

4

GY

--

Cell RF Boost Control Signal

5

YE/BK

--

Cell Mute Signal

6

L-BU/BK

--

Cell Voice Low Ref

7

--

--

Not Used

8

D-BU

--

Cell Voice Signal

9

--

--

Not Used

10

PK

--

Ext Speaker (+)

11

GY/BK

--

Transceiver Low Ref

12

L-GN

--

Handset Volume Control Ground

13

--

--

Not Used

14

D-BU/WH

--

Handset Volume Control Supply

15-16

--

--

Not Used

17

GY/BK

--

Mic (+)

18

GY/BK

--

Mic Signal

19

BK

--

Ground

20

D-GN

--

Cell Mic Low Ref

21

YE

--

Ignition Voltage

22

GY

--

Cell Mic Signal

23

GY

--

Ext Speaker (-)

Hazard Switch


Object Number: 646415  Size: CH

Connector Part Information

  • OEM: PED 15499928
  • Service: N/A
  • Description: 6-Way F HVT Unsealed

Hazard Switch

Pin

Wire

Circuit

Function

1

PU

--

Traction Control Signal

2

BK

--

Ground

3-5

--

--

Not Used

6

YE

--

IP Dimming

Head Lamp Washer Pump


Object Number: 646415  Size: CH

Connector Part Information

  • OEM: GHW 18255050000
  • Service: N/A
  • Description: 2-Way F Sealed

Head Lamp Washer Pump

Pin

Wire

Circuit

Function

1

PU

--

Headlamp Washer Pump Control

2

BK

--

Ground

Headlamp - Left


Object Number: 1468381  Size: CH

Connector Part Information

  • OEM: KUM PB625-04027
  • Service: N/A
  • Description: 4-Way F NMWP Sealed

Headlamp - Left

Pin

Wire

Circuit

Function

1

YE

--

Left Headlamp Low Beam Supply Voltage

2

D-GN/WH

--

Left Headlamp High Beam Supply Voltage

3

BK

--

Ground

4

--

--

Not Used

Headlamp - Left (w/Leveling)


Object Number: 1468383  Size: CH

Connector Part Information

  • OEM: KUM PB625-06027
  • Service: N/A
  • Description: 6-Way F GT 150 Series Sealed

Headlamp - Left (w/Leveling)

Pin

Wire

Circuit

Function

1

BK

--

Ground

2

PU

--

Left Park Lamp Supply Voltage

3

D-GN

--

Headlamp Leveling Motor Supply Voltage

4

D-GN/WH

--

Left Headlamp High Beam Supply Voltage

5

YE

--

Left Headlamp Low Beam Supply Voltage

6

BK

--

Ground

Headlamp - Right


Object Number: 1468381  Size: CH

Connector Part Information

  • OEM: KUM PB625-04027
  • Service: N/A
  • Description: 4-Way F NMWP Sealed

Headlamp - Right

Pin

Wire

Circuit

Function

1

BN/WH

--

Right Headlamp Low Beam Supply Voltage

2

L-GN/BN

--

Right Headlamp High Beam Supply Voltage

3

BN

--

Ground

4

--

--

Not Used

Headlamp - Right (w/Leveling)


Object Number: 1468383  Size: CH

Connector Part Information

  • OEM: KUM PB625-06027
  • Service: N/A
  • Description: 6-Way F NWMP Sealed

Headlamp - Right (w/Leveling)

Pin

Wire

Circuit

Function

1

BK

--

Ground

2

BN/WH

--

Right Park Lamp Supply Voltage

3

D-GN

--

Hold Leveling Motor Supply Voltage

4

L-GN/BK

--

Right Headlamp High Beam Supply Voltage

5

BN/WH

--

Right Headlamp Low Beam Supply Voltage

6

BK

--

Ground

Heated Oxygen Sensor HO2S 1 (2.4L)


Object Number: 1468381  Size: CH

Connector Part Information

  • OEM: TYCO 174257-2
  • Service: N/A
  • Description: 4-Way F MARK-II Sealed

Heated Oxygen Sensor (HO2S) 1 (2.4L)

Pin

Wire

Circuit

Function

1

PU/WH

--

Heated O2 Sensor High Signal Bank 1 Sensor 1

2

PK/BK

--

Engine Main Relay Fused Control (2)

3

BN/WH

--

Heated O2 Sensor Low Signal Bank 1 Sensor 2

4

D-GN

--

Heated O2 Sensor Control Sensor 1

Heated Oxygen Sensor (HO2S) 2 (2.4L)


Object Number: 1466979  Size: CH

Connector Part Information

  • OEM: PB625-04027
  • Service: N/A
  • Description: 4-Way F NMWP Sealed

Heated Oxygen Sensor (HO2S) 2 (2.4L)

Pin

Wire

Circuit

Function

1

PU/WH

--

Heated O2 Sensor High Signal Bank 1 Sensor 2

2

PK/BK

--

Engine Main Relay Fused Control (2)

3

BN/WH

--

Heated O2 Sensor Low Signal Bank 1 Sensor 1

4

L-BU

--

Heated O2 Sensor Control Sensor 2

Heated Oxygen Sensor Bank 2 (3.2L)


Object Number: 816173  Size: CH

Connector Part Information

  • OEM: BOSCH 1928403453
  • Service: N/A
  • Description: 4-Way F Sealed

Heated Oxygen Sensor Bank 2 (3.2L)

Pin

Wire

Circuit

Function

1

PK/BK

--

Engine Main Relay Fused Control (4)

2

OG/WH

--

Heated O2 Sensor Bank 2 (2)

3

BN

--

Heated O2 Low Signal Bank 2 (2)

4

PU

--

Heated O2 High Signal Bank 2 (2)

Heated Seat - Left


Object Number: 1830956  Size: CH

Connector Part Information

  • OEM: MG 610207
  • Service: N/A
  • Description: 2-Way F Unsealed

Heated Seat - Left

Pin

Wire

Circuit

Function

1

L-BU/BK

--

Heated Seat Switch Signal

2

BK

--

Ground

Heated Seat - Right


Object Number: 1830956  Size: CH

Connector Part Information

  • OEM: MG 610207
  • Service: N/A
  • Description: 2-Way F Unsealed

Heated Seat - Right

Pin

Wire

Circuit

Function

1

L-BU/BK

--

Heated Seat Switch Signal

2

BK

--

Ground

Heated Seat Switch - Left


Object Number: 1835126  Size: CH

Connector Part Information

  • OEM: PED 15499928
  • Service: N/A
  • Description: 6-Way F 064 Unsealed

Heated Seat Switch - Left

Pin

Wire

Circuit

Function

1

YE

--

Backlight Lamp Control

2

BK

--

Ground

3

--

--

Not Used

4

L-BU

--

Signal

5

BN

--

Ignition 3 Voltage

6

BK

--

Ground

Heated Seat Switch - Left


Object Number: 1376707  Size: CH

Connector Part Information

  • OEM: PED 15406141
  • Service: N/A
  • Description: 8-Way F 064 Unsealed

Heated Seat Switch - Left

Pin

Wire

Circuit

Function

1

YE

--

Backlight Lamp Control

2

BK

--

Ground

3

BN

--

Ignition 3 Voltage

4

BU

--

Left Heated Seat Back Switch Signal

5

PU/WH

--

LED Dimming Signal

6

L-BU

--

Left Heated Seat Low Indicator

7

WH/BK

--

Left Heated Seat Medium Indicator

8

GN

--

Left Heated Seat High Indicator

Heated Seat Switch - Right


Object Number: 1376707  Size: CH

Connector Part Information

  • OEM: PED 15406141
  • Service: N/A
  • Description: 8-Way F 064 Unsealed

Heated Seat Switch - Right

Pin

Wire

Circuit

Function

1

YE

--

Backlight Lamp Control

2

BK

--

Ground

3

BN

--

Ignition 3 Voltage

4

PU

--

Right Heated Seat Back Switch Signal

5

PU/WH

--

LED Dimming Signal

6

YE

--

Right Heated Seat Low Indicator

7

WH/BK

--

Right Heated Seat Medium Indicator

8

BN

--

Right Heated Seat High Indicator

Heated Seat Switch - Right


Object Number: 1835126  Size: CH

Connector Part Information

  • OEM: PED 15499928
  • Service: N/A
  • Description: 6-Way F 064 Unsealed

Heated Seat Switch - Right

Pin

Wire

Circuit

Function

1

YE

--

Backlight Lamp Control

2

BK

--

Ground

3

--

--

Not Used

4

L-BU

--

Signal

5

BN

--

Ignition 3 Voltage

6

BK

--

Ground

High Pressure Pump (2.0L Diesel)


Object Number: 784092  Size: CH

Connector Part Information

  • OEM: BOSCH 1928403874
  • Service: N/A
  • Description: 2-Way F Sealed

High Pressure Pump (2.0L Diesel)

Pin

Wire

Circuit

Function

1

RD/BK

--

Low

2

BK

--

Ground

Hill Descent Switch


Object Number: 1835121  Size: CH

Connector Part Information

  • OEM: PED 15499927
  • Service: N/A
  • Description: 6-Way F Micro 064 Unsealed

Hill Descent Switch

Pin

Wire

Circuit

Function

1

L-BU

--

Hill Descent Switch Signal

2

BK

--

Ground

3-5

--

--

Not Used

6

YE

--

Illumination Signal

Hood Open Switch


Object Number: 646415  Size: CH

Connector Part Information

  • OEM: PED 15326808
  • Service: N/A
  • Description: 3-Way F Sealed

Hood Open Switch

Pin

Wire

Circuit

Function

1

PU

--

Hood Closed S/W Signal

2

--

--

Not Used

3

BK

--

Ground

HVAC Control Module X1 (C68)


Object Number: 823321  Size: CH

Connector Part Information

  • OEM: PED 15326953
  • Service: N/A
  • Description: 16-Way F GT 280 Unsealed

HVAC Control Module X1 (C68)

Pin

Wire

Circuit

Function

1

GY

--

EVAP Core Temperature Sensor Signal

2

D-GN/WH

--

Steering Wheel Module Low Signal

3

L-BU

--

Rear Defog Switch Signal

4

D-GN

--

Low Speed GMLAN Serial Data

5

BN/WH

--

I/P Lamp Dimming Control

6

BN

--

Run Ignition 3 Voltage

7

BN

--

Run Ignition 3 Voltage

8

RDWH

--

Battery Positive Voltage

9

BN

--

EVAP Core Temperature Sensor Low Reference

10

BN

--

Rear Defog Indicator Supply Voltage

11

WH/BK

--

PTC Heater Request Signal

12

WH

--

RR Defog Relay Control

13

BN/WH

--

I/P Lamp Dimming Control

14

L-BU

--

Solar Sensor Driver Signal

15

PU/WH

--

Air Quality Sensor Signal

16

BK

--

Ground

I/P Compartment Lamp


Object Number: 1481285  Size: CH

Connector Part Information

  • OEM: PKI 836277
  • Service: N/A
  • Description: 2-Way F G/Lam Unsealed

I/P Compartment Lamp

Pin

Wire

Circuit

Function

1

OG

--

Body Control Module 12-Volt Reference

2

PU

--

I/P Compartment Lamp Control

I/P Compartment Lamp Switch


Object Number: 1481285  Size: CH

Connector Part Information

  • OEM: PKI 836277
  • Service: N/A
  • Description: 2-Way F G/Lam Unsealed

I/P Compartment Lamp Switch

Pin

Wire

Circuit

Function

1

BK/WH

--

Ground

2

PU

--

I/P Compartment Lamp Control

Ignition Coil Module (2.4L)


Object Number: 1497773  Size: CH

Connector Part Information

  • OEM: PKI 832311
  • Service: N/A
  • Description: 3-Way F 150 Sealed

Ignition Coil Module (2.4L)

Pin

Wire

Circuit

Function

1

D-GN/WH

--

Ignition Coil 2 and 3 Control

2

PK

--

Run/Crank Ignition 1 Voltage

3

L-BU

--

Ignition Coil 1 and 4 Control

Ignition Key Cylinder Lamp


Object Number: 1468516  Size: CH

Connector Part Information

  • OEM: AMP 368502-1
  • Service: N/A
  • Description: 6-Way F Unsealed

Ignition Key Cylinder Lamp

Pin

Wire

Circuit

Function

1

GY/BK

--

Courtesy Lamp Relay Control

2

BK

--

Ground

3

D-GN

--

Serial Data

4

BK

--

Ground

5

D-BU

--

Serial Data

6

RD/WH

--

Battery Positive Voltage

Ignition Switch


Object Number: 307727  Size: CH

Connector Part Information

  • OEM: JAE IL-AG5-6S-S3C1
  • Service: N/A
  • Description: 6-Way F IL5 Unsealed

Ignition Switch

Pin

Wire

Circuit

Function

1

YE

--

Accessory Voltage

2

RD/WH

--

Battery Positive Voltage

3

PK

--

Ignition 1 Voltage

4

WH/BK

--

Ignition Key Resistor Signal

5

WH

--

Off/Run/Crank Voltage

6

--

--

Not Used

Inclination Sensor


Object Number: 894390  Size: CH

Connector Part Information

  • OEM: PED 15324229
  • Service: N/A
  • Description: 4-Way F Timer Micro I Unsealed (BK)

Inclination Sensor

Pin

Wire

Circuit

Function

1

RD/WH

--

Battery Positive Voltage

2

--

--

Not Used

3

L-BU

--

Incline Sensor Alarm On Signal

4

D-GN

--

Alarm Armed Signal

Inflatable Restraint Retractor Pretensioner - Left Front (C105/Short Body)


Object Number: 1265364  Size: CH

Connector Part Information

  • OEM: 621-02020
  • Service: N/A
  • Description: 2-Way F

Inflatable Restraint Retractor Pretensioner - Left Front (C105/Short Body)

Pin

Wire

Circuit

Function

1

OG

--

LF Retractor Pretensioner High Control

2

PU

--

LF Retractor Pretensioner Low Control

Inflatable Restraint Retractor Pretensioner - Right Front (C105/Short Body)


Object Number: 1265364  Size: CH

Connector Part Information

  • OEM: 621-02020
  • Service: N/A
  • Description: 2-Way F

Inflatable Restraint Retractor Pretensioner - Right Front (C105/Short Body)

Pin

Wire

Circuit

Function

1

GY

--

RF Retractor Pretensioner High Control

2

GN

--

RF Retractor Pretensioner Low Control

Inflatable Restraint Roof Rail Module - Left


Object Number: 966360  Size: CH

Connector Part Information

  • OEM: FCI 4100-1101
  • Service: N/A
  • Description: 2-Way F Unsealed

Inflatable Restraint Roof Rail Module - Left

Pin

Wire

Circuit

Function

1

PK

--

LF Roof Rail Module Low

2

PU/WH

--

LF Roof Rail Module High

Inflatable Restraint Roof Rail Module - Right


Object Number: 966360  Size: CH

Connector Part Information

  • OEM: FCI 4100-1101
  • Service: N/A
  • Description: 2-Way F Unsealed

Inflatable Restraint Roof Rail Module - Right

Pin

Wire

Circuit

Function

1

WH/BK

--

RF Roof Rail Module Low

2

YE/BK

--

RF Roof Rail Module High

Inflatable Restraint Side Impact Sensor - Left Front


Object Number: 744046  Size: CH

Connector Part Information

  • OEM: PED 15356723
  • Service: N/A
  • Description: 2-Way F 150 GT Sealed

Inflatable Restraint Side Impact Sensor - Left Front

Pin

Wire

Circuit

Function

1

GY/BN

--

LT MID SISM Low Reference

2

D-GN/WH

--

LT MID SISM Signal

Inflatable Restraint Side Impact Sensor - Right Front


Object Number: 744046  Size: CH

Connector Part Information

  • OEM: PED 15356723
  • Service: N/A
  • Description: 2-Way F 150 GT Sealed

Inflatable Restraint Side Impact Sensor - Right Front

Pin

Wire

Circuit

Function

1

L-GN/WH

--

RT MID SISM Low Reference

2

L-BU/BK

--

RT MID SISM Signal

Inflatable Restraint Steering Wheel Module Coil X1


Object Number: 1593397  Size: CH

Connector Part Information

  • OEM: 15393433
  • Service: 22710638
  • Description: 10-Way F Micro-Pack 64 Series (BK)

Terminal Part Information

  • Terminal/Tray: Service with Terminated Lead
  • Core/Insulation Crimp: N/A
  • Release Tool/Test Probe: 12180559-1/J-35616-64B (L-BU)

Inflatable Restraint Steering Wheel Module Coil X1

Pin

Wire

Circuit

Function

A

--

--

Not Used

B

0.35 BN

180

Remote CD/Cassette Player Supply Voltage (C100)

B

0.35 L-GN

1011

Remote Radio Control Signal (C105)

C

0.35 GY

1884

Cruise Controls Switch Signal (C100)

C

0.35 BK

351

Ground (C105)

D

0.35 L-GY

902

Handset Volume Control Ground (C100/LHD)

E

0.35 L-GN

1011

Remote Radio Control Signal (C100)

E

0.35 PK

1444

12-Volt Reference (C105)

F

0.35 PK

1444

12-Volt Reference (C100)

F

0.35 YE/BK

9088

I/P Lamp Supply Voltage (C105)

G

0.35 BU/WH

901

Handset Volume Control Supply (C100/LHD)

H

--

--

Not Used

J

0.35 BK

350

Ground

K

0.35 TN

28

Horn Relay Control

Inflatable Restraint Steering Wheel Module Coil X2


Object Number: 1593397  Size: CH

Connector Part Information

  • OEM: 15393433
  • Service: 22710638
  • Description: 10-Way F Micro-Pack 64 Series (BK)

Terminal Part Information

  • Terminal/Tray: Service with Terminated Lead
  • Core/Insulation Crimp: N/A
  • Release Tool/Test Probe: 12180559-1/J-35616-64B (L-BU)

Inflatable Restraint Steering Wheel Module Coil X2

Pin

Wire

Circuit

Function

A

--

--

Not Used

B

0.35 BN

180

Remote CD/Cassette Player Supply Voltage (C100)

B

0.35 L-GN

1011

Remote Radio Control Signal (C105)

C

0.35 GY

1884

Cruise Controls Switch Signal (C100)

C

0.35 BK

351

Ground (C105)

D

0.35 L-GY

902

Handset Volume Control Ground (C100/LHD)

E

0.35 L-GN

1011

Remote Radio Control Signal (C100)

E

0.35 PK

1444

12-Volt Reference (C105)

F

0.35 PK

1444

12-Volt Reference (C100)

F

0.35 YE/BK

9088

I/P Lamp Supply Voltage (C105)

G

0.35 BU/WH

901

Handset Volume Control Supply (C100/LHD)

H

--

--

Not Used

J

0.35 BK

350

Ground

K

0.35 TN

28

Horn Relay Control

Instrument Cluster


Object Number: 850856  Size: CH

Connector Part Information

  • OEM: PED 15394150
  • Service: N/A
  • Description: 16-Way F Mirco 064 Unsealed

Instrument Cluster

Pin

Wire

Circuit

Function

1

PU

--

Run/Crank Ignition 1 Voltage

2

RD/WH

--

Battery Positive Voltage

3

--

--

Not Used

4

PU

--

Passenger Seat Belt Indicator

5

BN/WH

--

Transfer Case Positive Switch Ch 4 Encoder Signal

6

OG/BK

--

Sensor Low Reference

7

D-GN/WH

--

Outside Ambient Air Temperature Sensor S

8

BN/WH

--

Windshield Washer Fluid Level Sensor Signal

9

YE

--

Backlight Lamp Control

10

BK

--

Ground

11

--

--

Not Used

12

GY

--

Rear Parking Assist Red Indicator Control

13

BK

--

Ground

14

D-GN

--

Low Speed GMLAN Serial Data

15

--

--

Not Used

16

PU

--

Brake Fluid Level Sensor Signal

Intake Air Temperature (IAT) Sensor (2.4L)


Object Number: 1467003  Size: CH

Connector Part Information

  • OEM: TYCO 85202-1
  • Service: N/A
  • Description: 2-Way F Sealed

Intake Air Temperature (IAT) Sensor (2.4L)

Pin

Wire

Circuit

Function

1

OG/BK

--

Intake Air Temperature Sensor Low Reference

2

BN

--

Intake Air Temperature Sensor Signal

Intrusion Sensor


Object Number: 1661120  Size: CH

Connector Part Information

  • OEM: TYCO 368500-1
  • Service: N/A
  • Description: 3-Way F 070 Unsealed

Intrusion Sensor

Pin

Wire

Circuit

Function

1

GN

--

Alarm Armed Signal

2

PU

--

Intrusion Sensor Alarm ON Signal

3

RD/WH

--

Battery Positive Voltage

Knock Sensor (2.4L)


Object Number: 1467004  Size: CH

Connector Part Information

  • OEM: TYCO 368215-1
  • Service: N/A
  • Description: 3-Way F JPT Sealed

Knock Sensor (2.4L)

Pin

Wire

Circuit

Function

1

L-BU

--

Knock Sensor Signal (1)

2

BN

--

Sensor Low Reference

3

BK/WH

--

Signal Ground

License Lamp


Object Number: 1467074  Size: CH

Connector Part Information

  • OEM: MG 630679
  • Service: N/A
  • Description: 2-Way F 090 Unsealed

License Lamp

Pin

Wire

Circuit

Function

1

PK

--

Left Park Lamp Supply Voltage

2

BK

--

Ground

Liftgate Actuator


Object Number: 1830936  Size: CH

Connector Part Information

  • OEM: MG 620490
  • Service: N/A
  • Description: 2-Way M MN-AL Unsealed

Liftgate Actuator

Pin

Wire

Circuit

Function

1

BN

--

Door Lock Actuator Unlock Control

2

GY

--

Door Lock Actuator Lock Control

Liftgate Ajar


Object Number: 1830935  Size: CH

Connector Part Information

  • OEM: MG 651201-4
  • Service: N/A
  • Description: 2-Way F 090III Unsealed (GY)

Liftgate Ajar

Pin

Wire

Circuit

Function

1

PK/BK

--

Liftgate Ajar Switch Signal (1)

2

BK

--

Ground

Liftgate Glass


Object Number: 1661119  Size: CH

Connector Part Information

  • OEM: TYCO 936227-1
  • Service: N/A
  • Description: 4-Way F 090III Unsealed

Liftgate Glass

Pin

Wire

Circuit

Function

1

BN

--

Ground

2

PK/BK

--

Liftgate Ajar SW Signal 1

3

BN

--

Lift Glass/Trunk MTR Release Control

4

BK

--

Ground

Liftgate Key Cylinder


Object Number: 1831329  Size: CH

Connector Part Information

  • OEM: TYCO 368538-1
  • Service: N/A
  • Description: 2-Way F 070 Unsealed

Liftgate Key Cylinder

Pin

Wire

Circuit

Function

1

BN

--

Trunk Key Switch Signal

2

BK

--

Ground

Manifold Absolute Pressure (MAP) Sensor (2.4L)


Object Number: 1830931  Size: CH

Connector Part Information

  • OEM: TYCO 174359-2
  • Service: N/A
  • Description: 3-Way F Mark II Sealed

Manifold Absolute Pressure (MAP) Sensor (2.4L)

Pin

Wire

Circuit

Function

1

GY

--

5-Volt Reference

2

L-GN

--

Signal

3

OG/BK

--

Low Reference

Map Lamp


Object Number: 1835132  Size: CH

Connector Part Information

  • OEM: PED 13513470
  • Service: N/A
  • Description: 8-Way F Unsealed

Map Lamp

Pin

Wire

Circuit

Function

1

--

--

Not Used

2

PU

--

Dome Lamp Defeat

3

--

--

Not Used

4

BK

--

Ground

5

PU

--

Intrusion Disable Signal

6

OG

--

BCM 12-Volt Supply

7

BK

--

Ground

8

--

--

Not Used

Mass Air Flow (MAF) Sensor (2.0L Diesel)


Object Number: 1381341  Size: CH

Connector Part Information

  • OEM: BOSCH 1928403736
  • Service: N/A
  • Description: 4-Way F Sealed

Mass Air Flow (MAF) Sensor (2.0L Diesel)

Pin

Wire

Circuit

Function

1

PK

--

Run/Crank Ignition 1 Voltage

2

D-GN

--

Ground

3

D-GN

--

Signal

4

YE

--

STC

Mass Air Flow (MAF) Sensor (3.2L)


Object Number: 684983  Size: CH

Connector Part Information

  • OEM: PED 15355207
  • Service: N/A
  • Description: 5-Way F GT 150 Sealed

Mass Air Flow (MAF) Sensor (3.2L)

Pin

Wire

Circuit

Function

A

0.35 YE

492

MAF Sensor Signal

B

0.35 PK

539

Ignition 1 Voltage

C

0.35 BK/WH

251

Ground

D

0.35 BN

2760

IAT Sensor Low Reference

E

0.35 L-BU

492

IAT Sensor Signal

Navigation Unit


Object Number: 1835996  Size: CH

Connector Part Information

  • OEM: TYCO 368542-1
  • Service: N/A
  • Description: 12-Way F 064 Unsealed

Navigation Unit

Pin

Wire

Circuit

Function

1

RD/WH

--

Battery Positive Voltage

2

BK

--

Ground

3

YE

--

Ignition Voltage

4

D-GN/WH

--

VSS Signal

5-8

--

--

Not Used

9

GY/BK

--

Mic (+)

10

GY/BK

--

Mic Signal

11

BN/WH

--

Serial Data (High)

12

GY/WH

--

Serial Data (High)

Object Detection Module


Object Number: 850856  Size: CH

Connector Part Information

  • OEM: PED 15394150
  • Service: N/A
  • Description: 16-Way F 064 Unsealed

Object Detection Module

Pin

Wire

Circuit

Function

1

BN

--

Run Ignition 3 Voltage

2

GY

--

Park Assist Alarm Low Reference

3

D-BU

--

Park Assist Alarm Volt Reference

4

L-GN

--

Backup Lamp Supply Voltage

5

YE

--

Left Rear Corner Object Sensor Signal

6

OG

--

Left Rear Middle Object Sensor Signal

7

D-GN

--

Right Rear Middle Object Sensor Signal

8

PU

--

Right Rear Corner Object Sensor Signal

9

BK

--

Ground

10

--

--

Not Used

11

YE

--

Park Assist Alarm Signal

12

L-BU

--

Park Brake Switch Signal

13

GY

--

Object Sensor Low Reference

14

--

--

Not Used

15

GY

--

RR Parking Assist RED Indicator Control

16

GY/BK

--

Object Sensor Low Reference

Object Sensor - Left Rear Corner


Object Number: 1527729  Size: CH

Connector Part Information

  • OEM: PED 15419715
  • Service: N/A
  • Description: 2-Way F GT 150 Sealed

Object Sensor - Left Rear Corner

Pin

Wire

Circuit

Function

1

GY

--

Object Sensor Low Reference

2

YE

--

Left Rear Corner Object Sensor Signal

Object Sensor - Left Rear Middle


Object Number: 1527729  Size: CH

Connector Part Information

  • OEM: PED 15419715
  • Service: N/A
  • Description: 2-Way F GT 150 Sealed

Object Sensor - Left Rear Middle

Pin

Wire

Circuit

Function

1

GY

--

Object Sensor Low Reference

2

OG

--

Left Rear Middle Object Sensor Signal

Object Sensor - Right Rear Corner


Object Number: 1527729  Size: CH

Connector Part Information

  • OEM: PED 15419715
  • Service: N/A
  • Description: 2-Way F GT 150 Sealed

Object Sensor - Right Rear Corner

Pin

Wire

Circuit

Function

1

GY/BK

--

Object Sensor Low Reference

2

PU

--

Right Rear Corner Object Sensor Signal

Object Sensor - Right Rear Middle


Object Number: 1527729  Size: CH

Connector Part Information

  • OEM: PED 15419715
  • Service: N/A
  • Description: 2-Way F GT 150 Sealed

Object Sensor - Right Rear Middle

Pin

Wire

Circuit

Function

1

GY/BK

--

Object Sensor Low Reference

2

D-GN

--

Right Rear Middle Object Sensor Signal

Oil Level Sensor (2.4L)


Object Number: 646415  Size: CH

Connector Part Information

  • OEM: PED 15326808
  • Service: N/A
  • Description: 3-Way F GT 150 Sealed

Oil Level Sensor (2.4L)

Pin

Wire

Circuit

Function

1

BN

--

Sensor Low Reference

2

D-GN/WH

--

Oil Temperature Sensor Signal

3

BN

--

Oil Level Switch Signal

Oil Level Switch (2.0L Diesel)


Object Number: 635009  Size: CH

Connector Part Information

  • OEM: PED 12052641
  • Service: N/A
  • Description: 2-Way F Metri-Pack 150 Series Sealed

Oil Level Switch (2.0L Diesel)

Pin

Wire

Circuit

Function

1

L-GN

--

Oil Level SW Signal

2

BN

--

Ground

Oil Pressure Switch (2.0L Diesel)


Object Number: 95764  Size: CH

Connector Part Information

  • OEM: PKI 832104
  • Service: N/A
  • Description: 1-Way F 150 Series Sealed

Oil Pressure Switch (2.0L Diesel)

Pin

Wire

Circuit

Function

1

BN

--

Oil Pressure Gage Signal

Oil Pressure Switch (2.4L)


Object Number: 95764  Size: CH

Connector Part Information

  • OEM: PKI 832104
  • Service: N/A
  • Description: 1-Way F 150 Sealed

Oil Pressure Switch (2.4L)

Pin

Wire

Circuit

Function

1

BN

--

Oil Pressure Gage Signal

Outside Air Temperature/Air Quality Sensor


Object Number: 1835105  Size: CH

Connector Part Information

  • OEM: KET MG 610331
  • Service: N/A
  • Description: 4-Way F SWP Sealed

Outside Air Temperature/Air Quality Sensor

Pin

Wire

Circuit

Function

1

OG/BK

--

Low Reference

2

BN

--

Ignition 3 Voltage

3

GN/WH

--

Outside Air Temperature Signal

4

PU/WH

--

Air Quality Sensor Signal

Outside Air Temperature/Air Quality Sensor (C68)


Object Number: 1835105  Size: CH

Connector Part Information

  • OEM: KET MG 610331
  • Service: N/A
  • Description: 4-Way F SWP Sealed

Outside Air Temperature/Air Quality Sensor (C68)

Pin

Wire

Circuit

Function

1

OG/BK

--

Low Reference

2

BN

--

12-Volt Reference

3

D-GN/WH

--

Outside Air Temperature Sensor Signal

4

PU/WH

--

Air Quality Sensor Signal

Outside Rearview Mirror (OSRVM) - Left (LHD)


Object Number: 1420731  Size: CH

Connector Part Information

  • OEM: TYCO 174045-2
  • Service: N/A
  • Description: 12-Way F 040 Unsealed

Outside Rearview Mirror (OSRVM) - Left (LHD)

Pin

Wire

Circuit

Function

1-2

--

--

Not Used

3

L-BU/WH

--

Left Front T/Signal Lamp Supply Voltage

4

WH

--

Left Mirror Right Control

5

YE

--

Mirror Motor Right/Up Control

6

L-GN

--

Left Mirror Motor Down Control

7

--

--

Not Used

8

YE

--

Left Folding Mirror Motor Extend Control

9

L-BU

--

Left Folding Mirror Motor Retract Control

10

OG

--

Mirror Heater Element Voltage

11

BK

--

Ground

12

--

--

Not Used

Outside Rearview Mirror (OSRVM) - Left (RHD)


Object Number: 1420731  Size: CH

Connector Part Information

  • OEM: TYCO 174045-2
  • Service: N/A
  • Description: 12-Way F 040 Unsealed

Outside Rearview Mirror (OSRVM) - Left (RHD)

Pin

Wire

Circuit

Function

1-2

--

--

Not Used

3

D-BU/WH

--

Right Front T/Signal Lamp Supply Voltage

4

OG/WH

--

Right Mirror Motor Right Control

5

YE

--

Mirror Motor Right Up Control

6

PU/WH

--

Right Mirror Motor Down Control

7

--

--

Not Used

8

YE

--

Left Folding Mirror Motor Extend Control

9

L-BU

--

Left Folding Mirror Motor Retract Control

10

OG

--

Mirror Heater Element Volume

11

BK

--

Ground

12

--

--

Not Used

Outside Rearview Mirror (OSRVM) - Right (LHD)


Object Number: 1420731  Size: CH

Connector Part Information

  • OEM: TYCO 174045-2
  • Service: N/A
  • Description: 12-Way F 040 Unsealed

Outside Rearview Mirror (OSRVM) - Right (LHD)

Pin

Wire

Circuit

Function

1

PU/WH

--

Right Mirror Motor Down Control

2

YE

--

Mirror Motor Right/Up Control

3

OG/WH

--

Right Mirror Motor Right Control

4

D-BU

--

Right GRT T/Signal Lamp Supply Voltage

5-7

--

--

Not Used

8

BK

--

Ground

9

OG

--

Mirror Heater Element Voltage

10

L-BU

--

Left Folding Mirror Motor Retract Control

11

YE

--

Left Folding Mirror Motor Extend Control

12

--

--

Not Used

Outside Rearview Mirror (OSRVM) - Right (RHD)


Object Number: 1420731  Size: CH

Connector Part Information

  • OEM: TYCO 174045-2
  • Service: N/A
  • Description: 12-Way F 040 Unsealed

Outside Rearview Mirror (OSRVM) - Right (RHD)

Pin

Wire

Circuit

Function

1

L-GN

--

Left Mirror Motor Down Control

2

YE

--

Mirror Motor Right/Up Control

3

WH

--

Left Mirror Motor Right Control

4

L-BU/WH

--

Left Front T/Signal Lamp Supply Voltage

5-7

--

--

Not Used

8

BK

--

Ground

9

OG

--

Mirror Heater Element Voltage

10

L-BU

--

Left Folding Mirror Motor Retract Control

11

YE

--

Left Folding Mirror Motor Extend Control

12

--

--

Not Used

Outside Rearview Mirror (OSRVM) Switch


Object Number: 850856  Size: CH

Connector Part Information

  • OEM: PED 15394150
  • Service: N/A
  • Description: 16-Way F 064 Unsealed

Outside Rearview Mirror (OSRVM) Switch

Pin

Wire

Circuit

Function

1-2

--

--

Not Used

3

BK

--

Ground

4

WH

--

Left Mirror Motor Right Control

5

YE

--

Mirror Motor Right/Up Control

6

PU/WH

--

Right Mirror Motor Down Control

7

PK

--

Folding Mirror Extend Motor Relay Control

8

L-GN

--

Left Mirror Motor Down Control

9

BN/WH

--

Headlamp Washer Pump Switch Signal

10

BN/WH

--

Right Headlamp Low Beam Supply Voltage

11

D-GN

--

Headlamp Leveling Motor Supply Voltage

12

OG/WH

--

12-Volt Reference

13

D-GN

--

Instrument Panel Lamp dimmer Switch Signal

14

YE

--

Backlight Lamp Control

15

YE

--

Accessory Voltage

16

OG/WH

--

Right Mirror Motor Right Control

Park Brake Switch


Object Number: 1830958  Size: CH

Connector Part Information

  • OEM: PED 15326871
  • Service: N/A
  • Description: 2-Way F GT280 Sealed

Park Brake Switch

Pin

Wire

Circuit

Function

A

L-BU

--

Park Brake Switch Signal

B

BK

--

Ground

Park/Turn Signal Lamp - Left


Object Number: 1830929  Size: CH

Connector Part Information

  • OEM: TYCO 936187-1
  • Service: N/A
  • Description: 3-Way F 090 Sealed

Park/Turn Signal Lamp - Left

Pin

Wire

Circuit

Function

1

BK

--

Ground

2

PU

--

Left Park Lamp Supply Voltage

3

L-BU/WH

--

Left Front Turn Signal Lamp Supply Voltage

Park/Turn Signal Lamp - Left (TR6)


Object Number: 1830934  Size: CH

Connector Part Information

  • OEM: TYCO 936184-1
  • Service: N/A
  • Description: 2-Way F 090 Sealed

Park/Turn Signal Lamp - Left (TR6)

Pin

Wire

Circuit

Function

1

BK

--

Ground

2

L-BU/WH

--

Left Front Turn Signal Lamp Supply Voltage

Park/Turn Signal Lamp - Right


Object Number: 1830929  Size: CH

Connector Part Information

  • OEM: TYCO 936187-1
  • Service: N/A
  • Description: 3-Way F 090 Sealed

Park/Turn Signal Lamp - Right

Pin

Wire

Circuit

Function

1

BK

--

Ground

2

BN/WH

--

Right Park Lamp Supply Voltage

3

D-BU/WH

--

Right Front Turn Signal Lamp Supply Voltage

Park/Turn Signal Lamp - Right (TR6)


Object Number: 1830934  Size: CH

Connector Part Information

  • OEM: TYCO 936184-1
  • Service: N/A
  • Description: 2-Way F 090 Sealed

Park/Turn Signal Lamp - Right (TR6)

Pin

Wire

Circuit

Function

1

BK

--

Ground

2

L-BU/WH

--

Right Front Turn Signal Lamp Supply Voltage

Passenger Seatbelt Indicator


Object Number: 1835126  Size: CH

Connector Part Information

  • OEM: PED 15499929
  • Service: N/A
  • Description: 6-Way F Micro 064 HVT Unsealed

Passenger Seatbelt Indicator

Pin

Wire

Circuit

Function

1

PK

--

Ignition 1 Voltage

2-4

PK

--

Not Used

5

PU

--

Passenger Seatbelt Indicator

6

--

--

Not Used

Power Outlet - Cargo


Object Number: 1467075  Size: CH

Connector Part Information

  • OEM: MG 630685-5
  • Service: N/A
  • Description: 2-Way F 205+250 Type Unsealed

Power Outlet - Cargo

Pin

Wire

Circuit

Function

1

RD/WH

--

Battery Positive Voltage

2

BK

--

Ground

Power Outlet - Rear


Object Number: 1467075  Size: CH

Connector Part Information

  • OEM: MG 630685-3
  • Service: N/A
  • Description: 2-Way F 205+250 Type Unsealed

Power Outlet - Rear

Pin

Wire

Circuit

Function

1

RD/WH

--

Battery Positive Voltage

2

BK

--

Ground

Power Seat Switch


Object Number: 1835057  Size: CH

Connector Part Information

  • OEM: MG 610267
  • Service: N/A
  • Description: 4-Way F 250 Unsealed

Power Seat Switch

Pin

Wire

Circuit

Function

1

L-BU

--

Heated Seat Switch Signal

2

RD/WH

--

Battery Positive Voltage

3

BK

--

Ground

4

BK

--

Ground

Power Seat Test Connector


Object Number: 1467007  Size: CH

Connector Part Information

  • OEM: MG 610043
  • Service: N/A
  • Description: 2-Way F 250 Unsealed

Power Seat Test Connector

Pin

Wire

Circuit

Function

1

RD/WH

--

Battery Positive Voltage

2

BK

--

Ground

Power Sounder


Object Number: 810084  Size: CH

Connector Part Information

  • OEM: TYCO 1-967640-1
  • Service: N/A
  • Description: 4-Way F MQs Sealed

Power Sounder

Pin

Wire

Circuit

Function

1

PK

--

Run/Crank Ignition 1 Voltage

2

RD/WH

--

Battery Positive Voltage

3

PK

--

Power Sounder Enable Signal

4

BK

--

Ground

Power Steering Control Module


Object Number: 1836003  Size: CH

Connector Part Information

  • OEM: TYCO 368543-1
  • Service: N/A
  • Description: 14-Way F 070-Sealed

Power Steering Control Module

Pin

Wire

Circuit

Function

1

PU

--

Variable Effort Steering Solenoid Control

2

L-BU

--

Variable Effort Steering Solenoid Supply Voltage

3-5

--

--

Not Used

6

D-GN/WH

--

Vehicle Speed Signal (VSS)

7

--

--

Not Used

8

BN

--

Ignition 3-Voltage

9

BN/WH

--

Indicator Control

10

BN/WH

--

Ground

11-12

--

--

Not Used

13

D-BU/WH

--

Serial Data

14

--

--

Not Used

Power Steering Magnetic Coil


Object Number: 302000  Size: CF

Connector Part Information

  • OEM: PED 12162000
  • Service: N/A
  • Description: 2-Way M Metri-Pack Sealed

Power Steering Magnetic Coil

Pin

Wire

Circuit

Function

1

L-BU

--

Variable Effort Steering Solenoid Supply Voltage

2

PU

--

Variable Effort Steering Solenoid Control

PRND Lamp


Object Number: 1830942  Size: CH

Connector Part Information

  • OEM: MG611857
  • Service: N/A
  • Description: 2-Way F 090 Unsealed

PRND Lamp

Pin

Wire

Circuit

Function

1

BK/WH

--

Ground

2

BN/WH

--

I/P Lamp Dimming Control

PTC Heater (2.0L Diesel)


Object Number: 1830932  Size: CH

Connector Part Information

  • OEM: PED15326878
  • Service: N/A
  • Description: 3-Way F GT 280 Series Unsealed

PTC Heater (2.0L Diesel)

Pin

Wire

Circuit

Function

1

BU/WH

--

PTC Heater Supply Voltage

GY

--

Fuel Tank Pressure Sensor 5-Volt Reference

2

YE/BK

--

PTC Heater Supply Voltage

GY

--

Fuel Tank Pressure Sensor Signal

3

BN

--

PTC Heater Supply Voltage

Radio X1 (C100/Long Body)


Object Number: 1590072  Size: CH

Connector Part Information

  • OEM: PED 1590072
  • Service: N/A
  • Description: 14-Way F 064+150 Unsealed

Radio X1 (C100/Long Body)

Pin

Wire

Circuit

Function

1

RD/WH

--

Battery Positive Voltage

2

BN

--

Left Front Speaker (+) 1

3

L-GN

--

Right Front Speaker (+) 1

4

PK

--

External Speaker Signal (+)

5

GY

--

External Speaker Signal

6

GY

--

Antenna Motor Up Control

7

YE

--

Backlight Lamp Control

8

BK/WH

--

Signal Ground

9

GY

--

Right Front Speaker Signal (-) 1

10

D-GN

--

Right Front Speaker Signal (-) 1

11

--

--

Not Used

12

BN

--

Remote CD/Cassette Player Supply Voltage

13-14

--

--

Not Used

Radio X2 (C100/Long Body)


Object Number: 850856  Size: CH

Connector Part Information

  • OEM: PED 15394150
  • Service: N/A
  • Description: 16-Way F 064 Unsealed

Radio X2 (C100 Long Body)

Pin

Wire

Circuit

Function

1

GY

--

Cellular Telephone RF Boost Control Signal

2

PK/BK

--

Amplifier powered Woofer Control (2)

3

D-GN

--

Right Subwoofer Speaker (+)

4

YE/BK

--

Cellular Telephone Mute Signal

5

BN

--

Left Rear Speaker (+)

6

D-BU

--

Right Rear Speaker (+)

7-8

--

--

Not Used

9

PU/WH

--

Amplifier Powered Woofer Control (1)

10

--

--

Not Used

11

L-BU/BK

--

Right Subwoofer Speaker (-)

12

L-GN

--

Remote Radio Control Signal

13

YE

--

Left Rear Speaker Signal (-)

14

L-BU

--

Right Rear Speaker Signal (-)

15

--

--

Not Used

16

YE

--

Accessory Voltage

Radio (C105/Short Body)


Object Number: 1996329  Size: CH

Connector Part Information

  • OEM: FCI 30235101
  • Service: N/A
  • Description: 40-Way F Unsealed

Radio (C105/Short Body)

Pin

Wire

Circuit

Function

1

BU

--

Right Rear Speaker (+)

2

L-GN

--

Right Front Speaker (+)

3

BN

--

Left Front Speaker (+)

4

BN

--

Left Rear Speaker (+)

5

L-BU

--

Right Rear Speaker Signal (-)

6

GN

--

Right Front Speaker Signal (-)

7

GY

--

Left Front Speaker Signal (-)

8

YE

--

Left Rear Speaker Signal

9

BN/WH

--

MID Speed CAN High

10

BN

--

MID Speed CAN Low

11

YE/BK

--

Cell Phone Mute Signal

12

BK

--

Ground

13

--

--

Not Used

14

L-BU

--

Center Speaker

15

RD/WH

--

Battery Positive Voltage

16

YE

--

Center Speaker

17-33

--

--

Not Used

34

BU

--

Cell Phone Voice Signal

35-36

--

--

Not Used

37

GN/WH

--

EHU

38-39

--

--

Not Used

40

L-BU/BK

--

Cell Phone Voice Signal

Rain Sensor


Object Number: 722341  Size: CH

Connector Part Information

  • OEM: MOLEX 43645-0400
  • Service: N/A
  • Description: 4-Way F Micro Fit Unsealed

Rain Sensor

Pin

Wire

Circuit

Function

1

L-GN

--

Rain Sense Signal 2

2

BN

--

Rain Sense Signal 1

3

BK

--

Ground

4

BN

--

Accessory Voltage

Rear Compartment Courtesy Lamp


Object Number: 1661131  Size: CH

Connector Part Information

  • OEM: TYCO 936227-1
  • Service: N/A
  • Description: 4-Way F Unsealed

Rear Compartment Courtesy Lamp

Pin

Wire

Circuit

Function

1

GY/BK

--

Courtesy Lamp Relay Control

2

OG

--

BCM 12-Volt Reference

3

BK

--

Ground

4

--

--

Not Used

Rear Differential Clutch Control Module


Object Number: 1835992  Size: CH

Connector Part Information

  • OEM: PED PE134674
  • Service: N/A
  • Description: 10-Way F 0.64 Sealed

Rear Differential Clutch Control Module

Pin

Wire Color

Circuit No.

Function

1

L-BU

--

Serial Data Communication Enable

2

--

--

Not Used

3

BK

--

Ground

4-6

--

--

Not Used

7

BN/BK

--

High Speed GMLAN Serial Data (+) 1

8

BN

--

High Speed GMLAN Serial Data (-) 1

9

--

--

Not Used

10

RD/WH

--

Battery Positive Voltage

Rear Monitor


Object Number: 1835996  Size: CH

Connector Part Information

  • OEM: TYCO 368542-1
  • Service: N/A
  • Description: 12-Way F 064 Unsealed

Rear Monitor

Pin

Wire

Circuit

Function

1

OG

--

12V Reference

2

GY/BK

--

Courtesy Lamp Relay Control

3

--

--

Not Used

4

--

--

Not Used

5

YE

--

Ignition Voltage

6

BK

--

Ground

7-10

--

--

Not Used

11

BK

--

Ground

12

RD/WH

--

Battery Positive Voltage

Rear Window Wiper Module


Object Number: 1661149  Size: CH

Connector Part Information

  • OEM: TYCO 936230-1
  • Service: N/A
  • Description: 6-Way F 090III Unsealed

Rear Window Wiper Module

Pin

Wire

Circuit

Function

1

GY

--

Rear Window Wiper Switch Signal

2

OG

--

Rear Wiper Auto On Signal

3

PK/BK

--

Lift Gate Ajar Switch Signal

4

BK

--

Ground

5

RD/WH

--

Battery Positive Voltage

6

D-GN

--

Rear Window Washer Pump Control

Rear Window Washer Fluid Pump


Object Number: 1467079  Size: CH

Connector Part Information

  • OEM: KET MG 640605-5
  • Service: N/A
  • Description: 2-Way F 090 Sealed

Rear Window Washer Fluid Pump

Pin

Wire

Circuit

Function

1

BK

--

Ground

2

D-GN

--

Rear Window Washer Pump

Remote Control Door Lock Receiver


Object Number: 1664604  Size: CH

Connector Part Information

  • OEM: JAEIL AG5-4S-S3C1
  • Service: N/A
  • Description: 4-Way F AG5 Unsealed

Remote Control Door Lock Receiver

Pin

Wire

Circuit

Function

1

RD/WH

--

Battery Positive Voltage

2

GN

--

Low Speed GMLAN Serial Data

3

--

--

Not Used

4

BK

--

Ground

Resistor


Object Number: 523630  Size: CH

Connector Part Information

  • OEM: PED 15326801
  • Service: N/A
  • Description: 2-Way F GT 150 Sealed

Resistor

Pin

Wire

Circuit

Function

1

BN/BK

--

High Speed GMLAN Serial Data (+) 1

2

BN

--

High Speed GMLAN Serial Data (-) 1

Seatbelt Reminder Sensor


Object Number: 1831329  Size: CH

Connector Part Information

  • OEM: TYCO 368538-1
  • Service: N/A
  • Description: 2-Way F 070 Unsealed

Seatbelt Reminder Sensor

Pin

Wire

Circuit

Function

1

YE

--

Seatbelt Indicator Control

2

PK

--

Seat Position Switch Low Reference

Seatbelt Switch - Left


Object Number: 258658  Size: CH

Connector Part Information

  • OEM: PED 15304649
  • Service: N/A
  • Description: 6-Way Unsealed

Seatbelt Switch - Left

Pin

Wire

Circuit

Function

1

BN/WH

--

Driver Seat Belt Pretensioner High

2

PK

--

Seat Position Switch Low Reference

3

YE/BK

--

LFR SIS Module Low Control

4

OG/BK

--

Driver Seat Belt Pretensioner Low

5

BN/WH

--

Driver Seat Belt Switch Signal

6

BN

--

LFR SIS Module High Control

Seatbelt Switch - Right


Object Number: 258658  Size: CH

Connector Part Information

  • OEM: PED 15304649
  • Service: N/A
  • Description: 6-Way Unsealed

Seatbelt Switch - Right

Pin

Wire

Circuit

Function

1

L-GN

--

Passenger Seat Belt Pretensioner High

2

PK

--

Seat Position Switch Low Reference

3

L-GN

--

RFR SIS Module Low Control

4

OG

--

Passenger Seat Belt Pretensioner Low

5

OG

--

Passenger Seat Belt Switch Signal

6

BN/WH

--

RFR SIS Module High Control

Sensing and Diagnostic Module (SDM)


Object Number: 1664611  Size: CH

Connector Part Information

  • OEM: TYCO 5-638595-7
  • Service: N/A
  • Description: 60-Way F GET Unsealed

Sensing and Diagnostic Module (SDM)

Pin

Wire

Circuit

Function

1

BK/WH

--

Ground

2

D-GN

--

Serial Data

3

--

--

Not Used

4

OG/BK

--

Driver Seat Belt Pretensioner Low Control

5

BN/WH

--

Driver Seat Belt Pretensioner High Control

6

L-GN

--

Passenger Seat Belt Pretensioner High Control

7

OG

--

Passenger Seat Belt Pretensioner Low Control

8

D-GN

--

Steering Wheel Module Low Control

9

WH

--

Steering Wheel Module High Control

10

WH/BK

--

Passenger I/P Module High Control

11

D-GN/WH

--

Passenger I/P Module Low Control

12

YE/BK

--

LFR SIS Module Low Control

13

BN

--

LFT SIS Module High Control

14

BN/WH

--

RFR SIS Module High Control

15

L-GN

--

RFR SIS Module Low Control

16

PK

--

LF Roof Rail Module Low

17

PU/WH

--

LF Roof Rail Module High

18

YE/BK

--

RF Roof Rail Module High

19

WH/BK

--

RF Roof Rail Module Low

20-23

--

--

Not Used

24

--

--

Not Used (Long Body)

PU

--

LF Retractor pretensioner Low Control (Short Body)

25

--

--

Not Used (Long Body)

OG

--

LF Retractor Pretensioner High Control (Short Body)

26

--

--

Not Used (Long Body)

GY

--

RF Retractor Pretensioner High Control (Short Body)

27

--

--

Not Used (Long Body)

GN

--

RF Retractor Pretensioner Low Control (Short Body)

28

PK

--

Seat Position SW Low Reference

29

YE

--

Seat Belt Reminder Signal

30

--

--

Not Used

31

RD/WH

--

Battery Positive Voltage

32

PK

--

Ignition Voltage

33-35

--

--

Not Used

36

--

--

Not Used (Long Body)

L-BU/BK

--

RT MID SISM Signal (Short Body)

37

--

--

Not Used

38

--

--

Not Used (Long Body)

L-GN/WH

--

RT MID SISM Low Reference (Short Body)

39

--

--

Not Used

40

GY/BK

--

LT MID SISM Low Reference

41

--

--

Not Used (Short Body)

L-GN/WH

--

RT MID SISM Low Reference (Long Body)

42

D-GN/WH

--

LT MID SISM Signal

43

--

--

Not Used (Short Body)

L-BU

--

RT MID SISM Signal (Long Body)

44-58

--

--

Not Used

59

BN/BK

--

Driver Seat Belt SW Signal

60

OG

--

Passenger Seat Belt SW Signal

Speaker - Left Front


Object Number: 1830943  Size: CH

Connector Part Information

  • OEM: KET MG651026
  • Service: N/A
  • Description: 2-Way F 090II Unsealed

Speaker - Left Front

Pin

Wire

Circuit

Function

1

BN

--

Left Front Speaker (+)

2

GY

--

Left Front Speaker Signal (-) (1)

Speaker - Left Rear


Object Number: 1830943  Size: CH

Connector Part Information

  • OEM: KET MG651026
  • Service: N/A
  • Description: 2-Way F 090II Unsealed

Speaker - Left Rear

Pin

Wire

Circuit

Function

1

BN

--

Left Rear Speaker (+)

2

YE

--

Left Rear Speaker Signal (-)

Speaker - Right Front


Object Number: 1830943  Size: CH

Connector Part Information

  • OEM: KET MG651026
  • Service: N/A
  • Description: 2-Way F 090II Unsealed

Speaker - Right Front

Pin

Wire

Circuit

Function

1

L-GN

--

Speaker Feed - Right Front

2

D-GN

--

Speaker Return - Right Front Signal

Speaker - Right Front


Object Number: 1830943  Size: CH

Connector Part Information

  • OEM: KET MG651026
  • Service: N/A
  • Description: 2-Way F 090II Unsealed

Speaker - Right Front

Pin

Wire

Circuit

Function

1

L-GN

--

Speaker Feed - Right Front

2

D-GN

--

Speaker Return - Right Front Signal

Speaker - Right Rear


Object Number: 1830943  Size: CH

Connector Part Information

  • OEM: KET MG651026
  • Service: N/A
  • Description: 2-Way F 090II Unsealed

Speaker - Right Rear

Pin

Wire

Circuit

Function

1

D-BU

--

Right Rear Speaker (+)

2

L-BU

--

Right Rear Speaker Signal (-)

Steering Angle Sensor


Object Number: 1835137  Size: CH

Connector Part Information

  • OEM: TYCO 1488752-1
  • Service: N/A
  • Description: 6-Way F Micro 064 Unsealed

Steering Angle Sensor

Pin

Wire

Circuit

Function

1

D-GN

--

12-Volt Reference

2

WH

--

CAN (-)

3

BN/WH

--

CAN (+)

4

OG/BK

--

CAN (-)

5

PK

--

CAN (+)

6

L-GN

--

Low Reference

Stepwell Lamp - Left


Object Number: 1413001  Size: CH

Connector Part Information

  • OEM: MOLEX 49228-0210
  • Service: N/A
  • Description: 2-Way F Unsealed

Stepwell Lamp - Left

Pin

Wire

Circuit

Function

1

GY/BK

--

Courtesy Lamp Relay Control

2

BK

--

Ground

Stepwell Lamp - Right


Object Number: 1413001  Size: CH

Connector Part Information

  • OEM: MOLEX 49228-0210
  • Service: N/A
  • Description: 2-Way F Unsealed

Stepwell Lamp - Right

Pin

Wire

Circuit

Function

1

GY/BK

--

Courtesy Lamp Relay Control

2

BK

--

Ground

Stop Lamp Switch


Object Number: 1835104  Size: CH

Connector Part Information

  • OEM: YZK 7123-6043-30
  • Service: N/A
  • Description: 4-Way F M Type Unsealed

Stop Lamp Switch

Pin

Wire

Circuit

Function

1

OG/WH

--

12-Volt Reference

2

PU

--

Brake Pedal Switch Closed Signal

3

RD/WH

--

Battery Positive Voltage

4

L-BU

--

Stop Lamp Supply Voltage

Subwoofer


Object Number: 1835142  Size: CH

Connector Part Information

  • OEM: TYCO 368540-1
  • Service: N/A
  • Description: 8-Way F MS-AL Unsealed

Subwoofer

Pin

Wire

Circuit

Function

1

RW

--

Battery Positive Voltage

2

RW

--

Battery Positive Voltage

3

D-GN

--

Right Subwoofer Speaker (+)

4

BK

--

Ground

5

BK

--

Ground

6

PK/BK

--

Amplifier Powered Woofer Control (2)

7

PU/WH

--

Amplifier Powered Woofer Control (1)

8

L-BU/BK

--

Right Subwoofer Speaker (-)

Sunroof Module


Object Number: 62439  Size: CH

Connector Part Information

  • OEM: PED 12047886
  • Service: N/A
  • Description: 8-Way F Metri-Pack 150 Unsealed

Sunroof Module

Pin

Wire

Circuit

Function

A

BN

--

Sunroof Switch Open Signal

B

D-GN

--

Sunroof Switch Express Signal

C

OG/BN

--

Sunroof Switch Open Vent Signal

D

D-BU

--

Sunroof Switch Low Reference

E

YE

--

Accessory Voltage

F

BK

--

Ground

G

RD/WH

--

Battery Positive Voltage

H

--

--

Not Used

Sunroof Switch


Object Number: 1835107  Size: CH

Connector Part Information

  • OEM: PED 13513469
  • Service: N/A
  • Description: 4-Way F 064 Unsealed

Sunroof Switch

Pin

Wire

Circuit

Function

1

BN

--

Sunroof Switch Open Signal

2

OG/BK

--

Sunroof Switch Open Vent Signal

3

D-BU

--

Sunroof Switch Low Reference

4

D-GN

--

Sunroof Switch Express Signal

Sunvisor Lamp - Left


Object Number: 1413001  Size: CH

Connector Part Information

  • OEM: TYCO 936224-1
  • Service: N/A
  • Description: 2-Way F 090III Unsealed

Sunvisor Lamp - Left

Pin

Wire

Circuit

Function

1

OG

--

BCM 12-Volt Reference

2

BK

--

Ground

Sunvisor Lamp - Right


Object Number: 1413001  Size: CH

Connector Part Information

  • OEM: TYCO 936224-1
  • Service: N/A
  • Description: 2-Way F 090III Unsealed

Sunvisor Lamp - Right

Pin

Wire

Circuit

Function

1

OG

--

BCM 12-Volt Reference

2

BK

--

Ground

Tail Lamp - Right


Object Number: 1835139  Size: CH

Connector Part Information

  • OEM: Ket MG 641053
  • Service: N/A
  • Description: 8-Way F Unsealed

Tail Lamp - Right

Pin

Wire

Circuit

Function

1

BK

--

Ground

2

BK

--

Ground

3

BK

--

Ground

4

BN/WH

--

Park Lamp Supply

5

L-BU

--

Stop Lamp Switch Output

6

L-GN

--

Backup Lamp Switch Output

7

D-GN

--

Right Turn Signal

8

OG

--

Rear Fog Lamp Supply

Theft Deterrent Control Module


Object Number: 1468516  Size: CH

Connector Part Information

  • OEM: TYCO 368502-1
  • Service: N/A
  • Description: 6-Way F 070 Unsealed

Theft Deterrent Control Module

Pin

Wire

Circuit

Function

1

GY/BK

--

Courtesy Lamp Relay Control

2

BK

--

Ground

3

D-GN

--

Low Speed GMLAN Serial Data

4

BK

--

Ground

5

D-BU

--

Accessory Wakeup Serial Data

6

RD/WH

--

Battery Positive Voltage

Throttle Body (LD9)


Object Number: 1835098  Size: CH

Connector Part Information

  • OEM: FEP 42121700
  • Service: N/A
  • Description: 6-Way F Sealed

Throttle Body (LD9)

Pin

Wire

Circuit

Function

1

GY

--

5-Volt Reference

2

GN

--

TPS 1 Signal

3

BK

--

Low Reference

4

BU

--

TPS  2 Signal

5

L-BU

--

Idle Speed Motor Control Extend

6

BU/BK

--

Idle Speed Motor Control Retract

Throttle Body (LLW)


Object Number: 1835110  Size: CH

Connector Part Information

  • OEM: FEP 42121400
  • Service: N/A
  • Description: 4-Way F Sealed

Throttle Body (LLW)

Pin

Wire

Circuit

Function

1

BK/WH

--

Ground

2

PK/BK

--

Ignition Voltage

3

GN

--

Feedback

4

WH

--

Control

Throttle Body (LU1)


Object Number: 1468494  Size: CH

Connector Part Information

  • OEM: FEP 7158-6642-20
  • Service: N/A
  • Description: 6-Way F GT150, Sealed (PU)

Throttle Body (LU1)

Pin

Wire

Circuit

Function

1

0.35 YE

581

TAC Motor Control - 1

2

0.35 BN

582

TAC Motor Control - 2

3

0.35 BN/YE

2752

Low Reference

4

0.35 D-GN

485

TP Sensor 1 Signal

5

0.35 GY

2701

5-Volt Reference

6

0.35 PU

486

TP Sensor 2 Signal

Traction Control Switch


Object Number: 1835126  Size: CH

Connector Part Information

  • OEM: PED 15499931
  • Service: N/A
  • Description: 6-Way F Micro 064 Unsealed

Traction Control Switch

Pin

Wire

Circuit

Function

1

L-BU

--

Traction Control Switch Signal

2

BK

--

Ground

3-5

--

--

Not Used

6

YE

--

Illumination Signal

Trailer Relay Module (V92)


Object Number: 1962091  Size: CH

Connector Part Information

  • OEM: Molex 35284-1610
  • Service: N/A
  • Description: 16-Way F Unsealed

Trailer Relay Module (V92)

Pin

Wire

Circuit

Function

1

L-GN

--

Trailer Backup Lamp Supply Voltage

2

BK

--

Ground

3

RD/WH

--

Battery Positive Voltage

4

L-GN

--

Back Up Lamp Supply Voltage

5

RD/WH

--

Battery Positive Voltage

6

BK

--

Ground

7

PU/WH

--

Trailer Brake Lamp

8

RD/WH

--

Battery Positive Voltage

9

RD/WH

--

Battery Positive Voltage

10

YE

--

Right Trailer Turn Signal Lamp

11

GN

--

Right Rear Stop/Turn Lamp Supply Voltage

12

RD/WH

--

Battery Positive Voltage

13

OG

--

Left Trailer Turn Signal Lamp

14

YE

--

Left Rear Stop/Turn Lamp Supply Voltage

15

RD/WH

--

Battery Positive Voltage

16

RD/WH

--

Battery Positive Voltage

Transmission Control Module (TCM) X1


Object Number: 1420769  Size: CH

Connector Part Information

  • OEM: Molex 1318756-2
  • Service: N/A
  • Description: 24-Way M 90 Series (BK)

Transmission Control Module (TCM) X1

Pin

Wire

Circuit

Function

1

0.35 BK

351

Ground (RHD)

1

0.35 BK

650

Ground (LHD)

2

0.35 WH

5503

Transmission Mainline Pressure Solenoid Low Reference

3

0.35 BUWH

5502

TCC/Clutch Select Solenoid Low Reference

4

0.35 D-BU

1530

Transmission Mainline Pressure Solenoid Control

5

0.35 PK/BK

5501

TCC/Clutch Select Solenoid Control

6

0.35 RD/WH

2440

Battery Positive Voltage

7

0.35 TN

2501

High Speed GMLAN Serial Data (-) (1)

8

0.35 TN

2501

High Speed GMLAN Serial Data (-) (1)

9-10

--

--

Not Used

11

0.35 BN/WH

585

Transmission Oil Temperature Sensor Signal

12

0.35 GN/BK

586

Transmission Oil Temperature Sensor Low Reference

13

0.35 BU

1528

Shift Solenoid Supply Voltage (4)

14

0.35 L-GN

1527

Shift Solenoid Supply Voltage (3)

15

0.35 WH

1526

Shift Solenoid Supply Voltage (2)

16

0.35 OG

1525

Shift Solenoid Supply Voltage (1)

17

0.35 TN/BK

2500

High Speed GMLAN Serial Data (+) (1)

18

0.35 TN/BK

2500

High Speed GMLAN Serial Data (+) (1)

19

0.35 GY

324

Shift Relay Coil Control

20

--

--

Not Used

21

0.35 BN

323

Shift Solenoid Supply Voltage

22

0.35 PU

1529

Shift Solenoid Supply Voltage (5)

23

0.35 BK

351

Ground (RHD)

23

0.35 BK

650

Ground (LHD)

24

0.35 BU

5985

Accessory Wakeup Serial Data

Transmission Control Module (TCM) X2


Object Number: 1420769  Size: CH

Connector Part Information

  • OEM: Molex 1318757-1
  • Service: N/A
  • Description: 26-Way M 025/90 Series (WH)

Transmission Control Module (TCM) X2

Pin

Wire

Circuit

Function

1-4

--

--

Not Used

5

0.35 BN/BK

6357

Output Speed Shielded Signal

6

0.35 BU

6253

Transmission Input Speed Sensor Ground

7

0.35 YE

772

Transmission Position Switch Bit 2 Signal

8

0.35 BN/WH

771

Transmission Position Switch Bit 1 Signal

9-13

--

--

Not Used

14

0.35 PK

6358

Output Speed Signal

15

--

--

Not Used

16

0.35 BN/WH

6254

Transmission Input Speed Sensor Signal

17-18

--

--

Not Used

19

0.35 WH

776

Transmission Position Switch Parity Bit Signal

20

0.35 GY

773

Transmission Position Switch Bit 3 Signal

21

0.35 PK

639

Run/Crank Ignition 1 Voltage

22

0.35 L-BU

20

Stop Lamp Supply Voltage

23-26

--

--

Not Used

Turn Signal/Multifunction Switch


Object Number: 647976  Size: CH

Connector Part Information

  • OEM: PED 15332161
  • Service: N/A
  • Description: 12-Way F GT 150 Unsealed

Turn Signal/Multifunction Switch

Pin

Wire

Circuit

Function

1

WH

--

Headlamp Switch On Signal

2

L-BU

--

Headlamp Switch Park Lamp Signal

3

D-GN

--

Headlamp Switch Headlamps Off Signal Control

4

BK

--

Ground

5

OG

--

Front Fog Lamp Switch Signal

6

L-BU

--

Rear Fog lamp Switch Signal

7

BK

--

Ground

8

PU

--

Headlamp Dimmer Switch High Beam Signal

9

YE

--

Headlamp Switch Flash to Pass Signal

10

L-BU/WH

--

Left Front Turn Signal Switch Signal

11

D-BU/WH

--

Right Front Turn Signal Switch Signal

12

BK

--

Ground

Turn Signal Repeater Lamp - Left


Object Number: 1830937  Size: CH

Connector Part Information

  • OEM: MG 610320
  • Service: N/A
  • Description: 2-Way F SWP Sealed

Turn Signal Repeater Lamp - Left

Pin

Wire

Circuit

Function

1

L-BU/WH

--

Left Front T/Signal Lamp Supply Voltage

2

BK

--

Ground

Turn Signal Repeater Lamp - Right


Object Number: 1830937  Size: CH

Connector Part Information

  • OEM: MG 610320
  • Service: N/A
  • Description: 2-Way F SWP Sealed

Turn Signal Repeater Lamp - Right

Pin

Wire

Circuit

Function

1

D-BU/WH

--

Right Front T/Signal Lamp Supply Voltage

2

BN

--

Ground

Tweeter - Left Front


Object Number: 1413061  Size: CH

Connector Part Information

  • OEM: KET MG610070
  • Service: N/A
  • Description: 2-Way F 090 Unsealed

Tweeter - Left Front

Pin

Wire

Circuit

Function

1

YE

--

Left Front Tweeter Speaker (-)

2

BN

--

Left Front Tweeter Speaker (+)

Tweeter - Left Rear


Object Number: 1413061  Size: CH

Connector Part Information

  • OEM: KET MG610070
  • Service: N/A
  • Description: 2-Way F 090 Unsealed

Tweeter - Left Rear

Pin

Wire

Circuit

Function

1

PU

--

Left Rear Tweeter Speaker (-)

2

OG

--

Left Rear Tweeter Speaker (+)

Tweeter - Right Front


Object Number: 1413061  Size: CH

Connector Part Information

  • OEM: KET MG610070
  • Service: N/A
  • Description: 2-Way F 090 Unsealed

Tweeter - Right Front

Pin

Wire

Circuit

Function

1

PU

--

Right Front Tweeter Speaker (-)

2

L-GN

--

Right Front Tweeter Speaker (+)

Tweeter - Right Rear


Object Number: 1413061  Size: CH

Connector Part Information

  • OEM: KET MG610070
  • Service: N/A
  • Description: 2-Way F 090 Unsealed

Tweeter - Right Rear

Pin

Wire

Circuit

Function

1

YE

--

Right Rear Tweeter Speaker (-)

2

WH

--

Right Rear Tweeter Speaker (+)

Water in Fuel Sensor (2.0L Diesel)


Object Number: 1467004  Size: CH

Connector Part Information

  • OEM: TYCO 85205-1
  • Service: N/A
  • Description: 3-Way F JPT Sealed

Water in Fuel Sensor (2.0L Diesel)

Pin

Wire

Circuit

Function

1

WH

--

WIF Sensor

2

BK

--

Ground

3

PK

--

Run/Crank Ignition 1 Voltage

Wheel Speed Sensor - Left Front


Object Number: 333041  Size: CH

Connector Part Information

  • OEM: PED 12162000
  • Service: N/A
  • Description: 2-Way M Metri-Pack Sealed

Wheel Speed Sensor - Left Front

Pin

Wire

Circuit

Function

1

YE

--

Left Front Wheel Speed Sensor Low Reference

2

L-BU

--

Left Front Wheel Speed Sensor Signal

Wheel Speed Sensor - Left Rear


Object Number: 333041  Size: CH

Connector Part Information

  • OEM: PED 12162000
  • Service: N/A
  • Description: 2-Way M Metri-Pack Sealed

Wheel Speed Sensor - Left Rear

Pin

Wire

Circuit

Function

1

OG

--

Left Rear Wheel Speed Sensor Low Reference

2

BN

--

Left Rear Wheel Speed Sensor Signal

Wheel Speed Sensor - Right Front


Object Number: 333041  Size: CH

Connector Part Information

  • OEM: PED 12162000
  • Service: N/A
  • Description: 2-Way M Metri-Pack Sealed

Wheel Speed Sensor - Right Front

Pin

Wire

Circuit

Function

1

BN

--

Right Front Wheel Speed Sensor Low Reference

2

D-GN

--

Right Front Wheel Speed Sensor Signal

Wheel Speed Sensor - Right Rear


Object Number: 333041  Size: CH

Connector Part Information

  • OEM: PED 12162000
  • Service: N/A
  • Description: 2-Way M Metri-Pack Sealed

Wheel Speed Sensor - Right Rear

Pin

Wire

Circuit

Function

1

WH

--

Right Rear Wheel Speed Sensor Low Reference

2

BN

--

Right Rear Wheel Speed Sensor Signal

Windshield Washer Fluid Level Switch


Object Number: 1466989  Size: CH

Connector Part Information

  • OEM: TYCO 174352-2
  • Service: N/A
  • Description: 2-Way F Mark-II Sealed

Windshield Washer Fluid Level Switch

Pin

Wire

Circuit

Function

1

BK

--

Ground

2

BN/WH

--

Windshield Washer Fluid Level Signal

Windshield Washer Fluid Pump


Object Number: 635009  Size: CH

Connector Part Information

  • OEM: PED 12052641
  • Service: N/A
  • Description: 2-Way F 090 Sealed

Windshield Washer Fluid Pump

Pin

Wire

Circuit

Function

1

BK

--

Ground

2

OG

--

Windshield Washer Pump Control

Windshield Wiper Motor


Object Number: 1835053  Size: CH

Connector Part Information

  • OEM: TYCO 936254-1
  • Service: N/A
  • Description: 4-Way F MCP-E(280) Sealed

Windshield Wiper Motor

Pin

Wire

Circuit

Function

1

YE

--

Park Signal

2

BK

--

Ground

3

PU

--

High Speed Control

4

GN

--

Low Speed Control

Windshield Wiper Switch


Object Number: 646374  Size: CH

Connector Part Information

  • OEM: PED 15332145
  • Service: N/A
  • Description: 8-Way F 150 GT Unsealed

Windshield Wiper Switch

Pin

Wire

Circuit

Function

1

PK

--

Windshield Washer Switch Signal

2

BN/BK

--

Windshield Wiper Switch Low Reference

3

L-GN

--

Windshield Wiper Switch High Signal

4

L-BU

--

Windshield Wiper Switch Low Signal

5

GY

--

Rear Window Wiper Switch Signal

6

BN

--

Accessory Voltage

7-8

--

--

Not Used

XBCM X1


Object Number: 73156  Size: CH

Connector Part Information

  • OEM: PED 12110088
  • Service: N/A
  • Description: 24-Way F Metri-Pack Unsealed

XBCM X1

Pin

Wire

Circuit

Function

A1

--

--

Not Used

A2

RD/WH

--

Battery Positive Voltage

A3

D-GN

--

Low Speed GMLAN Serial Data

A4-A6

--

--

Not Used

A7

BK

--

Ground

A8-A12

--

--

Not Used

B1

--

--

Not Used

B2

PK

--

Run/Crank Ignition Voltage

B3

--

--

Not Used

B4

BN/BK

--

Power Sounder Enable Signal

B5-B6

--

--

Not Used

B7

BK

--

Ground

B8

--

--

Not Used

B9

YE

--

Security Indicator Control

B10

L-BU

--

Inclination Sensor Alarm On Signal

B11

--

--

Not Used

B12

WH

--

Power Sounder Enable Signal

XBCM X2


Object Number: 1552610  Size: CH

Connector Part Information

  • OEM: PED 15357040
  • Service: N/A
  • Description: 8-Way F Metri-Pack 280 Unsealed (GN)

XBCM X2

Pin

Wire

Circuit

Function

A

--

--

Not Used

B

RD/WH

--

Battery Positive Voltage

C

RD/WH

--

Battery Positive Voltage

D

BN

--

Door Double Actuator Lock Control

E

--

--

Not Used

F

BN

--

Ground

G-H

--

--

Not Used

Yaw Sensor


Object Number: 831393  Size: CH

Connector Part Information

  • OEM: TYCO 1-967616-1
  • Service: N/A
  • Description: 6-Way F Unsealed

Yaw Sensor

Pin

Wire

Circuit

Function

1

PK

--

CAN (+)

2

WH

--

CAN (-)

3

GY

--

12-Volt Reference

4

--

--

Not Used

5

L-BU

--

Low Reference

6

--

--

Not Used