GM Service Manual Online
For 1990-2009 cars only
Connector 1: Fuse Block - Auxiliary (HP7) Label
Connector 2: Fuse Block - Auxiliary (HP7) Top View
Connector 3: Fuse Block -- Auxiliary (HP7) Bottom View
Connector 4: Fuse Block - Auxiliary (HP7) Connector
Connector 5: Fuse Block - Underhood Label
Connector 6: Fuse Block - Underhood Top View
Connector 7: Fuse Block - Underhood Bottom View
Connector 8: Fuse Block - Underhood X1
Connector 9: Fuse Block - Underhood X2
Connector 10: Fuse Block - Underhood X3
Connector 11: Fuse Block - Underhood X4 (Battery Positive Cable)
Connector 12: Fuse Block - I/P Label
Connector 13: Fuse Block - I/P Top View
Connector 14: Fuse Block - I/P Bottom View
Connector 15: Fuse Block - I/P X1
Connector 16: Fuse Block - I/P X2
Connector 17: Inline Fuse - Electric Power Steering (EPS) (LAT/LE5)
Connector 18: Junction Block - Battery Positive Cable (HP7

Fuse Block - Auxiliary (HP7) Label


Object Number: 2035272  Size: MF

Fuse Block - Auxiliary (HP7) Label Usage

Device

Rating

Description

AUX TRANSPUMP Fuse

20A

Automatic Transmission Auxiliary Fluid Pump

HILL HOLD VLVS Fuse

10

HILL HOLD VLVS Relay

HYBRID PUMPS Fuse

20A

Coolant Pump - Auxiliary

AUX TRANSPUMP Relay

- -

Starter Generator Control Module (SGCM)

HILL HOLD VLVS Relay

- -

Hill Hold Barke Delay Valves, Starter Generator Control Module (SGCM)

Fuse Block - Auxiliary (HP7) Top View


Object Number: 2045558  Size: MF

Fuse Block -- Auxiliary (HP7) Bottom View


Object Number: 1851857  Size: MF

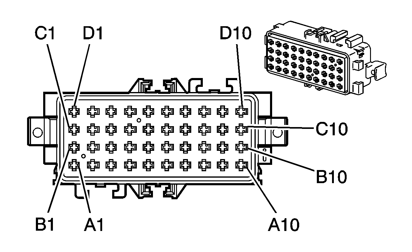
Fuse Block - Auxiliary (HP7) Connector


Object Number: 2002692  Size: CH

Connector Part Information

  • OEM: 13607200
  • Service: See Catalog
  • Description: 40-Way F (BK)

Terminal Part Information

  • Terminal/Tray: See Terminal Repair Kit
  • Core/Insulation Crimp: See Terminal Repair Kit
  • Release Tool/Test Probe: See Terminal Repair Kit

Fuse Block - Auxiliary (HP7) Connector

Pin

Wire

Circuit

Function

A1

--

--

Not Used

A2

1 GY/WH

5259

Battery Positive Voltage

A3

--

--

Not Used

A4

0.8 RD/WH

3140

Battery Positive Voltage

A5

0.5 BN

909

Hill Hold Brake Delay Valves Relay Contact Output Voltage

A6

--

--

Not Used

A7

0.35 PK

639

Ignition 1 Voltage

A8

2 RD/BK

42

Battery Positive Voltage

A9

0.5 RD/WH

2940

Battery Positive Voltage

A10

--

--

Not Used

B1

--

--

Not Used

B2

0.5 PK/WH

5537

Automatic Transmission Auxiliary Fluid Pump Battery Voltage

B3

--

--

Not Used

B4

0.8 RD/WH

3140

Battery Positive Voltage

B5

0.35 GY

990

Hill Hold Brake Delay Valves Relay Control

B6

--

--

Not Used

B7

0.5 RD/WH

3240

Battery Positive Voltage

B8

2 RD/BK

40

Battery Positive Voltage

B9

0.5 RD/WH

3240

Battery Positive Voltage

B10

--

--

Not Used

C1-C7

--

--

Not Used

C8

2 RD/BK

42

Battery Positive Voltage

C9

1 RD/WH

3140

Battery Positive Voltage

C10

--

--

Not Used

D1-D10

--

--

Not Used

Fuse Block - Underhood Label


Object Number: 2005241  Size: MF

Fuse Block - Underhood Label Usage

Device

Rating

Description

4WD/ESCM Fuse

15A

Battery Disconnect Switch (HP7), Evaporative Emissions Canister Vent Solenoid, Rear Differential Clutch Control Module, Starter Generator Control Module (SGCM) (HP7)

ABS Fuse

40A

Electronic Brake Control Module (EBCM) Motor

ABS Fuse

20A

Electronic Brake Control Module (EBCM)

A/C CLTCH Fuse

10A

A/C Compressor Clutch Relay

AMP Fuse

30A

Audio Amplifier

BCM Fuse

10A

Body Control Module (BCM) Voltage Sensing

BLWR Fuse

40A

HVAC Blower Motor Control Module

DEFOG Fuse

30A

Rear Window Defogger

DRL Fuse

15A

Daytime Running Lights Resistor

ECM Fuse

20A

Engine Control Module (ECM)

ECM/TCM/SGCM Fuse

15A

Engine Control Module (ECM), Transmission Control Module (TCM) and Starter Generator Control Module (SGCM) (HP7)

ENG 1 Fuse

15A

Evaporative Emissions Canister Purge Solenoid, Injector 1,Injector 2, Injector 3, Injector 4 (LAT), Injector 1, Injector 2, Injector 3, Injector4, Injector5, Injector6, (LZ4), Injector 1, Injector 3,Injector 5 (LY7) and Ignition Coil 1, Ignition Coil 3, Ignition Coil 5 (LY7)

ENG 2 Fuse

15A

Injectors 2, 4, 6 (LY7), Ignition Module (LZ4), Ignition Coil 1, Ignition Coil 2, Ignition Coil 3, Ignition Coil 4 (LAT) and Ignition Coil 2, Ignition Coil 4, Ignition Coil 6 (LY7)

ENG 3 Fuse

15A

Evaporative Emissions (EVAP) Canister Purge Solenoid Valve, Heated Oxygen Sensors (HO2S), Mass Air Flow (MAF) Intake Air Temperature (IAT) Sensor

FAN AUX Fuse

40A

Engine Cooling Fan - Right

FAN MAIN Fuse

40A

Engine Cooling Fan - Left

FRT FOG Fuse

20A

Fog Lamps

HTD SEAT

20A

Heated Seat Switch Driver, Heated Seat Switch Passenger

HDLP HI LT Fuse

10A

Headlamp - Left High Beam

HDLP HI RT Fuse

10A

Headlamp - Right High Beam

HDLP LO LT Fuse

10A

Headlamp - Left Low Beam

HDLP LO RT Fuse

10A

Headlamp - Right Low Beam

HORN Fuse

15A

HORN Relay

HYBRID BEC Fuse

30

Fuse Block - Auxiliary (HP7)

IP BECFuse

60A

I/P Fuse Block - AIR BAG, AIRCON, AUX OUTLET1, AUX OUTLET 2, BCM(VB1), BCM(VB2), BCM(VB3), BCM(VB4), BCM(VB5), BCM(VB6), BCM(VB7), CIGAR, DRL, DR LOCK, F /DR LK, FSCM, IGNITION SW, MEMORY, ONSTAR, PROVISION, POWER SEAT, REAR CLOSURE, TRAILER STOP/TURN , WASHER Fuses; DRLOCK, DR UNLOCK, F/DR LK, FRT WASHER PUMPAND REAR CLOSURE Relays

IP BEC Fuse

40A

I/P Fuse Block Fuses - Airbag, Cluster, ECM/TCM, FSCM, ISRVM/RAIN, KEY CAPTURS, OSRVM, PROVISION, PWR WIN DRIV, PWR WIN PASS, SUNROOF, and the ACC/RAP, RUN/CRANK RelayS

OSRVM HTR Fuse

10

Heated Washer Nozzle - Left, Heated Washer Nozzle - Right, Outside Rear View Mirror - Driver, Outside Rear View Mirror - Passenger

REAR WPR Fuse

20A

Rear Window Wiper Motor

Run Fuse

10A

I/P Fuse Block Ignition 2, Heated Seat Control Module - Driver, Heated Seat Control Module - Passenger, Haeted Seat Element - Driver Cushion, Haeted Seat Element - Driver Back,Haeted Seat Element - Passenger Cushion, Haeted Seat Element - Passenger Back

STRTR Fuse

20A

STARTER Relay

STOP LP Fuse

10A

Stop Lamp - Left, Stop Lamp - Right

S/ROOF Fuse

20

Sunroof Control Module

T/LAMP LT Fuse

10A

Park/Turn Lamp - Left, Marker Lamp - Left Front and Tail Lamp - Left

T/LAMP RT Fuse

10A

Park/Turn Lamp - Right, Marker Lamp - Right Front and Tail Lamp - Right

TRLR T/LAMP Fuse

10A

Trailer Connector Adapter

WPR Fuse

25A

WIPER CONTROL Relay, Wiper Speed Relay

Spare Fuse

10A

Spare

Spare Fuse

15A

Spare

Spare Fuse

25A

Spare

Relays

30A

Spare

A/C CLTCH Relay

--

A/C Compressor Clutch

DEFOG Relay

--

Rear Window Defogger and Heating Fuse

FAN AUX Relay

--

Right Engine Cooling Fan

FAN MAIN Relay

--

Left Engine Cooling Fan

FAN CNTRL Relay

--

Right Engine Cooling Fan

FRT FOG Relay

--

FRT FOG Fuse

HDLP HI Relay

--

HDLP HI LT, HDLP HI RT Fuses

HDLP LO Relay

--

HDLP LO LT, HDLP LO RT, DRL Fuses

HORN Relay

--

Horn

PWR/TRN Relay

--

ECM, ENG1, ENG2, ENG3 Fuses

Run Relay

--

Run Fuse

STRTR Relay

--

Starter Motor

STOP LP Relay

--

STOP LP Fuse

T/LAMP Relay

--

T/LAMP LT Fuse, T/LAMP RT Fuse, TRLR T/LAMP Fuse

WPR CNTRL Relay

--

Windshield Wiper Motor

WPR SPD Relay

--

Wiper Motor Speed

Fuse Block - Underhood Top View


Object Number: 1938235  Size: MF

Fuse Block - Underhood Bottom View


Object Number: 1938246  Size: MF

Fuse Block - Underhood X1


Object Number: 1835062  Size: CH

Connector Part Information

  • OEM: 13579067
  • Service: 19168037
  • Description: 60-Way F Hybrid (BK)

Terminal Part Information

  • Pins: 1-8, 10, 12, 14-16, 18, 20-22, 25, 27, 29-32, 34-36, 38-39, 41-51, 53-59
  • Terminal/Tray: See Terminal Repair Kit
  • Core/Insulation Crimp: See Terminal Repair Kit
  • Release Tool/Test Probe: See Terminal Repair Kit
  • Pins: 9, 60
  • Terminal/Tray: 1241408-1/28
  • Core/Insulation Crimp: A/B
  • Release Tool/Test Probe: J-38125-557/J-35616-42 (RD)
  • Pins: 24, 37
  • Terminal/Tray: 1241406-1/17
  • Core/Insulation Crimp: F/G
  • Release Tool/Test Probe: J-38125-557/J-35616-42 (RD)

Fuse Block - Underhood X1

Pin

Wire

Circuit

Function

1

1 RD/WH

2240

Battery Positive Voltage

2

0.5 RD/WH

540

Battery Positive Voltage

3

0.8 D-GN

392

Rear Window Washer Pump Control

4

0.5 WH

1310

EVAP Canister Vent Solenoid Control

5

0.5 D-GN/WH

465

Fuel Pump Relay Control

6

0.8 BN

141

Ignition 3 Voltage

7

0.5 PK

639

Ignition 1 Voltage

8

0.8 L-BU

20

Stop Lamp Supply Voltage

9

2 PU

293

Rear Defog Element Supply Voltage

10

1 RD/WH

640

Battery Positive Voltage (KA1)

11

--

--

Not Used

12

0.5 BK/WH

251

Ground (LE5)

13

--

--

Not Used

14

0.5 D-BU/WH

1315

Right Front Turn Signal Lamp Supply Voltage

15

0.5 WH

17

Stop Lamp Switch Signal

16

0.5 RD/WH

2140

Battery Positive Voltage

17

--

--

Not Used

18

1 RD/WH

440

Battery Positive Voltage

19

--

--

Not Used

20

0.35 YE

5530

Hood Open Switch Signal

21

0.35 BN/WH

419

MIL Control

22

0.35 D-BU

5985

Accessory Wakeup Serial Data

23

--

--

Not Used

24

3 RD/WH

240

Battery Positive Voltage

25

1 D-GN

95

Windshield Washer Switch Signal

26

--

--

Not Used

27

0.5 GY

589

DRL Resistor Supply Voltage

28

--

--

Not Used

29

0.8 D-BU/WH

1315

Right Front Turn Signal Lamp Supply Voltage

30

0.8 RD/WH

2140

Battery Positive Voltage

31

0.35 L-GN

5486

Run Relay Coil Control

32

1 PU

92

Windshield Wiper Motor High Speed

33

--

--

Not Used

34

0.8 L-BU/WH

1314

Left Front Turn Signal Lamp Supply Voltage

35

0.35 TN

860

Front Windshield Wiper Switch High Signal

36

0.35 TN/WH

1969

Headlamp High Beam Relay Control

37

3 RD/WH

3040

Battery Positive Voltage

38

0.35 TN

28

Horn Relay Control

39

0.5 OG

228

Windshield Washer Pump Control

40

--

--

Not Used

41

0.5 L-BU/WH

1314

Left Front Turn Signal Lamp Supply Voltage

42

0.5 OG

267

Heated Mirror/Rear Defog Relay Coil Supply Voltage

43

0.35 D-GN/WH

1317

Fog Lamp Relay Control

44

5 RD/WH

2040

Battery Positive Voltage

45

2 RD/WH

940

5-Volt Reference (U61)

46

0.35 WH

193

Rear Defog Relay Control

47

0.35 TN/WH

99

Windshield Washer Fluid Level Signal

48

6 RD/WH

140

Battery Positive Voltage

49

0.35 OG

267

Heated Mirror/Rear Defog Relay Coil Supply Voltage

50

0.35 OG

267

Heated Mirror/Rear Defog Relay Coil Supply Voltage

51

0.5 PU

709

Left Park Lamp Supply Voltage

52

--

--

Not Used

53

0.35 PK/WH

1970

Headlamp Low Beam Relay Control

54

0.5 WH

5065

Stop Lamp Relay Coil Supply Voltage

0.8 WH

5065

Stop Lamp Relay Coil Supply Voltage

55

0.35 PU

5531

Hood Closed Switch Signal

56

0.35 GY

91

Windshield Wiper Switch Signal 2

57

0.5 BN

5184

Left Trailer Park Lamp

58

0.35 D-BU

45

Park Lamp Supply Voltage

59

0.5 BN/WH

309

Right Park Lamp Supply Voltage

60

2 RD/WH

2140

Battery Positive Voltage

Fuse Block - Underhood X2


Object Number: 1835064  Size: CH

Connector Part Information

  • OEM: 13578267
  • Service: 19168036
  • Description: 56-Way F Hybrid (BK)

Terminal Part Information

  • Pins: 3, 5-9, 11-15, 17-18, 20-22, 25-27, 35-37, 41-42, 44-46, 50, 52, 54
  • Terminal/Tray: See Terminal Repair Kit
  • Core/Insulation Crimp: See Terminal Repair Kit
  • Release Tool/Test Probe: See Terminal Repair Kit
  • Pins: 1, 29, 47
  • Terminal/Tray: 1241406-1/17
  • Core/Insulation Crimp: F/G
  • Release Tool/Test Probe: J-38125-557/J-35616-42 (RD)
  • Pins: 56
  • Terminal/Tray: 1241408-1/28
  • Core/Insulation Crimp: A/B
  • Release Tool/Test Probe: J-38125-557/J-35616-42 (RD)

Fuse Block - Underhood X2

Pin

Wire

Circuit

Function

1

3 L-BU

409

Cooling Fan Motor Supply Voltage

2

--

--

Not Used

3

0.5 D-BU

473

High Speed Cooling Fan Relay Control

4

--

--

Not Used

5

1 PK/BK

5291

Ignition 1 Voltage

6

0.5 RD/WH

40

Battery Positive Voltage

0.5 RD/WH

40

Battery Positive Voltage (LY7 or LZ4)

7

0.5 D-GN

335

Low Speed Cooling Fan Relay Control

8

0.5 PK/BK

5293

Powertrain Main Relay Fused Supply (3)

0.5 PK/BK

5293

Powertrain Main Relay Fused Supply (3) (LY7)

9

0.5 PK/BK

5293

Powertrain Main Relay Fused Supply (3)

10

--

--

Not Used

11

1 PK/BK

5292

Ignition 1 Voltage (LAT/LE5/LY7)

12

1 PK/BK

5292

Ignition 1 Voltage (LAT/LE5/LY7)

13

1 PK/BK

5291

Ignition 1 Voltage

14

1 PK/BK

5291

Ignition 1 Voltage (LY7)

15

0.5 RD/WH

40

Battery Positive Voltage

0.5 RD/WH

40

Battery Positive Voltage

16

--

--

Not Used

17

0.8 PK/BK

6341

Powertrain Relay Contact Signal

18

0.8 PK/BK

5293

Powertrain Main Relay Fused Supply (3)

0.5 PK/BK

5293

Powertrain Main Relay Fused Supply (3) (LY7/LZ4)

19

--

--

Not Used

20

1 PK/BK

5292

Ignition 1 Voltage

21

1 PK/BK

5292

Ignition 1 Voltage (LAT/LE5/LY7)

22

0.5 PK/BK

5291

Ignition 1 Voltage (LY7)

23-24

--

--

Not Used

25

0.5 BN/WH

419

MIL Control

26

0.5 D-BU

5985

Accessory Wakeup Serial Data

0.35 D-BU

5985

Accessory Wakeup Serial Data

27

0.5 PK/BK

5293

Powertrain Main Relay Fused Supply (3) (LY7/LZ4)

28

--

--

Not Used

29

3 GY

532

Cooling Fan Motor Supply Voltage

30-34

--

--

Not Used

35

0.5 PK

639

Ignition 1 Voltage

0.5 PK

639

Ignition 1 Voltage

36

0.5 WH

17

Stop Lamp Switch Signal or Stop Lamp Supply Voltage

0.5 WH

17

Stop Lamp Switch Signal or Stop Lamp Supply Voltage

37

0.5 YE

5991

Powertrain Relay Coil Control

38-40

--

--

Not Used

41

0.5 BK/WH

251

Ground (LE5)

42

0.5 D-GN/WH

465

Fuel Pump Relay Control

43

--

--

Not Used

44

0.5 PK

639

Ignition 1 Voltage

45

0.5 PU/WH

6386

Starter Enable Relay (PPEI 3) Control

46

0.5 D-GN/WH

459

A/C Compressor Clutch Relay Control

47

3 WH

504

Cooling Fan Low Reference (LY7/LZ4)

48-49

--

--

Not Used

50

0.5 WH

1310

EVAP Canister Vent Solenoid Control

51

--

--

Not Used

52

0.5 D-GN

59

A/C Compressor Clutch Supply Voltage

53

0.5 PK

639

Run/Crank Ignition 1 Voltage (LAT/LE5)

54

0.5 BK/WH

251

Ground

55

--

--

Not Used

56

2 PU

6

Starter Solenoid Crank Voltage

Fuse Block - Underhood X3


Object Number: 1835064  Size: CH

Connector Part Information

  • OEM: 13583217
  • Service: 19178164
  • Description: 56-Way F 2.8 MCP 6.3 MCP (GY)

Terminal Part Information

  • Pins: 3-4, 11, 20, 27, 31, 34-37, 41-43, 45-46, 50-51, 55
  • Terminal/Tray: See Terminal Repair Kit
  • Core/Insulation Crimp: See Terminal Repair Kit
  • Release Tool/Test Probe: See Terminal Repair Kit
  • Pins: 10
  • Terminal/Tray: 1241406-1/17
  • Core/Insulation Crimp: F/G
  • Release Tool/Test Probe: J-38125-557/J-35616-42 (RD)

Fuse Block - Underhood X3

Pin

Wire

Circuit

Function

1-2

--

--

Not Used

3

0.5 PU

34

Fog Lamps Supply Voltage (T37/T96)

4

0.5 D-GN/WH

711

Left Headlamp High Beam Supply Voltage

5-9

--

--

Not Used

10

3 BK

150

Ground

11

0.5 PU

709

Left Park Lamp Supply Voltage

12-19

--

--

Not Used

20

0.5 BN/WH

309

Right Park Lamp Supply Voltage

0.5 BN/WH

309

Right Park Lamp Supply Voltage

21-26

--

--

Not Used

27

0.5 YE

712

Left Headlamp Low Beam Supply Voltage

28-30

--

--

Not Used

31

0.5 L-BU/WH

1314

Left Front Turn Signal Lamp Supply Voltage

32-33

--

--

Not Used

34

0.5 GY

589

DRL Resistor Supply Voltage

35

0.5 D-GN

29

Horn Control

36

0.5 D-GN

29

Horn Control

37

0.5 TN/WH

312

Right Headlamp Low Beam Supply Voltage

38-40

--

--

Not Used

41

0.5 D-BU/WH

1315

Right Front Turn Signal Lamp Supply Voltage

42

0.35 TN/WH

99

Windshield Washer Fluid Level Signal

43

0.5 OG

228

Windshield Washer Pump Control

44

--

--

Not Used

45

0.35 YE

5530

Hood Open Switch Signal

46

0.5 L-GN/BK

311

Right Headlamp High Beam Supply Voltage

47-49

--

--

Not Used

50

0.35 PU

5531

Hood Closed Switch Signal

51

0.8 D-GN

392

Rear Window Washer Pump Control

52-54

--

--

Not Used

55

0.5 GY

589

DRL Resistor Supply Voltage

56

--

--

Not Used

Fuse Block - Underhood X4 (Battery Positive Cable)

Terminal Part Information

  • Harness: Battery Positive Cable
  • Terminal: 12160991
  • Core/Insulation Crimp: N/A
  • Description: Ring Terminal

Fuse Block - Underhood X4 (Battery Positive Cable)

Fuse Block - Underhood X4 (Battery Positive Cable)

Wire

Circuit

Function

+

19

1

Battery Positive Voltage

8

1

Battery Positive Voltage -- Electric Power Steering (LE5/LAT)

Fuse Block - I/P Label


Object Number: 1950000  Size: MF

Fuse Block - I/P Label Usage

Device

Rating

Description

AIRBAG Fuse

10A

Inflatable Restraint I/P Module Indicator (AOS), Inflatable Restraint Sensing and Diagnostic Module (SDM)

AIRBAG Fuse

10A

Inflatable Restraint Sensing and Diagnostic Module (SDM),

AIRCON Fuse

15A

Data Link Connector (DLC), FATC/AIR CON, Rear Seat Audio, Rear Seat Entertainment, XM Radio Receiver

APO1 Fuse

20A

Accessory Power Outlet - Center Console

APO2

20A

Accessory Power Outlet - Rear

AUDIO Fuse

15A

AUDIO System, Instrument Cluster, Remote Control Door Lock Receiver (RCDLR), Security LED, Universal Garage Door Opener (UGDO)

BCM (VB1) Fuse

10A

Body Control Module (BCM)

BCM (VB2) Fuse

10A

BCM (INADVERT/CTSY LMP PWR)

BCM (VB3) Fuse

10A

BCM (LH TURNHZD)

BCM (VB4) Fuse

10A

BCM (BACKUP/STOP)

BCM (VB5) Fuse

10A

BCM (Courtesy lamps, WASHER PUMP)

BCM (VB6) Fuse

10A

BCM (RH TURN/HZD)

BCM (VB7) Fuse

10A

BCM (DIM PWR)

CIGAR Fuse

20A

Cigar Lighter

CLUSTER Fuse

10A

Instrument Cluster, AOS Display

DRL Fuse

15A

HDLP Low Relay

DR LCK Fuse

25A

Door Lock Motor

ECM/TCM Fuse

10A

Engine Control Module (ECM), Transmission Control Module (TCM), FRT Fog Relay

F/DR LCK Fuse

15A

Front Driver Door Lock

FSCM Fuse

10A

Fuel System Control Module

FSCM Fuse

20A

Fuel System Control Module

IGN SW Fuse

2A

Ignition Switch, Immobilizer

ISRVM Fuse

10A

Compass,Inside Rearview Mirror, Rain Sensor

KEY CAP Fuse

10A

Key Capture Solenoid, Park Switch

ONSTAR Fuse

10A

ONSTAR Module

OSRVM Fuse

2A

Outside Rearview Mirror Switch

PWR WIN DRIV Fuse

20A

Driver Side Power Window

PWR WIN PASS Fuse

30A

Passenger Side Power Window

PWR SEAT Fuse

20A

Power Seat

RR CLR Fuse

10A

Liftgate Latch Assembly Power Release

S/ROOF Fuse

10A

Sunroof Module

TRL Fuse

15A

Trailer Stop/Turn Module

WASHER Fuse

10A

Washer Pump

WHL SW Fuse

2 A

Steering Wheel Switch

Spare Fuse

  

Spare Fuse

  

Spare Fuse

  

Spare Fuse

  
  

Fuse Remover

RELAYS

  

ACC/RAP Relay

--

KEY CAP, OSRVM, DRIV PWR WIN , PASS PWR WIN and S/ROOF Fuses

DRL Relay

--

HDLP LO Relay

DR LOCK Relay

--

Door Lock Motor Control

DR UNLOCK Relay

--

Door Unlock Motor

F/DR LCK Relay

--

Front Driver Door Lock, Fuel Door Actuator

FRT WASHER PUMP Relay

--

Front Washer Pump

REAR CLOSURE Relay

--

Rear Closure Fuse

RUN/CRANK Relay

--

Airbag, Cluster, ECM/TCM, FSCM, ISRVM Fuses

Fuse Block - I/P Top View


Object Number: 1938198  Size: MF

Fuse Block - I/P Bottom View


Object Number: 1938216  Size: MF

Fuse Block - I/P X1


Object Number: 1835062  Size: CH

Connector Part Information

  • OEM: 13579292
  • Service: 19178200
  • Description: 60-Way F Hybrid (GY)

Terminal Part Information

  • Pins: 1, 44, 52
  • Terminal/Tray: 1241408-1/28
  • Core/Insulation Crimp: A/B
  • Release Tool/Test Probe: J-38125-557/J-35616-42 (RD)
  • Pins: 3-8, 11, 13-21, 23-25, 28, 31-34, 36- 37, 39, 42-43, 45-51, 54-58
  • Terminal/Tray: See Terminal Repair Kit
  • Core/Insulation Crimp: See Terminal Repair Kit
  • Release Tool/Test Probe: See Terminal Repair Kit

Fuse Block - I/P X1

Pin

Wire

Circuit

Function

1

2 YE

643

Accessory Voltage

2

--

--

Not Used

3

0.35 TN

28

Horn Relay Control

4

0.5 GY

589

DRL Resistor Supply Voltage

5

0.35 L-BU

1344

Trunk Release Relay Control

6

0.35 BN

253

Trunk Release Relay Control

7

0.5 RD/WH

1840

Battery Positive Voltage (UUC)

0.5 RD/WH

1840

Battery Positive Voltage (UUC)

8

0.35 BN

41

Ignition 3 Voltage (KA1)

0.35 BN

41

Ignition 3 Voltage (KA1)

9-10

--

--

Not Used

11

0.35 TN

28

Horn Relay Control

12

--

--

Not Used

13

5 RD/WH

2040

Battery Positive Voltage

14

0.8 RD/WH

3140

Battery Positive Voltage

15

0.5 RD/WH

1840

Battery Positive Voltage (U2K)

16

0.35 BN

41

Ignition 3 Voltage (AE8)

17

2 YE

743

Accessory Voltage

2 YE

743

Accessory Voltage

18

0.35 PK

239

Ignition 1 Voltage

19

0.5 PK

339

Ignition 1 Voltage

20

0.5 OG

228

Windshield Washer Pump Control

21

0.8 RD/WH

1240

Battery Positive Voltage

22

--

--

Not Used

23

0.5 L-BU

6128

Rear Closure Unlatch Motor Unlatch Control

24

0.8 BN

141

Ignition 3 Voltage

25

0.35 YE

5199

Run/Crank Relay Coil Control

26-27

--

--

Not Used

28

0.8 RD/WH

1340

Battery Positive Voltage

29-30

--

--

Not Used

31

0.35 TN

755

RAP Relay Coil Control

32

0.5 PK

639

Ignition 1 Voltage

33

0.35 L-GN/BK

592

DRL Relay Control

34

0.8 RD/WH

1440

Battery Positive Voltage

35

--

--

Not Used

36

0.5 RD/WH

1940

Battery Positive Voltage

37

0.8 RD/WH

2640

Battery Positive Voltage

38

--

--

Not Used

39

0.8 RD/WH

2840

Battery Positive Voltage

40-41

--

--

Not Used

42

0.8 RD/WH

1540

Battery Positive Voltage

43

0.35 OG

2268

Windshield Washer Relay Control

44

2 RD/WH

2940

Battery Positive Voltage

45

0.35 YE

143

Accessory Voltage

46

0.5 YE

343

Accessory Voltage

47

0.5 GY

295

Door Lock Actuator Lock Control

48

6 RD/WH

140

Battery Positive Voltage

49

0.5 TN

294

Door Lock Actuator Unlock Control

50

0.5 RD/WH

2540

Battery Positive Voltage

51

0.8 RD/WH

2740

Battery Positive Voltage

52

2 RD/WH

440

Battery Positive Voltage (AE8)

53

--

--

Not Used

54

0.35 L-BU

5921

Driver Door Unlock Relay Control

55

0.5 TN

694

Driver Door Lock Actuator Unlock Control

56

0.35 L-BU

195

Door Lock Control

57

0.8 BK

450

Ground

58

0.35 WH

194

Door Unlock Control

59-60

--

--

Not Used

Fuse Block - I/P X2


Object Number: 1835062  Size: CH

Connector Part Information

  • OEM: 13580437
  • Service: 19178204
  • Description: 60-Way F MCP 6.3 MCP 9.5 MCP (BK)

Terminal Part Information

  • Terminal/Tray: See Terminal Repair Kit
  • Core/Insulation Crimp: See Terminal Repair Kit
  • Release Tool/Test Probe: See Terminal Repair Kit

Fuse Block - I/P X2

Pin

Wire

Circuit

Function

1-2

--

--

Not Used

3

0.35 YE

1491

Backlight Lamps Control

4

0.35 YE/BK

9088

Steering Wheel Controls Dimming Power

5-9

--

--

Not Used

10

0.35 PK

439

Ignition 1 Voltage

11

0.35 PK

139

Ignition 1 Voltage

12-13

--

--

Not Used

14

0.35 RD/WH

740

Battery Positive Voltage

15

0.5 RD/WH

740

Battery Positive Voltage

16-17

--

--

Not Used

18

0.35 YE

243

Accessory Voltage (ME7/MH2/MH4/MN5)

19-21

--

--

Not Used

22

0.35 RD/WH

1740

Battery Positive Voltage

23-24

--

--

Not Used

25

0.35 PK

139

Ignition 1 Voltage

26-28

--

--

Not Used

29

0.35 RD/WH

1740

Battery Positive Voltage

30

0.8 RD/WH

1040

Battery Positive Voltage

31-34

--

--

Not Used

35

1 RD/WH

1940

Battery Positive Voltage

36

0.8 RD/WH

1640

Battery Positive Voltage

37-40

--

--

Not Used

41

0.5 RD/WH

1940

Battery Positive Voltage

42

0.8 RD/WH

1140

Battery Positive Voltage

43-48

--

--

Not Used

49

0.5 RD/WH

1940

Battery Positive Voltage

50

0.5 RD/WH

1840

Battery Positive Voltage

51

0.5 BN

41

Ignition 3 Voltage

52-53

--

--

Not Used

54

0.35 TN

28

Horn Relay Control

55-56

--

--

Not Used

57

0.5 RD/WH

1940

Battery Positive Voltage

58

0.5 RD/WH

1840

Battery Positive Voltage

59

0.5 BN

41

Ignition 3 Voltage

60

--

--

Not Used

Inline Fuse - Electric Power Steering (EPS) (LAT/LE5)


Object Number: 1743144  Size: CH

Connector Part Information

  • OEM: E-5972-002
  • Service: See Catalog
  • Description: 2-Way Mini Fuse Connector, Sealed (BK)

Terminal Part Information

  • Terminal/Tray: See Terminal Repair Kit
  • Core/Insulation Crimp: See Terminal Repair Kit
  • Release Tool/Test Probe: See Terminal Repair Kit

Inline Fuse - Electric Power Steering (EPS) (LAT/LE5)

Pin

Wire

Circuit

Function

1

8 RD

1

Battery Positive Voltage

2

8 RD/BK

42

Battery Positive Voltage

Junction Block - Battery Positive Cable (HP7

 

Terminal Part Information

  • Terminal: 15336662
  • Core/Insulation Crimp:N/A
  • Description: Battery Terminal

Junction Block - Battery Positive Cable (HP7)

Pin

Wire

Circuit

Function

+

32 RD

1

Battery Positive Voltage

8 RD

1

Battery Positive Voltage

Connector 1: Fuse Block - Auxiliary (HP5) Label
Connector 2: Fuse Block - Auxiliary (HP5) Top View
Connector 3: Fuse Block - Auxiliary (HP5) Bottom View
Connector 4: Fuse Block - Auxiliary X1 (HP5)
Connector 5: Fuse Block - Auxiliary X2 (HP5)
Connector 6: Fuse Block - Auxiliary X3(HP5)
Connector 7: Fuse Block - Auxiliary X4 (HP5)
Connector 8: Fuse Block - Auxiliary X5 (HP5)
Connector 9: Fuse Block - Auxiliary (HP7) Label
Connector 10: Fuse Block - Auxiliary (HP7) Top View
Connector 11: Fuse Block -- Auxiliary (HP7) Bottom View
Connector 12: Fuse Block - Auxiliary (HP7) Connector
Connector 13: Fuse Block - Underhood Label
Connector 14: Fuse Block - Underhood Top View
Connector 15: Fuse Block - Underhood Bottom View
Connector 16: Fuse Block - Underhood X1
Connector 17: Fuse Block - Underhood X2
Connector 18: Fuse Block - Underhood X3
Connector 19: Fuse Block - Underhood X4 (Battery Positive Cable) (with HP5)
Connector 20: Fuse Block - Underhood X4 (Battery Positive Cable) (without HP5)
Connector 21: Fuse Block - Underhood X5 (with HP5)
Connector 22: Fuse Block - I/P Label
Connector 23: Fuse Block - I/P Top View
Connector 24: Fuse Block - I/P Bottom View
Connector 25: Fuse Block - I/P X1
Connector 26: Fuse Block - I/P X2
Connector 27: Inline Fuse - Electric Power Steering (EPS) (LAT/LE5)
Connector 28: Junction Block - Battery Positive Cable (HP7)

Fuse Block - Auxiliary (HP5) Label


Object Number: 2096772  Size: MF

Fuse Block - Auxiliary (HP5) Label Usage

Fuse

Device

Rating

Description

1

TPIM1

15A

Drive Motor Generator Power Inverter Module

2

Spare

15A

Not Used

3

TPIM2

15A

Drive Motor Generator Power Inverter Module

4

BPCM

15A

Drive Motor Generator Battery Control Module, Serial Data Gateway (CGM) Module

5

ACPO

25A

Accessory Power Inverter Module

6

BPCM FAN

15A

Generator Battery Vent Fan relay

7

Spare

15A

Not Used

8

COOLANT PUMP

15A

Generator Control Module Coolant Pumps

9

RPIM COOL PUMP

15A

Rear Power Inverter Coolant Pump

10

RPIM1

15A

Rear Power Inverter Module

11

ACCM

15A

A/C Compressor

12

CABIN HTR PUMP

10A

Heater Coolant pump

13

RPIM2

15A

Rear Power Inverter Module

14

BRAKE PUMP

60A

Not Used

15

AUX TRANS PUMP

60A

Automatic Transmission Auxiliary Fluid Pump ControlModule

16

COOLING FAN

60A

Engine Cooling Fan Control Module

17

COOLANT PUMP Relay

--

Generator Control Module Coolant Pumps

18

CABIN HTR PUMP

--

CABIN HTR PUMP Fuse

19

RPIM COOLANT PUMP Relay

--

RPIM COOLANT PUMP Fuse

Fuse Block - Auxiliary (HP5) Top View


Object Number: 2096776  Size: MF

Fuse Block - Auxiliary (HP5) Bottom View


Object Number: 2096779  Size: MF

Fuse Block - Auxiliary X1 (HP5)


Object Number: 1876011  Size: CH

Connector Part Information

  • OEM: 13552254
  • Service: See Catalog
  • Description: 40-Way F GT150 280 M/P 800 (BK)

Terminal Part Information

  • Terminal/Tray: See Terminal Repair Kit
  • Core/Insulation Crimp: See Terminal Repair Kit
  • Release Tool/Test Probe: See Terminal Repair Kit

Fuse Block - Auxiliary X1 (HP5)

Pin

Wire

Circuit

Function

A1

--

--

Not Used

A2

0.8 RD/WH

5540

Battery Positive Voltage (AWD)

A3

0.5 PK

2014

Heater Pump Relay Control

A4

0.35 PU

5531

Hood Closed Switch Signal

A5

0.35 PU

5531

Hood Closed Switch Signal

A6

0.8 RD/W

5440

Battery Positive Voltage (AWD)

B1

--

--

Not Used

B2

0.5 L-GN/BK

6554

Water Pump Supply Voltage

B3

0.5 RD/WH

4740

Battery Positive Voltage

B4-B6

--

--

Not Available

C1

--

--

Not Used

C2

0.5 BK/PU

7438

Hybrid Control Module Pump Control (AWD)

C3

--

--

Not Used

C4

0.5 PK/BK

5291

Ignition

C5

0.5 TN

2022

Coolant Pump Relay Control

C6

0.8 BU/WH

7421

Coolant Pumps Supply

D1

--

--

Not Used

D2

0.5 RD/WH

4140

Battery Positive Voltage (AWD)

D3-D6

--

--

Not Available

E1-E3

--

--

Not Used

E4-E6

--

--

Not Available

F1

--

--

Not Used

F2

1 RD/WH

4640

Battery Positive Voltage

F3

--

--

Not Used

F4-F6

--

--

Not Available

G1

1 RD/WH

5140

Battery Positive Voltage (KC7)

G2

0.5 RD/WH

5340

Battery Positive Voltage

0.5 RD/WH

5340

Battery Positive Voltage

G3-G6

--

--

Not Available

H1-H3

--

--

Not Used

H4

0.35 YE

5530

Hood Open Switch Signal

H5

0.35 PU

5531

Hood Closed Switch Signal

H6

0.35 PU

5531

Hood Closed Switch Signal

J1

0.8 RD/WH

2340

Battery Positive Voltage

J2

--

--

Not Used

J3

0.8 RD/WH

340

Battery Positive Voltage

J4-J6

--

--

Not Available

K1-K2

--

--

Not Used

K3

0.35 YE

5530

Hood Open Switch Signal

K4

0.35 YE

5530

Hood Open Switch Signal

K5

0.35 YE

5530

Hood Open Switch Signal

K6

--

--

Not Used

Fuse Block - Auxiliary X2 (HP5)


Object Number: 2176258  Size: CH

Connector Part Information

  • OEM: 15303502
  • Service: See Catalog
  • Description: 1 Way F Metri Pack 800 Series (BK)

Terminal Part Information

  • Terminal/Tray: See Terminal Repair Kit
  • Core/Insulation Crimp: See Terminal Repair Kit
  • Release Tool/Test Probe: See Terminal Repair Kit

Fuse Block - Auxiliary X2 (HP5)

Pin

Wire

Circuit

Function

A

5 RD/WH

4040

Battery Positive Voltage

Fuse Block - Auxiliary X3(HP5)


Object Number: 2176259  Size: CH

Connector Part Information

  • OEM: 15303503
  • Service: See Catalog
  • Description: 1 Way F Metri Pack 800 Series (BK)

Terminal Part Information

  • Terminal/Tray: See Terminal Repair Kit
  • Core/Insulation Crimp: See Terminal Repair Kit
  • Release Tool/Test Probe: See Terminal Repair Kit

Fuse Block - Auxiliary X3(HP5)

Pin

Wire

Circuit

Function

A

5 L-BU

409

Battery Positive Voltage

Fuse Block - Auxiliary X4 (HP5)

Terminal Part Information

  • Terminal: 15336662
  • Core/Insulation Crimp: N/A
  • Description: Battery Terminal

Fuse Block - Auxiliary X4 (HP5)

Pin

Wire

Circuit

Function

+

32 RD/BK

2

Battery Positive Voltage

Fuse Block - Auxiliary X5 (HP5)

Terminal Part Information

  • Harness: Battery Positive Cable
  • Terminal: 12160991
  • Core/Insulation Crimp: N/A
  • Description: Ring Terminal

Fuse Block - Auxiliary X5 (HP5)

Pin

Wire

Circuit

Function

+

19 RD/BK

2

Battery Positive Voltage -- Electric Power Steering

Fuse Block - Auxiliary (HP7) Label


Object Number: 2035272  Size: MF

Fuse Block - Auxiliary (HP7) Label Usage

Device

Rating

Description

AUX TRANSPUMP Fuse

20A

Automatic Transmission Auxiliary Fluid Pump

HILL HOLD VLVS Fuse

10

HILL HOLD VLVS Relay

HYBRID PUMPS Fuse

20A

Coolant Pump - Auxiliary

AUX TRANSPUMP Relay

--

Starter Generator Control Module (SGCM)

HILL HOLD VLVS Relay

--

Hill Hold Barke Delay Valves, Starter Generator Control Module (SGCM)

Fuse Block - Auxiliary (HP7) Top View


Object Number: 2045558  Size: MF

Fuse Block -- Auxiliary (HP7) Bottom View


Object Number: 1851857  Size: MF

Fuse Block - Auxiliary (HP7) Connector


Object Number: 2002692  Size: CH

Connector Part Information

  • OEM: 13607200
  • Service: See Catalog
  • Description: 40-Way F (BK)

Terminal Part Information

  • Terminal/Tray: See Terminal Repair Kit
  • Core/Insulation Crimp: See Terminal Repair Kit
  • Release Tool/Test Probe: See Terminal Repair Kit

Fuse Block - Auxiliary (HP7) Connector

Pin

Wire

Circuit

Function

A1

--

--

Not Used

A2

1 GY/WH

5259

Battery Positive Voltage

A3

--

--

Not Used

A4

0.8 RD/WH

3140

Battery Positive Voltage

A5

0.5 BN

909

Hill Hold Brake Delay Valves Relay Contact Output Voltage

A6

--

--

Not Used

A7

0.35 PK

639

Ignition 1 Voltage

A8

2 RD/BK

42

Battery Positive Voltage

A9

0.5 RD/WH

2940

Battery Positive Voltage

A10

--

--

Not Used

B1

--

--

Not Used

B2

0.5 PK/WH

5537

Automatic Transmission Auxiliary Fluid Pump Battery Voltage

B3

--

--

Not Used

B4

0.8 RD/WH

3140

Battery Positive Voltage

B5

0.35 GY

990

Hill Hold Brake Delay Valves Relay Control

B6

--

--

Not Used

B7

0.5 RD/WH

3240

Battery Positive Voltage

B8

2 RD/BK

40

Battery Positive Voltage

B9

0.5 RD/WH

3240

Battery Positive Voltage

B10

--

--

Not Used

C1-C7

--

--

Not Used

C8

2 RD/BK

42

Battery Positive Voltage

C9

1 RD/WH

3140

Battery Positive Voltage

C10

--

--

Not Used

D1-D10

--

--

Not Used

Fuse Block - Underhood Label


Object Number: 2005241  Size: MF

Fuse Block - Underhood Label Usage

Device

Rating

Description

4WD/ESCM Fuse

15A

Battery Disconnect Switch (HP7), Evaporative Emissions Canister Vent Solenoid, Rear Differential Clutch Control Module, Starter Generator Control Module (SGCM) (HP7)

ABS Fuse

40A

Electronic Brake Control Module (EBCM) Motor

ABS Fuse

20A

Electronic Brake Control Module (EBCM)

A/C CLTCH Fuse

10A

A/C Compressor Clutch Relay

AMP Fuse

30A

Audio Amplifier

BCM Fuse

10A

Body Control Module (BCM) Voltage Sensing

BLWR Fuse

40A

HVAC Blower Motor Control Module

DEFOG Fuse

30A

Rear Window Defogger

DRL Fuse

15A

Daytime Running Lights Resistor

ECM Fuse

20A

Engine Control Module (ECM)

ECM/TCM/SGCM Fuse

15A

Engine Control Module (ECM), Transmission Control Module (TCM) and Starter Generator Control Module (SGCM) (HP7)

ENG 1 Fuse

15A

Evaporative Emissions Canister Purge Solenoid, Injector 1,Injector 2, Injector 3, Injector 4 (LAT), Injector 1, Injector 2, Injector 3, Injector4, Injector5, Injector6, (LZ4), Injector 1, Injector 3,Injector 5 (LY7) and Ignition Coil 1, Ignition Coil 3, Ignition Coil 5 (LY7)

ENG 2 Fuse

15A

Injectors 2, 4, 6 (LY7), Ignition Module (LZ4), Ignition Coil 1, Ignition Coil 2, Ignition Coil 3, Ignition Coil 4 (LAT) and Ignition Coil 2, Ignition Coil 4, Ignition Coil 6 (LY7)

ENG 3 Fuse

15A

Evaporative Emissions (EVAP) Canister Purge Solenoid Valve, Heated Oxygen Sensors (HO2S), Mass Air Flow (MAF) Intake Air Temperature (IAT) Sensor

FAN AUX Fuse

40A

Engine Cooling Fan - Right

FAN MAIN Fuse

40A

Engine Cooling Fan - Left

FRT FOG Fuse

20A

Fog Lamps

HTD SEAT

20A

Heated Seat Switch Driver, Heated Seat Switch Passenger

HDLP HI LT Fuse

10A

Headlamp - Left High Beam

HDLP HI RT Fuse

10A

Headlamp - Right High Beam

HDLP LO LT Fuse

10A

Headlamp - Left Low Beam

HDLP LO RT Fuse

10A

Headlamp - Right Low Beam

HORN Fuse

15A

HORN Relay

HYBRID BEC Fuse

30

Fuse Block - Auxiliary (HP7)

HYBRID BEC Fuse

60

ABS Motor (HP5)

Secondary Air Injection (AIR) Pump (NU6)

IP BECFuse

60A

I/P Fuse Block - AIR BAG, AIRCON, AUX OUTLET1, AUX OUTLET 2, BCM(VB1), BCM(VB2), BCM(VB3), BCM(VB4), BCM(VB5), BCM(VB6), BCM(VB7), CIGAR, DRL, DR LOCK, F /DR LK, FSCM, IGNITION SW, MEMORY, ONSTAR, PROVISION, POWER SEAT, REAR CLOSURE, TRAILER STOP/TURN , WASHER Fuses; DRLOCK, DR UNLOCK, F/DR LK, FRT WASHER PUMPAND REAR CLOSURE Relays

IP BEC Fuse

40A

I/P Fuse Block Fuses - Airbag, Cluster, ECM/TCM, FSCM, ISRVM/RAIN, KEY CAPTURS, OSRVM, PROVISION, PWR WIN DRIV, PWR WIN PASS, SUNROOF, and the ACC/RAP, RUN/CRANK RelayS

OSRVM HTR Fuse

10

Heated Washer Nozzle - Left, Heated Washer Nozzle - Right, Outside Rear View Mirror - Driver, Outside Rear View Mirror - Passenger

REAR WPR Fuse

20A

Rear Window Wiper Motor

Run Fuse

10A

I/P Fuse Block Ignition 2, Heated Seat Control Module - Driver, Heated Seat Control Module - Passenger, Haeted Seat Element - Driver Cushion, Haeted Seat Element - Driver Back,Haeted Seat Element - Passenger Cushion, Haeted Seat Element - Passenger Back

STRTR Fuse

20A

STARTER Relay

STOP LP Fuse

10A

Stop Lamp - Left, Stop Lamp - Right

S/ROOF Fuse

20

Sunroof Control Module

T/LAMP LT Fuse

10A

Park/Turn Lamp - Left, Marker Lamp - Left Front and Tail Lamp - Left

T/LAMP RT Fuse

10A

Park/Turn Lamp - Right, Marker Lamp - Right Front and Tail Lamp - Right

TRLR T/LAMP Fuse

10A

Trailer Connector Adapter

WPR Fuse

25A

WIPER CONTROL Relay, Wiper Speed Relay

Spare Fuse

10A

Spare

Spare Fuse

15A

Spare

Spare Fuse

25A

Spare

Relays

30A

Spare

A/C CLTCH Relay

--

A/C Compressor Clutch

DEFOG Relay

--

Rear Window Defogger and Heating Fuse

FAN AUX Relay

--

Right Engine Cooling Fan

FAN MAIN Relay

--

Left Engine Cooling Fan

FAN CNTRL Relay

--

Right Engine Cooling Fan

FRT FOG Relay

--

FRT FOG Fuse

HDLP HI Relay

--

HDLP HI LT, HDLP HI RT Fuses

HDLP LO Relay

--

HDLP LO LT, HDLP LO RT, DRL Fuses

HORN Relay

--

Horn

PWR/TRN Relay

--

ECM, ENG1, ENG2, ENG3 Fuses

Run Relay

--

Run Fuse

STRTR Relay

--

Starter Motor

STOP LP Relay

--

STOP LP Fuse

T/LAMP Relay

--

T/LAMP LT Fuse, T/LAMP RT Fuse, TRLR T/LAMP Fuse

WPR CNTRL Relay

--

Windshield Wiper Motor

WPR SPD Relay

--

Wiper Motor Speed

Fuse Block - Underhood Top View


Object Number: 1938235  Size: MF

Fuse Block - Underhood Bottom View


Object Number: 1938246  Size: MF

Fuse Block - Underhood X1


Object Number: 1835062  Size: CH

Connector Part Information

  • OEM: 13579067
  • Service: 19168037
  • Description: 60-Way F Hybrid (BK)

Terminal Part Information

  • Pins: 1-8, 10, 12, 14-16, 18, 20-22, 25, 27, 29-32, 34-36, 38-39, 41-51, 53-59
  • Terminal/Tray: See Terminal Repair Kit
  • Core/Insulation Crimp: See Terminal Repair Kit
  • Release Tool/Test Probe: See Terminal Repair Kit
  • Pins: 9, 60
  • Terminal/Tray: 1241408-1/28
  • Core/Insulation Crimp: A/B
  • Release Tool/Test Probe: J-38125-557/J-35616-42 (RD)
  • Pins: 24, 37
  • Terminal/Tray: 1241406-1/17
  • Core/Insulation Crimp: F/G
  • Release Tool/Test Probe: J-38125-557/J-35616-42 (RD)

Fuse Block - Underhood X1

Pin

Wire

Circuit

Function

1

1 RD/WH

2240

Battery Positive Voltage

2

0.5 RD/WH

540

Battery Positive Voltage

3

0.8 D-GN

392

Rear Window Washer Pump Control

4

0.5 WH

1310

EVAP Canister Vent Solenoid Control

5

0.5 D-GN/WH

465

Fuel Pump Relay Control

6

0.8 BN

141

Ignition 3 Voltage

7

0.5 PK

639

Ignition 1 Voltage

8

0.8 L-BU

20

Stop Lamp Supply Voltage

9

2 PU

293

Rear Defog Element Supply Voltage

10

1 RD/WH

640

Battery Positive Voltage (KA1)

11

--

--

Not Used

12

0.5 BK/WH

251

Ground (LE5)

13

2 RD/BK

42

Battery Positive Voltage (HP5)

14

0.5 D-BU/WH

1315

Right Front Turn Signal Lamp Supply Voltage

15

0.5 WH

17

Stop Lamp Switch Signal

0.5 WH

17

Stop Lamp Switch Signal (HP5)

16

0.5 RD/WH

2140

Battery Positive Voltage

17

--

--

Not Used

18

1 RD/WH

440

Battery Positive Voltage

19

--

--

Not Used

20

0.35 YE

5530

Hood Open Switch Signal

21

0.35 BN/WH

419

MIL Control

22

0.35 D-BU

5985

Accessory Wakeup Serial Data

23

--

--

Not Used

24

3 RD/WH

240

Battery Positive Voltage

25

1 D-GN

95

Windshield Washer Switch Signal

26

--

--

Not Used

27

0.5 GY

589

DRL Resistor Supply Voltage

28

--

--

Not Used

29

0.8 D-BU/WH

1315

Right Front Turn Signal Lamp Supply Voltage

30

0.8 RD/WH

2140

Battery Positive Voltage

31

0.35 L-GN

5486

Run Relay Coil Control

32

1 PU

92

Windshield Wiper Motor High Speed

33

--

--

Not Used

34

0.8 L-BU/WH

1314

Left Front Turn Signal Lamp Supply Voltage

35

0.35 TN

860

Front Windshield Wiper Switch High Signal

36

0.35 TN/WH

1969

Headlamp High Beam Relay Control

37

3 RD/WH

3040

Battery Positive Voltage

38

0.35 TN

28

Horn Relay Control

39

0.5 OG

228

Windshield Washer Pump Control

40

--

--

Not Used

41

0.5 L-BU/WH

1314

Left Front Turn Signal Lamp Supply Voltage

42

0.5 OG

267

Heated Mirror/Rear Defog Relay Coil Supply Voltage

43

0.35 D-GN/WH

1317

Fog Lamp Relay Control

44

5 RD/WH

2040

Battery Positive Voltage

45

2 RD/WH

940

5-Volt Reference (U61)

46

0.35 WH

193

Rear Defog Relay Control

47

0.35 TN/WH

99

Windshield Washer Fluid Level Signal

48

6 RD/WH

140

Battery Positive Voltage

49

0.35 OG

267

Heated Mirror/Rear Defog Relay Coil Supply Voltage

50

0.35 OG

267

Heated Mirror/Rear Defog Relay Coil Supply Voltage

51

0.5 PU

709

Left Park Lamp Supply Voltage

52

--

--

Not Used

53

0.35 PK/WH

1970

Headlamp Low Beam Relay Control

54

0.5 WH

5065

Stop Lamp Relay Coil Supply Voltage

0.8 WH

5065

Stop Lamp Relay Coil Supply Voltage

55

0.35 PU

5531

Hood Closed Switch Signal

56

0.35 GY

91

Windshield Wiper Switch Signal 2

57

0.5 BN

5184

Left Trailer Park Lamp

58

0.35 D-BU

45

Park Lamp Supply Voltage

59

0.5 BN/WH

309

Right Park Lamp Supply Voltage

60

2 RD/WH

2140

Battery Positive Voltage

Fuse Block - Underhood X2


Object Number: 1835064  Size: CH

Connector Part Information

  • OEM: 13578267
  • Service: 19168036
  • Description: 56-Way F Hybrid (BK)

Terminal Part Information

  • Pins: 3, 5-9, 11-15, 17-18, 20-22, 25-27, 35-37, 41-42, 44-46, 50, 52, 54
  • Terminal/Tray: See Terminal Repair Kit
  • Core/Insulation Crimp: See Terminal Repair Kit
  • Release Tool/Test Probe: See Terminal Repair Kit
  • Pins: 1, 29, 47
  • Terminal/Tray: 1241406-1/17
  • Core/Insulation Crimp: F/G
  • Release Tool/Test Probe: J-38125-557/J-35616-42 (RD)
  • Pins: 56
  • Terminal/Tray: 1241408-1/28
  • Core/Insulation Crimp: A/B
  • Release Tool/Test Probe: J-38125-557/J-35616-42 (RD)

Fuse Block - Underhood X2

Pin

Wire

Circuit

Function

1

3 L-BU

409

Cooling Fan Motor Supply Voltage (LAT/LE5/LY7/LZ4)

2

--

--

Not Used

3

0.5 D-BU

473

High Speed Cooling Fan Relay Control (LAT/LE5/LY7/LZ4)

4

--

--

Not Used

5

1 PK/BK

5291

Ignition 1 Voltage

6

0.5 RD/WH

40

Battery Positive Voltage

0.5 RD/WH

40

Battery Positive Voltage (LY7 or LZ4)

7

0.5 D-GN

335

Low Speed Cooling Fan Relay Control (LCS)

8

0.5 PK/BK

5293

Powertrain Main Relay Fused Supply (3)

0.5 PK/BK

5293

Powertrain Main Relay Fused Supply (3) (LY7)

9

0.5 PK/BK

5293

Powertrain Main Relay Fused Supply (3)

0.5 PK/BK

5293

Powertrain Main Relay Fused Supply (3) (LCS)

10

--

--

Not Used

11

1 PK/BK

5292

Ignition 1 Voltage (LAT/LE5/LY7)

12

1 PK/BK

5292

Ignition 1 Voltage (LAT/LE5/LY7)

13

1 PK/BK

5291

Ignition 1 Voltage (LAT/LE5/LY7/LZ4)

14

1 PK/BK

5291

Ignition 1 Voltage (LY7)

15

0.5 RD/WH

40

Battery Positive Voltage

0.5 RD/WH

40

Battery Positive Voltage (LAT/LE5/LY7/LZ4)

16

--

--

Not Used

17

0.8 PK/BK

6341

Powertrain Relay Contact Signal

18

0.8 PK/BK

5293

Powertrain Main Relay Fused Supply (3)

0.5 PK/BK

5293

Powertrain Main Relay Fused Supply (3) (LY7/LZ4)

19

--

--

Not Used

20

1 PK/BK

5292

Ignition 1 Voltage (LAT/LE5/LY7/LZ4)

21

1 PK/BK

5292

Ignition 1 Voltage (LAT/LCS/LE5/LY7)

22

0.5 PK/BK

5291

Ignition 1 Voltage (LCS/LY7)

23-24

--

--

Not Used

25

0.5 BN/WH

419

MIL Control

26

0.5 D-BU

5985

Accessory Wakeup Serial Data

0.35 D-BU

5985

Accessory Wakeup Serial Data

27

0.5 PK/BK

5293

Powertrain Main Relay Fused Supply (3) (LCS/LY7/LZ4)

28

--

--

Not Used

29

3 GY

532

Cooling Fan Motor Supply Voltage (LAT/LE5/LY7/LZ4)

30-34

--

--

Not Used

35

0.5 PK

639

Ignition 1 Voltage

0.5 PK

639

Ignition 1 Voltage (LAT/LE5/LY7/LZ4)

36

0.5 WH

17

Stop Lamp Switch Signal

0.5 WH

17

Stop Lamp Switch Signal

37

0.5 YE

5991

Powertrain Relay Coil Control

38-40

--

--

Not Used

41

0.5 BK/WH

251

Ground (LE5)

42

0.5 D-GN/WH

465

Fuel Pump Relay Control

43

--

--

Not Used

44

0.5 PK

639

Ignition 1 Voltage

0.5 PK

639

Ignition 1 Voltage (LCS)

45

0.5 PU/WH

6386

Starter Enable Relay (PPEI 3) Control (LAT/LE5/LY7/LZ4)

46

0.5 D-GN/WH

459

A/C Compressor Clutch Relay Control (LAT/LE5/LY7/LZ4)

47

3 WH

504

Cooling Fan Low Reference (LY7/LZ4)

48-49

--

--

Not Used

50

0.5 WH

1310

EVAP Canister Vent Solenoid Control

51

--

--

Not Used

52

0.5 D-GN

59

A/C Compressor Clutch Supply Voltage (LAT/LE5/LY7/LZ4)

53

0.5 PK

639

Run/Crank Ignition 1 Voltage (LAT/LE5)

54

0.5 BK/WH

251

Ground (LAT/LE5/LY7/LZ4)

55

--

--

Not Used

56

2 PU

6

Starter Solenoid Crank Voltage (LAT/LE5/LY7/LZ4)

Fuse Block - Underhood X3


Object Number: 1835064  Size: CH

Connector Part Information

  • OEM: 13583217
  • Service: 19178164
  • Description: 56-Way F 2.8 MCP 6.3 MCP (GY)

Terminal Part Information

  • Pins: 3-4, 11, 20, 27, 31, 34-37, 41-43, 45-46, 50-51, 55
  • Terminal/Tray: See Terminal Repair Kit
  • Core/Insulation Crimp: See Terminal Repair Kit
  • Release Tool/Test Probe: See Terminal Repair Kit
  • Pins: 10
  • Terminal/Tray: 1241406-1/17
  • Core/Insulation Crimp: F/G
  • Release Tool/Test Probe: J-38125-557/J-35616-42 (RD)

Fuse Block - Underhood X3

Pin

Wire

Circuit

Function

1-2

--

--

Not Used

3

0.5 PU

34

Fog Lamps Supply Voltage (T37/T96)

4

0.5 D-GN/WH

711

Left Headlamp High Beam Supply Voltage

5-9

--

--

Not Used

10

3 BK

150

Ground

11

0.5 PU

709

Left Park Lamp Supply Voltage

12-19

--

--

Not Used

20

0.5 BN/WH

309

Right Park Lamp Supply Voltage

0.5 BN/WH

309

Right Park Lamp Supply Voltage

21-26

--

--

Not Used

27

0.5 YE

712

Left Headlamp Low Beam Supply Voltage

28-30

--

--

Not Used

31

0.5 L-BU/WH

1314

Left Front Turn Signal Lamp Supply Voltage

32-33

--

--

Not Used

34

0.5 GY

589

DRL Resistor Supply Voltage

35

0.5 D-GN

29

Horn Control

36

0.5 D-GN

29

Horn Control

37

0.5 TN/WH

312

Right Headlamp Low Beam Supply Voltage

38-40

--

--

Not Used

41

0.5 D-BU/WH

1315

Right Front Turn Signal Lamp Supply Voltage

42

0.35 TN/WH

99

Windshield Washer Fluid Level Signal

43

0.5 OG

228

Windshield Washer Pump Control

44

--

--

Not Used

45

0.35 YE

5530

Hood Open Switch Signal

46

0.5 L-GN/BK

311

Right Headlamp High Beam Supply Voltage

47-49

--

--

Not Used

50

0.35 PU

5531

Hood Closed Switch Signal

51

0.8 D-GN

392

Rear Window Washer Pump Control

52-54

--

--

Not Used

55

0.5 GY

589

DRL Resistor Supply Voltage

56

--

--

Not Used

Fuse Block - Underhood X4 (Battery Positive Cable) (with HP5)

Terminal Part Information

  • Harness: Battery Positive Cable
  • Terminal: 12160991
  • Core/Insulation Crimp: N/A
  • Description: Ring Terminal

Fuse Block - Underhood X4 (Battery Positive Cable) (with HP5)

Pin

Wire

Circuit

Function

+

19 RD/BK

2

Battery Positive Voltage

32 RD/BK

2

Battery Positive Voltage -- Fuse Block - Auxiliary

Fuse Block - Underhood X4 (Battery Positive Cable) (without HP5)

Terminal Part Information

  • Harness: Battery Positive Cable
  • Terminal: 12160991
  • Core/Insulation Crimp: N/A
  • Description: Ring Terminal

Fuse Block - Underhood X4 (Battery Positive Cable) (without HP5)

Pin

Wire

Circuit

Function

+

19 RD

1

Battery Positive Voltage

8 RD

1

Battery Positive Voltage -- Electric Power Steering (LE5)

Fuse Block - Underhood X5 (with HP5)

Terminal Part Information

  • Harness: Battery Positive Cable
  • Terminal: 12160991
  • Core/Insulation Crimp: N/A
  • Description: Ring Terminal

Fuse Block - Underhood X5 (with HP5)

Pin

Wire

Circuit

Function

+

19 RD/BK

2

Battery Positive Voltage - Accessory DC Power Control Module

Fuse Block - I/P Label


Object Number: 1950000  Size: MF

Fuse Block - I/P Label Usage

Device

Rating

Description

AIRBAG Fuse

10A

Inflatable Restraint I/P Module Indicator (AOS), Inflatable Restraint Sensing and Diagnostic Module (SDM)

AIRBAG Fuse

10A

Inflatable Restraint Sensing and Diagnostic Module (SDM),

AIRCON Fuse

15A

Data Link Connector (DLC), FATC/AIR CON, Rear Seat Audio, Rear Seat Entertainment, XM Radio Receiver

APO1 Fuse

20A

Accessory Power Outlet - Center Console

APO2

20A

Accessory Power Outlet - Rear

AUDIO Fuse

15A

Remote Control Door Lock Receiver (RCDLR), Security LED, Universal Garage Door Opener (UGDO)

BCM (VB1) Fuse

10A

Body Control Module (BCM)

BCM (VB2) Fuse

10A

BCM (INADVERT/CTSY LMP PWR)

BCM (VB3) Fuse

10A

BCM (LH TURNHZD)

BCM (VB4) Fuse

10A

BCM (BACKUP/STOP)

BCM (VB5) Fuse

10A

BCM (Courtesy lamps, WASHER PUMP)

BCM (VB6) Fuse

10A

BCM (RH TURN/HZD)

BCM (VB7) Fuse

10A

BCM (DIM PWR)

CIGAR Fuse

20A

Cigar Lighter

CLUSTER Fuse

10A

Instrument Cluster, AOS Display

DRL Fuse

15A

HDLP Low Relay

DR LCK Fuse

25A

Door Lock Motor

ECM/TCM Fuse

10A

Engine Control Module (ECM), Transmission Control Module (TCM), FRT Fog Relay

F/DR LCK Fuse

15A

Front Driver Door Lock

FSCM Fuse

10A

Fuel System Control Module

FSCM Fuse

20A

Fuel System Control Module

IGN SW Fuse

2A

Ignition Switch, Immobilizer

ISRVM Fuse

10A

Inside Rearview Mirror, Rain Sensor

KEY CAP Fuse

10A

Key Capture Solenoid, Park Switch

ONSTAR Fuse

10A

Radio, Instrument Cluster, ONSTAR Module

OSRVM Fuse

2A

Outside Rearview Mirror Switch

DRIV P/WINFuse

20A

Driver Side Power Window

PASS P/WIN Fuse

30A

Passenger Side Power Window

PWR SEAT Fuse

20A

Power Seat

RR CLR Fuse

10A

Liftgate Latch Assembly Power Release

S/ROOF Fuse

10A

Sunroof Module

TRL Fuse

15A

Trailer Stop/Turn Module

WASHER Fuse

10A

Washer Pump

WHL SW Fuse

2 A

Steering Wheel Switch

Spare Fuse

  

Spare Fuse

  

Spare Fuse

  

Spare Fuse

  

Fuse Puller

 

Fuse Remover

RELAYS

  

ACC/RAP Relay

--

KEY CAP, OSRVM, DRIV PWR WIN , PASS PWR WIN and S/ROOF Fuses

DRL Relay

--

HDLP LO Relay

DR LOCK Relay

--

Door Lock Motor Control

DR UNLOCK Relay

--

Door Unlock Motor

F/DR LCK Relay

--

Front Driver Door Lock, Fuel Door Actuator

FRT WASHER PUMP Relay

--

Front Washer Pump

REAR CLOSURE Relay

--

Rear Closure Fuse

RUN/CRANK Relay

--

Airbag, Cluster, ECM/TCM, FSCM, ISRVM Fuses

Fuse Block - I/P Top View


Object Number: 1938198  Size: MF

Fuse Block - I/P Bottom View


Object Number: 1938216  Size: MF

Fuse Block - I/P X1


Object Number: 1835062  Size: CH

Connector Part Information

  • OEM: 13579292
  • Service: 19178200
  • Description: 60-Way F Hybrid (GY)

Terminal Part Information

  • Pins: 1, 44, 52
  • Terminal/Tray: 1241408-1/28
  • Core/Insulation Crimp: A/B
  • Release Tool/Test Probe: J-38125-557/J-35616-42 (RD)
  • Pins: 3-8, 11, 13-21, 23-25, 28, 31-34, 36- 37, 39, 42-43, 45-51, 54-58
  • Terminal/Tray: See Terminal Repair Kit
  • Core/Insulation Crimp: See Terminal Repair Kit
  • Release Tool/Test Probe: See Terminal Repair Kit

Fuse Block - I/P X1

Pin

Wire

Circuit

Function

1

2 YE

643

Accessory Voltage

2

--

--

Not Used

3

0.35 TN

28

Horn Relay Control

4

0.5 GY

589

DRL Resistor Supply Voltage

5

0.35 L-BU

1344

Trunk Release Relay Control

6

0.35 BN

253

Trunk Release Relay Control

7

--

--

Not Used

8

0.35 BN

41

Ignition 3 Voltage (KA1)

0.35 BN

41

Ignition 3 Voltage (KA1)

9-10

--

--

Not Used

11

0.35 TN

28

Horn Relay Control

12

--

--

Not Used

13

5 RD/WH

2040

Battery Positive Voltage

14

0.8 RD/WH

3140

Battery Positive Voltage

15

0.5 RD/WH

1840

Battery Positive Voltage (U2K)

16

0.35 BN

41

Ignition 3 Voltage (AE8)

17

2 YE

743

Accessory Voltage

2 YE

743

Accessory Voltage

18

0.35 PK

239

Ignition 1 Voltage

19

0.5 PK

339

Ignition 1 Voltage

0.5 PK

339

Ignition 1 Voltage (HP5)

20

0.5 OG

228

Windshield Washer Pump Control

21

0.8 RD/WH

1240

Battery Positive Voltage

22

--

--

Not Used

23

0.5 L-BU

6128

Rear Closure Unlatch Motor Unlatch Control

24

0.8 BN

141

Ignition 3 Voltage

25

0.35 YE

5199

Run/Crank Relay Coil Control

26-27

--

--

Not Used

28

0.8 RD/WH

1340

Battery Positive Voltage

29-30

--

--

Not Used

31

0.35 TN

755

RAP Relay Coil Control

32

0.5 PK

639

Ignition 1 Voltage

33

0.35 L-GN/BK

592

DRL Relay Control

34

0.8 RD/WH

1440

Battery Positive Voltage

35

--

--

Not Used

36

0.5 RD/WH

1940

Battery Positive Voltage (CE1)

37

0.8 RD/WH

2640

Battery Positive Voltage

38

--

--

Not Used

39

0.8 RD/WH

2840

Battery Positive Voltage

40-41

--

--

Not Used

42

0.8 RD/WH

1540

Battery Positive Voltage

43

0.35 OG

2268

Windshield Washer Relay Control

44

2 RD/WH

2940

Battery Positive Voltage

45

0.35 YE

143

Accessory Voltage

0.35 YE

143

Accessory Voltage (HP5)

46

0.5 YE

343

Accessory Voltage

47

0.5 GY

295

Door Lock Actuator Lock Control

48

6 RD/WH

140

Battery Positive Voltage

49

0.5 TN

294

Door Lock Actuator Unlock Control

50

0.5 RD/WH

2540

Battery Positive Voltage

51

0.8 RD/WH

2740

Battery Positive Voltage

52

2 RD/WH

440

Battery Positive Voltage (AE8)

53

--

--

Not Used

54

0.35 L-BU

5921

Driver Door Unlock Relay Control

55

0.5 TN

694

Driver Door Lock Actuator Unlock Control

56

0.35 L-BU

195

Door Lock Control

57

0.8 BK

450

Ground

58

0.35 WH

194

Door Unlock Control

59-60

--

--

Not Used

Fuse Block - I/P X2


Object Number: 1835062  Size: CH

Connector Part Information

  • OEM: 13580437
  • Service: 19178204
  • Description: 60-Way F MCP 6.3 MCP 9.5 MCP (BK)

Terminal Part Information

  • Terminal/Tray: See Terminal Repair Kit
  • Core/Insulation Crimp: See Terminal Repair Kit
  • Release Tool/Test Probe: See Terminal Repair Kit

Fuse Block - I/P X2

Pin

Wire

Circuit

Function

1-2

--

--

Not Used

3

0.35 YE

1491

Backlight Lamps Control

4

0.35 YE/BK

9088

Steering Wheel Controls Dimming Power

5-9

--

--

Not Used

10

0.35 PK

439

Ignition 1 Voltage

11

0.35 PK

139

Ignition 1 Voltage

12-13

--

--

Not Used

14

0.35 RD/WH

740

Battery Positive Voltage

15

0.5 RD/WH

740

Battery Positive Voltage

16-17

--

--

Not Used

18

0.35 YE

243

Accessory Voltage (ME7/MH2/MH4/MN5)

19-21

--

--

Not Used

22

0.35 RD/WH

1740

Battery Positive Voltage

23-24

--

--

Not Used

25

0.35 PK

139

Ignition 1 Voltage

26-28

--

--

Not Used

29

0.35 RD/WH

1740

Battery Positive Voltage

30

0.8 RD/WH

1040

Battery Positive Voltage

31-34

--

--

Not Used

35

--

--

Not Used

36

0.8 RD/WH

1640

Battery Positive Voltage

37-40

--

--

Not Used

41

0.5 RD/WH

1940

Battery Positive Voltage

42

0.8 RD/WH

1140

Battery Positive Voltage

43

1 Rd/WH

2540

Battery Positive Voltage

0.5 RD/WH

2540

Battery Positive Voltage

44-49

--

--

Not Used

50

0.5 RD/WH

1840

Battery Positive Voltage

51

0.5 BN

41

Ignition 3 Voltage

52-53

--

--

Not Used

54

0.35 TN

28

Horn Relay Control

55-56

--

--

Not Used

57

0.5 RD/WH

1940

Battery Positive Voltage

58

0.5 RD/WH

1840

Battery Positive Voltage

59

0.5 BN

41

Ignition 3 Voltage

60

--

--

Not Used

Inline Fuse - Electric Power Steering (EPS) (LAT/LE5)


Object Number: 1743144  Size: CH

Connector Part Information

  • OEM: E-5972-002
  • Service: See Catalog
  • Description: 2-Way Mini Fuse Connector, Sealed (BK)

Terminal Part Information

  • Terminal/Tray: See Terminal Repair Kit
  • Core/Insulation Crimp: See Terminal Repair Kit
  • Release Tool/Test Probe: See Terminal Repair Kit

Inline Fuse - Electric Power Steering (EPS) (LAT/LE5)

Pin

Wire

Circuit

Function

1

8 RD

1

Battery Positive Voltage

2

8 RD/BK

42

Battery Positive Voltage

Junction Block - Battery Positive Cable (HP7)

Terminal Part Information

  • Terminal: 15336662
  • Core/Insulation Crimp: N/A
  • Description: Battery Terminal

Junction Block - Battery Positive Cable (HP7)

Pin

Wire

Circuit

Function

+

32 RD

1

Battery Positive Voltage

8 RD

1

Battery Positive Voltage