GM Service Manual Online
For 1990-2009 cars only

Removal Procedure


    Object Number: 2034008  Size: SH
  1. Disconnect the hybrid battery. Refer to Hybrid Battery Service Disconnect/Connect .
  2. Remove the battery. Refer to Battery Replacement
  3. Remove the radiator surge tank. Refer to Radiator Surge Tank Replacement .
  4. Remove the carbon canister. Refer to Evaporative Emission Canister Replacement .
  5. Caution: To help avoid personal injury, additional precautions must be taken prior to working on the generator control module or the generator starter. After removing the 36V battery cables from the generator battery, remove both engine wiring harness connectors from the generator control module. Wait at least 5 minutes and then remove the generator control module cover. Verify voltage levels at all 36V, 12V, and 3-phase connections, are less than 3 volts using a DMM before proceeding.

  6. Remove and discard the 36-volt positive battery cable lead nut (1).
  7. Remove the wiring harness ground nut (2).
  8. Reposition the 36-volt positive battery cable leads (3) out of the way.

  9. Object Number: 1998181  Size: SH
  10. Remove the generator control module cover bolts (1) and cover (2).

  11. Object Number: 1998192  Size: SH

    Caution: To help avoid personal injury, additional precautions must be taken prior to working on the generator control module or the generator starter. After removing the 36V battery cables from the generator battery, remove both engine wiring harness connectors from the generator control module. Wait at least 5 minutes and then remove the generator control module cover. Verify voltage levels at all 36V, 12V, and 3-phase connections, are less than 3 volts using a DMM before proceeding.

  12. Check the generator control module for voltage potential, in order to ensure the module has been disabled.
  13. 9.1. Measure from the 36-volt positive terminal (3) to a known good chassis ground. The voltage should be less than 3 volts.
    9.2. Measure from the 12-volt positive terminal (4) to a known good chassis ground. The voltage should be less than 3 volts.
    9.3. Measure from the ground terminal (2) to a known good chassis ground, checking for continuity.

    Caution: To help avoid personal injury, always treat the 3-phase cable and connectors as if voltage is present and as if the surface of all parts of the cable is hot.

  14. Verify the generator control module 3-phase cables are disabled.
  15. 10.1. Measure from each phase 1, 2 and 3 connection (1) to a known good chassis ground. The voltage should be less than 3 volts.
    10.2. After verifying there is no voltage present, the generator control module 3-phase cables can now be removed from the generator control module.
    10.3. If 3 volts or more are present, repeat the disconnect procedure. Refer to Hybrid Battery Service Disconnect/Connect .

    Object Number: 1999027  Size: SH
  16. Remove the 36-volt battery positive cable nut (1) and bolt (2).
  17. Remove the 36-volt battery positive cable (3).

  18. Object Number: 1999167  Size: SH
  19. Disconnect the plastic retainer clip (1).
  20. Remove the 36 volt battery positive cable nut (2).
  21. Raise and support the vehicle. Refer to Lifting and Jacking the Vehicle .
  22. Remove the 36 volt battery positive cable nut (3).

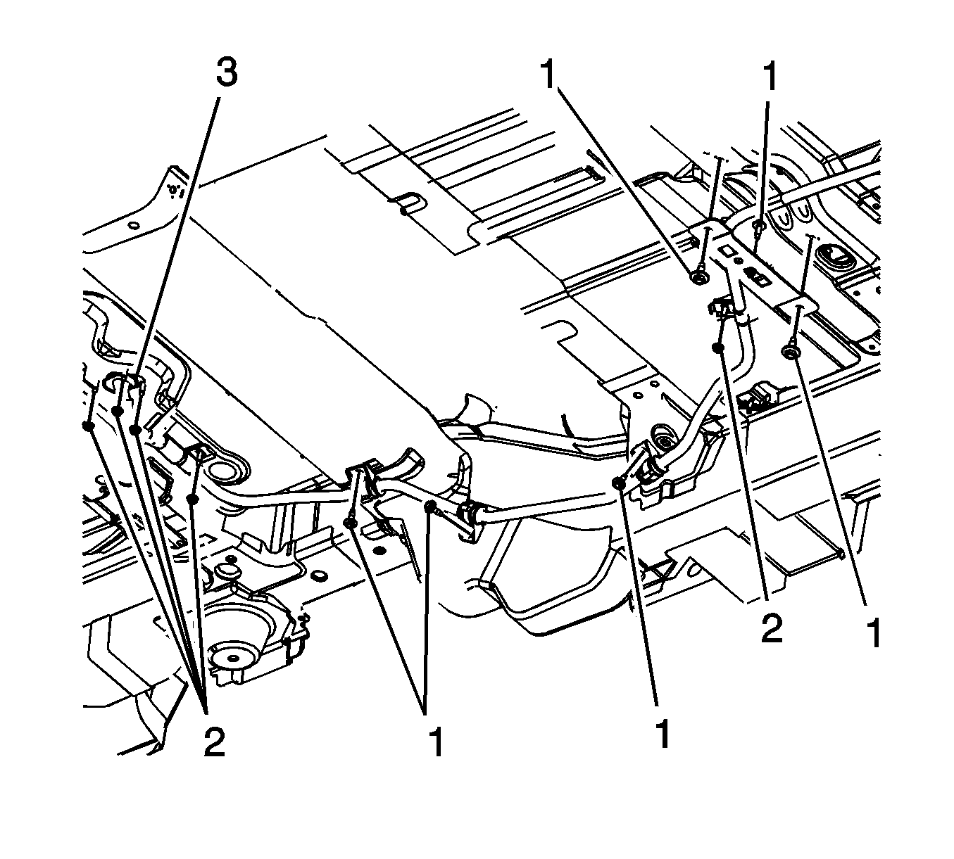
  23. Object Number: 1999169  Size: SH
  24. Remove the 36-volt battery positive bolts (1).

  25. Object Number: 1999233  Size: SH
  26. Remove the 36-volt battery positive bolts (1) and nuts (2).
  27. Squeeze the rubber grommet (3) from the top of the vehicle and push the 36-volt battery positive cable out.

Installation Procedure

    Notice: Refer to Fastener Notice in the Preface section.


    Object Number: 1999233  Size: SH
  1. Install the 36-volt positive battery cable grommet (3), bolts (1) and nuts (2).
  2. Tighten
    Tighten the nuts/bolts to 10 N·m (89 lb in).


    Object Number: 1999169  Size: SH
  3. Install the 36-volt battery positive bolts (1).
  4. Tighten
    Tighten the bolts to 10 N·m (89 lb in).


    Object Number: 1999167  Size: SH
  5. Install the 36-volt battery positive nut (3) from underneath the vehicle.
  6. Install the 36-volt battery positive nut (2).
  7. Connect the plastic retainer clip (1).
  8. Tighten
    Tighten the nuts to 10 N·m (89 lb in).


    Object Number: 1999027  Size: SH
  9. Install the 36-volt battery positive cable (3).
  10. Install the 36-volt battery positive nut (1) and bolt (2).
  11. Tighten
    Tighten the nuts/bolts to 10 N·m (89 lb in).


    Object Number: 1998181  Size: SH
  12. Install the generator control module cover bolts (1) and cover (2).
  13. Tighten
    Tighten the bolt to 10 N·m (89 lb in).


    Object Number: 2034008  Size: SH
  14. Install the 36-volt battery positive cable leads (3).
  15. Install the wiring harness ground nut (2).
  16. Tighten
    Tighten to 10 N·m (89 lb in).

  17. Install a new 36-volt battery positive cable lead nut (1).
  18. Tighten
    Tighten to 10 N·m (89 lb in).

  19. Install the carbon canister. Refer to Evaporative Emission Canister Replacement .
  20. Install the radiator surge tank. Refer to Radiator Surge Tank Replacement .
  21. Connect the hybrid battery. Refer to Hybrid Battery Service Disconnect/Connect .