GM Service Manual Online
For 1990-2009 cars only
Connector 1: 1-2 Shift Solenoid (1-2 SS) Valve (ME7/MN5)
Connector 2: 2-3 Shift Solenoid (2-3 SS) Valve (ME7/MN5)
Connector 3: 4-3 Shift Solenoid (4-3 SS) Valve (ME7)
Connector 4: A/C Compressor Clutch (HP7)
Connector 5: A/C Compressor Clutch (without HP7)
Connector 6: A/C Refrigerant Pressure Sensor
Connector 7: Accelerator Pedal Position (APP) Sensor
Connector 8: Accent Lamp - Driver Seat (C2B)
Connector 9: Accent Lamp - Passenger Seat (C2B)
Connector 10: Accessory Power Outlet - Center Console
Connector 11: Accessory Power Outlet -- Front
Connector 12: Accessory Power Outlet - Rear
Connector 13: Air Temperature Actuator (C67)
Connector 14: Air Temperature Actuator (C68)
Connector 15: Air Temperature Sensor Assembly - Inside (C68)
Connector 16: Air Temperature Sensor - Lower (C68)
Connector 17: Air Temperature Sensor - Upper (C68)
Connector 18: Ambient Air Temperature Sensor (C68)
Connector 19: Ambient Light Sensor (C67)
Connector 20: Automatic Transmission Auxiliary Fluid Pump (HP7)
Connector 21: Automatic Transmission Auxiliary Fluid Pump Control Module (HP7)
Connector 22: Automatic Transmission Fluid Pressure (TFP) Manual Valve Position Switch (ME7/MN5)
Connector 23: Automatic Transmission Input Shaft Speed (ISS) Sensor (ME7/MN5)
Connector 24: Automatic Transmission Internal Mode Switch (IMS) (MH2/MH4)
Connector 25: Automatic Transmission Output Shaft Speed (OSS) Sensor
Connector 26: Automatic Transmission Shift Lever
Connector 27: Automatic Transmission Shift Lever Position Indicator
Connector 28: Backup Lamp - Left
Connector 29: Backup Lamp - Right
Connector 30: Battery Current Sensor - 42 Volt (HP7)
Connector 31: Battery Current Sensor
Connector 32: Battery - (without HP7)
Connector 33: Battery - X1 (HP7)
Connector 34: Battery - X2 (HP7)
Connector 35: Battery + (without HP7)
Connector 36: Battery + X1 (HP7)
Connector 37: Battery + X2 (HP7)
Connector 38: Blower Motor
Connector 39: Blower Motor Control Module X1
Connector 40: Blower Motor Control Module X2
Connector 41: Body Control Module (BCM) X1
Connector 42: Body Control Module (BCM) X2
Connector 43: Body Control Module (BCM) X3
Connector 44: Body Control Module (BCM) X4
Connector 45: Body Control Module (BCM) X5
Connector 46: Body Control Module (BCM) X6
Connector 47: Body Control Module (BCM) X7
Connector 48: Brake Booster Vacuum Sensor (HP7)
Connector 49: Brake Fluid Level Switch (HP7)
Connector 50: Brake Fluid Level Switch (without HP7)
Connector 51: Brake Fluid Pressure Sensor (HP7)
Connector 52: Camshaft Position (CMP) Actuator Solenoid Valve - Bank 1 Exhaust (LY7)
Connector 53: Camshaft Position (CMP) Actuator Solenoid Valve - Bank 1 Intake (LY7)
Connector 54: Camshaft Position (CMP) Actuator Solenoid Valve - Bank 2 Exhaust (LY7)
Connector 55: Camshaft Position (CMP) Actuator Solenoid Valve - Bank 2 Intake (LY7)
Connector 56: Camshaft Position (CMP) Actuator Solenoid Valve - Exhaust (LAT/LE5)
Connector 57: Camshaft Position (CMP) Actuator Solenoid Valve - Intake (LAT/LE5)
Connector 58: Camshaft Position (CMP) Actuator Solenoid Valve (LZ4)
Connector 59: Camshaft Position (CMP) Sensor - Bank 1 Exhaust (LY7)
Connector 60: Camshaft Position (CMP) Sensor - Bank 1 Intake (LY7)
Connector 61: Camshaft Position (CMP) Sensor - Bank 2 Exhaust (LY7)
Connector 62: Camshaft Position (CMP) Sensor - Bank 2 Intake (LY7)
Connector 63: Camshaft Position (CMP) Sensor - Exhaust (LAT/LE5)
Connector 64: Camshaft Position (CMP) Sensor - Intake (LAT/LE5)
Connector 65: Camshaft Position (CMP) Sensor (LZ4)
Connector 66: Cellular Telephone Microphone (UE1)
Connector 67: Center High Mounted Stop Lamp (CHMSL)
Connector 68: Courtesy Lamp - Left Front Door
Connector 69: Courtesy Lamp - Right Front Door
Connector 70: Courtesy/Reading Lamp - Front
Connector 71: Courtesy/Reading Lamp
Connector 72: Crankshaft Position (CKP) Sensor (LAT)
Connector 73: Crankshaft Position (CKP) Sensor (LE5)
Connector 74: Crankshaft Position (CKP) Sensor (LY7)
Connector 75: Crankshaft Position (CKP) Sensor (LZ4)
Connector 76: Data Link Connector (DLC)
Connector 77: Digital Radio Receiver (U2K)
Connector 78: Door Latch - Driver
Connector 79: Door Latch - Left Rear
Connector 80: Door Latch - Passenger
Connector 81: Door Latch - Right Rear
Connector 82: Door Lock Switch - Driver
Connector 83: Driver Information Center (DIC)
Connector 84: Electric Power Steering (EPS) Module X1 (LAT/LE5)
Connector 85: Electric Power Steering (EPS) Module X2 (LAT/LE5)
Connector 86: Electric Power Steering (EPS) Module X3 (LAT/LE5)
Connector 87: Electric Power Steering (EPS) Module X4 (LAT/LE5)
Connector 88: Electric Power Steering (EPS) Module X5 (LAT/LE5)
Connector 89: Electronic Brake Control Module (EBCM)
Connector 90: Electronic Compass Module (RCM)
Connector 91: Engine Control Module (ECM) X1 (LAT)
Connector 92: Engine Control Module (ECM) X1 (LE5)
Connector 93: Engine Control Module (ECM) X1 (LY7)
Connector 94: Engine Control Module (ECM) X1 (LZ4)
Connector 95: Engine Control Module (ECM) X2 (LAT)
Connector 96: Engine Control Module (ECM) X2 (LE5)
Connector 97: Engine Control Module (ECM) X2 (LY7)
Connector 98: Engine Control Module (ECM) X2 (LZ4)
Connector 99: Engine Control Module (ECM) X3 (LAT)
Connector 100: Engine Control Module (ECM) X3 (LY7)
Connector 101: Engine Coolant Temperature (ECT) Sensor (LAT/LE5/LZ4)
Connector 102: Engine Coolant Temperature (ECT) Sensor (LY7)
Connector 103: Engine Cooling Fan (LAT)
Connector 104: Engine Cooling Fan - Left (LE5/LY7/LZ4)
Connector 105: Engine Cooling Fan - Right (LE5/LY7/LZ4)
Connector 106: Engine Cooling Fan Resistor (LAT)
Connector 107: Engine Oil Pressure (EOP) Sensor (LZ4)
Connector 108: Engine Oil Pressure (EOP) Switch (LAT/LE5)
Connector 109: Engine Oil Pressure (EOP) Switch (LY7)
Connector 110: Evaporative Emissions (EVAP) Canister Purge Solenoid Valve (LAT/LE5/LZ4)
Connector 111: Evaporative Emissions (EVAP) Canister Purge Solenoid Valve (LY7)
Connector 112: Evaporative Emissions (EVAP) Canister Vent Solenoid Valve
Connector 113: Fog Lamp - Left Front (T37)
Connector 114: Fog Lamp - Left Front (T96)
Connector 115: Fog Lamp - Right Front (T37)
Connector 116: Fog Lamp - Right Front (T96)
Connector 117: Fuel Door Release Actuator
Connector 118: Fuel Injector 1 (LAT)
Connector 119: Fuel Injector 1 (LE5)
Connector 120: Fuel Injector 1 (LY7)
Connector 121: Fuel Injector 1 (LZ4)
Connector 122: Fuel Injector 2 (LAT)
Connector 123: Fuel Injector 2 (LE5)
Connector 124: Fuel Injector 2 (LY7)
Connector 125: Fuel Injector 2 (LZ4)
Connector 126: Fuel Injector 3 (LAT)
Connector 127: Fuel Injector 3 (LE5)
Connector 128: Fuel Injector 3 (LY7)
Connector 129: Fuel Injector 3 (LZ4)
Connector 130: Fuel Injector 4 (LAT)
Connector 131: Fuel Injector 4 (LE5)
Connector 132: Fuel Injector 4 (LY7)
Connector 133: Fuel Injector 4 (LZ4)
Connector 134: Fuel Injector 5 (LY7)
Connector 135: Fuel Injector 5 (LZ4)
Connector 136: Fuel Injector 6 (LY7)
Connector 137: Fuel Injector 6 (LZ4)
Connector 138: Fuel Level Sensor - Primary/Fuel Pump Motor
Connector 139: Fuel Level Sensor - Secondary
Connector 140: Fuel Pressure Sensor
Connector 141: Fuel Pump Flow Control Module
Connector 142: Fuel Tank Pressure (FTP) Sensor
Connector 143: Garage Door Opener (GDO) (UG1)
Connector 144: Generator X1 (LE5/LY7/LZ4)
Connector 145: Generator X2 (LE5/LY7/LZ4)
Connector 146: Generator Battery Assembly X1 (HP7)
Connector 147: Generator Battery Assembly X2 (HP7)
Connector 148: Generator Battery 1 X1 (HP7)
Connector 149: Generator Battery 1 X2 (HP7)
Connector 150: Generator Battery 2 X1 (HP7)
Connector 151: Generator Battery 2 X2 (HP7)
Connector 152: Generator Battery 3 X1 (HP7)
Connector 153: Generator Battery 3 X2 (HP7)
Connector 154: Generator Battery Disconnect Control Module X1 (HP7)
Connector 155: Generator Battery Disconnect Control Module X2 (HP7)
Connector 156: Generator Battery Main Contactor Relay X1 (HP7)
Connector 157: Generator Battery Main Contactor Relay X2 (HP7)
Connector 158: Generator Battery Main Contactor Relay X3 (HP7)
Connector 159: Generator Battery Temperature Sensor 1 (HP7)
Connector 160: Generator Battery Temperature Sensor 2 (HP7)
Connector 161: Generator Battery Temperature Sensor 3 (HP7)
Connector 162: Generator Battery Vent Fan (HP7)
Connector 163: Headlamp - Left High Beam
Connector 164: Headlamp - Left Low Beam
Connector 165: Headlamp - Right High Beam
Connector 166: Headlamp - Right Low Beam
Connector 167: Headlamp Switch
Connector 168: Heated Oxygen Sensor (HO2S) 1 (LAT/LE5)
Connector 169: Heated Oxygen Sensor (HO2S) 2 (LAT/LE5)
Connector 170: Heated Oxygen Sensor (HO2S) Bank 1 Sensor 1 (LY7/LZ4)
Connector 171: Heated Oxygen Sensor (HO2S) Bank 1 Sensor 2 (LY7)
Connector 172: Heated Oxygen Sensor (HO2S) Bank 1 Sensor 2 (LZ4)
Connector 173: Heated Oxygen Sensor (HO2S) Bank 2 Sensor 1 (LY7/LZ4)
Connector 174: Heated Oxygen Sensor (HO2S) Bank 2 Sensor 2 (LY7)
Connector 175: Heated Oxygen Sensor (HO2S) Bank 2 Sensor 2 (LZ4)
Connector 176: Heated Seat Control Module - Driver (KA1)
Connector 177: Heated Seat Control Module - Passenger (KA1)
Connector 178: Heated Seat Element - Driver X1 (KA1)
Connector 179: Heated Seat Element - Driver Back X2 (KA1)
Connector 180: Heated Seat Element - Passenger X1 (KA1)
Connector 181: Heated Seat Back Element - Passenger X2 (KA1)
Connector 182: Heated Seat Switch - Driver (KA1)
Connector 183: Heated Seat Switch - Passenger (KA1)
Connector 184: Heated Washer Nozzle - Left (XA7)
Connector 185: Heated Washer Nozzle - Right (XA7)
Connector 186: Heater Coolant Pump (HP7)
Connector 187: Hill Hold Brake Delay Valve (HP7)
Connector 188: Hood Ajar Switch (AP3)
Connector 189: Horn - Left
Connector 190: Horn - Right
Connector 191: Horn Switch X1
Connector 192: Horn Switch X2
Connector 193: HVAC Control Module X1 (C67)
Connector 194: HVAC Control Module X1 (C68)
Connector 195: HVAC Control Module X2
Connector 196: HVAC Control Module X3 (C67)
Connector 197: HVAC Control Module X3 (C68)
Connector 198: Ignition Coil 1 (LAT)
Connector 199: Ignition Coil 1 (LE5)
Connector 200: Ignition Coil 1 (LY7)
Connector 201: Ignition Coil 2 (LAT)
Connector 202: Ignition Coil 2 (LE5)
Connector 203: Ignition Coil 2 (LY7)
Connector 204: Ignition Coil 3 (LAT)
Connector 205: Ignition Coil 3 (LE5)
Connector 206: Ignition Coil 3 (LY7)
Connector 207: Ignition Coil 4 (LAT)
Connector 208: Ignition Coil 4 (LE5)
Connector 209: Ignition Coil 4 (LY7)
Connector 210: Ignition Coil 5 (LY7)
Connector 211: Ignition Coil 6 (LY7)
Connector 212: Ignition Control Module (ICM) (LZ4)
Connector 213: Ignition Lock Cylinder Control Solenoid (LAT/LE5)
Connector 214: Ignition Switch (LAT/LE5)
Connector 215: Ignition Switch (LY7/LZ4)
Connector 216: Ignition Switch Lamp (LY7/LZ4)
Connector 217: Inflatable Restraint Front End Sensor - Left
Connector 218: Inflatable Restraint Front End Sensor - Right
Connector 219: Inflatable Restraint I/P Module
Connector 220: Inflatable Restraint Passenger Presence System (PPS) Module
Connector 221: Inflatable Restraint Roof Rail Module - Left
Connector 222: Inflatable Restraint Roof Rail Module - Right
Connector 223: Inflatable Restraint Sensing and Diagnostic Module (SDM) (with APL/ATY)
Connector 224: Inflatable Restraint Sensing and Diagnostic Module (SDM) (without APL/ATY)
Connector 225: Inflatable Restraint Side Impact Module - Left
Connector 226: Inflatable Restraint Side Impact Module - Right
Connector 227: Inflatable Restraint Side Impact Sensor (SIS) - Left
Connector 228: Inflatable Restraint Side Impact Sensor (SIS) - Right
Connector 229: Inflatable Restraint Steering Wheel Module X1
Connector 230: Inflatable Restraint Steering Wheel Module X2
Connector 231: Inflatable Restraint Steering Wheel Module Coil X1
Connector 232: Inflatable Restraint Steering Wheel Module Coil X2
Connector 233: Inflatable Restraint Steering Wheel Module Coil X3
Connector 234: Inflatable Restraint Vehicle Rollover Sensor
Connector 235: Inside Rearview Mirror (ISRVM) - Early Production
Connector 236: Inside Rearview Mirror (ISRVM) - Late Production
Connector 237: Instrument Panel Cluster (IPC)
Connector 238: I/P Compartment Lamp
Connector 239: I/P Compartment Lamp Switch
Connector 240: Knock Sensor (KS) (LAT/LE5)
Connector 241: Knock Sensor 1 (LY7)
Connector 242: Knock Sensor 2 (LY7)
Connector 243: Knock Sensor 1 (LZ4)
Connector 244: Knock Sensor 2 (LZ4)
Connector 245: License Lamp - Left
Connector 246: License Lamp - Right
Connector 247: Liftgate Latch Assembly
Connector 248: Liftgate Release Switch
Connector 249: Manifold Absolute Pressure (MAP) Sensor
Connector 250: Marker Lamp - Left Front
Connector 251: Marker Lamp - Left Rear
Connector 252: Marker Lamp - Right Front
Connector 253: Marker Lamp - Right Rear
Connector 254: Mass Air Flow (MAF)/Intake Air Temperature (IAT) Sensor (LAT/LE5)
Connector 255: Mass Air Flow (MAF)/Intake Air Temperature (IAT) Sensor (LY7/LZ4)
Connector 256: Mode Actuator
Connector 257: Onstar Button Assembly (UE1)
Connector 258: Outside Rearview Mirror - Driver (DG7)
Connector 259: Outside Rearview Mirror - Passenger (DG7)
Connector 260: Outside Rearview Mirror Switch (DG7)
Connector 261: Park Brake Switch
Connector 262: Park/Neutral Position (PNP) Switch (ME7)
Connector 263: Park/Neutral Position (PNP) Switch (MN5)
Connector 264: Park/Turn Signal Lamp - Left Front
Connector 265: Park/Turn Signal Lamp - Right Front
Connector 266: Pressure Control (PC) Solenoid Valve
Connector 267: Radio Antenna
Connector 268: Radio X1
Connector 269: Radio X2
Connector 270: Rear Compartment Courtesy Lamp - Left
Connector 271: Rear Compartment Courtesy Lamp - Right
Connector 272: Rear Differential Clutch Control Module X1 (AWD)
Connector 273: Rear Differential Clutch Control Module X2 (AWD)
Connector 274: Rear Wheel Drive Module Clutch (AWD)
Connector 275: Rear Window Defogger Grid X1
Connector 276: Rear Window Defogger Grid X2
Connector 277: Rear Window Wiper/Washer Module
Connector 278: Recirculation Actuator
Connector 279: Remote Control Door Lock Receiver (RCDLR) (AP3)
Connector 280: Seat Adjuster Motor Assembly - Driver (AE8)
Connector 281: Seat Adjuster Switch - Driver (AE8)
Connector 282: Seat Belt Buckle Pretensioner - Driver
Connector 283: Seat Belt Buckle Pretensioner - Passenger
Connector 284: Seat Belt Retractor Pretensioner - Driver
Connector 285: Seat Belt Retractor Pretensioner - Passenger
Connector 286: Seat Belt Switch - Driver
Connector 287: Seat Belt Switch - Passenger
Connector 288: Seat Belt Tension Sensor
Connector 289: Seat Recline Motor - Driver (AE8)
Connector 290: Speaker - Left Front
Connector 291: Speaker - Left Front Tweeter
Connector 292: Speaker - Left Rear
Connector 293: Speaker - Right Front
Connector 294: Speaker - Right Front Tweeter
Connector 295: Speaker - Right Rear
Connector 296: Starter Generator X1 (HP7)
Connector 297: Starter Generator X2 (HP7)
Connector 298: Starter Generator X3 (HP7)
Connector 299: Starter Generator Control Module (SGCM) X1 (HP7)
Connector 300: Starter Generator Control Module (SGCM) X2 (HP7)
Connector 301: Starter Generator Control Module X3 (HP7)
Connector 302: Starter Generator Control Module X4 (HP7)
Connector 303: Starter Generator Control Module X5
Connector 304: Starter Generator Control Module Coolant Pump (HP7)
Connector 305: Starter Motor X1
Connector 306: Starter Motor X2
Connector 307: Steering Angle Sensor (LY7/LZ4)
Connector 308: Steering Wheel Control Switch - Left (UK3)
Connector 309: Steering Wheel Control Switch - Right (UK3)
Connector 310: Stop Lamp Switch
Connector 311: Sunload Sensor (C68)
Connector 312: Sunroof Control Module C1 (CF5)
Connector 313: Sunroof Control Module C2 (CF5)
Connector 314: Sunroof Motor C1 (CF5)
Connector 315: Sunroof Motor C2 (CF5)
Connector 316: Sunroof Switch (CF5)
Connector 317: Sunshade - Left (D61)
Connector 318: Sunshade - Right (D61)
Connector 319: Tail/Stop Lamp - Left
Connector 320: Tail/Stop Lamp - Right
Connector 321: Theft Deterrent Module (TDM)
Connector 322: Throttle Actuator Control (TAC) Module
Connector 323: Torque Converter Clutch (TCC) Pressure Control (PC) Solenoid Valve (ME7/MN5)
Connector 324: Torque Converter Clutch (TCC) Pulse Width Modulation (PWM) Solenoid Valve (ME7/MN5)
Connector 325: Trailer Connector Adapter (V92)
Connector 326: Trailer Connector (V92)
Connector 327: Transmission Control Module (TCM) (ME7/MN5)
Connector 328: Transmission Control Module (MH2/MH4)
Connector 329: Turn Signal Lamp - Left Rear
Connector 330: Turn Signal Lamp - Right Rear
Connector 331: Turn Signal Repeater Lamp - Left
Connector 332: Turn Signal Repeater Lamp - Right
Connector 333: Turn Signal/Multifunction Switch (LAT/LE5)
Connector 334: Turn Signal/Multifunction Switch (LY7/LZ4)
Connector 335: Vehicle Communication Interface Module (VCIM) Battery (UE1)
Connector 336: Vehicle Communications Interface Module (VCIM) X1 (UE1)
Connector 337: Vehicle Communications Interface Module (VCIM) X2 (UE1)
Connector 338: Vehicle Communications Interface Module (VCIM) X3 (UE1)
Connector 339: Wheel Speed Sensor (WSS) - Left Front
Connector 340: Wheel Speed Sensor (WSS) - Left Rear
Connector 341: Wheel Speed Sensor (WSS) - Right Front
Connector 342: Wheel Speed Sensor (WSS) - Right Rear
Connector 343: Window Motor - Driver
Connector 344: Window Motor - Left Rear
Connector 345: Window Motor - Passenger
Connector 346: Window Motor - Right Rear
Connector 347: Window Switch - Driver
Connector 348: Window Switch - Left Rear
Connector 349: Window Switch - Passenger
Connector 350: Window Switch - Right Rear
Connector 351: Windshield Outside Moisture Sensor (CE1)
Connector 352: Windshield Washer Fluid Level Switch
Connector 353: Windshield Washer Fluid Pump - Front
Connector 354: Windshield Washer Fluid Pump - Rear
Connector 355: Windshield Wiper Motor
Connector 356: Windshield Wiper/Washer Switch - Front
Connector 357: Yaw Rate and Lateral Accelerometer Sensor

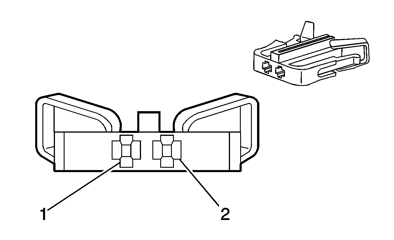
1-2 Shift Solenoid (1-2 SS) Valve (ME7/MN5)


Object Number: 1910666  Size: CH

Connector Part Information

  • OEM: 15473843
  • Service: See Catalog
  • Description: 2-Way F Metri-Pack 150 Series, Sealed (CM)

Terminal Part Information

  • Terminal/Tray: See Terminal Repair Kit
  • Core/Insulation Crimp: See Terminal Repair Kit
  • Release Tool/Test Probe: See Terminal Repair Kit

1-2 Shift Solenoid (1-2 SS) Valve (ME7/MN5)

Pin

Wire

Circuit

Function

A

0.5 RD

839

Ignition 1 Voltage

B

0.5 L-GN

1222

1-2 Shift Solenoid Valve Control

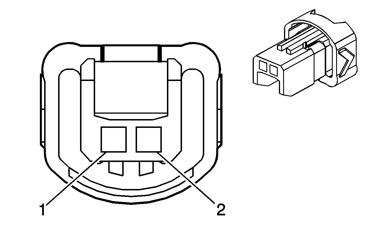
2-3 Shift Solenoid (2-3 SS) Valve (ME7/MN5)


Object Number: 1910666  Size: CH

Connector Part Information

  • OEM: 15473843
  • Service: See Catalog
  • Description: 2-Way F Metri-Pack 150 Series, Sealed (CM)

Terminal Part Information

  • Terminal/Tray: See Terminal Repair Kit
  • Core/Insulation Crimp: See Terminal Repair Kit
  • Release Tool/Test Probe: See Terminal Repair Kit

2-3 Shift Solenoid (2-3 SS) Valve (ME7/MN5)

Pin

Wire

Circuit

Function

A

0.5 RD

839

Ignition 1 Voltage

B

0.5 YE

1223

2-3 Shift Solenoid Valve Control

4-3 Shift Solenoid (4-3 SS) Valve (ME7)


Object Number: 1625659  Size: CH

Connector Part Information

  • OEM: 15492275
  • Service: See Catalog
  • Description: 2-Way F 2.8 Series (BK)

Terminal Part Information

  • Terminal/Tray: See Terminal Repair Kit
  • Core/Insulation Crimp: See Terminal Repair Kit
  • Release Tool/Test Probe: See Terminal Repair Kit

4-3 Shift Solenoid (4-3 SS) Valve (ME7)

Pin

Wire

Circuit

Function

1

0.5 YE/BK

901

4-3 Shift Solenoid Valve Control

2

0.5 RD

839

Ignition 1 Voltage

A/C Compressor Clutch (HP7)


Object Number: 1334534  Size: CH

Connector Part Information

  • OEM: 12162017
  • Service: 12101937
  • Description: 2-Way F Metri-Pack 150 Series Sealed (GY)

Terminal Part Information

  • Terminal/Tray: 12048074/2
  • Core/Insulation Crimp: E/1
  • Release Tool/Test Probe: 12094429/J-35616-2A (GY)

A/C Compressor Clutch (HP7)

Pin

Wire

Circuit

Function

A

0.5 BK

250

Ground

B

0.5 D-GN

59

A/C Compressor Clutch Supply Voltage

A/C Compressor Clutch (without HP7)


Object Number: 1625659  Size: CH

Connector Part Information

  • OEM: 15383325
  • Service: 89046838
  • Description: 2-Way F 1.5, Sealed (BK)

Terminal Part Information

  • Terminal/Tray: 7116-4102-08/9
  • Core/Insulation Crimp: E/1
  • Release Tool/Test Probe: 12094430/J-35616-2A (GY)

A/C Compressor Clutch (without HP7)

Pin

Wire

Circuit

Function

1

0.5 D-GN

59

A/C Compressor Clutch Supply Voltage

2

0.5 BK

250

Ground

A/C Refrigerant Pressure Sensor


Object Number: 1519475  Size: CH

Connector Part Information

  • OEM: 15477863
  • Service: 88988301
  • Description: 3-Way F GT 150 Series, Sealed (BK)

Terminal Part Information

  • Terminal/Tray: 15326267/19
  • Core/Insulation Crimp: E/4
  • Release Tool/Test Probe: 15315247/J-35616-2A (GY)

A/C Refrigerant Pressure Sensor

Pin

Wire

Circuit

Function

1

0.5 TN

5514

Low Reference

2

0.5 GY

2700

5-Volt Reference 1

3

0.5 OG/BK

380

A/C Refrigerant Pressure Sensor Signal

Accelerator Pedal Position (APP) Sensor


Object Number: 886053  Size: CH

Connector Part Information

  • OEM: 15326830
  • Service: 88953153
  • Description: 6-Way F GT 150 Series, Sealed (BK)

Terminal Part Information

  • Terminal/Tray: 12191819/8
  • Core/Insulation Crimp: E/A
  • Release Tool/Test Probe: 15315247/J-35616-2A (GY)

Accelerator Pedal Position (APP) Sensor

Pin

Wire

Circuit

Function

A

0.35 PU

1272

Low Reference

B

0.35 L-BU

1162

APP Sensor 2 Signal

C

0.35 TN

1274

5-Volt Reference 1

D

0.35 WH/BK

1164

5-Volt Reference 2

E

0.35 D-BU

1161

APP Sensor 1 Signal

F

0.35 BN

1271

Low Reference

Accent Lamp - Driver Seat (C2B)


Object Number: 810077  Size: CH

Connector Part Information

  • OEM: 12191387
  • Service: 12191387
  • Description: 4-Way F Metri-Pack 150 Series, Flexlock (BK)

Terminal Part Information

  • Pins: B-D
  • Terminal/Tray: 12110844/4
  • Core/Insulation Crimp: Pins B-C - E/A
  • Core/Insulation Crimp: Pins D - C/A
  • Release Tool/Test Probe: 15315247/J-35616-4A (PU)

Accent Lamp - Driver Seat (C2B)

Pin

Wire

Circuit

Function

A

--

--

Not Used

B

0.5 L-BU

1462

Underseat Blue Light Supply Voltage

C

0.5 PK

1501

Underseat Amber Light Supply Voltage

D

0.8 BK

450

Ground

Accent Lamp - Passenger Seat (C2B)


Object Number: 810077  Size: CH

Connector Part Information

  • OEM: 12191387
  • Service: 12191387
  • Description: 4-Way F Metri-Pack 280 Series, (BK)

Terminal Part Information

  • Pins: B-D
  • Terminal/Tray: 12110844/4
  • Core/Insulation Crimp: Pins B-C - E/A
  • Core/Insulation Crimp: Pins D - C/A
  • Release Tool/Test Probe: 15315247/J-35616-4A (PU)

Accent Lamp - Passenger Seat (C2B)

Pin

Wire

Circuit

Function

A

--

--

Not Used

B

0.5 L-BU

1462

Underseat Blue Light Supply Voltage

C

0.5 PK

1501

Underseat Amber Light Supply Voltage

D

0.8 BK

450

Ground

Accessory Power Outlet - Center Console


Object Number: 320518  Size: CH

Connector Part Information

  • OEM: 12176446
  • Service: 15305923
  • Description: 3-Way F Metri-Pack 280 Series, Flexlock (BK)

Terminal Part Information

  • Terminal/Tray: 12110844/4
  • Core/Insulation Crimp: C/A
  • Release Tool/Test Probe: 15315247/J-35616-4A (PU)

Accessory Power Outlet - Center Console

Pin

Wire

Circuit

Function

A

0.8 RD/WH

2740

Battery Positive Voltage

B

--

--

Not Used

C

0.8 BK

450

Ground

Accessory Power Outlet -- Front


Object Number: 320518  Size: CH

Connector Part Information

  • OEM: 12176446
  • Service: 15305923
  • Description: 3-Way F Metri-Pack 280 Series, Flexlock (BK)

Terminal Part Information

  • Terminal/Tray: 12110844/4
  • Core/Insulation Crimp: C/A
  • Release Tool/Test Probe: 15315247/J-35616-4A (PU)

Accessory Power Outlet -- Front

Pin

Wire

Circuit

Function

A

0.8 RD/WH

2640

Battery Positive Voltage

B

--

--

Not Used

C

0.8 BK

450

Ground

Accessory Power Outlet - Rear


Object Number: 320518  Size: CH

Connector Part Information

  • OEM: 12176446
  • Service: 15305923
  • Description: 3-Way F Metri-Pack 280 Series, Flexlock (BK)

Terminal Part Information

  • Terminal/Tray: 12110844/4
  • Core/Insulation Crimp: C/A
  • Release Tool/Test Probe: 15315247/J-35616-4A (PU)

Accessory Power Outlet - Rear

Pin

Wire

Circuit

Function

A

0.8 RD/WH

2740

Battery Positive Voltage

B

--

--

Not Used

C

0.8 BK

450

Ground

Air Temperature Actuator (C67)


Object Number: 258172  Size: CH

Connector Part Information

  • OEM: 12064982
  • Service: 12064982
  • Description: 5-Way F Micro-Pack 150 Series (BK)

Terminal Part Information

  • Terminal/Tray: 12146447/3
  • Core/Insulation Crimp: E/C
  • Release Tool/Test Probe: 12031876-1/J-35616-6 (BN)

Air Temperature Actuator (C67)

Pin

Wire

Circuit

Function

1

0.5 YE

1791

Low Reference

2

0.35 D-BU

1646

Mode Door Position Signal

3

0.35 GY

598

5-Volt Reference

4

0.5 GY/BK

2278

Air Temperature Door Control A

5

0.5 WH/BK

1236

Air Temperature Door Control B

Air Temperature Actuator (C68)


Object Number: 258172  Size: CH

Connector Part Information

  • OEM: 12064982
  • Service: 12102633
  • Description: 5-Way F Micro-Pack 150 Series (BK)

Terminal Part Information

  • Terminal/Tray: 12146447/3
  • Core/Insulation Crimp: E/C
  • Release Tool/Test Probe: 12031876-1/J-35616-6 (BN)

Air Temperature Actuator (C68)

Pin

Wire

Circuit

Function

1

0.5 YE

1791

Low Reference

2

0.35 L-GN

2275

Mode Door Position Signal

3

0.35 GY

598

5-Volt Reference

4

0.5 D-GN

1316

Air Temperature Door Control A

5

0.5 BN

1199

Air Temperature Door Control B

Air Temperature Sensor Assembly - Inside (C68)


Object Number: 39661  Size: CH

Connector Part Information

  • OEM: 12047786
  • Service: 12085535
  • Description: 4-Way M Metri-Pack 150 Series (BK)

Terminal Part Information

  • Terminal/Tray: 12047581/2
  • Core/Insulation Crimp: E/C
  • Release Tool/Test Probe: 12094429/J-35616-3 (GY)

Air Temperature Sensor Assembly - Inside (C68)

Pin

Wire

Circuit

Function

A

0.35 D-GN

734

Inside Air Temperature Sensor Signal

B

0.5 GY

5954

Inside Air Temperature Sensor Motor Control

C

0.5 BK

350

Ground

D

0.35 YE

61

Low Reference

Air Temperature Sensor - Lower (C68)


Object Number: 82383  Size: CH

Connector Part Information

  • OEM: 12047662
  • Service: 12085535
  • Description: 2-Way F Metri-Pack 150 Series (BK)

Terminal Part Information

  • Terminal/Tray: 12047767/2
  • Core/Insulation Crimp: E/C
  • Release Tool/Test Probe: 12094429/J-35616-14 (GN)

Air Temperature Sensor - Lower (C68)

Pin

Wire

Circuit

Function

A

0.35 WH

520

Lower Air Temperature Sensor Signal

B

0.35 TN

61

Low Reference

Air Temperature Sensor - Upper (C68)


Object Number: 2002694  Size: CH

Connector Part Information

  • OEM: 13069.669.696
  • Service: See Catalog
  • Description: 2-Way F (BK)

Terminal Part Information

  • Terminal/Tray: See Terminal Repair Kit
  • Core/Insulation Crimp: See Terminal Repair Kit
  • Release Tool/Test Probe: See Terminal Repair Kit

Air Temperature Sensor - Upper (C68)

Pin

Wire

Circuit

Function

1

0.35 BN

516

Upper Air Temperature Sensor Signal

2

0.35 YE

61

Low Reference

Ambient Air Temperature Sensor (C68)


Object Number: 684793  Size: CH

Connector Part Information

  • OEM: 12052642
  • Service: 12101856
  • Description: 2-Way F Metri-Pack 150 Series, Sealed (L-GN)

Terminal Part Information

  • Terminal/Tray: 12048074/2
  • Core/Insulation Crimp: E/1
  • Release Tool/Test Probe: 12094429/J-35616-14 (GN)

Ambient Air Temperature Sensor (C68)

Pin

Wire

Circuit

Function

A

0.5 D-GN/WH

636

Ambient Air Temperature Sensor Signal

B

0.5 YE

61

Low Reference

Ambient Light Sensor (C67)


Object Number: 82383  Size: CH

Connector Part Information

  • OEM: 12059249
  • Service: 12085535
  • Description: 2-Way F Metri-Pack 150 Series (NA)

Terminal Part Information

  • Terminal/Tray: 12064971/5
  • Core/Insulation Crimp: E/C
  • Release Tool/Test Probe: 12094429/J-35616-14 (GN)

Ambient Light Sensor (C67)

Pin

Wire

Circuit

Function

A

0.35 WH

278

Ambient Light Sensor Signal

B

0.35 BK

350

Ground

Automatic Transmission Auxiliary Fluid Pump (HP7)


Object Number: 1526384  Size: CH

Connector Part Information

  • OEM: 15326677
  • Service: 88953351
  • Description: 2-Way F GT 150 Series Sealed (BK)

Terminal Part Information

  • Terminal/Tray: 15304720/19
  • Core/Insulation Crimp: 4/5
  • Release Tool/Test Probe: 15315247/J-35616-4A (PU)

Automatic Transmission Auxiliary Fluid Pump (HP7)

Pin

Wire

Circuit

Function

A

3 BN/RD

7435

Transmission Pump High Reference

B

3 D-BU/WH

7436

Transmission Pump Low Reference

Automatic Transmission Auxiliary Fluid Pump Control Module (HP7)


Object Number: 646372  Size: CH

Connector Part Information

  • OEM: 15326654
  • Service: See Catalog
  • Description: 8-Way F GT 280 Series Sealed (BK)

Terminal Part Information

  • Terminal/Tray: 16-02-1110/20
  • Core/Insulation Crimp: H/H
  • Release Tool/Test Probe: J-38125-213/J-35616-64B (L-BU)

Automatic Transmission Auxiliary Fluid Pump Control Module (HP7)

Pin

Wire

Circuit

Function

A

D-GN/WH

7621

Transmission Pump Driver Error

B

BK

7438

Pump Control

C

GY/BK

7439

Traction Control Switch Signal

D

--

--

Not Used

E

BK/WH

451

Ground

F

D-BU/WH

7436

Transmission Pump Low Reference

G

BN/RD

7435

Transmission Pump High Reference

H

GY/WH

5259

Transmission Pump Switch Control

Automatic Transmission Fluid Pressure (TFP) Manual Valve Position Switch (ME7/MN5)


Object Number: 73215  Size: CH

Connector Part Information

  • OEM: 15480749
  • Service: See Catalog
  • Description: 6-Way F Metri-Pack 150.2 Series (GY)

Terminal Part Information

  • Terminal/Tray: See Terminal Repair Kit
  • Core/Insulation Crimp: See Terminal Repair Kit
  • Release Tool/Test Probe: See Terminal Repair Kit

Automatic Transmission Fluid Pressure (TFP) Manual Valve Position Switch (ME7/MN5)

Pin

Wire

Circuit

Function

A

0.5 PK

1224

TFP Manual Valve Position Switch Signal A (HP7)

B

0.5 D-BU

1225

Transmission Fluid Pressure Switch Signal A

C

0.5 OG

1226

Transmission Fluid Pressure Switch Signal B

D

0.5 WH

1804

TCC Release Switch Signal

E

0.5 BN

1227

Transmission Fluid Pressure Switch Signal C

F

0.5 GY

452

Low Reference

Automatic Transmission Input Shaft Speed (ISS) Sensor (ME7/MN5)


Object Number: 1910666  Size: CH

Connector Part Information

  • OEM: 15473843
  • Service: See Catalog
  • Description: 2-Way F Metri-Pack 150.2 Series (CM)

Terminal Part Information

  • Terminal/Tray: See Terminal Repair Kit
  • Core/Insulation Crimp: See Terminal Repair Kit
  • Release Tool/Test Probe: See Terminal Repair Kit

Automatic Transmission Input Shaft Speed (ISS) Sensor (ME7/MN5)

Pin

Wire

Circuit

Function

A

0.5 BK

1230

AT ISS High Signal

B

0.5 D-GN

1231

AT ISS Low Signal

Automatic Transmission Internal Mode Switch (IMS) (MH2/MH4)


Object Number: 347262  Size: CH

Connector Part Information

  • OEM: 15336500
  • Service: Non-Serviceable (89046635)
  • Description: 6-Way F Metri-Pack 150.2 Series (GN)

Terminal Part Information

  • Terminal/Tray: Non-Serviceable
  • Core/Insulation Crimp: Non-Serviceable
  • Release Tool/Test Probe: Non-Serviceable

Automatic Transmission Internal Mode Switch (IMS) (MH2/MH4)

Pin

Wire

Circuit

Function

A

GY

--

Battery Positive Voltage

B

BK

--

Transmission Range Switch Signal P

C

YE

--

Transmission Range Switch Signal C

D

RD

--

Transmission Range Switch Signal B

E

GN

--

Transmission Range Switch Signal A

F

WH

--

Park/Neutral Switch Signal

Automatic Transmission Output Shaft Speed (OSS) Sensor


Object Number: 646406  Size: CH

Connector Part Information

  • OEM: 15449028 (ME7)
  • OEM: 15336004 (MN5)
  • Service: 15336004
  • Description: 2-Way F GT 150 Sealed 3.2 X 4.0 (BK)

Terminal Part Information

  • Terminal/Tray: 15326267/19
  • Core/Insulation Crimp: E/4
  • Release Tool/Test Probe: 15315247/J-35616-2A (GY)

Automatic Transmission Output Shaft Speed (OSS) Sensor

Pin

Wire

Circuit

Function

A

0.5 PU

401

Signal Low - Front/VSS Low Signal/OSS Low Signal

B

0.5 YE

400

Signal High - Front/VSS High Signal/OSS High Signal

Automatic Transmission Shift Lever


Object Number: 1962072  Size: CH

Connector Part Information

  • OEM: 15337941
  • Service: See Catalog
  • Description: 10-Way F 090 II (NA)

Terminal Part Information

  • Pins: 2-4, 6-7, 9-10
  • Terminal/Tray: 7116-4020/11
  • Core/Insulation Crimp: E/C
  • Release Tool/Test Probe: 15315247/J-35616-18 (BK)

Automatic Transmission Shift Lever

Pin

Wire

Circuit

Function

1

--

--

Not Used

2

0.35 PK

1444

Ignition 3 Voltage

3

0.35 TN

816

Automatic Transmission Shift Lock Solenoid Supply Voltage

4

0.35 YE

243

Accessory Voltage

5

--

--

Not Used

6

0.35 D-GN

5525

Tap Up/Tap Down Enable Signal

7

0.35 BK

350

Ground

8

--

--

Not Used

9

0.35 BK

350

Ground

10

0.35 PU/WH

5905

Key Capture/Column Lock Shift Position Signal

Automatic Transmission Shift Lever Position Indicator


Object Number: 1962083  Size: CH

Connector Part Information

  • OEM: 15337962
  • Service: 19178182
  • Description: 2-Way F 090 II (NA)

Terminal Part Information

  • Pins: 1
  • Terminal/Tray: 7116-4020/11
  • Core/Insulation Crimp: E/C
  • Release Tool/Test Probe: 15315247/J-35616-18 (BK)
  • Pins: 2
  • Terminal/Tray: 7116-4021/11
  • Core/Insulation Crimp: E/A
  • Release Tool/Test Probe: 15315247/J-35616-18 (BK)

Automatic Transmission Shift Lever Position Indicator

Pin

Wire

Circuit

Function

1

0.35 BK

350

Ground

2

0.8 BN/WH

230

I/P Lamps Dimming Control

Backup Lamp - Left


Object Number: 1290411  Size: CH

Connector Part Information

  • OEM: 021940259
  • Service: See Catalog
  • Description: 3-Way F Bulb 3057 Socket (GY)

Backup Lamp - Left

Pin

Wire

Circuit

Function

MAJ

0.5 L-GN

24

Backup Lamp Supply Voltage

MIN

--

--

Not Used

GND

0.8 BK/WH

650

Ground

Backup Lamp - Right


Object Number: 1290411  Size: CH

Connector Part Information

  • OEM: 021940259
  • Service: See Catalog
  • Description: 3-Way F Bulb 3057 Socket (GY)

Backup Lamp - Right

Pin

Wire

Circuit

Function

MAJ

0.5 L-GN

24

Backup Lamp Supply Voltage

MIN

--

--

Not Used

GND

0.8 BK/WH

850

Ground

Battery Current Sensor - 42 Volt (HP7)


Object Number: 646430  Size: CH

Connector Part Information

  • OEM: 15326815
  • Service: 15306396
  • Description: 4-Way F GT 150 Series Sealed 4.0 (BK)

Terminal Part Information

  • Terminal/Tray: See Terminal Repair Kit
  • Core/Insulation Crimp: See Terminal Repair Kit
  • Release Tool/Test Probe: See Terminal Repair Kit

Battery Current Sensor - 42 Volt (HP7)

Pin

Wire

Circuit

Function

A

0.5 WH/GN

Current Sensor Signal (High Range)

B

0.5 WH/RD

--

5-Volt Reference

C

0.5 WH/BK

--

Low Reference

D

0.5 BK/RD

--

Current Sensor Signal (Low Range)

Battery Current Sensor


Object Number: 646415  Size: CH

Connector Part Information

  • OEM: 15326808
  • Service: 15306388
  • Description: 3-Way F GT 150 Series, Sealed (BK)

Terminal Part Information

  • Terminal/Tray: 12191819/8
  • Core/Insulation Crimp: E/A
  • Release Tool/Test Probe: 15315247/J-35616-2A (GY)

Battery Current Sensor

Pin

Wire

Circuit

Function

A

0.35 PK

5076

5-Volt Reference

B

0.35 BN

5077

Low Reference

C

0.35 WH

5075

Current Sensor Signal

Battery - (without HP7)

Terminal Part Information

  • Terminal: R61014-002
  • Core/Insulation Crimp: N/A
  • Description: Battery Terminal

Battery - (without HP7)

Pin

Wire

Circuit

Function

--

19 BK

50

Ground

19 BK

50

Ground

Battery - X1 (HP7)

Terminal Part Information

  • Terminal: RS552TDM5
  • Core/Insulation Crimp: N/A
  • Description: Battery Terminal

Battery - X1 (HP7)

Pin

Wire

Circuit

Function

--

19 BK

50

Ground

19 BK

50

Ground

Battery - X2 (HP7)

Terminal Part Information

  • Terminal: 10724921
  • Core/Insulation Crimp: N/A
  • Description: Battery Terminal

Battery - X2 (HP7)

Pin

Wire

Circuit

Function

--

251 BK/WH

0.5

Ground

19 BK

50

Ground

Battery + (without HP7)

Terminal Part Information

  • Terminal: R3311-033
  • Core/Insulation Crimp: N/A
  • Description: Battery Terminal

Battery + (without HP7)

Pin

Wire

Circuit

Function

+

19 RD

1

Battery Positive Voltage

19 RD

1

Battery Positive Voltage

Battery + X1 (HP7)

Terminal Part Information

  • Terminal: RS815
  • Core/Insulation Crimp: N/A
  • Description: Battery Terminal

Battery + X1 (HP7)

Pin

Wire

Circuit

Function

+

19 RD

1

Battery Positive Voltage

32 RD

1

Battery Positive Voltage

Battery + X2 (HP7)

Terminal Part Information

  • Terminal: 12124276
  • Core/Insulation Crimp: N/A
  • Description: Battery Terminal

Battery + X2 (HP7)

Pin

Wire

Circuit

Function

+

8 RD

1

Battery Positive Voltage

19 RD

1

Battery Positive Voltage

Blower Motor


Object Number: 1817814  Size: CH

Connector Part Information

  • OEM: 15226103
  • Service: 88988507
  • Description: 2-Way F Receptacle 6.3 Series (GY)

Terminal Part Information

  • Terminal/Tray: 12191812/19
  • Core/Insulation Crimp: See Terminal Repair Kit
  • Release Tool/Test Probe: 15315247/J-35616-2A (GY)

Blower Motor

Pin

Wire

Circuit

Function

1

3.0 BK

2150

Low Reference

2

3.0 PU

65

Blower Motor Supply Voltage

Blower Motor Control Module X1


Object Number: 1817814  Size: CH

Connector Part Information

  • OEM: 15226103
  • Service: 88988507
  • Description: 2-Way F Receptacle 6.3 Series (GY)

Terminal Part Information

  • Terminal/Tray: 12191812/19
  • Core/Insulation Crimp: See Terminal Repair Kit
  • Release Tool/Test Probe: 15315247/J-35616-2A (GY)

Blower Motor Control Module X1

Pin

Wire

Circuit

Function

1

3.0 PU

65

Blower Motor Supply Voltage

2

3.0 BK

2150

Low Reference

Blower Motor Control Module X2


Object Number: 1798802  Size: CH

Connector Part Information

  • OEM: 7283-9749-30
  • Service: 88988512
  • Description: 6-Way F YESC Kaizen Series (BK)

Terminal Part Information

  • Terminal/Tray: See Terminal Repair Kit
  • Core/Insulation Crimp: See Terminal Repair Kit
  • Release Tool/Test Probe: See Terminal Repair Kit

Blower Motor Control Module X2

Pin

Wire

Circuit

Function

1-2

--

--

Not Used

3

0.35 GY/BK

754

Blower Motor Speed Control

4

--

--

Not Used

5

5 BK

950

Ground

6

3 RD/WH

3040

Battery Positive Voltage

Body Control Module (BCM) X1


Object Number: 1664495  Size: CH

Connector Part Information

  • OEM: 15482789
  • Service: 88988838
  • Description: 27-Way F HIT Series (L-GN)

Terminal Part Information

  • Pins: 2-6, 8-9, 14-21, 24-26
  • Terminal/Tray: SNAC3-A021T-M0.64/20
  • Core/Insulation Crimp: J/J
  • Release Tool/Test Probe: 15315247/J-35616-64B (L-BU)

Body Control Module (BCM) X1

Pin

Wire

Circuit

Function

1

--

--

Not Used

2

0.35 WH/BK

1073

Ignition Key Resistor Signal

3

0.35 GY

1884

Cruise Control Switch Signal

4

0.35 WH

530

Ignition 0 Voltage

5

0.35 L-GN

1715

Windshield Wiper Switch High Signal

6

0.35 L-GN

1011

Remote Radio Control Signal

7

--

--

Not Used

8

0.35 TN/BK

6009

Windshield Wiper Switch Low Reference

9

0.35 L-BU

1714

Windshield Wiper Switch Low Signal

10-13

--

--

Not Used

14

0.35 PK

39

Ignition 1 Voltage

15

0.35 L-BU/WH

1414

Left Turn Signal Switch Signal

16

0.35 D-BU/WH

1415

Right Turn Signal Switch Signal

17

0.35 PK

1444

Ignition 3 Voltage

18

0.35 PU

524

Headlamp Dimmer Switch High Beam Signal

19

0.35 TN

2144

Hazard Switch Signal

20

0.35 D-GN

5525

Tap Up/Tap Down Enable Signal (ME7/MH2/MH4/MN5)

21

0.35 YE

43

Accessory Voltage

22-23

--

--

Not Used

24

0.35 PK

94

Windshield Washer Switch Signal

25

0.35 YE

307

Headlamp Switch Flash to Pass Signal

26

0.35 TN

816

Automatic Transmission Shift Lock Solenoid Supply Voltage (ME7/MH2/MH4/MN5)

27

--

--

Not Used

Body Control Module (BCM) X2


Object Number: 1664496  Size: CH

Connector Part Information

  • OEM: 15482790
  • Service: 88988839
  • Description: 25-Way F HIT Series (WH)

Terminal Part Information

  • Pins: 1-3
  • Terminal/Tray: SNAC-A061T-M2.8/20
  • Core/Insulation Crimp: E/A
  • Release Tool/Test Probe: 15315247/J-35616-4A (PU)
  • Pins: 8, 11-12, 17, 21, 25
  • Terminal/Tray: SNAC3-A021T-M0.64/20
  • Core/Insulation Crimp: J/J
  • Release Tool/Test Probe: 15315247/J-35616-64B (L-BU)

Body Control Module (BCM) X2

Pin

Wire

Circuit

Function

1

0.8 OG

1732

Courtesy Lamps Supply Voltage

2

0.8 RD/WH

1640

Battery Positive Voltage

3

0.8 BN/WH

230

I/P Lamps Dimming Control

4-7

--

--

Not Used

8

0.35 L-BU

13

Headlamp Switch Park Lamps Signal

9-10

--

--

Not Used

11

0.35 WH

278

Ambient Light Sensor Signal

12

0.35 WH

103

Headlamp Switch Headlamps On Signal

13-16

--

--

Not Used

17

0.35 D-GN

306

Headlamp Switch Headlamps Off Signal

18-20

--

--

Not Used

21

0.35 L-BU

1788

Traction Control Switch Signal

22-24

--

--

Not Used

25

0.35 PU

328

Interior Lamp Switch Voltage Supply Circuit

Body Control Module (BCM) X3


Object Number: 1664498  Size: CH

Connector Part Information

  • OEM: 15482791
  • Service: 88988840
  • Description: 25-Way F HIT Series (L-BU)

Terminal Part Information

  • Pins: 1-3, 5
  • Terminal/Tray: SNAC-A061T-M2.8/20
  • Core/Insulation Crimp: Pins 1, 5 - C/A
  • Core/Insulation Crimp: Pins 2, 3 - E/A
  • Release Tool/Test Probe: 15315247/J-35616-4A (PU)
  • Pins: 7-13, 16-19, 21-22, 25
  • Terminal/Tray: SNAC3-A021T-M0.64/20
  • Core/Insulation Crimp: J/J
  • Release Tool/Test Probe: 15315247/J-35616-64B (L-BU)

Body Control Module (BCM) X3

Pin

Wire

Circuit

Function

1

1 BK

350

Ground

2

0.8 RD/WH

1140

Battery Positive Voltage

3

0.8 RD/WH

1040

Battery Positive Voltage

4

--

--

Not Used

5

1 BK

350

Ground

6

--

--

Not Used

7

0.35 YE

749

Security Indicator Control

8

0.5 TN/BK

2500

High Speed GMLAN Serial Data Bus+

9

0.5 TN

2501

High Speed GMLAN Serial Data Bus-

10

0.5 D-GN

5060

Low Speed GMLAN Serial Data

11

0.5 D-GN

44

I/P Lamps Dimmer Switch Signal

12

0.5 OG/WH

812

I/P Dimming Voltage Reference

13

0.35 PU

7062

Brake Pedal Switch Normally Closed Contact Signal

14-15

--

--

Not Used

16

0.5 TN/BK

2500

High Speed GMLAN Serial Data Bus+

17

0.5 TN

2501

High Speed GMLAN Serial Data Bus-

18

0.5 YE

1491

Backlight Lamps Control

19

0.35 L-BU

5986

Serial Data Communication Enable

20

--

--

Not Used

21

0.35 OG

192

Front Fog Lamp Switch Signal

22

0.35 D-GN/WH

7158

Cruise Control Indicator Dimming Signal

23-24

--

--

Not Used

25

0.35 PU/WH

1382

LED Dimming Signal/LED Dimming Supply

Body Control Module (BCM) X4


Object Number: 1664499  Size: CH

Connector Part Information

  • OEM: 15482792
  • Service: 88988841
  • Description: 25-Way F HIT Series (BK)

Terminal Part Information

  • Pins: 1-5
  • Terminal/Tray: SNAC-A061T-M2.8/20
  • Core/Insulation Crimp: E/A
  • Release Tool/Test Probe: 15315247/J-35616-4A (PU)
  • Pins: 7, 9, 10-19, 21-23
  • Terminal/Tray: SNAC3-A021T-M0.64/20
  • Core/Insulation Crimp: J/J
  • Release Tool/Test Probe: 15315247/J-35616-64B (L-BU)

Body Control Module (BCM) X4

Pin

Wire

Circuit

Function

1

0.8 RD/WH

1240

Battery Positive Voltage

2

0.8 RD/WH

1440

Battery Positive Voltage

3

0.8 RD/WH

1540

Battery Positive Voltage

4

0.8 RD/WH

1340

Battery Positive Voltage

5

0.8 D-BU/WH

1315

Right Front Turn Signal Lamp Supply Voltage

6

0.35 BN

6132

Local Interconnect Network 1 (RCM) (Late Production)

7

0.5 YE

196

Windshield Wiper Motor Park Switch Signal

8

--

--

Not Used

9

0.5 BK/WH

251

Ground

10

0.5 RD/WH

540

Battery Positive Voltage

11

0.35 D-GN/WH

1317

Fog Lamp Relay Control (T96)

12

0.35 YE

5187

Right Trailer Turn Signal Lamp (V92)

13

0.35 OG

5186

Left Trailer Turn Signal Lamp (V92)

14

0.35 L-GN

482

Windshield Outside Moisture Sensor Signal 2 (CE1)

15

0.35 OG

2268

Windshield Washer Relay Control

16

0.35 TN/WH

1969

Headlamp High Beam Relay Control

17

0.35 YE

5530

Hood Open Switch Signal

18

0.35 TN

481

Windshield Outside Moisture Sensor Signal 1 (CE1)

19

0.35 D-BU

5985

Accessory Wakeup Serial Data

20

--

--

Not Used

21

0.35 YE

5199

Run/Crank Relay Coil Control

22

0.35 L-BU

1344

Trunk Release Relay Control

23

0.35 L-GN/BK

592

DRL Relay Control

24-25

--

--

Not Used

Body Control Module (BCM) X5


Object Number: 1664500  Size: CH

Connector Part Information

  • OEM: 15480179
  • Service: 88988837
  • Description: 25-Way F HIT Series (BN)

Terminal Part Information

  • Pins: 1-2, 4-5
  • Terminal/Tray: SNAC-A061T-M2.8/20
  • Core/Insulation Crimp: E/A
  • Release Tool/Test Probe: 15315247/J-35616-4A (PU)
  • Pins: 6, 8-11, 13-16, 18, 20-21, 23-24
  • Terminal/Tray: SNAC3-A021T-M0.64/20
  • Core/Insulation Crimp: J/J
  • Release Tool/Test Probe: 15315247/J-35616-64B (L-BU)

Body Control Module (BCM) X5

Pin

Wire

Circuit

Function

1

0.8 YE

18

Left Rear Stop/Turn Lamp Supply Voltage

2

0.8 D-GN

19

Right Rear Stop/Turn Lamp Supply Voltage

3

--

--

Not Used

4

0.8 L-BU/WH

1314

Left Front Turn Signal Lamp Supply Voltage

5

0.8 WH

5065

Stop Lamp Relay Coil Supply Voltage

6

0.5 WH

17

Stop Lamp Supply Voltage

7

--

--

Not Used

8

0.35 PK

5076

5-Volt Reference

9

0.35 WH

5075

Current Sensor Signal

10

0.35 BN

5077

Low Reference

11

0.35 TN

755

RAP Relay Coil Control

12

--

--

Not Used

13

0.35 L-GN

5486

Run Relay Coil Control

14

0.35 BN

4

Accessory Voltage

15

0.35 PU

5531

Hood Closed Switch Signal (AP3)

16

0.35 L-BU

1134

Park Brake Switch Signal

17

--

--

Not Used

18

0.35 TN

28

Horn Relay Control

19

--

--

Not Used

20

0.35 GY

91

Windshield Wiper Switch Signal 2

21

0.35 TN

860

Front Windshield Wiper Switch High Signal

22

--

--

Not Used

23

0.35 PK/WH

1970

Headlamp Low Beam Relay Control

24

0.35 D-BU

45

Park Lamp Supply Voltage

25

--

--

Not Used

Body Control Module (BCM) X6


Object Number: 1664502  Size: CH

Connector Part Information

  • OEM: 15482793
  • Service: 88988842
  • Description: 25-Way F HIT Series (PK)

Terminal Part Information

  • Pins: 1-3
  • Terminal/Tray: SNAC-A061T-M2.8/20
  • Core/Insulation Crimp: E/A
  • Release Tool/Test Probe: 15315247/J-35616-4A (PU)
  • Pins: 8, 10, 12, 15, 20-22
  • Terminal/Tray: SNAC3-A021T-M0.64/20
  • Core/Insulation Crimp: J/J
  • Release Tool/Test Probe: 15315247/J-35616-64B (L-BU)

Body Control Module (BCM) X6

Pin

Wire

Circuit

Function

1

0.8 GY/BK

690

Courtesy Lamp Supply Voltage

2

0.8 L-GN

24

Backup Lamp Supply Voltage

3

0.35 BN/WH

230

I/P Lamps Dimming Control (UG1)

4-7

--

--

Not Used

8

0.35 TN/WH

746

Right Front Door Ajar Switch Signal

9

--

--

Not Used

10

0.35 GY/BK

745

Left Front Door Ajar Switch Signal

11

--

--

Not Used

12

0.35 PK/BK

1303

Liftgate Ajar Switch Signal

13-14

--

--

Not Used

15

0.35 D-GN

6127

Liftgate Unlatch Switch Signal

16-19

--

--

Not Used

20

0.35 PU

1124

Door Lock Key Switch Unlock Signal

21

0.35 YE

1491

Backlight Lamps Control

22

0.35 L-GN

1123

Door Lock Key Switch Lock Signal

23-25

--

--

Not Used

Body Control Module (BCM) X7


Object Number: 1664505  Size: CH

Connector Part Information

  • OEM: 15466053
  • Service: 88988806
  • Description: 28-Way F HIT Series (GY)

Terminal Part Information

  • Terminal/Tray: SNAC3-A021T-M0.64/20
  • Core/Insulation Crimp: J/J
  • Release Tool/Test Probe: 15315247/J-35616-64B (L-BU)

Body Control Module (BCM) X7

Pin

Wire

Circuit

Function

1-5

--

--

Not Used

6

0.35 L-BU

5921

Driver Door Unlock Relay Control

7

0.35 L-BU

195

Door Lock Control

8

--

--

Not Used

9

0.35 WH

194

Door Unlock Control

10

--

--

Not Used

11

0.35 OG/BK

781

Driver Door Lock Switch Unlock Signal

12

0.35 PK/BK

780

Driver Door Lock Switch Lock Signal

13

0.35 BN

253

Trunk Release Relay Control

14-21

--

--

Not Used

22

0.5 D-GN

5060

Low Speed GMLAN Serial Data

23

0.35 TN

126

Left Front Door Open Switch Signal

24

--

--

Not Used

25

0.35 PU/WH

1382

LED Dimming Signal/LED Dimming Supply

26-28

--

--

Not Used

Brake Booster Vacuum Sensor (HP7)


Object Number: 1331443  Size: CH

Connector Part Information

  • OEM: 15365614
  • Service: 88988583
  • Description: 3-Way F Kompakt 2.8 Series, Sealed (BK)

Terminal Part Information

  • Terminal/Tray: See Terminal Repair Kit
  • Core/Insulation Crimp: See Terminal Repair Kit
  • Release Tool/Test Probe: See Terminal Repair Kit

Brake Booster Vacuum Sensor (HP7)

Pin

Wire

Circuit

Function

1

0.5 GY

9905

5-Volt Reference 2

2

0.5 TN/BK

9945

Low Reference

3

0.5 YE

9914

Brake Booster Vacuum Sensor Signal

Brake Fluid Level Switch (HP7)


Object Number: 1538760  Size: CH

Connector Part Information

  • OEM: 15449028
  • Service: 88987993
  • Description: 2-Way F Metri-Pack 150.2 Series, Sealed, Pull To Seat (BK)

Terminal Part Information

  • Terminal/Tray: 12124075/5
  • Core/Insulation Crimp: E/C
  • Release Tool/Test Probe: 12180559-1/J-35616-14 (GN)

Brake Fluid Level Switch (HP7)

Pin

Wire

Circuit

Function

A

0.35 BK

650

Ground

B

0.35 PU

333

Brake Fluid Level Sensor Signal

Brake Fluid Level Switch (without HP7)


Object Number: 655692  Size: CH

Connector Part Information

  • OEM: 12162195
  • Service: 88987993
  • Description: 2-Way F Metri-Pack 150.2 Series, Sealed, Pull To Seat (BK)

Terminal Part Information

  • Terminal/Tray: 12124075/5
  • Core/Insulation Crimp: E/C
  • Release Tool/Test Probe: 12180559-1/J-35616-14 (GN)

Brake Fluid Level Switch (without HP7)

Pin

Wire

Circuit

Function

A

0.35 BK

650

Ground

B

0.35 PU

333

Brake Fluid Level Sensor Signal

Brake Fluid Pressure Sensor (HP7)


Object Number: 258299  Size: CH

Connector Part Information

  • OEM: 12065287
  • Service: 88988301
  • Description: 3-Way F Metri-Pack 150 Series, Sealed (BK)

Terminal Part Information

  • Terminal/Tray: See Terminal Repair Kit
  • Core/Insulation Crimp: See Terminal Repair Kit
  • Release Tool/Test Probe: See Terminal Repair Kit

Brake Fluid Pressure Sensor (HP7)

Pin

Wire

Circuit

Function

A

0.5 TN/BK

6033

Low Reference

B

0.5 GY

6034

5-Volt Reference 1

C

0.5 YE

2034

Brake Fluid Level Switch Signal

Camshaft Position (CMP) Actuator Solenoid Valve - Bank 1 Exhaust (LY7)


Object Number: 1331453  Size: CH

Connector Part Information

  • OEM: 15411401
  • Service: 88988588
  • Description: 2-Way F 090 II, Sealed (BK)

Terminal Part Information

  • Terminal/Tray: 7116-4025/11
  • Core/Insulation Crimp: E/1
  • Release Tool/Test Probe: 15313892/J-35616-18 (BK)

Camshaft Position (CMP) Actuator Solenoid Valve - Bank 1 Exhaust (LY7)

Pin

Wire

Circuit

Function

1

0.5 WH/BK

6396

Camshaft Position (CMP) Actuator Solenoid Control - Bank 1 Exhaust

2

0.5 BN/WH

6754

Low Reference

Camshaft Position (CMP) Actuator Solenoid Valve - Bank 1 Intake (LY7)


Object Number: 1331453  Size: CH

Connector Part Information

  • OEM: 15411401
  • Service: 88988588
  • Description: 2-Way F 090 II, Sealed (BK)

Terminal Part Information

  • Terminal/Tray: 7116-4025/11
  • Core/Insulation Crimp: E/1
  • Release Tool/Test Probe: 15313892/J-35616-18 (BK)

Camshaft Position (CMP) Actuator Solenoid Valve - Bank 1 Intake (LY7)

Pin

Wire

Circuit

Function

1

0.5 PK/BK

6395

Camshaft Position (CMP) Actuator Solenoid Control - Bank 1 Intake

2

0.5 BN

6753

Low Reference

Camshaft Position (CMP) Actuator Solenoid Valve - Bank 2 Exhaust (LY7)


Object Number: 1331453  Size: CH

Connector Part Information

  • OEM: 15411401
  • Service: 88988588
  • Description: 2-Way F 090 II, Sealed (BK)

Terminal Part Information

  • Terminal/Tray: 7116-4025/11
  • Core/Insulation Crimp: E/1
  • Release Tool/Test Probe: 15313892/J-35616-18 (BK)

Camshaft Position (CMP) Actuator Solenoid Valve - Bank 2 Exhaust (LY7)

Pin

Wire

Circuit

Function

1

0.5 GY/BK

6394

Camshaft Position (CMP) Actuator Solenoid Control - Bank 2 Exhaust

2

0.5 D-BU/WH

6756

Low Reference

Camshaft Position (CMP) Actuator Solenoid Valve - Bank 2 Intake (LY7)


Object Number: 1331453  Size: CH

Connector Part Information

  • OEM: 15411401
  • Service: 88988588
  • Description: 2-Way F 090 II, Sealed (BK)

Terminal Part Information

  • Terminal/Tray: 7116-4025/11
  • Core/Insulation Crimp: E/1
  • Release Tool/Test Probe: 15313892/J-35616-18 (BK)

Camshaft Position (CMP) Actuator Solenoid Valve - Bank 2 Intake (LY7)

Pin

Wire

Circuit

Function

1

0.5 TN/BK

6397

Camshaft Position (CMP) Actuator Solenoid Control - Bank 2 Intake

2

0.5 D-BU

6755

Low Reference

Camshaft Position (CMP) Actuator Solenoid Valve - Exhaust (LAT/LE5)


Object Number: 646406  Size: CH

Connector Part Information

  • OEM: 15336004
  • Service: 15306187
  • Description: 2-Way F GT 150 Series Sealed (BK)

Terminal Part Information

  • Terminal/Tray: 15326267/19
  • Core/Insulation Crimp: E/4
  • Release Tool/Test Probe: 15315247/J-35616-2A (GY)

Camshaft Position (CMP) Actuator Solenoid Valve - Exhaust (LAT/LE5)

Pin

Wire

Circuit

Function

A

0.5 L-GN

5282

Camshaft Position (CMP) Actuator Solenoid Control (LAT)

0.5 WH/BK

6396

Camshaft Position (CMP) Actuator Solenoid Control (LE5)

B

0.5 BN/WH

6754

Low Reference

Camshaft Position (CMP) Actuator Solenoid Valve - Intake (LAT/LE5)


Object Number: 646403  Size: CH

Connector Part Information

  • OEM: 15335987
  • Service: 15306430
  • Description: 2-Way F GT 150 Series Sealed 3.2 X 4.0 (BK)

Terminal Part Information

  • Terminal/Tray: 15326267/19
  • Core/Insulation Crimp: E/4
  • Release Tool/Test Probe: 15315247/J-35616-2A (GY)

Camshaft Position (CMP) Actuator Solenoid Valve - Intake (LAT/LE5)

Pin

Wire

Circuit

Function

A

0.5 PU

5284

Camshaft Position (CMP) Actuator Solenoid Control (LAT)

0.5 PK/BK

6395

Camshaft Position (CMP) Actuator Solenoid Control (LE5)

B

0.5 BN

6753

Low Reference

Camshaft Position (CMP) Actuator Solenoid Valve (LZ4)


Object Number: 1664592  Size: CH

Connector Part Information

  • OEM: 13528494
  • Service: 19178174
  • Description: 2-Way F 064, Sealed (BK)

Terminal Part Information

  • Terminal/Tray: 7116-4618-02/14
  • Core/Insulation Crimp: P/P
  • Release Tool/Test Probe: J-38125-215A/J-35616-64B (L-BU)

Camshaft Position (CMP) Actuator Solenoid Valve (LZ4)

Pin

Wire

Circuit

Function

1

0.5 PK/BK

6395

Camshaft Position (CMP) Actuator Solenoid Control

2

0.5 BN

6753

Low Reference

Camshaft Position (CMP) Sensor - Bank 1 Exhaust (LY7)


Object Number: 1331443  Size: CH

Connector Part Information

  • OEM: 15339753
  • Service: 88988595
  • Description: 3-Way F Compact 2.8 Series, Sealed (BK)

Terminal Part Information

  • Terminal/Tray: 1928498056/8
  • Core/Insulation Crimp: E/1
  • Release Tool/Test Probe: J-38125-561/J-35616-35 (VT)

Camshaft Position (CMP) Sensor - Bank 1 Exhaust (LY7)

Pin

Wire

Circuit

Function

1

0.5 PU

6267

Low Reference

2

0.5 D-GN/WH

6264

Camshaft Position (CMP) Sensor Signal - Bank 1 Exhaust

3

0.5 D-GN

6457

5-Volt Reference 1

Camshaft Position (CMP) Sensor - Bank 1 Intake (LY7)


Object Number: 1331443  Size: CH

Connector Part Information

  • OEM: 15339753
  • Service: 88988595
  • Description: 3-Way F Compact 2.8 Series, Sealed (BK)

Terminal Part Information

  • Terminal/Tray: 1928498056/8
  • Core/Insulation Crimp: E/1
  • Release Tool/Test Probe: J-38125-561/J-35616-35 (VT)

Camshaft Position (CMP) Sensor - Bank 1 Intake (LY7)

Pin

Wire

Circuit

Function

1

0.5 BN

6266

Low Reference

2

0.5 D-BU/WH

6265

Camshaft Position (CMP) Sensor Signal - Bank 1 Intake

3

0.5 D-BU

6259

5-Volt Reference 1

Camshaft Position (CMP) Sensor - Bank 2 Exhaust (LY7)


Object Number: 1331443  Size: CH

Connector Part Information

  • OEM: 15339753
  • Service: 88988595
  • Description: 3-Way F Compact 2.8 Series, Sealed (BK)

Terminal Part Information

  • Terminal/Tray: 1928498056/8
  • Core/Insulation Crimp: E/1
  • Release Tool/Test Probe: J-38125-561/J-35616-35 (VT)

Camshaft Position (CMP) Sensor - Bank 2 Exhaust (LY7)

Pin

Wire

Circuit

Function

1

0.5 WH

6269

Low Reference

2

0.5 PK/BK

6262

Camshaft Position (CMP) Sensor Signal - Bank 2 Exhaust

3

0.5 PK

6261

5-Volt Reference 1

Camshaft Position (CMP) Sensor - Bank 2 Intake (LY7)


Object Number: 1331443  Size: CH

Connector Part Information

  • OEM: 15339753
  • Service: 88988595
  • Description: 3-Way F Compact 2.8 Series, Sealed (BK)

Terminal Part Information

  • Terminal/Tray: 1928498056/8
  • Core/Insulation Crimp: E/1
  • Release Tool/Test Probe: J-38125-561/J-35616-35 (VT)

Camshaft Position (CMP) Sensor - Bank 2 Intake (LY7)

Pin

Wire

Circuit

Function

1

0.5 TN

6268

Low Reference

2

0.5 OG/BK

6263

Camshaft Position (CMP) Sensor Signal - Bank 2 Intake

3

0.5 OG

6260

5-Volt Reference 1

Camshaft Position (CMP) Sensor - Exhaust (LAT/LE5)


Object Number: 646415  Size: CH

Connector Part Information

  • OEM: 15326808
  • Service: 15306388
  • Description: 3-Way F GT 150 Series, Sealed (BK)

Terminal Part Information

  • Terminal/Tray: 15326427/5
  • Core/Insulation Crimp: E/A
  • Release Tool/Test Probe: 15315247/J-35616-2A (GY)

Camshaft Position (CMP) Sensor - Exhaust (LAT/LE5)

Pin

Wire

Circuit

Function

A

0.5 D-GN

6457

5-Volt Reference 1

B

0.5 PU

6267

Low Reference

C

0.5 D-GN/WH

6264

Camshaft Position (CMP) Sensor Signal - Exhaust

Camshaft Position (CMP) Sensor - Intake (LAT/LE5)


Object Number: 646415  Size: CH

Connector Part Information

  • OEM: 15326808
  • Service: 15306388
  • Description: 3-Way F GT 150 Series, Sealed (BK)

Terminal Part Information

  • Terminal/Tray: 15326427/5
  • Core/Insulation Crimp: E/A
  • Release Tool/Test Probe: 15315247/J-35616-2A (GY)

Camshaft Position (CMP) Sensor - Intake (LAT/LE5)

Pin

Wire

Circuit

Function

A

0.5 D-BU

6259

5-Volt Reference 1

B

0.5 BN

6266

Low Reference

C

0.5 D-BU/WH

6265

Camshaft Position (CMP) Sensor Signal - Intake

Camshaft Position (CMP) Sensor (LZ4)


Object Number: 646415  Size: CH

Connector Part Information

  • OEM: 15326808
  • Service: 15306388
  • Description: 3-Way F GT 150 Series, Sealed (BK)

Terminal Part Information

  • Terminal/Tray: 15326427/5
  • Core/Insulation Crimp: E/A
  • Release Tool/Test Probe: 15315247/J-35616-2A (GY)

Camshaft Position (CMP) Sensor (LZ4)

Pin

Wire

Circuit

Function

A

0.5 D-BU

6259

5-Volt Reference 1

B

0.5 BN

6266

Low Reference

C

0.5 D-BU/WH

6265

Camshaft Position (CMP) Sensor Signal - Intake

Cellular Telephone Microphone (UE1)


Object Number: 35441  Size: CH

Connector Part Information

  • OEM: 12047663
  • Service: 12085481
  • Description: 2-Way M Metri-Pack 150 Series (BK)

Terminal Part Information

  • Terminal/Tray: 12047581/2
  • Core/Insulation Crimp: E/C
  • Release Tool/Test Probe: 12094429/J-35616-3 (GY)

Cellular Telephone Microphone (UE1)

Pin

Wire

Circuit

Function

A

0.5 BARE

1489

Drain Wire

B

0.5 GY

655

Cellular Microphone Signal

Center High Mounted Stop Lamp (CHMSL)


Object Number: 1869767  Size: CH

Connector Part Information

  • OEM: 15365708
  • Service: See Catalog
  • Description: 2-Way F MQS Series, Sealed (BK)

Terminal Part Information

  • Terminal/Tray: 962885-5/15
  • Core/Insulation Crimp: 6/6
  • Release Tool/Test Probe: 12094429/J-35616-64B (L-BU)

Center High Mounted Stop Lamp (CHMSL)

Pin

Wire

Circuit

Function

1

0.5 L-BU

20

Stop Lamp Supply Voltage

2

0.5 BK

550

Ground

Courtesy Lamp - Left Front Door


Object Number: 1356111  Size: CH

Connector Part Information

  • OEM: 13583214
  • Service: See Catalog
  • Description: 2-Way F 090 (NA)

Terminal Part Information

  • Terminal/Tray: 49702-6702/28
  • Core/Insulation Crimp: J/J
  • Release Tool/Test Probe: 12094429/J-35616-18 (BK)

Courtesy Lamp - Left Front Door

Pin

Wire

Circuit

Function

A

0.35 GY/BK

690

Courtesy Lamp Supply Voltage

B

0.35 BK

450

Ground

Courtesy Lamp - Right Front Door


Object Number: 1356111  Size: CH

Connector Part Information

  • OEM: 13583214
  • Service: 19178176
  • Description: 2-Way F 090 (NA)

Terminal Part Information

  • Terminal/Tray: 49702-6702/28
  • Core/Insulation Crimp: J/J
  • Release Tool/Test Probe: 12094429/J-35616-18 (BK)

Courtesy Lamp - Right Front Door

Pin

Wire

Circuit

Function

A

0.35 GY/BK

690

Courtesy Lamp Supply Voltage

B

0.35 BK

450

Ground

Courtesy/Reading Lamp - Front


Object Number: 1835132  Size: CH

Connector Part Information

  • OEM: 13513470
  • Service: See Catalog
  • Description: 8-Way F Micro-Pack HVT Series (BK)

Terminal Part Information

  • Pins: 2-4, 6, 8
  • Terminal/Tray: 15445905/23
  • Core/Insulation Crimp: J/J
  • Release Tool/Test Probe: 12180559/J-35616-16 (L-GN)

Courtesy/Reading Lamp - Front

Pin

Wire

Circuit

Function

1

--

--

Not Used

2

0.35 PU

328

Interior Lamp Switch Voltage Supply Circuit

3

0.5 GY/BK

690

Courtesy Lamp Supply Voltage

4

0.5 BK

650

Ground

5

--

--

Not Used

6

0.5 OG

1732

Courtesy Lamps Supply Voltage

7

--

--

Not Used

8

0.5 GY

157

Courtesy Lamp Control

Courtesy/Reading Lamp


Object Number: 1962077  Size: CH

Connector Part Information

  • OEM: 13513469
  • Service: See Catalog
  • Description: 4-Way F Micro-Pack HVT Series (BK)

Terminal Part Information

  • Terminal/Tray: 15445905/23
  • Core/Insulation Crimp: J/J
  • Release Tool/Test Probe: 12180559/J-35616-16 (L-GN)

Courtesy/Reading Lamp

Pin

Wire

Circuit

Function

1

--

--

Not Used

2

0.5 BK

650

Ground

3

0.5 OG

1732

Courtesy Lamps Supply Voltage

4

0.5 GY

157

Courtesy Lamp Control

Crankshaft Position (CKP) Sensor (LAT)


Object Number: 1664596  Size: CH

Connector Part Information

  • OEM: 13599025
  • Service: 88988337
  • Description: 3-Way F USCAR 064 Sealed (BK)

Terminal Part Information

  • Terminal/Tray: See Terminal Repair Kit
  • Core/Insulation Crimp: See Terminal Repair Kit
  • Release Tool/Test Probe: See Terminal Repair Kit

Crankshaft Position (CKP) Sensor (LAT)

Pin

Wire

Circuit

Function

1

0.5 L-GN

2867

5-Volt Reference 2

2

0.5 PU

574

Low Reference

3

0.5 YE

573

Crankshaft Position Sensor Signal

Crankshaft Position (CKP) Sensor (LE5)


Object Number: 1664596  Size: CH

Connector Part Information

  • OEM: 13525738
  • Service: 88988337
  • Description: 3-Way F USCAR 064 Sealed (BK)

Terminal Part Information

  • Terminal/Tray: 33467-0005/23
  • Core/Insulation Crimp: J/J
  • Release Tool/Test Probe: J-38125-213/J-35616-64B (L-BU)

Crankshaft Position (CKP) Sensor (LE5)

Pin

Wire

Circuit

Function

1

0.5 PU/WH

6270

5-Volt Reference 2

2

0.5 GY/BK

6272

Low Reference

3

0.5 WH/BK

6271

Crankshaft Position Sensor Signal

Crankshaft Position (CKP) Sensor (LY7)


Object Number: 1664596  Size: CH

Connector Part Information

  • OEM: 13525738
  • Service: 88988337
  • Description: 3-Way F USCAR 064 Sealed (BK)

Terminal Part Information

  • Terminal/Tray: 33467-0005/23
  • Core/Insulation Crimp: J/J
  • Release Tool/Test Probe: J-38125-213/J-35616-64B (L-BU)

Crankshaft Position (CKP) Sensor (LY7)

Pin

Wire

Circuit

Function

1

0.5 GY/BK

6272

Low Reference

2

0.5 WH/BK

6271

Crankshaft Position Sensor Signal

3

0.5 PU/WH

6270

5-Volt Reference 2

Crankshaft Position (CKP) Sensor (LZ4)


Object Number: 646415  Size: CH

Connector Part Information

  • OEM: 15326808
  • Service: 15306388
  • Description: 3-Way F GT 150 Series, Sealed (BK)

Terminal Part Information

  • Terminal/Tray: 15326427/5
  • Core/Insulation Crimp: E/A
  • Release Tool/Test Probe: 15315247/J-35616-2A (GY)

Crankshaft Position (CKP) Sensor (LZ4)

Pin

Wire

Circuit

Function

A

0.5 PU/WH

6270

5-Volt Reference 2

B

0.5 GY/BK

6272

Low Reference

C

0.5 WH/BK

6271

Crankshaft Position Sensor Signal

Data Link Connector (DLC)


Object Number: 1962076  Size: CH

Connector Part Information

  • OEM: 13580435
  • Service: 19178163
  • Description: 16-Way F CONN (BK)

Terminal Part Information

  • Terminal/Tray: 50420-8000/15
  • Core/Insulation Crimp: See Terminal Repair Kit
  • Release Tool/Test Probe: 12094429/J-35616-2A (GY)

Data Link Connector (DLC)

Pin

Wire

Circuit

Function

1

0.5 D-GN

5060

Low Speed GMLAN Serial Data

2-3

--

--

Not Used

4

0.5 BK

350

Ground

5

0.5 BK

350

Ground

6

0.5 TN/BK

2500

High Speed GMLAN Serial Data Bus+

7-13

--

--

Not Used

14

0.5 TN

2501

High Speed GMLAN Serial Data Bus-

15

--

--

Not Used

16

0.5 RD/WH

1840

Battery Positive Voltage

Digital Radio Receiver (U2K)


Object Number: 850856  Size: CH

Connector Part Information

  • OEM: 15394150
  • Service: 15394150
  • Description: 16-Way F Micro-Pack 064 Series (BK)

Terminal Part Information

  • Terminal/Tray: 15359541/4
  • Core/Insulation Crimp: M/M
  • Release Tool/Test Probe: 15381651-2/J-35616-64B (L-BU)

Digital Radio Receiver (U2K)

Pin

Wire

Circuit

Function

1

0.35 TN/WH

372

Remote Radio Audio Output (-)

2

0.35 BN/WH

367

Left Audio Signal (+)

3

0.35 D-GN/WH

368

Right Audio Signal (+)

4

0.35 GY

388

Remote Radio Right Audio Signal

5

0.5 D-GN

5060

Low Speed GMLAN Serial Data

6-8

--

--

Not Used

9

0.5 BK/WH

451

Ground

10

--

--

Not Used

11

0.35 BARE

1573

Drain Wire

12-15

--

--

Not Used

16

0.5 RD/WH

1840

Battery Positive Voltage

Door Latch - Driver


Object Number: 845631  Size: CH

Connector Part Information

  • OEM: 10768367
  • Service: 10768367
  • Description: 10-Way F Sealed Series (BK)

Terminal Part Information

  • Terminal/Tray: 4-969005-1/16
  • Core/Insulation Crimp: E/1
  • Release Tool/Test Probe: J-38125-560/J-35616-33 (YE)

Door Latch - Driver

Pin

Wire

Circuit

Function

1

--

--

Not Used

2

0.5 TN

694

Driver Door Lock Actuator Unlock Control

3

0.5 GY

295

Door Lock Actuator Lock Control

4

0.35 L-GN

1123

Door Lock Key Switch Lock Signal

5

--

--

Not Used

6

0.35 GY/BK

745

Left Front Door Ajar Switch Signal

7

0.35 TN

126

Left Front Door Open Switch Signal

8

0.35 BK

450

Ground

9

0.35 PU

1124

Door Lock Key Switch Unlock Signal

10

--

--

Not Used

Door Latch - Left Rear


Object Number: 812596  Size: CH

Connector Part Information

  • OEM: 10768369
  • Service: 88986251
  • Description: 6-Way F Sealed Series (BK)

Terminal Part Information

  • Terminal/Tray: 4-969005-1/16
  • Core/Insulation Crimp: E/1
  • Release Tool/Test Probe: J-38125-560/J-35616-33 (YE)

Door Latch - Left Rear

Pin

Wire

Circuit

Function

1

--

--

Not Used

2

0.5 TN

294

Door Lock Actuator Unlock Control

3

0.5 GY

295

Door Lock Actuator Lock Control

4

0.35 TN/WH

746

Left Rear Door Ajar Switch Signal

5

--

--

Not Used

6

0.35 BK

650

Ground

Door Latch - Passenger


Object Number: 812596  Size: CH

Connector Part Information

  • OEM: 10768369
  • Service: 88986251
  • Description: 6-Way F Sealed Series (BK)

Terminal Part Information

  • Pins: 1, 3, 5-6
  • Terminal/Tray: 964274-2/16
  • Core/Insulation Crimp: E/1
  • Release Tool/Test Probe: J-38125-560/J-35616-33 (YE)

Door Latch - Passenger

Pin

Wire

Circuit

Function

1

0.35 TN/WH

746

Right Front Door Ajar Switch Signal

2

--

--

Not Used

3

0.35 BK

450

Ground

4

--

--

Not Used

5

0.5 TN

294

Door Lock Actuator Unlock Control

6

0.5 GY

295

Door Lock Actuator Lock Control

Door Latch - Right Rear


Object Number: 812596  Size: CH

Connector Part Information

  • OEM: 10768369
  • Service: 88986251
  • Description: 6-Way F Sealed Series (BK)

Terminal Part Information

  • Terminal/Tray: 964274-2/16
  • Core/Insulation Crimp: E/1
  • Release Tool/Test Probe: J-38125-560/J-35616-33 (YE)

Door Latch - Right Rear

Pin

Wire

Circuit

Function

1

0.35 TN/WH

746

Right Rear Door Ajar Switch Signal

2

--

--

Not Used

3

0.35 BK

550

Ground

4

--

--

Not Used

5

0.5 TN

294

Door Lock Actuator Unlock Control

6

0.5 GY

295

Door Lock Actuator Lock Control

Door Lock Switch - Driver


Object Number: 1962077  Size: CH

Connector Part Information

  • OEM: 13513469
  • Service: See Catalog
  • Description: 4-Way F Micro-Pack HVT Series (BK)

Terminal Part Information

  • Terminal/Tray: 15445905/23
  • Core/Insulation Crimp: J/J
  • Release Tool/Test Probe: 12180559/J-35616-16 (L-GN)

Door Lock Switch - Driver

Pin

Wire

Circuit

Function

1

0.35 PK/BK

780

Driver Door Lock Switch Lock Signal

2

0.35 BK

450

Ground

3

0.35 OG/BK

781

Driver Door Lock Switch Unlock Signal

4

0.35 YE

1491

Backlight Lamps Control

Driver Information Center (DIC)


Object Number: 850856  Size: CH

Connector Part Information

  • OEM: 15394150
  • Service: 15394150
  • Description: 16-Way F Micro-Pack 064 Series (BK)

Terminal Part Information

  • Terminal/Tray: 15359541/4
  • Core/Insulation Crimp: M/M
  • Release Tool/Test Probe: 15381651-2/J-35616-64B (L-BU)

Driver Information Center (DIC)

Pin

Wire

Circuit

Function

1

0.35 PU/WH

1491

LED Dimming Signal/LED Dimming Supply

2

0.5 RD/WH

1940

Battery Positive Voltage

3

0.35 YE

1491

Backlight Lamps Control

4

--

--

Not Used

5

0.35 L-BU

1788

Traction Control Switch Signal

6

--

--

Not Used

7

0.35 TN

2144

Hazard Switch Signal

8

0.35 YE

18

Left Rear Stop/Turn Lamp Supply Voltage

9

0.35 PK

139

Ignition 1 Voltage

10

0.35 YE

749

Security Indicator Control

11

0.35 BN

4

Accessory Voltage

12

0.35 D-GN

2308

Passenger Air Bag Off Indicator Control

13

0.35 D-BU

2307

Passenger Air Bag On Indicator Control

14

0.35 PU

5234

Passenger Seat Belt Indicator

15

0.35 GY

391

Rear Window Wiper Switch Signal

16

0.35 BK

350

Ground

Electric Power Steering (EPS) Module X1 (LAT/LE5)


Object Number: 1866125  Size: CH

Connector Part Information

  • OEM: 7283-3521-40
  • Service: 19153195
  • Description: 2-Way F 9.5 Series (L-GY)

Terminal Part Information

  • Terminal/Tray: See Terminal Repair Kit
  • Core/Insulation Crimp: See Terminal Repair Kit
  • Release Tool/Test Probe: See Terminal Repair Kit

Electric Power Steering (EPS) Module X1 (LAT/LE5)

Pin

Wire

Circuit

Function

1

8.0 RD/BK

42

Battery Positive Voltage

2

8.0 BK

750

Ground

Electric Power Steering (EPS) Module X2 (LAT/LE5)


Object Number: 1866124  Size: CH

Connector Part Information

  • OEM: 15465703
  • Service: See Catalog
  • Description: 12-Way F 0.64 Series (NA)

Terminal Part Information

  • Terminal/Tray: See Terminal Repair Kit
  • Core/Insulation Crimp: See Terminal Repair Kit
  • Release Tool/Test Probe: See Terminal Repair Kit

Electric Power Steering (EPS) Module X2 (LAT/LE5)

Pin

Wire

Circuit

Function

1

0.35 TN/BK

2500

High Speed GMLAN Serial Data Bus+

2

0.35 TN/BK

2500

High Speed GMLAN Serial Data Bus+

3-5

--

--

Not Used

6

0.35 L-BU

5986

Serial Data Communications Enable

7

0.35 TN

2501

High Speed GMLAN Serial Data Bus-

8

0.35 TN

2501

High Speed GMLAN Serial Data Bus-

9-12

--

--

Not Used

Electric Power Steering (EPS) Module X3 (LAT/LE5)


Object Number: 1881391  Size: CH

Connector Part Information

  • OEM: 1747088-1
  • Service: See Catalog
  • Description: 8-Way F 0.64 Series (NA)

Terminal Part Information

  • Terminal/Tray: See Catalog
  • Core/Insulation Crimp: See Catalog
  • Release Tool/Test Probe: See Catalog

Electric Power Steering (EPS) Module X3 (LAT/LE5)

Pin

Wire

Circuit

Function

1

GY

--

Torque Sensor GND

2

WH

--

Torque Sensor Exciting GND

3

--

--

Not Used

4

D-GN

--

Torque Sensor Exciting

5

L-BU

--

Torque Sensor Output Shaft Side COS

6

YE

--

Torque Sensor Output Shaft Side SN

7

BK

--

Torque Sensor Input Shaft Side COS

8

PK

--

Torque Sensor Input Shaft Side SN

Electric Power Steering (EPS) Module X4 (LAT/LE5)


Object Number: 1881393  Size: CH

Connector Part Information

  • OEM: 1747085-1
  • Service: See Catalog
  • Description: 6-Way F 0.64 Series (NA)

Terminal Part Information

  • Terminal/Tray: See Catalog
  • Core/Insulation Crimp: See Catalog
  • Release Tool/Test Probe: See Catalog

Electric Power Steering (EPS) Module X4 (LAT/LE5)

Pin

Wire

Circuit

Function

1

RD

--

Rotational Sensor Exciting

2

--

--

Not Used

3

BK

--

Rotational Sensor Exciting GND

4

--

--

Not Used

5

D-BU

--

Rotational Sensor COS

6

YE

--

Rotational Sensor SN

Electric Power Steering (EPS) Module X5 (LAT/LE5)


Object Number: 1881316  Size: CH

Connector Part Information

  • OEM: 6098-0601
  • Service: See Catalog
  • Description: 3-Way F TS 187 Series (L-GY)

Terminal Part Information

  • Terminal/Tray: See Catalog
  • Core/Insulation Crimp: See Catalog
  • Release Tool/Test Probe: See Catalog

Electric Power Steering (EPS) Module X5 (LAT/LE5)

Pin

Wire

Circuit

Function

1

RD

--

Motor W Phase

2

WH

--

Motor V Phase

3

BK

--

Motor U Phase

Electronic Brake Control Module (EBCM)


Object Number: 1830966  Size: CH

Connector Part Information

  • OEM: 13547678
  • Service: 19115598
  • Description: 47-Way F MK25 Series Sealed (BK)

Terminal Part Information

  • Pins: 1, 16
  • Terminal/Tray: 7116-4142-02/10
  • Core/Insulation Crimp: Pins 1 - A/3
  • Core/Insulation Crimp: Pins 16 - D/3
  • Release Tool/Test Probe: 12094430/J-35616-42 (RD)
  • Pins: 3, 8, 11-14, 18-19, 22, 29, 33-34, 36-37, 42-43, 45-46
  • Terminal/Tray: 638551-1/16
  • Core/Insulation Crimp: Pins 3, 8 - J/J
  • Core/Insulation Crimp: Pins 11-14, 18-19, 22, 29, 33-34, 36-37, 42-43, 45- 46 - K/K
  • Release Tool/Test Probe: 15315247/J-35616-64B (L-BU)
  • Pins: 32
  • Terminal/Tray: 7116-4142-02/10
  • Core/Insulation Crimp: See Terminal Repair Kit
  • Release Tool/Test Probe: 12094430/J-35616-42 (RD)

Electronic Brake Control Module (EBCM)

Pin

Wire

Circuit

Function

1

3 RD/WH

240

Battery Positive Voltage

2

--

--

Not Used

3

0.35 D-GN/WH

817

Vehicle Speed Signal (-LAT)

4-7

--

--

Not Used

8

0.35 L-BU

5986

Serial Data Communication Enable

9-10

--

--

Not Used

11

0.5 TN/BK

2500

High Speed GMLAN Serial Data Bus+

12

0.5 TN/BK

2500

High Speed GMLAN Serial Data Bus+

13

0.5 TN

2501

High Speed GMLAN Serial Data Bus-

14

0.5 TN

2501

High Speed GMLAN Serial Data Bus-

15

--

--

Not Used

16

5 BK/WH

51

Ground

17

--

--

Not Used

18

0.5 TN/WH

6433

CAN Bus High Serial Data

19

0.5 L-GN/BK

6432

CAN Bus Low Serial Data

20-21

--

--

Not Used

22

0.5 GY

6044

Steering Angle Sensor 5-Volt Reference

23-28

--

--

Not Used

29

0.5 OG/BK

6045

Steering Angle Sensor Low Reference

30-31

--

--

Not Used

32

2 RD/WH

840

Battery Positive Voltage

33

0.5 D-GN

872

Right Front Wheel Speed Sensor Signal

34

0.5 GY/WH

7065

Wheel Speed Sensor Supply Voltage Right Front

35

--

--

Not Used

36

0.5 GY/BK

7127

Wheel Speed Sensor Supply Voltage Left Rear

37

0.5 TN

884

Left Rear Wheel Speed Sensor Signal

38-41

--

--

Not Used

42

0.5 BN

882

Right Rear Wheel Speed Sensor Signal

43

0.5 GY/BK

7128

Wheel Speed Sensor Supply Voltage Right Rear

44

--

--

Not Used

45

0.5 GY/WH

7064

Wheel Speed Sensor Supply Voltage Left Front

46

0.5 L-BU

830

Left Front Wheel Speed Sensor Signal

47

--

--

Not Used

Electronic Compass Module (RCM)


Object Number: 1865635  Size: CH

Connector Part Information

  • OEM: 13541539
  • Service: See Catalog
  • Description: 4-Way F AIT II Series (BK)

Terminal Part Information

  • Terminal/Tray: 962885-5/15
  • Core/Insulation Crimp: 6/6
  • Release Tool/Test Probe: 12094429/J-35616-64B (L-BU)

Electronic Compass Module (RCM)

Pin

Wire

Circuit

Function

1

0.35 PK

239

Ignition

2

0.35 BK

650

Ground

3

0.35 BN

6132

Linear Interconnect Network Bus 1

4

--

--

Not Used

Engine Control Module (ECM) X1 (LAT)


Object Number: 784851  Size: CH

Connector Part Information

  • OEM: 34576-0703
  • Service: See Catalog
  • Description: 56-Way FMX123 34576 Series, Sealed (BU)

Terminal Part Information

  • Pins: 7, 9, 12-13, 18-20, 26, 31-37, 40, 44, 46-49, 53-55
  • Terminal/Tray: 33467-0003/23
  • Core/Insulation Crimp: H/H
  • Release Tool/Test Probe: J-38125-213/J-35616-64B (L-BU)

Engine Control Module (ECM) X1 (LAT)

Pin

Wire

Circuit

Function

1-6

--

--

Not Used

7

0.5 WH

17

Stop Lamp Switch Signal

8

--

--

Not Used

9

0.5 BN/WH

6281

Low Reference

10-11

--

--

Not Used

12

0.5 BN/WH

419

Malfunction Indicator Lamp (MIL) Control

13

0.5 D-GN/WH

465

Fuel Pump Relay Control

14-17

--

--

Not Used

18

0.5 D-BU

5985

Accessory Wakeup Serial Data

19

0.5 PK

639

Ignition 1 Voltage

20

0.5 RD/WH

40

Battery Positive Voltage

21-25

--

--

Not Used

26

0.5 PU/WH

6386

Starter Relay Coil Control

27-30

--

--

Not Used

31

0.5 TN/BK

9945

Low Reference

32

0.5 GY

9905

5-Volt Reference 2

33

0.5 WH/BK

1164

5-Volt Reference 2

34

0.5 BN/WH

6283

5-Volt Reference 1

35

0.5 TN

1274

5-Volt Reference 1

36

0.5 BN

1271

Low Reference

37

0.5 PU

1272

Low Reference

38-39

--

--

Not Used

40

0.5 YE

5991

Powertrain Relay Control

41-43

--

--

Not Used

44

0.5 D-BU

1936

Fuel Level Sensor Signal - Left

45

0.5 L-BU

1937

Fuel Level Sensor Signal - Right

46

0.5 YE

9914

Brake Booster Vacuum Sensor Signal

47

0.5 D-BU

1161

APP Sensor 1 Signal

48

0.5 D-GN

890

Fuel Tank Pressure Sensor Signal

49

0.5 L-BU

1162

APP Sensor 2 Signal

50-52

--

--

Not Used

53

0.5 D-GN/WH

459

A/C Compressor Clutch Relay Control

54

0.5 D-BU

473

High Speed Cooling Fan Relay Control

55

0.5 WH

1310

EVAP Canister Vent Solenoid Control

56

--

--

Not Used

Engine Control Module (ECM) X1 (LE5)


Object Number: 1590596  Size: CH

Connector Part Information

  • OEM: 15499466
  • Service: 88988931
  • Description: 73-Way F MX123 Series, Sealed (BK)

Terminal Part Information

  • Pins: 1, 3, 5-6, 8-9, 11, 13, 15, 17-21, 24-25, 27, 30, 32, 35, 37, 39, 40-45, 47, 49, 54-55, 57-58, 61, 65-67, 70-71
  • Terminal/Tray: 33467-0005/23
  • Core/Insulation Crimp: J/J
  • Release Tool/Test Probe: J-38125-213/J-35616-64B (L-BU)
  • Pins: 73
  • Terminal/Tray: See Terminal Repair Kit
  • Core/Insulation Crimp: See Terminal Repair Kit
  • Release Tool/Test Probe: See Terminal Repair Kit

Engine Control Module (ECM) X1 (LE5)

Pin

Wire

Circuit

Function

1

0.5 D-BU

1161

Accelerator Pedal Position (APP) Sensor 1 Signal

2

--

--

Not Used

3

0.5 D-BU

5985

Accessory Wakeup Serial Data

4

--

--

Not Used

5

0.5 D-GN

335

Low Speed Engine Cooling Fan Relay Control

6

0.5 D-GN/WH

465

Fuel Pump Relay Control - Primary

7

--

--

Not Used

8

0.5 TN

5514

Low Reference

9

0.5 TN/WH

3121

HO2S Low Signal - Sensor 2

10-12

--

--

Not Used

13

0.5 YE

5991

Powertrain Relay Coil Control

14

--

--

Not Used

15

0.5 GY/WH

3122

HO2S Heater Low Control - Sensor 2

16

--

--

Not Used

17

0.5 PU

3120

HO2S High Signal - Sensor 2

18

0.5 L-BU

1162

Accelerator Pedal Position (APP) Sensor 2 Signal

19

0.5 PK

639

Ignition 1 Voltage

20

0.5 RD/WH

40

Battery Positive Voltage

21

0.5 PU

1272

Low Reference

22-23

--

--

Not Used

24

0.5 BN/WH

6281

Low Reference

25

0.5 OG/BK

380

A/C Refrigerant Pressure Sensor Signal

26

--

--

Not Used

27

0.5 BN/WH

419

Malfunction Indicator Lamp (MIL) Control

28-29

--

--

Not Used

30

0.5 D-GN/WH

459

A/C Compressor Clutch Relay Control

31

--

--

Not Used

32

0.5 PU/WH

6386

Starter Enable Relay Control

33-34

--

--

Not Used

35

0.5 TN

2760

Low Reference

36

--

--

Not Used

37

0.5 YE

492

Mass Air Flow (MAF) Sensor Signal

38

--

--

Not Used

39

0.5 D-BU

1936

Fuel Level Sensor Signal - Secondary

40

0.5 L-BU

1937

Fuel Level Sensor Signal - Primary

41

0.5 BN

1271

Low Reference

42

0.5 D-GN

890

Fuel Tank Pressure Sensor Signal

43

0.5 TN/BK

2500

High Speed GMLAN Serial Data Bus+

44

0.5 TN

2501

High Speed GMLAN Serial Data Bus-

45-46

--

--

Not Used

47

0.5 WH/BK

1164

5-Volt Reference 2

48

--

--

Not Used

49

0.5 D-BU

473

High Speed Engine Cooling Fan Relay Control

50-54

--

--

Not Used

55

0.5 WH

17

Stop Lamp Switch Signal

56-57

--

--

Not Used

58

0.5 L-BU

6289

Intake Air Temperature (IAT) Sensor Signal

59-64

--

--

Not Used

65

0.5 GY

2700

5-Volt Reference 1

66

0.5 BN/WH

6283

5-Volt Reference 1

67

0.5 TN

1274

5-Volt Reference 1

68-69

--

--

Not Used

70

0.5 WH

1310

EVAP Canister Vent Solenoid Control

71-72

--

--

Not Used

73

0.8 PK/BK

6341

Powertrain Relay Contact Signal

Engine Control Module (ECM) X1 (LY7)


Object Number: 784851  Size: CH

Connector Part Information

  • OEM: 13510837
  • Service: 88988373
  • Description: 56-Way F MX123 Series Sealed (BU)

Terminal Part Information

  • Terminal/Tray: 33467-0005/23
  • Core/Insulation Crimp: J/J
  • Release Tool/Test Probe: J-38125-213/J-35616-64B (L-BU)

Engine Control Module (ECM) X1 (LY7)

Pin

Wire

Circuit

Function

1-6

--

--

Not Used

7

0.5 WH

17

Stop Lamp Switch Signal

8

--

--

Not Used

9

0.5 BN/WH

6281

Low Reference

10-11

--

--

Not Used

12

0.5 BN/WH

419

Malfunction Indicator Lamp (MIL) Control

13

0.5 D-GN/WH

465

Fuel Pump Relay Control - Primary

14-17

--

--

Not Used

18

0.5 D-BU

5985

Accessory Wakeup Serial Data

19

0.5 PK

639

Ignition 1 Voltage

20

0.5 RD/WH

40

Battery Positive Voltage

21-25

--

--

Not Used

26

0.5 PU/WH

6386

Starter Enable Relay Control

27-32

--

--

Not Used

33

0.5 WH/BK

1164

5-Volt Reference 2

34

0.5 BN/WH

6283

5-Volt Reference 1

35

0.5 TN

1274

5-Volt Reference 1

36

0.5 BN

1271

Low Reference

37

0.5 PU

1272

Low Reference

38-39

--

--

Not Used

40

0.5 YE

5991

Powertrain Relay Coil Control

41-43

--

--

Not Used

44

0.5 D-BU

1936

Fuel Level Sensor Signal - Secondary

45

0.5 L-BU

1937

Fuel Level Sensor Signal - Primary

46

--

--

Not Used

47

0.5 D-BU

1161

Accelerator Pedal Position (APP) Sensor 1 Signal

48

0.5 D-GN

890

Fuel Tank Pressure Sensor Signal

49

0.5 L-BU

1162

Accelerator Pedal Position (APP) Sensor 2 Signal

50-52

--

--

Not Used

53

0.5 D-GN/WH

459

A/C Compressor Clutch Relay Control

54

0.5 D-BU

473

High Speed Engine Cooling Fan Relay Control

55

0.5 WH

1310

EVAP Canister Vent Solenoid Control

56

--

--

Not Used

Engine Control Module (ECM) X1 (LZ4)


Object Number: 1590596  Size: CH

Connector Part Information

  • OEM: 15499466
  • Service: 88988931
  • Description: 73-Way F MX123 Series, Sealed (BK)

Terminal Part Information

  • Pins: 1, 9-13, 16-20, 23-24, 27-34, 36-38, 41, 47, 49-50, 52, 56, 58-59, 61, 63-65, 68-70
  • Terminal/Tray: 33467-0005/23
  • Core/Insulation Crimp: Pins 1, 9-13, 16-20, 23- 24, 27-34, 36-38, 41, 49-50, 52, 56, 58-59, 61, 63-65, 68-70 - J/J
  • Core/Insulation Crimp: Pins 47 - K/K
  • Release Tool/Test Probe: J-38125-213/J-35616-64B (L-BU)
  • Pins: 73
  • Terminal/Tray: 1326030-8/17
  • Core/Insulation Crimp: 4/D
  • Release Tool/Test Probe: 12094429/J-35616-4A (PU)

Engine Control Module (ECM) X1 (LZ4)

Pin

Wire

Circuit

Function

1

0.5 OG/BK

1786

Ignition Lock Cylinder Control Actuator Signal

2-8

--

--

Not Used

9

0.5 WH

17

Stop Lamp Switch Signal

10

0.5 PU

3120

HO2S High Signal Bank 1 Sensor 2

11

0.5 TN/WH

3121

HO2S Low Signal Bank 1 Sensor 2

12

0.5 OG/BK

380

A/C Refrigerant Pressure Sensor Signal

13

0.5 TN

5514

Low Reference

14-15

--

--

Not Used

16

0.5 D-BU

1936

Fuel Level Sensor Signal - Secondary

17

0.5 D-BU

473

High Speed Engine Cooling Fan Relay Control

18

0.5 D-BU

5985

Accessory Wakeup Serial Data

19

0.5 PK

639

Ignition 1 Voltage

20

0.5 RD/WH

40

Battery Positive Voltage

21-22

--

--

Not Used

23

0.5 PU

1272

Low Reference

24

0.5 D-GN

890

Fuel Tank Pressure Sensor Signal

25-26

--

--

Not Used

27

0.5 TN

2501

High Speed GMLAN Serial Data Bus-

28

0.5 TN/BK

2500

High Speed GMLAN Serial Data Bus+

29

0.5 D-BU

1161

Accelerator Pedal Position (APP) Sensor 1 Signal

30

0.5 BN

1271

Low Reference

31

0.5 BN/WH

6281

Low Reference

32

0.5 L-BU

1162

Accelerator Pedal Position (APP) Sensor 2 Signal

33

0.5 BN/WH

6283

5-Volt Reference 1

34

0.5 GY

2700

5-Volt Reference 1

35

--

--

Not Used

36

0.5 TN

1274

5-Volt Reference 1

37

0.5 L-BU

6289

Intake Air Temperature (IAT) Sensor Signal

38

0.5 TN

2760

Low Reference

39-40

--

--

Not Used

41

0.5 YE

492

Mass Air Flow (MAF) Sensor Signal

42-46

--

--

Not Used

47

0.8 PK/BK

6341

Ignition 1 Voltage

48

--

--

Not Used

49

0.5 TN

3221

HO2S Low Signal Bank 2 Sensor 2

50

0.5 D-GN/WH

465

Fuel Pump Relay Control - Primary

51

--

--

Not Used

52

0.5 PU/WH

6386

Starter Enable Relay Control

53-55

--

--

Not Used

56

0.5 WH/BK

1164

5-Volt Reference 2

57

--

--

Not Used

58

0.5 D-GN

335

Low Speed Engine Cooling Fan Relay Control

59

0.5 YE

5991

Powertrain Relay Coil Control

60

--

--

Not Used

61

0.5 WH

1310

EVAP Canister Vent Solenoid Control

62

--

--

Not Used

63

0.5 D-GN/WH

459

A/C Compressor Clutch Relay Control

64

0.5 OG/WH

3223

HO2S Heater Low Control Bank 2 Sensor 2

65

0.5 GY/WH

3122

HO2S Heater Low Control - Bank 2 Sensor 1

66-67

--

--

Not Used

68

0.5 BN/WH

419

Malfunction Indicator Lamp (MIL) Control

69

0.5 PU

3220

HO2S High Signal Bank 2 Sensor 2

70

0.5 L-BU

1937

Secondary Fuel Level Sensor Signal

71-72

--

--

Not Used

73

3 BK/WH

251

Ground

Engine Control Module (ECM) X2 (LAT)


Object Number: 1590592  Size: CH

Connector Part Information

  • OEM: 12582677
  • Service: See Catalog
  • Description: 73-Way F 0.64 2.8 Series, Sealed (BK)

Terminal Part Information

  • Terminal/Tray: See Terminal Repair Kit
  • Core/Insulation Crimp: See Terminal Repair Kit
  • Release Tool/Test Probe: J-38125-213/J-35616-64B (L-BU)

Engine Control Module (ECM) X2 (LAT)

Pin

Wire

Circuit

Function

1

0.5 PU

2121

Ignition Coil 1 Control

2

0.5 TN/WH

3111

HO2S Low Signal Sensor 1

3

0.5 PU/WH

3110

HO2S High Signal Sensor 1

4

0.5 PU

3120

HO2S High Signal Sensor 2

5

0.5 TN/WH

3121

HO2S Low Signal Sensor 2

6-7

--

--

Not Used

8

0.5 D-BU

496

Knock Sensor (KS) 1 Signal

9

0.5 GY

1716

Knock Sensor (KS) 1 Signal

10

--

--

Not Used

11

0.5 YE

581

Throttle Actuator Control (TAC) Motor Control - 1

12

0.5 BN

582

Throttle Actuator Control (TAC) Motor Control - 2

13

0.8 PK/BK

6341

Ignition 1 Voltage

14

0.5 PU

5284

Camshaft Position (CMP) Actuator Solenoid Valve - Bank 1 Intake Control

15-16

--

--

Not Used

17

0.5 L-BU

2123

Ignition Coil 3 Control

18-19

--

--

Not Used

20

0.5 PU

6267

Low Reference

21-22

--

--

Not Used

23

0.5 BN

6266

Low Reference

24-26

--

--

Not Used

27

0.5 PU

574

Low Reference

28

--

--

Not Used

29

0.5 TN

2752

Low Reference

30

0.5 BN/WH

6754

Low Reference

31

--

--

Not Used

32

0.5 L-GN/BK

1745

Fuel Injector 2 Control

33

0.5 D-GN/WH

2124

Ignition Coil 4 Control

34

--

--

Not Used

35

0.5 BN

2129

Low Reference

36

0.5 D-GN

6457

5-Volt Reference 1

37-38

--

--

Not Used

39

0.5 D-BU

6259

5-Volt Reference 1

40-41

--

--

Not Used

42

0.5 TN

2760

Low Reference

43

0.5 L-GN

2867

5-Volt Reference 2

44

0.5 GY

2701

5-Volt Reference 2

45

--

--

Not Used

46

0.5 BN

6753

Low Reference

47

--

--

Not Used

48

0.5 PK/BK

1746

Fuel Injector 3 Control

49

--

--

Not Used

50

0.5 L-GN

5282

Camshaft Position (CMP) Actuator Solenoid Valve - Bank 1 Exhaust Control

51-52

--

--

Not Used

53

0.5 OG/WH

2122

Ignition Coil 2 Control

54-55

--

--

Not Used

56

0.5 D-GN/WH

6264

Camshaft Position (CMP) Sensor - Exhaust Signal

57-58

--

--

Not Used

59

0.5 D-BU/WH

6265

Camshaft Position (CMP) Sensor - Intake Signal

60-61

--

--

Not Used

62

0.5 L-BU

6289

Intake Air temperature (IAT) Sensor Signal

63

0.5 YE

573

Crankshaft Position (CKP) Sensor Signal

64

0.5 D-GN

485

Throttle Position (TP) Sensor 1 Signal

65

--

--

Not Used

66

0.5 PU

486

Throttle Position (TP) Sensor 2 Signal

67

0.5 YE

492

Mass Air Flow (MAF) Sensor Signal

68

0.5 GY/WH

3113

HO2S Heater Low Control Sensor 1

69

0.5 GY/WH

3122

HO2S Heater Low Control Sensor 2

70

--

--

Not Used

71

0.5 L-BU/BK

844

Fuel Injector 4 Control

72

0.5 TN

1744

Fuel Injector 1 Control

73

3 BK/WH

251

Ground

Engine Control Module (ECM) X2 (LE5)


Object Number: 1590596  Size: CH

Connector Part Information

  • OEM: 15497996
  • Service: 88988372
  • Description: 73-Way F 0.64 2.8 Series, Sealed (BK)

Terminal Part Information

  • Pins: 4-10, 13-16, 20-24, 26, 30-32, 33-34, 37, 39-40, 43, 45-51, 53-54, 57-61, 65, 67
  • Terminal/Tray: 33467-0005/23
  • Core/Insulation Crimp: Pins 4-10, 13-15, 20-24, 26, 30-31, 33-34, 37, 39-40, 43, 45-51, 53-54, 57-61, 65, 67 - J/J
  • Core/Insulation Crimp: Pins 16, 32 - See Terminal Repair Kit
  • Release Tool/Test Probe: J-38125-213/J-35616-64B (L-BU)
  • Pins: 73
  • Terminal/Tray: 1326030-8/17
  • Core/Insulation Crimp: 4/D
  • Release Tool/Test Probe: 12094429/J-35616-4A (PU)

Engine Control Module (ECM) X2 (LE5)

Pin

Wire

Circuit

Function

1-3

--

--

Not Used

4

0.5 TN

2761

Low Reference

5

0.5 GY/BK

6272

Low Reference

6

0.5 TN

1744

Fuel Injector 1 Control

7

0.5 PK/BK

1746

Fuel Injector 3 Control

8

0.5 L-BU/BK

844

Fuel Injector 4 Control

9

0.5 BN

2129

Low Reference

10

0.5 L-GN/BK

1745

Fuel Injector 2 Control

11-12

--

--

Not Used

13

0.5 GY

2704

5-Volt Reference 1

14

0.5 WH/BK

6396

Camshaft Position (CMP) Actuator Solenoid Control - Exhaust

15

0.5 PK/BK

6395

Camshaft Position (CMP) Actuator Solenoid Control - Intake

16

0.75 YE

581

Throttle Actuator Control (TAC) Motor Control - 1

17-19

--

--

Not Used

20

0.5 BN

6266

Camshaft Position (CMP) Sensor Low Reference - Intake

21

0.5 PU

6267

Camshaft Position (CMP) Sensor Low Reference - Exhaust

22

0.5 PU

2121

Ignition Coil 1 Control

23

0.5 L-BU

2123

Ignition Coil 3 Control

24

0.5 D-GN/WH

2124

Ignition Coil 4 Control

25

--

--

Not Used

26

0.5 OG/WH

2122

Ignition Coil 2 Control

27-29

--

--

Not Used

30

0.5 D-GN/WH

428

EVAP Canister Purge Solenoid Control

31

0.5 OG

225

Generator Turn On Signal

32

0.75 BN

582

Throttle Actuator Control (TAC) Motor Control - 2

33

0.5 D-BU

6259

5-Volt Reference 1

34

0.5 D-GN

6457

5-Volt Reference 1

35-36

--

--

Not Used

37

0.5 PU/WH

3110

HO2S Reference Voltage Sensor 1

38

--

--

Not Used

39

0.5 L-GN

432

Manifold Absolute Pressure (MAP) Sensor Signal

40

0.5 TN

2752

Low Reference

41-42

--

--

Not Used

43

0.5 GY

23

Generator Field Duty Cycle Signal

44

--

--

Not Used

45

0.5 WH/BK

6271

Crankshaft Position (CKP) Sensor Signal

46

0.5 D-BU/WH

6265

Camshaft Position (CMP) Sensor Signal - Intake

47

0.5 D-GN/WH

6264

Camshaft Position (CMP) Sensor Signal - Exhaust

48

0.5 TN/WH

3111

HO2S Low Reference Sensor 1

49

0.5 OG/BK

469

Low Reference

50

0.5 GY

1716

Low Reference

51

0.5 D-BU

496

Knock Sensor 1 Signal

52

--

--

Not Used

53

0.5 GY

2701

5-Volt Reference 2

54

0.5 PU/WH

6270

5-Volt Reference 2

55-56

--

--

Not Used

57

0.5 D-GN

485

Throttle Position (TP) Sensor 1 Signal

58

0.5 YE

410

ECT Sensor Signal

59

0.5 PU

486

Throttle Position (TP) Sensor 2 Signal

60

0.5 BN

6753

Low Reference

61

0.5 BN/WH

6754

Camshaft Position (CMP) Actuator Solenoid Control

62-64

--

--

Not Used

65

0.5 GY/WH

3113

HO2S Heater Low Control - Sensor 1

66

--

--

Not Used

67

0.5 BN

1174

Engine Oil Level (EOL) Switch Signal

68-72

--

--

Not Used

73

3 BK/WH

251

Ground

Engine Control Module (ECM) X2 (LY7)


Object Number: 1590596  Size: CH

Connector Part Information

  • OEM: 15499466
  • Service: 88988931
  • Description: 73-Way F MX123 Series, Sealed (BK)

Terminal Part Information

  • Pins: 1-9, 11-12, 14-15, 17, 19-24, 27, 29, 30-39, 42-44, 46-54, 56, 57-59, 62-64, 66-69, 71-72
  • Terminal/Tray: 33467-0005/23
  • Core/Insulation Crimp: Pins 1-9, 14-15, 17, 19-24, 27, 29-39, 42-44, 46-54, 56-59, 62-64, 66-69, 71-72 - J/J
  • Core/Insulation Crimp: Pins 11-12 - See Terminal Repair Kit
  • Release Tool/Test Probe: J-38125-213/J-35616-64B (L-BU)
  • Pins: 13
  • Terminal/Tray: 33467-0005/23
  • Core/Insulation Crimp: K/K
  • Release Tool/Test Probe: J-38125-213/J-35616-64B (L-BU)
  • Pins: 73
  • Terminal/Tray: 1326030-8/17
  • Core/Insulation Crimp: 4/D
  • Release Tool/Test Probe: 12094429/J-35616-4A (PU)

Engine Control Module (ECM) X2 (LY7)

Pin

Wire

Circuit

Function

1

0.5 PU

2121

Ignition Coil 1 Control

2

0.5 TN/WH

3111

HO2S Low Reference Voltage Bank 1 Sensor 1

3

0.5 PU/WH

3110

HO2S Reference Voltage Bank 1 Sensor 1

4

0.5 PU

3120

HO2S High Signal Bank 1 Sensor 2

5

0.5 TN/WH

3121

HO2S Low Signal Bank 1 Sensor 2

6

0.5 L-BU

1876

Knock Sensor (KS) 2 Signal

7

0.5 GY

2303

Knock Sensor (KS) 2 Signal

8

0.5 D-BU

496

Knock Sensor (KS) 1 Signal

9

0.5 GY

1716

Knock Sensor (KS) 1 Signal

10

--

--

Not Used

11

0.75 YE

581

Throttle Actuator Control (TAC) Motor Control - 1

12

0.75 BN

582

Throttle Actuator Control (TAC) Motor Control - 2

13

0.8 PK/BK

6341

Ignition Voltage

14

0.5 PK/BK

6395

Camshaft Position (CMP) Actuator Solenoid Control - Bank 1 Intake

15

0.5 TN/BK

6397

Camshaft Position (CMP) Actuator Solenoid Control - Bank 2 Intake

16

--

--

Not Used

17

0.5 OG/WH

2122

Ignition Coil 2 Control

18

--

--

Not Used

19

0.5 BN/WH

2130

Low Reference

20

0.5 PU

6267

Camshaft Position (CMP) Sensor Low Reference - Bank 1 Exhaust

21

0.5 TN

6268

Camshaft Position (CMP) Sensor Low Reference - Bank 2 Intake

22

0.5 WH

6269

Low Reference

23

0.5 BN

6266

Camshaft Position (CMP) Sensor Low Reference - Bank 1 Intake

24

0.5 BK

2755

Low Reference

25-26

--

--

Not Used

27

0.5 GY/BK

6272

Low Reference

28

--

--

Not Used

29

0.5 TN

2752

Low Reference

30

0.5 BN/WH

6754

Camshaft Position (CMP) Actuator Solenoid Control - Bank 1 Exhaust

31

0.5 D-BU/WH

6756

Camshaft Position (CMP) Actuator Solenoid Low Reference - Bank 2 Exhaust

32

0.5 L-BU/BK

844

Fuel Injector 4 Control

33

0.5 L-BU

2123

Ignition Coil 3 Control

34

0.5 L-BU/WH

2126

Ignition Coil 6 Control

35

0.5 BN

2129

Low Reference

36

0.5 D-GN

6457

5-Volt Reference 1

37

0.5 OG

6260

5-Volt Reference 1

38

0.5 PK

6261

5-Volt Reference 1

39

0.5 D-BU

6259

5-Volt Reference 1

40-41

--

--

Not Used

42

0.5 TN

2760

Low Reference

43

0.5 PU/WH

6270

5-Volt Reference 2

44

0.5 GY

2701

5-Volt Reference 2

45

--

--

Not Used

46

0.5 BN

6753

Camshaft Position (CMP) Actuator Solenoid Low Reference - Bank 1 Intake

47

0.5 D-BU

6755

Camshaft Position (CMP) Actuator Solenoid Low Reference - Bank 2 Intake

48

0.5 L-GN/BK

1745

Fuel Injector 2 Control

49

0.5 YE/BK

846

Fuel Injector 6 Control

50

0.5 WH/BK

6396

Camshaft Position (CMP) Actuator Solenoid Control - Bank 1 Exhaust

51

0.5 GY/BK

6394

Camshaft Position (CMP) Actuator Solenoid Control - Bank 2 Exhaust

52

0.5 TN/WH

845

Fuel Injector 5 Control

53

0.5 D-GN/WH

2124

Ignition Coil 4 Control

54

0.5 D-GN

2125

Ignition Coil 5 Control

55

--

--

Not Used

56

0.5 D-GN/WH

6264

Camshaft Position (CMP) Sensor Signal - Bank 1 Exhaust

57

0.5 OG/BK

6263

Camshaft Position (CMP) Sensor Signal - Bank 2 Intake

58

0.5 PK/BK

6262

Camshaft Position (CMP) Sensor Signal - Bank 2 Exhaust

59

0.5 D-BU/WH

6265

Camshaft Position (CMP) Sensor Signal - Bank 1 Intake

60-61

--

--

Not Used

62

0.5 L-BU

6289

Intake Air Temperature (IAT) Sensor Signal

63

0.5 WH/BK

6271

Crankshaft Position (CKP) Sensor Signal

64

0.5 D-GN

485

Throttle Position (TP) Sensor 1 Signal

65

--

--

Not Used

66

0.5 PU

486

Throttle Position (TP) Sensor 2 Signal

67

0.5 YE

492

Mass Air Flow (MAF) Sensor Signal

68

0.5 GY/WH

3113

HO2S Heater Low Control - Bank 1 Sensor 1

69

0.5 GY/WH

3122

HO2S Heater Low Control - Bank 1 Sensor 2

70

--

--

Not Used

71

0.5 PK/BK

1746

Fuel Injector 3 Control

72

0.5 TN

1744

Fuel Injector 1 Control

73

3 BK/WH

251

Ground

Engine Control Module (ECM) X2 (LZ4)


Object Number: 1830236  Size: CH

Connector Part Information

  • OEM: 13511426
  • Service: 19115670
  • Description: 80-Way F MX123 Series Sealed (GY)

Terminal Part Information

  • Pins: 2- 3, 5- 6, 8, 12-13, 16-22, 26-27, 29-30, 32, 34-35, 37, 40-41, 43-44, 50, 52-53, 56-61, 63-66, 68-72, 78
  • Terminal/Tray: 33467-0005/23
  • Core/Insulation Crimp: J/J
  • Release Tool/Test Probe: J-38125-213/J-35616-64B (L-BU)

Engine Control Module (ECM) X2 (LZ4)

Pin

Wire

Circuit

Function

1

--

--

Not Used

2

0.5 PU/WH

6270

5-Volt Reference 2

3

0.5 GY

2701

5-Volt Reference 2

4

--

--

Not Used

5

0.5 BN

582

Throttle Actuator Control (TAC) Motor Control - 2

6

0.5 YE

581

Throttle Actuator Control (TAC) Motor Control - 1

7

--

--

Not Used

8

0.5 D-GN/WH

428

EVAP Canister Purge Solenoid Control

9-11

--

--

Not Used

12

0.5 GY/WH

3113

HO2S Heater Low Control - Bank 1 Sensor 1

13

0.5 L-GN

3212

HO2S Heater Low Control - Bank 2 Sensor 1

14-15

--

--

Not Used

16

0.5 PK/BK

6395

Camshaft Position (CMP) Actuator Solenoid Control - Intake

17

0.5 L-GN/BK

1745

Fuel Injector 2 Control

18

0.5 YE/BK

846

Fuel Injector 6 Control

19

0.5 TN/WH

845

Fuel Injector 5 Control

20

0.5 TN

1744

Fuel Injector 1 Control

21

0.5 YE

410

Engine Coolant Temperature (ECT) Sensor Signal

22

0.5 TN

2761

Low Reference

23-25

--

--

Not Used

26

0.5 D-BU

496

Knock Sensor 1 Signal

27

0.5 GY

1716

Knock Sensor 1 Signal

28

--

--

Not Used

29

0.5 L-BU

1876

Knock Sensor 2 Signal

30

0.5 GY

2303

Knock Sensor 2 Signal

31

--

--

Not Used

32

0.5 GY

23

Generator Field Duty Cycle Signal

33

--

--

Not Used

34

0.5 BK

2755

Low Reference

35

0.5 TN

2752

Low Reference

36

--

--

Not Used

37

0.5 L-BU/BK

844

Fuel Injector 4 Control

38-39

--

--

Not Used

40

0.5 PK/BK

1746

Fuel Injector 3 Control

41

0.5 GY

2705

5-Volt Reference 1

42

--

--

Not Used

43

0.5 GY

2704

5-Volt Reference 1

44

0.5 D-BU

6259

5-Volt Reference 1

45-49

--

--

Not Used

50

0.5 TN/WH

331

Engine Oil Pressure (EOP) Sensor Signal

51

--

--

Not Used

52

0.5 BN

6753

Low Reference

53

0.5 OG/BK

469

Low Reference

54-55

--

--

Not Used

56

0.5 TN/WH

3111

HO2S Low Reference Bank 1 Sensor 1

57

0.5 PU/WH

3110

HO2S Reference Voltage Bank 1 Sensor 1

58

0.5 L-GN

432

Manifold Absolute Pressure (MAP) Sensor Signal

59

0.5 PU/WH

3210

HO2S Reference Voltage Bank 2 Sensor 1

60

0.5 TN/WH

3211

HO2S Low Reference Bank 2 Sensor 1

61

0.5 OG

225

Generator Turn On Signal

62

--

--

Not Used

63

0.5 PU

486

Throttle Position (TP) Sensor 2 Signal

64

0.5 D-BU/WH

6265

Camshaft Position (CMP) Sensor Signal - Bank 1 Intake

65

0.5 D-GN

485

Throttle Position (TP) Sensor 1 Signal

66

0.5 BN

6266

Camshaft Position (CMP) Sensor Low Reference - Intake

67

--

--

Not Used

68

0.5 WH/BK

6271

Crankshaft Position Sensor Signal

69

0.5 GY/BK

6272

Low Reference

70

0.5 PU

2121

Ignition Coil 1 Control

71

0.5 OG/WH

2122

Ignition Coil 2 Control

72

0.5 L-BU

2123

Ignition Coil 3 Control

73-77

--

--

Not Used

78

0.5 BN

2129

Low Reference

79-80

--

--

Not Used

Engine Control Module (ECM) X3 (LAT)


Object Number: 1590596  Size: CH

Connector Part Information

  • OEM: 12582678
  • Service: See Catalog
  • Description: 73-Way F 0.64 2.8 Series, Sealed (BK)

Terminal Part Information

  • Pins: 2, 21, 23, 24, 33, 35, 37, 39, 40, 46, 48, 49, 53, 55, 57, 59, 60, 65
  • Terminal/Tray: 33467-0003/23
  • Core/Insulation Crimp: H/H
  • Release Tool/Test Probe: J-38125-213/J-35616-64B (L-BU)

Engine Control Module (ECM) X3 (LAT)

Pin

Wire

Circuit

Function

1

--

--

Not Used

2

0.35 PK

1224

Automatic Transmission Fluid Pressure Switch Signal A

3-20

--

--

Not Used

21

0.5 TN

5514

Low Reference

22

--

--

Not Used

23

0.5 OG/BK

469

Low Reference

24

0.5 TN/BK

6033

Low Reference

25-32

--

--

Not Used

33

0.5 TN

2501

High Speed GMLAN Serial Data Bus-

34

--

--

Not Used

35

0.5 TN

2761

Low Reference

36

--

--

Not Used

37

0.5 GY

2700

5-Volt Reference 1

38

--

--

Not Used

39

0.5 GY

2704

5-Volt Reference 1

40

0.5 GY

6034

5-Volt Reference 1

41-45

--

--

Not Used

46

0.5 OG/BK

1786

Ignition Lock Cylinder Control Actuator Signal

47

--

--

Not Used

48

0.5 D-GN/BK

428

EVAP Canister Purge Solenoid Control

49

0.5 D-GN

335

Low Speed Engine Cooling Fan Relay Control

50-52

--

--

Not Used

53

0.5 TN/BK

2500

High Speed GMLAN Serial Data Bus+

54

--

--

Not Used

55

0.5 YE

410

Engine Coolant Temperature (ECT) Sensor Signal

56

--

--

Not Used

57

0.5 OG/BK

380

A/C Refrigerant Pressure Sensor Signal

58

--

--

Not Used

59

0.5 L-GN

432

Manifold Absolute Pressure (MAP) Sensor Signal

60

0.5 YE

2034

Brake Master Cylinder Pressure Sensor Signal

61-64

--

--

Not Used

65

0.5 TN/BK

231

Engine Oil Pressure (EOP) Switch Signal

66-73

--

--

Not Used

Engine Control Module (ECM) X3 (LY7)


Object Number: 1590596  Size: CH

Connector Part Information

  • OEM: 15497996
  • Service: 88988372
  • Description: 73-Way F 0.64 2.8 Series, Sealed (BK)

Terminal Part Information

  • Terminal/Tray: 33467-0005/23
  • Core/Insulation Crimp: J/J
  • Release Tool/Test Probe: J-38125-213/J-35616-64B (L-BU)

Engine Control Module (ECM) X3 (LY7)

Pin

Wire

Circuit

Function

1-2

--

--

Not Used

3

0.5 TN/WH

3211

HO2S Low Reference Bank 2 Sensor 1

4

0.5 PU/WH

3210

HO2S Reference Voltage Bank 2 Sensor 1

5

0.5 PU

3220

HO2S High Signal Bank 2 Sensor 2

6

0.5 TN

3221

HO2S Low Signal Bank 2 Sensor 2

7

0.5 OG

225

Generator Turn On Signal

8-14

--

--

Not Used

15

0.5 L-GN

3212

HO2S Heater Low Control - Bank 2 Sensor 1

16-20

--

--

Not Used

21

0.5 TN

5514

Low Reference

22

--

--

Not Used

23

0.5 OG/BK

469

Low Reference

24-28

--

--

Not Used

29

0.5 GY

23

Generator Field Duty Cycle Signal

30-32

--

--

Not Used

33

0.5 TN

2501

High Speed GMLAN Serial Data Bus-

34

--

--

Not Used

35

0.5 TN

2761

Low Reference

36

--

--

Not Used

37

0.5 GY

2700

5-Volt Reference 1

38

--

--

Not Used

39

0.5 GY

2704

5-Volt Reference 1

40-45

--

--

Not Used

46

0.5 OG/BK

1786

Ignition Lock Cylinder Control Actuator Signal

47

--

--

Not Used

48

0.5 D-GN/WH

428

EVAP Canister Purge Solenoid Control

49

0.5 D-GN

335

Low Speed Cooling Fan Relay Control

50

0.5 OG/WH

3223

HO2S Heater Low Control Bank 2 Sensor 2

51-52

--

--

Not Used

53

0.5 TN/BK

2500

High Speed GMLAN Serial Data Bus+

54

--

--

Not Used

55

0.5 YE

410

Engine Coolant Temperature (ECT) Sensor Signal

56

--

--

Not Used

57

0.5 OG/BK

380

A/C Refrigerant Pressure Sensor Signal

58

--

--

Not Used

59

0.5 L-GN

432

Manifold Absolute Pressure (MAP) Sensor Signal

60-64

--

--

Not Used

65

0.5 TN/BK

231

Engine Oil Pressure (EOP) Switch Signal

66-73

--

--

Not Used

Engine Coolant Temperature (ECT) Sensor (LAT/LE5/LZ4)


Object Number: 1538760  Size: CH

Connector Part Information

  • OEM: 15449028
  • Service: 88987993
  • Description: 2-Way F 150 GT Series Sealed (BK)

Terminal Part Information

  • Terminal/Tray: 15326429/5
  • Core/Insulation Crimp: E/4
  • Release Tool/Test Probe: 15315247/J-35616-2A (GY)

Engine Coolant Temperature (ECT) Sensor (LAT/LE5/LZ4)

Pin

Wire

Circuit

Function

A

0.5 TN

2761

Low Reference (LAT/LE5)

0.5 TN

469

Low Reference (LZ4)

B

0.5 YE

410

Engine Coolant Temperature (ECT) Sensor Signal

Engine Coolant Temperature (ECT) Sensor (LY7)


Object Number: 784092  Size: CH

Connector Part Information

  • OEM: 15339756
  • Service: 88988963
  • Description: 2-Way F 2.8, Sealed (BK)

Terminal Part Information

  • Terminal/Tray: 1928498054/8
  • Core/Insulation Crimp: E/1
  • Release Tool/Test Probe: J-38125-561/J-35616-35 (VT)

Engine Coolant Temperature (ECT) Sensor (LY7)

Pin

Wire

Circuit

Function

1

0.5 YE

410

ECT Sensor Signal

2

0.5 TN

2761

Low Reference

Engine Cooling Fan (LAT)


Object Number: 1977737  Size: CH

Connector Part Information

  • OEM: 15380370
  • Service: See Catalog
  • Description: 2-Way F 187, Sealed (BK)

Terminal Part Information

  • Terminal/Tray: 8100-0468/6
  • Core/Insulation Crimp: F/5
  • Release Tool/Test Probe: 12094430/J-35616-40 (BU)

Engine Cooling Fan (LAT)

Pin

Wire

Circuit

Function

1

3 BK

250

Ground

2

3 L-BU

409

Cooling Fan Motor Supply Voltage

Engine Cooling Fan - Left (LE5/LY7/LZ4)


Object Number: 1977737  Size: CH

Connector Part Information

  • OEM: 12105452
  • Service: See Catalog
  • Description: 2-Way F 187, Sealed (GY)

Terminal Part Information

  • Terminal/Tray: 8100-0468/6
  • Core/Insulation Crimp: F/5
  • Release Tool/Test Probe: 12094430/J-35616-40 (BU)

Engine Cooling Fan - Left (LE5/LY7/LZ4)

Pin

Wire

Circuit

Function

1

3 WH

504

Cooling Fan Low Reference

2

3 GY

532

Cooling Fan Motor Supply Voltage

Engine Cooling Fan - Right (LE5/LY7/LZ4)


Object Number: 1977737  Size: CH

Connector Part Information

  • OEM: 15380370
  • Service: See Catalog
  • Description: 2-Way F 187, Sealed (BK)

Terminal Part Information

  • Terminal/Tray: 8100-0468/6
  • Core/Insulation Crimp: F/5
  • Release Tool/Test Probe: 12094430/J-35616-40 (BU)

Engine Cooling Fan - Right (LE5/LY7/LZ4)

Pin

Wire

Circuit

Function

1

3 BK

250

Ground

2

3 L-BU

409

Cooling Fan Motor Supply Voltage

Engine Cooling Fan Resistor (LAT)


Object Number: 2002691  Size: CH

Connector Part Information

  • OEM: 10756588
  • Service: See Catalog
  • Description: 4-Way F 5.8 Timer 9.5 Sealed (BK)

Terminal Part Information

  • Terminal/Tray: See Terminal Repair Kit
  • Core/Insulation Crimp: See Terminal Repair Kit
  • Release Tool/Test Probe: See Terminal Repair Kit

Engine Cooling Fan Resistor (LAT)

Pin

Wire

Circuit

Function

1

3 GY

532

Cooling Fan Motor Supply Voltage

2

--

--

Not Used

3

3 L-BU

409

Cooling Fan Low Reference

4

--

--

Not Used

Engine Oil Pressure (EOP) Sensor (LZ4)


Object Number: 258299  Size: CH

Connector Part Information

  • OEM: 12065287
  • Service: 88988301
  • Description: 3-Way F Metri-Pack 150 Series Sealed (BK)

Terminal Part Information

  • Terminal/Tray: 12103881/2
  • Core/Insulation Crimp: E/C
  • Release Tool/Test Probe: 12180559-1/J-35616-14 (GN)

Engine Oil Pressure (EOP) Sensor (LZ4)

Pin

Wire

Circuit

Function

A

0.5 BK

2755

Low Reference

B

0.5 GY

2705

5-Volt Reference

C

0.5 TN/WH

331

Oil Pressure Sensor Signal

Engine Oil Pressure (EOP) Switch (LAT/LE5)


Object Number: 516595  Size: CH

Connector Part Information

  • OEM: 12065299
  • Service: 12126436
  • Description: 1-Way F Metri-Pack 150 Series Sealed (L-GY)

Terminal Part Information

  • Terminal/Tray: 12048074/2
  • Core/Insulation Crimp: E/1
  • Release Tool/Test Probe: 12094429/J-35616-14 (GN)

Engine Oil Pressure (EOP) Switch (LAT/LE5)

Pin

Wire

Circuit

Function

A

0.5 BN

1174

Oil Pressure Switch Signal (LE5)

0.5 TN/BK

231

Oil Pressure Switch Signal (LAT)

Engine Oil Pressure (EOP) Switch (LY7)


Object Number: 516616  Size: CH

Connector Part Information

  • OEM: 12065400
  • Service: 12126436
  • Description: 4-Way F Metri-Pack 150 Series Sealed (GN)

Terminal Part Information

  • Terminal/Tray: 12048074/2
  • Core/Insulation Crimp: E/1
  • Release Tool/Test Probe: 12094429/J-35616-14 (GN)

Engine Oil Pressure (EOP) Switch (LY7)

Pin

Wire

Circuit

Function

A

0.5 TN/BK

231

Oil Pressure Switch Signal

B

0.5 BK

2755

Low Reference

C-D

--

--

Not Used

Evaporative Emissions (EVAP) Canister Purge Solenoid Valve (LAT/LE5/LZ4)


Object Number: 684795  Size: CH

Connector Part Information

  • OEM: 12052643
  • Service: 12101858
  • Description: 2-Way F Metri-Pack 150 Series, Sealed (RD)

Terminal Part Information

  • Terminal/Tray: 12048074/2
  • Core/Insulation Crimp: E/1
  • Release Tool/Test Probe: 12094429/J-35616-14 (GN)

Evaporative Emissions (EVAP) Canister Purge Solenoid Valve (LAT/LE5/LZ4)

Pin

Wire

Circuit

Function

A

0.5 PK/BK

5291

Ignition 1 Voltage

B

0.5 D-GN/WH

428

EVAP Canister Purge Solenoid Control

Evaporative Emissions (EVAP) Canister Purge Solenoid Valve (LY7)


Object Number: 1331450  Size: CH

Connector Part Information

  • OEM: 1928404072
  • Service: 88988586
  • Description: 2-Way F 2.8 Sealed (BK)

Terminal Part Information

  • Terminal/Tray: See Terminal Repair Kit
  • Core/Insulation Crimp: See Terminal Repair Kit
  • Release Tool/Test Probe: See Terminal Repair Kit

Evaporative Emissions (EVAP) Canister Purge Solenoid Valve (LY7)

Pin

Wire

Circuit

Function

1

0.5 PK/BK

5293

Powertrain Main Relay Fused Supply (3)

2

0.5 D-GN/WH

428

EVAP Canister Purge Solenoid Control

Evaporative Emissions (EVAP) Canister Vent Solenoid Valve


Object Number: 684795  Size: CH

Connector Part Information

  • OEM: 12052643
  • Service: 12101858
  • Description: 2-Way F Metri-Pack 150 Series, Sealed (RD)

Terminal Part Information

  • Terminal/Tray: 12048074/2
  • Core/Insulation Crimp: E/1
  • Release Tool/Test Probe: 12094429/J-35616-14 (GN)

Evaporative Emissions (EVAP) Canister Vent Solenoid Valve

Pin

Wire

Circuit

Function

A

0.5 RD/WH

2140

Battery Positive Voltage

B

0.5 WH

1310

EVAP Canister Vent Solenoid Control

Fog Lamp - Left Front (T37)


Object Number: 1413064  Size: CH

Connector Part Information

  • OEM: 12124819
  • Service: 12124819
  • Description: 2-Way F Metri-Pack 280 Series, Sealed (BK)

Terminal Part Information

  • Terminal/Tray: 12077411/2
  • Core/Insulation Crimp: 2/5
  • Release Tool/Test Probe: 12094430/J-35616-4A (PU)

Fog Lamp - Left Front (T37)

Pin

Wire

Circuit

Function

A

0.5 PU

34

Fog Lamps Supply Voltage

B

0.5 BK

150

Ground

Fog Lamp - Left Front (T96)


Object Number: 684797  Size: CH

Connector Part Information

  • OEM: 12059183
  • Service: 12059183
  • Description: 2-Way F Metri-Pack 280 Series, Sealed (BK)

Terminal Part Information

  • Terminal/Tray: 12077411/2
  • Core/Insulation Crimp: 2/5
  • Release Tool/Test Probe: 12094430/J-35616-4A (PU)

Fog Lamp - Left Front (T96)

Pin

Wire

Circuit

Function

A

0.5 PU

34

Fog Lamps Supply Voltage

B

0.5 BK

150

Ground

Fog Lamp - Right Front (T37)


Object Number: 1413064  Size: CH

Connector Part Information

  • OEM: 12124819
  • Service: 12124819
  • Description: 2-Way F Metri-Pack 280 Series, Sealed (BK)

Terminal Part Information

  • Terminal/Tray: 12077411/2
  • Core/Insulation Crimp: 2/5
  • Release Tool/Test Probe: 12094430/J-35616-4A (PU)

Fog Lamp - Right Front (T37)

Pin

Wire

Circuit

Function

A

0.5 PU

34

Fog Lamps Supply Voltage

B

0.5 BK

150

Ground

Fog Lamp - Right Front (T96)


Object Number: 684797  Size: CH

Connector Part Information

  • OEM: 12059183
  • Service: 12059183
  • Description: 2-Way F Metri-Pack 280 Series, Sealed (BK)

Terminal Part Information

  • Terminal/Tray: 12077411/2
  • Core/Insulation Crimp: 2/5
  • Release Tool/Test Probe: 12094430/J-35616-4A (PU)

Fog Lamp - Right Front (T96)

Pin

Wire

Circuit

Function

A

0.5 PU

34

Fog Lamps Supply Voltage

B

0.5 BK

150

Ground

Fuel Door Release Actuator


Object Number: 872877  Size: CH

Connector Part Information

  • OEM: 15332130
  • Service: 88986459
  • Description: 2-Way M GT 150 Series (BK)

Terminal Part Information

  • Terminal/Tray: 15304702/19
  • Core/Insulation Crimp: E/4
  • Release Tool/Test Probe: 15315247/J-35616-3 (GY)

Fuel Door Release Actuator

Pin

Wire

Circuit

Function

A

0.5 TN

694

Fuel Door Latch Actuator Unlock Control

B

0.5 GY

295

Fuel Door Latch Actuator Lock Control

Fuel Injector 1 (LAT)


Object Number: 1721512  Size: CH

Connector Part Information

  • OEM: 7283-8596-30
  • Service: See Catalog
  • Description: 2-Way F Sealed (BK)

Terminal Part Information

  • Terminal/Tray: See Terminal Repair Kit
  • Core/Insulation Crimp: See Terminal Repair Kit
  • Release Tool/Test Probe: See Terminal Repair Kit

Fuel Injector 1 (LAT)

Pin

Wire

Circuit

Function

1

0.5 PK

139

Ignition 1 Voltage

2

0.5 TN

1744

Fuel Injector 1 Control

Fuel Injector 1 (LE5)


Object Number: 1721512  Size: CH

Connector Part Information

  • OEM: 7283-8596-30
  • Service: See Catalog
  • Description: 2-Way F Sealed (BK)

Terminal Part Information

  • Terminal/Tray: See Terminal Repair Kit
  • Core/Insulation Crimp: See Terminal Repair Kit
  • Release Tool/Test Probe: See Terminal Repair Kit

Fuel Injector 1 (LE5)

Pin

Wire

Circuit

Function

1

0.5 PK

139

Ignition 1 Voltage

2

0.5 TN

1744

Fuel Injector (1) Control

Fuel Injector 1 (LY7)


Object Number: 1527729  Size: CH

Connector Part Information

  • OEM: 15419715
  • Service: 15306318
  • Description: 2-Way F GT 150 Series Sealed (GY)

Terminal Part Information

  • Terminal/Tray: See Terminal Repair Kit
  • Core/Insulation Crimp: See Terminal Repair Kit
  • Release Tool/Test Probe: See Terminal Repair Kit

Fuel Injector 1 (LY7)

Pin

Wire

Circuit

Function

A

0.5 PK/BK

5291

Ignition 1 Voltage

B

0.5 TN

1744

Fuel Injector 1 Control

Fuel Injector 1 (LZ4)


Object Number: 1273820  Size: CH

Connector Part Information

  • OEM: 15355226
  • Service: 89046636
  • Description: 2-Way F Metri-Pack 150 Tangless Series Sealed (BK)

Terminal Part Information

  • Terminal/Tray: 12176636/19
  • Core/Insulation Crimp: C/1
  • Release Tool/Test Probe: 12094429/J-35616-2A (GY)

Fuel Injector 1 (LZ4)

Pin

Wire

Circuit

Function

A

0.5 PK

139

Ignition 1 Voltage

B

0.5 TN

1744

Fuel Injector 1 Control

Fuel Injector 2 (LAT)


Object Number: 1721512  Size: CH

Connector Part Information

  • OEM: 7283-8596-30
  • Service: See Catalog
  • Description: 2-Way F Sealed (BK)

Terminal Part Information

  • Terminal/Tray: See Terminal Repair Kit
  • Core/Insulation Crimp: See Terminal Repair Kit
  • Release Tool/Test Probe: See Terminal Repair Kit

Fuel Injector 2 (LAT)

Pin

Wire

Circuit

Function

1

0.5 PK

139

Ignition 1 Voltage

2

0.5 L-GN/BK

1745

Fuel Injector 2 Control

Fuel Injector 2 (LE5)


Object Number: 1721512  Size: CH

Connector Part Information

  • OEM: 7283-8596-30
  • Service: See Catalog
  • Description: 2-Way F Sealed (BK)

Terminal Part Information

  • Terminal/Tray: See Terminal Repair Kit
  • Core/Insulation Crimp: See Terminal Repair Kit
  • Release Tool/Test Probe: See Terminal Repair Kit

Fuel Injector 2 (LE5)

Pin

Wire

Circuit

Function

1

0.5 PK

139

Ignition 1 Voltage

2

0.5 L-GN/BK

1745

Fuel Injector (2) Control

Fuel Injector 2 (LY7)


Object Number: 1527729  Size: CH

Connector Part Information

  • OEM: 15419715
  • Service: 15306318
  • Description: 2-Way F GT 150 Series Sealed (GY)

Terminal Part Information

  • Terminal/Tray: See Terminal Repair Kit
  • Core/Insulation Crimp: See Terminal Repair Kit
  • Release Tool/Test Probe: See Terminal Repair Kit

Fuel Injector 2 (LY7)

Pin

Wire

Circuit

Function

A

0.5 PK/BK

5292

Ignition 1 Voltage

B

0.5 L-GN/BK

1745

Fuel Injector 2 Control

Fuel Injector 2 (LZ4)


Object Number: 1273820  Size: CH

Connector Part Information

  • OEM: 15355226
  • Service: 89046636
  • Description: 2-Way F Metri-Pack 150 Tangless Series Sealed (BK)

Terminal Part Information

  • Terminal/Tray: 12176636/19
  • Core/Insulation Crimp: C/1
  • Release Tool/Test Probe: 12094429/J-35616-2A (GY)

Fuel Injector 2 (LZ4)

Pin

Wire

Circuit

Function

A

0.5 PK

139

Ignition 1 Voltage

B

0.5 L-GN/BK

1745

Fuel Injector 2 Control

Fuel Injector 3 (LAT)


Object Number: 1721512  Size: CH

Connector Part Information

  • OEM: 7283-8596-30
  • Service: See Catalog
  • Description: 2-Way F Sealed (BK)

Terminal Part Information

  • Terminal/Tray: See Terminal Repair Kit
  • Core/Insulation Crimp: See Terminal Repair Kit
  • Release Tool/Test Probe: See Terminal Repair Kit

Fuel Injector 3 (LAT)

Pin

Wire

Circuit

Function

1

0.5 PK

139

Ignition 1 Voltage

2

0.5 PK/BK

1746

Fuel Injector 3 Control

Fuel Injector 3 (LE5)


Object Number: 1721512  Size: CH

Connector Part Information

  • OEM: 7283-8596-30
  • Service: See Catalog
  • Description: 2-Way F Sealed (BK)

Terminal Part Information

  • Terminal/Tray: See Terminal Repair Kit
  • Core/Insulation Crimp: See Terminal Repair Kit
  • Release Tool/Test Probe: See Terminal Repair Kit

Fuel Injector 3 (LE5)

Pin

Wire

Circuit

Function

1

0.5 PK

139

Ignition 1 Voltage

2

0.5 PK/BK

1746

Fuel Injector (3) Control

Fuel Injector 3 (LY7)


Object Number: 1527729  Size: CH

Connector Part Information

  • OEM: 15419715
  • Service: 15306318
  • Description: 2-Way F GT 150 Series Sealed (GY)

Terminal Part Information

  • Terminal/Tray: See Terminal Repair Kit
  • Core/Insulation Crimp: See Terminal Repair Kit
  • Release Tool/Test Probe: See Terminal Repair Kit

Fuel Injector 3 (LY7)

Pin

Wire

Circuit

Function

A

0.5 PK/BK

5291

Ignition 1 Voltage

B

0.5 PK/BK

1746

Fuel Injector 3 Control

Fuel Injector 3 (LZ4)


Object Number: 1273820  Size: CH

Connector Part Information

  • OEM: 15355226
  • Service: 89046636
  • Description: 2-Way F Metri-Pack 150 Tangless Series Sealed (BK)

Terminal Part Information

  • Terminal/Tray: 12176636/19
  • Core/Insulation Crimp: C/1
  • Release Tool/Test Probe: 12094429/J-35616-2A (GY)

Fuel Injector 3 (LZ4)

Pin

Wire

Circuit

Function

A

0.5 PK

139

Ignition 1 Voltage

B

0.5 PK/BK

1746

Fuel Injector 3 Control

Fuel Injector 4 (LAT)


Object Number: 1721512  Size: CH

Connector Part Information

  • OEM: 7283-8596-30
  • Service: See Catalog
  • Description: 2-Way F Sealed (BK)

Terminal Part Information

  • Terminal/Tray: See Terminal Repair Kit
  • Core/Insulation Crimp: See Terminal Repair Kit
  • Release Tool/Test Probe: See Terminal Repair Kit

Fuel Injector 4 (LAT)

Pin

Wire

Circuit

Function

1

0.5 PK

139

Ignition 1 Voltage

2

0.5 L-BU/BK

844

Fuel Injector 4 Control

Fuel Injector 4 (LE5)


Object Number: 1721512  Size: CH

Connector Part Information

  • OEM: 7283-8596-30
  • Service: See Catalog
  • Description: 2-Way F Sealed (BK)

Terminal Part Information

  • Terminal/Tray: See Terminal Repair Kit
  • Core/Insulation Crimp: See Terminal Repair Kit
  • Release Tool/Test Probe: See Terminal Repair Kit

Fuel Injector 4 (LE5)

Pin

Wire

Circuit

Function

1

0.5 PK

139

Ignition 1 Voltage

2

0.5 L-BU/BK

844

Fuel Injector (4) Control

Fuel Injector 4 (LY7)


Object Number: 1527729  Size: CH

Connector Part Information

  • OEM: 15419715
  • Service: 15306318
  • Description: 2-Way F GT 150 Series Sealed (GY)

Terminal Part Information

  • Terminal/Tray: See Terminal Repair Kit
  • Core/Insulation Crimp: See Terminal Repair Kit
  • Release Tool/Test Probe: See Terminal Repair Kit

Fuel Injector 4 (LY7)

Pin

Wire

Circuit

Function

A

0.5 PK/BK

5292

Ignition 1 Voltage

B

0.5 L-BU/BK

844

Fuel Injector 4 Control

Fuel Injector 4 (LZ4)


Object Number: 1273820  Size: CH

Connector Part Information

  • OEM: 15355226
  • Service: 89046636
  • Description: 2-Way F Metri-Pack 150 Tangless Series Sealed (BK)

Terminal Part Information

  • Terminal/Tray: 12176636/19
  • Core/Insulation Crimp: C/1
  • Release Tool/Test Probe: 12094429/J-35616-2A (GY)

Fuel Injector 4 (LZ4)

Pin

Wire

Circuit

Function

A

0.5 PK

139

Ignition 1 Voltage

B

0.5 L-BU/BK

844

Fuel Injector 4 Control

Fuel Injector 5 (LY7)


Object Number: 1527729  Size: CH

Connector Part Information

  • OEM: 15419715
  • Service: 15306318
  • Description: 2-Way F GT 150 Series Sealed (GY)

Terminal Part Information

  • Terminal/Tray: See Terminal Repair Kit
  • Core/Insulation Crimp: See Terminal Repair Kit
  • Release Tool/Test Probe: See Terminal Repair Kit

Fuel Injector 5 (LY7)

Pin

Wire

Circuit

Function

A

0.5 PK/BK

5291

Ignition 1 Voltage

B

0.5 TN/WH

845

Fuel Injector 5 Control

Fuel Injector 5 (LZ4)


Object Number: 1273820  Size: CH

Connector Part Information

  • OEM: 15355226
  • Service: 89046636
  • Description: 2-Way F Metri-Pack 150 Tangless Series Sealed (BK)

Terminal Part Information

  • Terminal/Tray: 12176636/19
  • Core/Insulation Crimp: C/1
  • Release Tool/Test Probe: 12094429/J-35616-2A (GY)

Fuel Injector 5 (LZ4)

Pin

Wire

Circuit

Function

A

0.5 PK

139

Ignition 1 Voltage

B

0.5 TN/WH

845

Fuel Injector 5 Control

Fuel Injector 6 (LY7)


Object Number: 1527729  Size: CH

Connector Part Information

  • OEM: 15419715
  • Service: 15306318
  • Description: 2-Way F GT 150 Series Sealed (GY)

Terminal Part Information

  • Terminal/Tray: See Terminal Repair Kit
  • Core/Insulation Crimp: See Terminal Repair Kit
  • Release Tool/Test Probe: See Terminal Repair Kit

Fuel Injector 6 (LY7)

Pin

Wire

Circuit

Function

A

0.5 PK/BK

5292

Ignition 1 Voltage

B

0.5 YE/BK

846

Fuel Injector 6 Control

Fuel Injector 6 (LZ4)


Object Number: 1273820  Size: CH

Connector Part Information

  • OEM: 15355226
  • Service: 89046636
  • Description: 2-Way F Metri-Pack 150 Tangless Series Sealed (BK)

Terminal Part Information

  • Terminal/Tray: 12176636/19
  • Core/Insulation Crimp: C/1
  • Release Tool/Test Probe: 12094429/J-35616-2A (GY)

Fuel Injector 6 (LZ4)

Pin

Wire

Circuit

Function

A

0.5 PK

139

Ignition 1 Voltage

B

0.5 YE/BK

846

Fuel Injector 6 Control

Fuel Level Sensor - Primary/Fuel Pump Motor


Object Number: 1962075  Size: CH

Connector Part Information

  • OEM: 13527865
  • Service: See Catalog
  • Description: 4-Way F GT 280 Series, Sealed (NA)

Terminal Part Information

  • Pins: 1, 2
  • Terminal/Tray: 15304720/19
  • Core/Insulation Crimp: 4/5
  • Release Tool/Test Probe: 15315247/J-35616-4A (PU)
  • Pins: 3, 4
  • Terminal/Tray: 15304719/19
  • Core/Insulation Crimp: E/5
  • Release Tool/Test Probe: 15315247/J-35616-4A (PU)

Fuel Level Sensor - Primary/Fuel Pump Motor

Pin

Wire

Circuit

Function

1

2 GY

120

Fuel Pump Supply Voltage

2

2 PK

1580

Fuel Pump Motor Low Reference

3

0.5 BN/WH

6281

Low Reference

4

0.5 D-BU

1936

Fuel Level Sensor Signal - Secondary

Fuel Level Sensor - Secondary


Object Number: 1962075  Size: CH

Connector Part Information

  • OEM: 13527865
  • Service: See Catalog
  • Description: 4-Way F GT 280 Series, Sealed (NA)

Terminal Part Information

  • Terminal/Tray: 15304719/19
  • Core/Insulation Crimp: E/5
  • Release Tool/Test Probe: 15315247/J-35616-4A (PU)

Fuel Level Sensor - Secondary

Pin

Wire

Circuit

Function

1-2

--

--

Not Used

3

0.5 BN/WH

6281

Low Reference

4

0.5 L-BU

1937

Secondary Fuel Level Sensor Signal

Fuel Pressure Sensor


Object Number: 1860942  Size: CH

Connector Part Information

  • OEM: 13511131
  • Service: See Catalog
  • Description: 3-Way F GT 150 Series, Sealed (BK)

Terminal Part Information

  • Terminal/Tray: 12191819/8
  • Core/Insulation Crimp: E/A
  • Release Tool/Test Probe: 15315247/J-35616-2A (GY)

Fuel Pressure Sensor

Pin

Wire

Circuit

Function

1

0.5 YE

2918

FRP Sensor Signal

2

0.5 OG/BK

2919

Low Reference

3

0.5 TN

2917

5-Volt Reference

Fuel Pump Flow Control Module


Object Number: 1858233  Size: CH

Connector Part Information

  • OEM: 15491306
  • Service: See Catalog
  • Description: 47-Way F ASG Series Sealed (BK)

Terminal Part Information

  • Pins: 1, 16, 32, 47
  • Terminal/Tray: 15476168/5
  • Core/Insulation Crimp: F/3
  • Release Tool/Test Probe: 15315247/J-35616-42 (RD)
  • Pins: 5-7, 10, 13, 15, 17, 21-22, 36, 44
  • Terminal/Tray: 7116-3703-02/14
  • Core/Insulation Crimp: 9/9
  • Release Tool/Test Probe: J-38125-215A/J-35616-64B (L-BU)

Fuel Pump Flow Control Module

Pin

Wire

Circuit

Function

1

2 BK

550

Ground

2-4

--

--

Not Used

5

0.5 OG/BK

2919

Low Reference

6

0.5 TN

2501

High Speed GMLAN Serial Data Bus-

7

0.5 TN/BK

2500

High Speed GMLAN Serial Data Bus+

8-9

--

--

Not Used

10

0.5 YE

2918

Fuel Line Pressure Sensor Signal

11-12

--

--

Not Used

13

0.5 D-GN/WH

465

Fuel Pump Relay Control

14

--

--

Not Used

15

0.5 PK

339

Ignition 1 Voltage

16

2 PK

1580

Fuel Pump Motor Low Reference

17

0.35 L-BU

5986

Serial Data Communication Enable

18-20

--

--

Not Used

21

0.5 TN

2501

High Speed GMLAN Serial Data Bus-

22

0.5 TN/BK

2500

High Speed GMLAN Serial Data Bus+

23-31

--

--

Not Used

32

2 RD/WH

2940

Battery Positive Voltage

33-35

--

--

Not Used

36

0.5 TN

2917

5-Volt Reference

37-43

--

--

Not Used

44

0.5 BK

701

Drain Wire

45-46

--

--

Not Used

47

2 GY

120

Fuel Pump Supply Voltage

Fuel Tank Pressure (FTP) Sensor


Object Number: 1962078  Size: CH

Connector Part Information

  • OEM: 13511996
  • Service: 19149288
  • Description: 3-Way F GT 150 Series Sealed (GY)

Terminal Part Information

  • Terminal/Tray: 12191819/8
  • Core/Insulation Crimp: E/A
  • Release Tool/Test Probe: 15315247/J-35616-2A (GY)

Fuel Tank Pressure (FTP) Sensor

Pin

Wire

Circuit

Function

1

0.5 D-GN

890

Fuel Tank Pressure Sensor Signal

2

0.5 BN/WH

6281

Low Reference

3

0.5 BN/WH

6283

5-Volt Reference 1

Garage Door Opener (GDO) (UG1)


Object Number: 406848  Size: CH

Connector Part Information

  • OEM: 12162335
  • Service: 12162335
  • Description: 3-Way F P/C Series (NA)

Terminal Part Information

  • Terminal/Tray: 08-50-0115/20
  • Core/Insulation Crimp: E/C
  • Release Tool/Test Probe: J-38125-213/J-35616-4A (PU)

Garage Door Opener (GDO) (UG1)

Pin

Wire

Circuit

Function

1

0.5 RD/WH

1940

Battery Positive Voltage

2

0.35 BN/WH

230

I/P Lamps Dimming Control

3

0.5 BK

650

Ground

Generator X1 (LE5/LY7/LZ4)


Object Number: 1522871  Size: CH

Connector Part Information

  • OEM: 12186308
  • Service: 12186308
  • Description: 2-Way F JPT, Sealed (BK)

Terminal Part Information

  • Terminal/Tray: 4-964286-1/16
  • Core/Insulation Crimp: E/1
  • Release Tool/Test Probe: 12093647/J-35616-4A (PU)

Generator X1 (LE5/LY7/LZ4)

Pin

Wire

Circuit

Function

1

0.5 OG

225

Generator Turn On Signal

2

0.5 GY

23

Generator Field Duty Cycle Signal

Generator X2 (LE5/LY7/LZ4)

Terminal Part Information

  • OEM: 12146365
  • Core/Insulation Crimp: N/A
  • Description: Ring Terminal

Generator X2 (LE5/LY7/LZ4)

Pin

Wire

Circuit

Function

+

19 RD/BK

2

Battery Positive Voltage

Generator Battery Assembly X1 (HP7)

Terminal Part Information

  • OEM: 12191019
  • Core/Insulation Crimp: N/A
  • Description: Ring Terminal

Generator Battery Assembly X1 (HP7)

Pin

Wire

Circuit

Function

+

30 OG

42

42 Volt Positive Voltage

Generator Battery Assembly X2 (HP7)

Terminal Part Information

  • OEM: 12191019
  • Core/Insulation Crimp: N/A
  • Description: Ring Terminal

Generator Battery Assembly X2 (HP7)

Pin

Wire

Circuit

Function

+

Bare

1705

42 Volt Positive Voltage Shield

Generator Battery 1 X1 (HP7)

Terminal Part Information

  • OEM: 12191019
  • Core/Insulation Crimp: N/A
  • Description: Ring Terminal

Generator Battery 1 X1 (HP7)

Pin

Wire

Circuit

Function

-

4 BK

--

Generator Battery Ground

BK

--

Generator Battery 1 Voltage Sensor Ground

Generator Battery 1 X2 (HP7)

Terminal Part Information

  • OEM: 12191019
  • Core/Insulation Crimp: N/A
  • Description: Ring Terminal

Generator Battery 1 X2 (HP7)

Pin

Wire

Circuit

Function

+

D-GN

--

Generator Battery 1 Voltage Sensor Voltage

Rd

--

Generator Battery Voltage

Generator Battery 2 X1 (HP7)

Terminal Part Information

  • OEM: 12191019
  • Core/Insulation Crimp: N/A
  • Description: Ring Terminal

Generator Battery 2 X1 (HP7)

Pin

Wire

Circuit

Function

-

4 RD

--

Generator Battery Voltage

Generator Battery 2 X2 (HP7)

Terminal Part Information

  • OEM: 12191019
  • Core/Insulation Crimp: N/A
  • Description: Ring Terminal

Generator Battery 2 X2 (HP7)

Pin

Wire

Circuit

Function

+

0.5 WH

--

Generator Battery Voltage Sensor Voltage

4 RD

--

Generator Battery Voltage

Generator Battery 3 X1 (HP7)

Terminal Part Information

  • OEM: 12191019
  • Core/Insulation Crimp: N/A
  • Description: Ring Terminal

Generator Battery 3 X1 (HP7)

Pin

Wire

Circuit

Function

-

4 RD

--

Generator Battery Voltage

Generator Battery 3 X2 (HP7)

Terminal Part Information

  • OEM: 12191019
  • Core/Insulation Crimp: N/A
  • Description: Ring Terminal

Generator Battery 3 X2 (HP7)

Pin

Wire

Circuit

Function

+

0.5 RD

--

Generator Battery Voltage Sensor Voltage

4 RD

--

Generator Battery Voltage

Generator Battery Disconnect Control Module X1 (HP7)


Object Number: 603062  Size: CH

Connector Part Information

  • OEM: 15324448
  • Service: 15324448
  • Description: 20-Way F Micro-Fit (BK)

Terminal Part Information

  • Terminal/Tray: See Terminal Repair Kit
  • Core/Insulation Crimp: See Terminal Repair Kit
  • Release Tool/Test Probe: See Terminal Repair Kit

Generator Battery Disconnect Control Module X1 (HP7)

Pin

Wire

Circuit

Function

1

0.5 BK

--

Battery Ground

2

0.5 WH

--

Battery 2 Voltage

3

0.5 BN

--

Generator Battery Temperature Sensor 1A Control

4

0.5 WH/BN

--

Low Reference

5

0.5 GY

--

Generator Battery Temperature Sensor 1B Control

6

0.5 WH/GY

--

Low Reference

7

0.5 PU

--

Generator Battery Temperature Sensor 2A Control

8

0.5 WH/PU

--

Low Reference

9

0.5 WH/RD

--

5-Volt Reference

10

0.5 BN

--

Current Sensor Signal (Low Range)

11

0.5 D-GN

--

Battery 1 Voltage

12

0.5 RD

--

Battery 3 Voltage

13

0.5 YE

--

Generator Battery Temperature Sensor 2B Control

14

0.5 WH/YE

--

Low Reference

15

0.5 OG

--

Generator Battery Temperature Sensor 3A Control

16

0.5 WH/OG

--

Low Reference

17

0.5 L-BU

--

Generator Battery Temperature Sensor 3B Control

18

0.5 WH/BK

--

Low Reference

19

0.5 BK/WH

--

Low Reference

20

0.5 WH/GN

--

Current Sensor Signal (Low Range)

Generator Battery Disconnect Control Module X2 (HP7)


Object Number: 1911014  Size: CH

Connector Part Information

  • OEM: 43025-1600
  • Service: See Catalog
  • Description: 16-Way F Micro-Fit 3.0 Series BK)

Terminal Part Information

  • Terminal/Tray: See Terminal Repair Kit
  • Core/Insulation Crimp: See Terminal Repair Kit
  • Release Tool/Test Probe: See Terminal Repair Kit

Generator Battery Disconnect Control Module X2 (HP7)

Pin

Wire

Circuit

Function

1

0.5 WH/RD

--

Link Voltage

2

0.5 RD

--

Power

3

0.5 RD

--

Fan Control

4

0.5 BK

--

Ground

5

0.5 BN

--

Contactor Low Side PWM

6

0.5 D-BU

2500

High Speed GMLAN Serial Data Bus +

7

0.5 GY

2500

High Speed GMLAN Serial Data Bus +

8

0.5 RD

1540

Battery Positive Voltage

9

0.5 YE/RD

--

Disconnect Switch Control

10

0.5 RD

--

Contactor Supply Voltage

11

0.5 OG

--

Fan Tach Feedback

12

0.5 GN

1250

Ground

13

0.5 WH/GN

1250

Ground

14

0.5 WH/BU

2501

High Speed GMLAN Serial Data Bus -

15

0.5 WH/GY

2501

High Speed GMLAN Serial Data Bus -

16

0.5 PU

239

Ignition 1 Voltage

Generator Battery Main Contactor Relay X1 (HP7)

Connector Part Information

  • OEM: 12191019
  • Core/Insulation Crimp: N/A
  • Description: Ring Terminal

Generator Battery Main Contactor Relay X1 (HP7)

Pin

Wire

Circuit

Function

+

WH/RD

--

Main Contactor Relay Switch Voltage

Generator Battery Main Contactor Relay X2 (HP7)

Connector Part Information

  • OEM: 12191019
  • Core/Insulation Crimp: N/A
  • Description: Ring Terminal

Generator Battery Main Contactor Relay X2 (HP7)

Pin

Wire

Circuit

Function

+

WH/RD

--

Main Contactor Relay Switch Voltage

Generator Battery Main Contactor Relay X3 (HP7)

Connector Part Information

  • OEM: 12191019
  • Core/Insulation Crimp: N/A
  • Description: Ring Terminal

Generator Battery Main Contactor Relay X3 (HP7)

Pin

Wire

Circuit

Function

A

RD

--

Main Contactor Relay Supply Voltage

B

YE

--

Main Contactor Relay Ground

Generator Battery Temperature Sensor 1 (HP7)


Object Number: 287981  Size: CH

Connector Part Information

  • OEM: 12092162
  • Service: See Catalog
  • Description: 4-Way F Metri-Pack 150 Series (BK)

Terminal Part Information

  • Terminal/Tray: See Terminal Repair Kit
  • Core/Insulation Crimp: See Terminal Repair Kit
  • Release Tool/Test Probe: See Terminal Repair Kit

Generator Battery Temperature Sensor 1 (HP7)

Pin

Wire

Circuit

Function

A

0.5 BN

--

Generator Battery Temperature Sensor 1A Control

B

0.5 TN/WH

--

Low Reference

C

0.5 GY

--

Generator Battery Temperature Sensor 1B Control

D

0.5 WH/GY

--

Low Reference

Generator Battery Temperature Sensor 2 (HP7)


Object Number: 287981  Size: CH

Connector Part Information

  • OEM: 12092162
  • Service: See Catalog
  • Description: 4-Way F Metri-Pack 150 Series (BK)

Terminal Part Information

  • Terminal/Tray: See Terminal Repair Kit
  • Core/Insulation Crimp: See Terminal Repair Kit
  • Release Tool/Test Probe: See Terminal Repair Kit

Generator Battery Temperature Sensor 2 (HP7)

Pin

Wire

Circuit

Function

A

0.5 PU

--

Generator Battery Temperature Sensor 2A Control

B

0.5 WH/PU

--

Low Reference

C

0.5 YE

--

Generator Battery Temperature Sensor 2B Control

D

0.5 WH/YE

--

Low Reference

Generator Battery Temperature Sensor 3 (HP7)


Object Number: 287981  Size: CH

Connector Part Information

  • OEM: 12092162
  • Service: See Catalog
  • Description: 4-Way F Metri-Pack 150 Series (BK)

Terminal Part Information

  • Terminal/Tray: See Terminal Repair Kit
  • Core/Insulation Crimp: See Terminal Repair Kit
  • Release Tool/Test Probe: See Terminal Repair Kit

Generator Battery Temperature Sensor 3 (HP7)

Pin

Wire

Circuit

Function

A

0.5 OG

--

Generator Battery Temperature Sensor 3A Control

B

0.5 WH/OG

--

Low Reference

C

0.5 D-BU

--

Generator Battery Temperature Sensor 3B Control

D

0.5 WH/BU

--

Low Reference

Generator Battery Vent Fan (HP7)


Object Number: 1911012  Size: CH

Connector Part Information

  • OEM: 43025-0400
  • Service: See Catalog
  • Description: 4-Way F Micro-Fit 3.0 Series (WH)

Terminal Part Information

  • Terminal/Tray: See Terminal Repair Kit
  • Core/Insulation Crimp: See Terminal Repair Kit
  • Release Tool/Test Probe: See Terminal Repair Kit

Generator Battery Vent Fan (HP7)

Pin

Wire

Circuit

Function

1

0.5 RD

--

Power

2

0.5 BK

--

Fan Tachometer

3

0.5 TN

--

Fan Control

4

0.5 OG

--

Ground

Headlamp - Left High Beam


Object Number: 684797  Size: CH

Connector Part Information

  • OEM: 12059183
  • Service: 12109898
  • Description: 2-Way F Metri-Pack 280 Series Sealed (BK)

Terminal Part Information

  • Pins: See Terminal Repair Kit
  • Terminal/Tray: See Terminal Repair Kit
  • Core/Insulation Crimp: See Terminal Repair Kit
  • Release Tool/Test Probe: See Terminal Repair Kit

Headlamp - Left High Beam

Pin

Wire

Circuit

Function

A

0.5 BK/WH

711

Left Headlamp High Beam Supply Voltage

B

OG

150

Ground

Headlamp - Left Low Beam


Object Number: 1528375  Size: CH

Connector Part Information

  • OEM: 15393198
  • Service: See Catalog
  • Description: 2-Way F Metri-Pack 280 Series Sealed (GY)

Terminal Part Information

  • Pins: See Terminal Repair Kit
  • Terminal/Tray: See Terminal Repair Kit
  • Core/Insulation Crimp: See Terminal Repair Kit
  • Release Tool/Test Probe: See Terminal Repair Kit

Headlamp - Left Low Beam

Pin

Wire

Circuit

Function

A

0.5 BK/WH

711

Left Headlamp Low Beam Supply Voltage

B

0.5 L-GN

150

Ground

Headlamp - Right High Beam


Object Number: 684797  Size: CH

Connector Part Information

  • OEM: 12059183
  • Service: 12109898
  • Description: 2-Way F Metri-Pack 280 Series Sealed (BK)

Terminal Part Information

  • Pins: See Terminal Repair Kit
  • Terminal/Tray: See Terminal Repair Kit
  • Core/Insulation Crimp: See Terminal Repair Kit
  • Release Tool/Test Probe: See Terminal Repair Kit

Headlamp - Right High Beam

Pin

Wire

Circuit

Function

A

0.5 BK/WH

311

Right Headlamp High Beam Supply Voltage

B

0.5 OG

151

Ground

Headlamp - Right Low Beam


Object Number: 1528375  Size: CH

Connector Part Information

  • OEM: 15393198
  • Service: See Catalog
  • Description: 2-Way F Metri-Pack 280 Series Sealed (GY)

Terminal Part Information

  • Pins: See Terminal Repair Kit
  • Terminal/Tray: See Terminal Repair Kit
  • Core/Insulation Crimp: See Terminal Repair Kit
  • Release Tool/Test Probe: See Terminal Repair Kit

Headlamp - Right Low Beam

Pin

Wire

Circuit

Function

A

0.5 BK/WH

312

Right Headlamp Low Beam Supply Voltage

B

0.5 L-GN

151

Ground

Headlamp Switch


Object Number: 850856  Size: CH

Connector Part Information

  • OEM: 15394150
  • Service: 15394150
  • Description: 16-Way F Micro-Pack 064 Series (BK)

Terminal Part Information

  • Pins: 1, 4-9, 12-16
  • Terminal/Tray: 15359541/4
  • Core/Insulation Crimp: M/M
  • Release Tool/Test Probe: 15381651-2/J-35616-64B (L-BU)

Headlamp Switch

Pin

Wire

Circuit

Function

1

0.35 OG

192

Front Fog Lamp Switch Signal/Fog Lamps Enable

2-3

--

--

Not Used

4

0.5 BK

350

Ground

5

0.5 BN

41

Ignition 3 Voltage

6

0.35 WH

103

Headlamp Switch Headlamps On Signal

7

0.35 L-BU

13

Headlamp Switch Park Lamps Signal

8

0.35 D-GN

306

Headlamp Switch Headlamps Off Signal

9

0.35 PU/WH

1491

LED Dimming Signal/LED Dimming Supply

10-11

--

--

Not Used

12

0.5 OG/WH

812

I/P Dimming Voltage Reference

13

0.5 D-GN

44

I/P Lamps Dimmer Switch Signal

14

0.35 YE

1491

Backlight Lamps Control

15

0.5 PK

1501

Underseat Amber Light Supply Voltage (C2B)

16

0.5 L-BU

1462

Underseat Blue Light Supply Voltage (C2B)

Heated Oxygen Sensor (HO2S) 1 (LAT/LE5)


Object Number: 518981  Size: CH

Connector Part Information

  • OEM: 12160482
  • Service: 12160482
  • Description: 4-Way F Metri-Pack 150 Series, Sealed (BK)

Terminal Part Information

  • Terminal/Tray: 12048074/2
  • Core/Insulation Crimp: E/1
  • Release Tool/Test Probe: 12094429/J-35616-14 (GN)

Heated Oxygen Sensor (HO2S) 1 (LAT/LE5)

Pin

Wire

Circuit

Function

A

0.5 TN/WH

3111

HO2S Low Reference Bank 1 Sensor 1

B

0.5 PU/WH

3110

HO2S Reference Voltage Bank 1 Sensor 1

C

0.5 GY/WH

3113

HO2S Heater Low Control - Bank 1 Sensor 1

D

0.8 PK/BK

5293

Powertrain Main Relay Fused Supply (3)

Heated Oxygen Sensor (HO2S) 2 (LAT/LE5)


Object Number: 628099  Size: CH

Connector Part Information

  • OEM: 12092840
  • Service: 12092840
  • Description: 4-Way M Metri-Pack 150 Series, Sealed (GY)

Terminal Part Information

  • Terminal/Tray: 12045773/2
  • Core/Insulation Crimp: E/1
  • Release Tool/Test Probe: 12094429/J-35616-3 (GY)

Heated Oxygen Sensor (HO2S) 2 (LAT/LE5)

Pin

Wire

Circuit

Function

A

0.5 TN/WH

3121

HO2S Low Signal Bank 1 Sensor 2

B

0.5 PU

3120

HO2S High Signal Bank 1 Sensor 2

C

--

--

Not Available

D

0.8 PK/BK

5293

Powertrain Main Relay Fused Supply (3)

E

0.5 GY/WH

3122

HO2S Heater Low Control - Bank 2 Sensor 1

Heated Oxygen Sensor (HO2S) Bank 1 Sensor 1 (LY7/LZ4)


Object Number: 474210  Size: CH

Connector Part Information

  • OEM: 12176897
  • Service: 12176897
  • Description: 4-Way F Metri-Pack 150 Sealed (GY)

Terminal Part Information

  • Terminal/Tray: 12048074/2
  • Core/Insulation Crimp: E/1
  • Release Tool/Test Probe: 12094429/J-35616-14 (GN)

Heated Oxygen Sensor (HO2S) Bank 1 Sensor 1 (LY7/LZ4)

Pin

Wire

Circuit

Function

A

0.5 TN/WH

3111

HO2S Low Reference Bank 1 Sensor 1

B

0.5 PU/WH

3110

HO2S Reference Voltage Bank 1 Sensor 1

C

0.5 GY/WH

3113

HO2S Heater Low Control - Bank 1 Sensor 1

D

0.8 PK/BK

5293

Powertrain Main Relay Fused Supply (3)

Heated Oxygen Sensor (HO2S) Bank 1 Sensor 2 (LY7)


Object Number: 628099  Size: CH

Connector Part Information

  • OEM: 12092840
  • Service: 12092840
  • Description: 4-Way M Metri-Pack 150 Series, Sealed (GY)

Terminal Part Information

  • Terminal/Tray: 12045773/2
  • Core/Insulation Crimp: E/1
  • Release Tool/Test Probe: 12094429/J-35616-3 (GY)

Heated Oxygen Sensor (HO2S) Bank 1 Sensor 2 (LY7)

Pin

Wire

Circuit

Function

A

0.5 TN/WH

3121

HO2S Low Signal Bank 1 Sensor 2

B

0.5 PU

3120

HO2S High Signal Bank 1 Sensor 2

C

--

--

Not Available

D

0.5 PK/BK

5293

Powertrain Main Relay Fused Supply (3)

E

0.5 GY/WH

3122

HO2S Heater Low Control - Bank 2 Sensor 1

Heated Oxygen Sensor (HO2S) Bank 1 Sensor 2 (LZ4)


Object Number: 806613  Size: CH

Connector Part Information

  • OEM: 15326423
  • Service: 15326423
  • Description: 4-Way M Metri-Pack 150 Series, Sealed (BK)

Terminal Part Information

  • Terminal/Tray: 12045773/2
  • Core/Insulation Crimp: E/1
  • Release Tool/Test Probe: 12094429/J-35616-3 (GY)

Heated Oxygen Sensor (HO2S) Bank 1 Sensor 2 (LZ4)

Pin

Wire

Circuit

Function

A

0.5 TN/WH

3121

HO2S Low Signal Bank 1 Sensor 2

B

0.5 PU

3120

HO2S High Signal Bank 1 Sensor 2

C

0.5 GY/WH

3122

HO2S Heater Low Control - Bank 2 Sensor 1

D

0.5 PK/BK

5293

Powertrain Main Relay Fused Supply (3)

Heated Oxygen Sensor (HO2S) Bank 2 Sensor 1 (LY7/LZ4)


Object Number: 474210  Size: CH

Connector Part Information

  • OEM: 12176897
  • Service: 12176897
  • Description: 4-Way F Metri-Pack 150 Sealed (GY)

Terminal Part Information

  • Terminal/Tray: 12048074/2
  • Core/Insulation Crimp: E/1
  • Release Tool/Test Probe: 12094429/J-35616-14 (GN)

Heated Oxygen Sensor (HO2S) Bank 2 Sensor 1 (LY7/LZ4)

Pin

Wire

Circuit

Function

A

0.5 TN/WH

3211

HO2S Low Reference Bank 2 Sensor 1

B

0.5 PU/WH

3210

HO2S Reference Voltage Bank 2 Sensor 1

C

0.5 L-GN

3212

HO2S Heater Low Control - Bank 2 Sensor 1

D

0.5 PK/BK

5293

Powertrain Main Relay Fused Supply (3)

Heated Oxygen Sensor (HO2S) Bank 2 Sensor 2 (LY7)


Object Number: 628099  Size: CH

Connector Part Information

  • OEM: 12092840
  • Service: 12092840
  • Description: 4-Way M Metri-Pack 150 Series, Sealed (GY)

Terminal Part Information

  • Terminal/Tray: 12045773/2
  • Core/Insulation Crimp: E/1
  • Release Tool/Test Probe: 12094429/J-35616-3 (GY)

Heated Oxygen Sensor (HO2S) Bank 2 Sensor 2 (LY7)

Pin

Wire

Circuit

Function

A

0.5 TN

3221

HO2S Low Signal Bank 2 Sensor 2

B

0.5 PU

3220

HO2S High Signal Bank 2 Sensor 2

C

--

--

Not Available

D

0.5 PK/BK

5293

Powertrain Main Relay Fused Supply (3)

E

0.5 OG/WH

3223

HO2S Heater Low Control Bank 2 Sensor 2

Heated Oxygen Sensor (HO2S) Bank 2 Sensor 2 (LZ4)


Object Number: 806613  Size: CH

Connector Part Information

  • OEM: 15326423
  • Service: 15326423
  • Description: 4-Way M Metri-Pack 150 Series, Sealed (BK)

Terminal Part Information

  • Terminal/Tray: 12045773/2
  • Core/Insulation Crimp: E/1
  • Release Tool/Test Probe: 12094429/J-35616-3 (GY)

Heated Oxygen Sensor (HO2S) Bank 2 Sensor 2 (LZ4)

Pin

Wire

Circuit

Function

A

0.5 TN

3221

HO2S Low Signal Bank 2 Sensor 2

B

0.5 PU

3220

HO2S High Signal Bank 2 Sensor 2

C

0.5 OG/WH

3223

HO2S Heater Low Control Bank 2 Sensor 2

D

0.8 PK/BK

5293

Powertrain Main Relay Fused Supply (3)

Heated Seat Control Module - Driver (KA1)


Object Number: 1962072  Size: CH

Connector Part Information

  • OEM: MG651056
  • Service: 88952443
  • Description: 10-Way F 090 II Series (BK)

Terminal Part Information

  • Terminal/Tray: See Terminal Repair Kit
  • Core/Insulation Crimp: See Terminal Repair Kit
  • Release Tool/Test Probe: See Terminal Repair Kit

Heated Seat Control Module - Driver (KA1)

Pin

Wire

Circuit

Function

1

0.35 YE

2079

Heated Seat Cushion Temperature Sensor Signal

2

0.35 D-BU

6172

Driver Heated Seat Switch Signal

3

1 RD

2077

Heated Seat Cushion Element control

4

1 RD/WH

640

Battery Positive Voltage

5

1 BK

450

Ground

6

0.35 PK

2080

Low Reference

7

0.35 D-GN

1661

Driver Heated Seat High Temperature Indicator Control

8

0.35 WH/BK

6177

Driver Heated Seat Medium Temperature Indicator Control

9

0.35 L-GN

1662

Driver Heated Seat Low Temperature Indicator Control

10

0.35 BN

41

Ignition 3 Voltage

Heated Seat Control Module - Passenger (KA1)


Object Number: 1962072  Size: CH

Connector Part Information

  • OEM: MG651056
  • Service: 88952443
  • Description: 10-Way F 090 II Series (BK)

Terminal Part Information

  • Terminal/Tray: See Terminal Repair Kit
  • Core/Insulation Crimp: See Terminal Repair Kit
  • Release Tool/Test Probe: See Terminal Repair Kit

Heated Seat Control Module - Passenger (KA1)

Pin

Wire

Circuit

Function

1

0.35 YE

2434

Heated Seat Element - Passenger Cushion Temperature Sensor Signal

2

0.35 L-BU

6180

Passenger Heated Seat Switch Signal

3

1 RD

2479

Heated Seat Cushion Element Control

4

1 RD/WH

640

Battery Positive Voltage

5

1 BK

650

Ground

6

0.35 PK

2435

Low Reference

7

0.35 D-GN

1685

Passenger Heated Seat High Temperature Indicator Control

8

0.35 WH/BK

6185

Passenger Heated Seat Medium Temperature Indicator Control

9

0.35 L-BU

6186

Passenger Heated Seat Low Temperature Indicator Control

10

0.35 BN

41

Ignition 3 Voltage

Heated Seat Element - Driver X1 (KA1)


Object Number: 1701011  Size: CH

Connector Part Information

  • OEM: MG620397
  • Service: See Catalog
  • Description: 4-Way F Micro-64 Unsealed (WH)

Terminal Part Information

  • Terminal/Tray: 15359541/4
  • Core/Insulation Crimp: M/M
  • Release Tool/Test Probe: 15381651-2/J-35616-64B (L-BU)

Heated Seat Element - Driver X1 (KA1)

Pin

Wire

Circuit

Function

1

1 YE

2077

Heated Seat Cushion Element Supply Voltage

2

1 BK

450

Ground

2

0.35 BK/RD

2079

Heated Seat Cushion Temperature Sensor Signal

4

0.35 BK/RD

2080

Low Reference

Heated Seat Element - Driver Back X2 (KA1)


Object Number: 1701011  Size: CH

Connector Part Information

  • OEM: MG620397
  • Service: See Catalog
  • Description: 4-Way F Micro-64 Unsealed (GN)

Terminal Part Information

  • Terminal/Tray: 15359541/4
  • Core/Insulation Crimp: M/M
  • Release Tool/Test Probe: 15381651-2/J-35616-64B (L-BU)

Heated Seat Back Element - Driver X2 (KA1)

Pin

Wire

Circuit

Function

1

1 PK

2078

Heated Seat Cushion Element Control

2

0.35 BK/RD

2080

Low Reference

3

0.35 BK/RD

2079

Heated Seat Cushion Temperature Sensor Signal

4

1 YE

2077

Heated Seat Cushion Element Supply Voltage

Heated Seat Element - Passenger X1 (KA1)


Object Number: 1701011  Size: CH

Connector Part Information

  • OEM: MG620397
  • Service: See Catalog
  • Description: 4-Way F Micro-64 Unsealed (WH)

Terminal Part Information

  • Terminal/Tray: 15359541/4
  • Core/Insulation Crimp: M/M
  • Release Tool/Test Probe: 15381651-2/J-35616-64B (L-BU)

Heated Seat Element - Passenger X1 (KA1)

Pin

Wire

Circuit

Function

1

1 YE

2479

Passenger Heated Seat Back Element Supply Voltage

2

1 BK

450

Ground

3

0.35 BK/RD

2434

Heated Seat Cushion Temperature Sensor Signal

4

0.35 BK/RD

2435

Low Reference

Heated Seat Back Element - Passenger X2 (KA1)


Object Number: 1701011  Size: CH

Connector Part Information

  • OEM: MG620397
  • Service: See Catalog
  • Description: 4-Way F Micro-64 Unsealed (GN)

Terminal Part Information

  • Terminal/Tray: 15359541/4
  • Core/Insulation Crimp: M/M
  • Release Tool/Test Probe: 15381651-2/J-35616-64B (L-BU)

Heated Seat Back Element - Passenger X2 (KA1)

Pin

Wire

Circuit

Function

1

1 RD

2481

Passenger Heated Seat Element Supply Voltage

2

0.35 BK/RD

2435

Low Reference

3

0.35 BK/RD

2434

Heated Seat Cushion Temperature Sensor Signal

4

1 YE

2479

Passenger Heated Seat Back Element Supply Voltage

Heated Seat Switch - Driver (KA1)


Object Number: 1376707  Size: CH

Connector Part Information

  • OEM: 15406141
  • Service: 88988315
  • Description: 8-Way F Micro-64 Unsealed (BK)

Terminal Part Information

  • Terminal/Tray: 15359541/4
  • Core/Insulation Crimp: M/M
  • Release Tool/Test Probe: 15381651-2/J-35616-64B (L-BU)

Heated Seat Switch - Driver (KA1)

Pin

Wire

Circuit

Function

1

0.35 YE

1491

Backlight Lamps Control

2

0.35 BK

450

Ground

3

0.35 BN

41

Ignition 3 Voltage

4

0.35 D-BU

6172

Driver Heated Seat Switch Back Cushion Signal

5

0.35 PU/WH

1382

LED Dimming Signal/LED Dimming Supply

6

0.35 L-BU

1662

Driver Heated Seat Low Temperature Indicator Control

7

0.35 WH/BK

6177

Driver Heated Seat Medium Indicator Control

8

0.35 D-GN

1661

Driver Heated Seat High Temperature Indicator Control

Heated Seat Switch - Passenger (KA1)


Object Number: 1376707  Size: CH

Connector Part Information

  • OEM: 15406141
  • Service: 88988315
  • Description: 8-Way F Micro-64 Unsealed (BK)

Terminal Part Information

  • Terminal/Tray: 15359541/4
  • Core/Insulation Crimp: M/M
  • Release Tool/Test Probe: 15381651-2/J-35616-64B (L-BU)

Heated Seat Switch - Passenger (KA1)

Pin

Wire

Circuit

Function

1

0.35 YE

1491

Backlight Lamps Control

2

0.35 BK

450

Ground

3

0.35 BN

41

Ignition 3 Voltage

4

0.35 D-BU

6180

Passenger Heated Seat Switch Back Cushion Signal

5

0.35 PU/WH

1382

LED Dimming Signal/LED Dimming Supply

6

0.35 YE

1685

Passenger Heated Seat High Temperature Indicator Control

7

0.35 WH/BK

6185

Passenger Heated Seat Medium Indicator Control

8

0.35 TN

1686

Passenger Heated Seat Low Temperature Indicator Control

Heated Washer Nozzle - Left (XA7)


Object Number: 1962074  Size: CH

Connector Part Information

  • OEM: 1-963658-4
  • Service: See Catalog
  • Description: 2-Way F Sealed (BK)

Terminal Part Information

  • Terminal/Tray: See Terminal Repair Kit
  • Core/Insulation Crimp: See Terminal Repair Kit
  • Release Tool/Test Probe: See Terminal Repair Kit

Heated Washer Nozzle - Left (XA7)

Pin

Wire

Circuit

Function

1

0.5 OG

267

Heated Washer Nozzle Supply Voltage

2

0.5 BK

450

Ground

Heated Washer Nozzle - Right (XA7)


Object Number: 1962074  Size: CH

Connector Part Information

  • OEM: 1-963658-4
  • Service: See Catalog
  • Description: 2-Way F Sealed (BK)

Terminal Part Information

  • Terminal/Tray: See Terminal Repair Kit
  • Core/Insulation Crimp: See Terminal Repair Kit
  • Release Tool/Test Probe: See Terminal Repair Kit

Heated Washer Nozzle - Right (XA7)

Pin

Wire

Circuit

Function

1

0.5 OG

267

Heated Washer Nozzle Supply Voltage

2

0.5 BK

450

Ground

Heater Coolant Pump (HP7)


Object Number: 1527729  Size: CH

Connector Part Information

  • OEM: 15419715
  • Service: 88988313
  • Description: 2-Way F GT 150 Series Sealed (GY)

Terminal Part Information

  • Terminal/Tray: 12191819/8
  • Core/Insulation Crimp: 2/A
  • Release Tool/Test Probe: 15315247/J-35616-2A (GY)

Heater Coolant Pump (HP7)

Pin

Wire

Circuit

Function

A

0.5 RD/WH

2940

Battery Positive Voltage

B

0.8 TN

2022

Coolant Pump Control

Hill Hold Brake Delay Valve (HP7)


Object Number: 1566796  Size: CH

Connector Part Information

  • OEM: 13580064
  • Service: 88988644
  • Description: 4-Way F Sealed (BK)

Terminal Part Information

  • Terminal/Tray: See Terminal Repair Kit
  • Core/Insulation Crimp: See Terminal Repair Kit
  • Release Tool/Test Probe: See Terminal Repair Kit

Hill Hold Brake Delay Valve (HP7)

Pin

Wire

Circuit

Function

1

0.5 BN

909

Hill Hold Valve Brake Relay Contact Output Voltage

2

0.35 PU

910

Hill Hold Valve Number 1 Control

3

0.5 BN

909

Hill Hold Valve Brake Relay Contact Output Voltage

4

0.35 L-GN

911

Hill Hold Valve Number 2 Control

Hood Ajar Switch (AP3)


Object Number: 646415  Size: CH

Connector Part Information

  • OEM: 15326808
  • Service: 15326808
  • Description: 3-Way F GT 150 Series, Sealed (BK)

Terminal Part Information

  • Terminal/Tray: 12191819/8
  • Core/Insulation Crimp: E/A
  • Release Tool/Test Probe: 15315247/J-35616-2A (GY)

Hood Ajar Switch (AP3)

Pin

Wire

Circuit

Function

A

0.35 BK

150

Ground

B

0.35 YE

5530

Hood Open Switch Signal

C

0.35 PU

5531

Hood Closed Switch Signal

Horn - Left


Object Number: 1527729  Size: CH

Connector Part Information

  • OEM: 15419715
  • Service: 88988313
  • Description: 2-Way F GT 150 Series Sealed (GY)

Terminal Part Information

  • Terminal/Tray: 12191819/8
  • Core/Insulation Crimp: E/A
  • Release Tool/Test Probe: 15315247/J-35616-2A (GY)

Horn - Left

Pin

Wire

Circuit

Function

A

0.5 BK

150

Ground

B

0.5 D-GN

29

Horn Control

Horn - Right


Object Number: 1527729  Size: CH

Connector Part Information

  • OEM: 15419715
  • Service: 88988313
  • Description: 2-Way F GT 150 Series Sealed (GY)

Terminal Part Information

  • Terminal/Tray: 12191819/8
  • Core/Insulation Crimp: E/A
  • Release Tool/Test Probe: 15315247/J-35616-2A (GY)

Horn - Right

Pin

Wire

Circuit

Function

A

0.5 BK/WH

151

Ground

B

0.5 D-GN

29

Horn Control

Horn Switch X1


Object Number: 1862161  Size: CH

Connector Part Information

  • OEM: 2-520128-2
  • Service: See Catalog
  • Description: 1-Way F 6.35 Series (RD)

Terminal Part Information

  • Terminal/Tray: 12191819/8
  • Core/Insulation Crimp: 2/A
  • Release Tool/Test Probe: 15315247/J-35616-2A (GY)

Horn Switch X1

Pin

Wire

Circuit

Function

1

0.35 RD

28

Horn Relay Control

Horn Switch X2


Object Number: 1862161  Size: CH

Connector Part Information

  • OEM: 2-520128-2
  • Service: See Catalog
  • Description: 1-Way F 6.35 Series (RD)

Terminal Part Information

  • Terminal/Tray: 12191819/8
  • Core/Insulation Crimp: 2/A
  • Release Tool/Test Probe: 15315247/J-35616-2A (GY)

Horn Switch X2

Pin

Wire

Circuit

Function

1

0.35 BK

350

Ground

HVAC Control Module X1 (C67)


Object Number: 1715226  Size: CH

Connector Part Information

  • OEM: 31323-1208
  • Service: See Catalog
  • Description: 20-Way F USCAR ASSY 0.64 RCPT (BN)

Terminal Part Information

  • Terminal/Tray: See Terminal Repair Kit
  • Core/Insulation Crimp: See Terminal Repair Kit
  • Release Tool/Test Probe: See Terminal Repair Kit

HVAC Control Module X1 (C67)

Pin

Wire

Circuit

Function

1

--

--

Not Used

2

0.35 D-GN

734

Inside Air Temperature Sensor Signal

3

0.35 L-BU/BK

590

Driver Sunload Sensor Signal

4

0.35 GY

1548

Passenger Sunload Sensor Signal

5-14

--

--

Not Used

15

0.5 GY

5954

Motor Supply Voltage

16

0.35 TN

516

Upper Left Air Temperature Sensor Signal

17-20

--

--

Not Used

HVAC Control Module X1 (C68)


Object Number: 1664553  Size: CH

Connector Part Information

  • OEM: 31410-1202
  • Service: See Catalog
  • Description: 20-Way F 0.64 Series, Sealed (BN)

Terminal Part Information

  • Terminal/Tray: 7116-4618-02/14
  • Core/Insulation Crimp: P/P
  • Release Tool/Test Probe: J-38125-215/J-35616-64B (L-BU)

HVAC Control Module X1 (C68)

Pin

Wire

Circuit

Function

1

--

--

Not Used

2

0.35 D-GN

734

Inside Air Temperature Sensor Signal

3

0.35 L-BU/BK

590

Driver Sunload Sensor Signal

4

0.35 GY

1548

Passenger Sunload Sensor Signal

5-14

--

--

Not Used

15

0.35 BN

516

Upper Left Air Temperature Sensor Signal

16

--

--

Not Used

17

0.5 GY

5954

Motor Supply Voltage

18-20

--

--

Not Used

HVAC Control Module X2


Object Number: 1715229  Size: CH

Connector Part Information

  • OEM: 7283-9080-90
  • Service: See Catalog
  • Description: 16-Way F 0.64 (BU)

Terminal Part Information

  • Terminal/Tray: 7116-4618-02/14
  • Core/Insulation Crimp: P/P
  • Release Tool/Test Probe: J-38125-215/J-35616-64B (BU)

HVAC Control Module X2

Pin

Wire

Circuit

Function

1

0.35 YE

1491

Backlight Lamps Control

2

0.35 BN

41

Ignition 3 Voltage

3

0.5 BK

350

Ground

4

0.5 RD/WH

1840

Battery Positive Voltage

5

0.35 D-GN

5060

Low Speed GMLAN Serial Data

6-7

--

--

Not Used

8

0.35 WH

193

Rear Defog Relay Control

9

0.35 D-GN/WH

636

Ambient Air Temperature Sensor Signal (C68)

10

0.35 BK

350

Ground

11

--

--

Not Used

12

0.5 YE

61

Low Reference

13-16

--

--

Not Used

HVAC Control Module X3 (C67)


Object Number: 1715226  Size: CH

Connector Part Information

  • OEM: 31323-1207
  • Service: See Catalog
  • Description: 20-Way F (GY)

Terminal Part Information

  • Terminal/Tray: See Terminal Repair Kit
  • Core/Insulation Crimp: See Terminal Repair Kit
  • Release Tool/Test Probe: See Terminal Repair Kit

HVAC Control Module X3 (C67)

Pin

Wire

Circuit

Function

1

0.35 TN

520

Lower Right Air Temperature Sensor Signal

2

0.35 L-GN

2275

Mode Door Position Signal

3

0.35 PU

1838

Recirculation Door Position Signal

4

0.35 GY/BK

754

Blower Motor Speed Control

5

0.5 TN

2273

Mode Door Control

6

--

--

Not Used

7

0.5 D-GN

1614

Recirculation Door Control

8

0.5 BN

1199

Air Temperature Door Control

9

--

--

Not Used

10

0.35 GY

598

5-Volt Reference

11-12

--

--

Not Used

13

0.35 L-GN

2275

Mode Door Position Signal

14

0.35 WH

2622

5-Volt Reference

15

0.5 WH

119

Mode Door Control

16

--

--

Not Used

17

0.5 TN/BK

2274

Recirculation Door Control

18

0.5 L-BU

1316

Air Temperature Door Control

19

0.35 TN

552

Low Reference

20

0.35 YE

1791

Low Reference

HVAC Control Module X3 (C68)


Object Number: 1664552  Size: CH

Connector Part Information

  • OEM: 31410-1201
  • Service: See Catalog
  • Description: 20-Way F 0.64 Series Sealed (GY)

Terminal Part Information

  • Terminal/Tray: 7116-4618-02/14
  • Core/Insulation Crimp: P/P
  • Release Tool/Test Probe: J-38125-215/J-35616-64B (L-BU)

HVAC Control Module X3 (C68)

Pin

Wire

Circuit

Function

1

0.35 BN

520

Lower Right Air Temperature Sensor Signal

2

0.35 L-GN

2275

Mode Door Position Signal

3

0.35 PU

1838

Recirculation Door Position Signal

4

0.35 GY/BK

754

Blower Motor Speed Control

5

0.5 BN

2273

Mode Door Control

6

--

--

Not Used

7

0.5 D-GN

1614

Recirculation Door Control

8

0.5 D-BU

1199

Left Air Temperature Door Control

9

--

--

Not Used

10

0.35 GY

598

5-Volt Reference

11-12

--

--

Not Used

13

0.35 L-GN

2275

Mode Door Position Signal

14

0.35 WH

2622

Evaporative Temperature Sensor Signal

15

0.5 D-GN

119

Mode Door Control

16

--

--

Not Used

17

0.5 D-GN

2274

Recirculation Door Control

18

0.5 D-GN

1316

Air Temperature Door Control

19

0.35 TN

552

Low Reference

20

0.35 YE

1791

Low Reference

Ignition Coil 1 (LAT)


Object Number: 1590069  Size: CH

Connector Part Information

  • OEM: 15466325
  • Service: See Catalog
  • Description: 4-Way F USCAR 150 Series Sealed (BK)

Terminal Part Information

  • Terminal/Tray: 7116-4102-08/9
  • Core/Insulation Crimp: E/1
  • Release Tool/Test Probe: 12094430/J-35616-2A (GY)

Ignition Coil 1 (LAT)

Pin

Wire

Circuit

Function

1

0.8 BK

250

Ground

2

0.5 BN

2129

Low Reference

3

0.5 PU

2121

IC 1 Control

4

0.5 PK/BK

5292

Ignition 1 Voltage

Ignition Coil 1 (LE5)


Object Number: 1590069  Size: CH

Connector Part Information

  • OEM: 13579069
  • Service: See Catalog
  • Description: 4-Way F USCAR 150 Series Sealed (BK)

Terminal Part Information

  • Terminal/Tray: 7116-4102-08/9
  • Core/Insulation Crimp: E/1
  • Release Tool/Test Probe: 12094430/J-35616-2A (GY)

Ignition Coil 1 (LE5)

Pin

Wire

Circuit

Function

1

0.8 BK

250

Ground

2

0.5 BN

2129

Low Reference

3

0.5 PU

2121

IC 1 Control

4

0.5 PK/BK

5292

Ignition 1 Voltage

Ignition Coil 1 (LY7)


Object Number: 1653384  Size: CH

Connector Part Information

  • OEM: 15466325
  • Service: 88988737
  • Description: 4-Way F GT 150 Series Sealed (BK)

Terminal Part Information

  • Pins: A-D
  • Terminal/Tray: 12191819/8
  • Core/Insulation Crimp: Pins A, D - 2/A
  • Core/Insulation Crimp: Pins B, C - E/A
  • Release Tool/Test Probe: 15315247/J-35616-2A (GY)

Ignition Coil 1 (LY7)

Pin

Wire

Circuit

Function

A

0.8 BK

2950

Ground

B

0.5 BN

2129

Low Reference

C

0.5 PU

2121

IC 1 Control

D

1 PK/BK

5291

Ignition 1 Voltage

Ignition Coil 2 (LAT)


Object Number: 1590069  Size: CH

Connector Part Information

  • OEM: 15466325
  • Service: See Catalog
  • Description: 4-Way F USCAR 150 Series Sealed (BK)

Terminal Part Information

  • Terminal/Tray: 7116-4102-08/9
  • Core/Insulation Crimp: E/1
  • Release Tool/Test Probe: 12094430/J-35616-2A (GY)

Ignition Coil 2 (LAT)

Pin

Wire

Circuit

Function

1

0.8 BK

250

Ground

2

0.5 BN

2129

Low Reference

3

0.5 OG/WH

2122

IC 2 Control

4

0.5 PK/BK

5292

Ignition 1 Voltage

Ignition Coil 2 (LE5)


Object Number: 1590069  Size: CH

Connector Part Information

  • OEM: 13579069
  • Service: See Catalog
  • Description: 4-Way F USCAR 150 Series Sealed (BK)

Terminal Part Information

  • Terminal/Tray: 7116-4102-08/9
  • Core/Insulation Crimp: E/1
  • Release Tool/Test Probe: 12094430/J-35616-2A (GY)

Ignition Coil 2 (LE5)

Pin

Wire

Circuit

Function

1

0.8 BK

250

Ground

2

0.5 BN

2129

Low Reference

3

0.5 OG/WH

2122

IC 2 Control

4

0.5 PK/BK

5292

Ignition 1 Voltage

Ignition Coil 2 (LY7)


Object Number: 1653384  Size: CH

Connector Part Information

  • OEM: 15466325
  • Service: 88988737
  • Description: 4-Way F GT 150 Series Sealed (BK)

Terminal Part Information

  • Pins: A-D
  • Terminal/Tray: 12191819/8
  • Core/Insulation Crimp: Pins A, D - 2/A
  • Core/Insulation Crimp: Pins B, C - E/A
  • Release Tool/Test Probe: 15315247/J-35616-2A (GY)

Ignition Coil 2 (LY7)

Pin

Wire

Circuit

Function

A

0.8 BK

250

Ground

B

0.5 BN/WH

2130

Low Reference

C

0.5 OG/WH

2122

IC 2 Control

D

1 PK/BK

5292

Ignition 1 Voltage

Ignition Coil 3 (LAT)


Object Number: 1590069  Size: CH

Connector Part Information

  • OEM: 15466325
  • Service: See Catalog
  • Description: 4-Way F USCAR 150 Series Sealed (BK)

Terminal Part Information

  • Terminal/Tray: 7116-4102-08/9
  • Core/Insulation Crimp: E/1
  • Release Tool/Test Probe: 12094430/J-35616-2A (GY)

Ignition Coil 3 (LAT)

Pin

Wire

Circuit

Function

1

0.8 BK

250

Ground

2

0.5 BN

2129

Low Reference

3

0.5 L-BU

2123

IC 3 Control

4

0.5 PK/BK

5292

Ignition 1 Voltage

Ignition Coil 3 (LE5)


Object Number: 1590069  Size: CH

Connector Part Information

  • OEM: 13579069
  • Service: See Catalog
  • Description: 4-Way F USCAR 150 Series Sealed (BK)

Terminal Part Information

  • Terminal/Tray: 7116-4102-08/9
  • Core/Insulation Crimp: E/1
  • Release Tool/Test Probe: 12094430/J-35616-2A (GY)

Ignition Coil 3 (LE5)

Pin

Wire

Circuit

Function

1

0.8 BK

250

Ground

2

0.5 BN

2129

Low Reference

3

0.5 L-BU

2123

IC 3 Control

4

0.5 PK/BK

5292

Ignition 1 Voltage

Ignition Coil 3 (LY7)


Object Number: 1653384  Size: CH

Connector Part Information

  • OEM: 15466325
  • Service: 88988737
  • Description: 4-Way F GT 150 Series Sealed (BK)

Terminal Part Information

  • Pins: A-D
  • Terminal/Tray: 12191819/8
  • Core/Insulation Crimp: Pins A, D - 2/A
  • Core/Insulation Crimp: Pins B, C - E/A
  • Release Tool/Test Probe: 15315247/J-35616-2A (GY)

Ignition Coil 3 (LY7)

Pin

Wire

Circuit

Function

A

0.8 BK

2950

Ground

B

0.5 BN

2129

Low Reference

C

0.5 L-BU

2123

IC 3 Control

D

1 PK/BK

5291

Ignition 1 Voltage

Ignition Coil 4 (LAT)


Object Number: 1590069  Size: CH

Connector Part Information

  • OEM: 15466325
  • Service: See Catalog
  • Description: 4-Way F USCAR 150 Series Sealed (BK)

Terminal Part Information

  • Terminal/Tray: 7116-4102-08/9
  • Core/Insulation Crimp: E/1
  • Release Tool/Test Probe: 12094430/J-35616-2A (GY)

Ignition Coil 4 (LAT)

Pin

Wire

Circuit

Function

1

0.8 BK

250

Ground

2

0.5 BN

2129

Low Reference

3

0.5 D-GN/WH

2124

IC 4 Control

4

0.5 PK/BK

5292

Ignition 1 Voltage

Ignition Coil 4 (LE5)


Object Number: 1590069  Size: CH

Connector Part Information

  • OEM: 13579069
  • Service: See Catalog
  • Description: 4-Way F USCAR 150 Series Sealed (BK)

Terminal Part Information

  • Terminal/Tray: 7116-4102-08/9
  • Core/Insulation Crimp: E/1
  • Release Tool/Test Probe: 12094430/J-35616-2A (GY)

Ignition Coil 4 (LE5)

Pin

Wire

Circuit

Function

1

0.8 BK

250

Ground

2

0.5 BN

2129

Low Reference

3

0.5 D-GN/WH

2124

IC 4 Control

4

0.5 PK/BK

5292

Ignition 1 Voltage

Ignition Coil 4 (LY7)


Object Number: 1653384  Size: CH

Connector Part Information

  • OEM: 15466325
  • Service: 88988737
  • Description: 4-Way F GT 150 Series Sealed (BK)

Terminal Part Information

  • Pins: A-D
  • Terminal/Tray: 12191819/8
  • Core/Insulation Crimp: Pins A, D - 2/A
  • Core/Insulation Crimp: Pins B, C - E/A
  • Release Tool/Test Probe: 15315247/J-35616-2A (GY)

Ignition Coil 4 (LY7)

Pin

Wire

Circuit

Function

A

0.8 BK

250

Ground

B

0.5 BN/WH

2130

Low Reference

C

0.5 D-GN/WH

2124

IC 4 Control

D

1 PK/BK

5292

Ignition 1 Voltage

Ignition Coil 5 (LY7)


Object Number: 1653384  Size: CH

Connector Part Information

  • OEM: 15466325
  • Service: 88988737
  • Description: 4-Way F GT 150 Series Sealed (BK)

Terminal Part Information

  • Pins: A-D
  • Terminal/Tray: 12191819/8
  • Core/Insulation Crimp: Pins A, D - 2/A
  • Core/Insulation Crimp: Pins B, C - E/A
  • Release Tool/Test Probe: 15315247/J-35616-2A (GY)

Ignition Coil 5 (LY7)

Pin

Wire

Circuit

Function

A

0.8 BK

2950

Ground

B

0.5 BN

2129

Low Reference

C

0.5 D-GN

2125

IC 5 Control

D

1 PK/BK

5291

Ignition 1 Voltage

Ignition Coil 6 (LY7)


Object Number: 1653384  Size: CH

Connector Part Information

  • OEM: 15466325
  • Service: 88988737
  • Description: 4-Way F GT 150 Series Sealed (BK)

Terminal Part Information

  • Pins: A-D
  • Terminal/Tray: 12191819/8
  • Core/Insulation Crimp: Pins A, D - 2/A
  • Core/Insulation Crimp: Pins B, C - E/A
  • Release Tool/Test Probe: 15315247/J-35616-2A (GY)

Ignition Coil 6 (LY7)

Pin

Wire

Circuit

Function

A

0.8 BK

250

Ground

B

0.5 BN/WH

2130

Low Reference

C

0.5 L-BU/WH

2126

IC 6 Control

D

1 PK/BK

5292

Ignition 1 Voltage

Ignition Control Module (ICM) (LZ4)


Object Number: 632357  Size: CH

Connector Part Information

  • OEM: 15326829
  • Service: 15326829
  • Description: 6-Way F GT 150 Series Sealed (BK)

Terminal Part Information

  • Pins: A-F
  • Terminal/Tray: 12191819/8
  • Core/Insulation Crimp: Pins A-D - E/A
  • Core/Insulation Crimp: Pins E-F - 2/A
  • Release Tool/Test Probe: 15315247/J-35616-2A (GY)

Ignition Control Module (ICM) (LZ4)

Pin

Wire

Circuit

Function

A

0.5 OG/WH

2122

IC 2 Control

B

0.5 PU

2121

IC 1 Control

C

0.5 L-BU

2123

IC 3 Control

D

0.5 BN

2129

Low Reference

E

1 BK

250

Ground

F

1 PK/BK

5292

Ignition 1 Voltage

Ignition Lock Cylinder Control Solenoid (LAT/LE5)


Object Number: 280768  Size: CH

Connector Part Information

  • OEM: 12052832
  • Service: 12101825
  • Description: 2-Way F Metri-Pack 150 Series (BK)

Terminal Part Information

  • Terminal/Tray: 12064971/5
  • Core/Insulation Crimp: E/C
  • Release Tool/Test Probe: 12094429/J-35616-14 (GN)

Ignition Lock Cylinder Control Solenoid (LAT/LE5)

Pin

Wire

Circuit

Function

A

0.35 BK

350

Ground

B

0.35 PU/WH

5905

Key Capture/Column Lock Signal

Ignition Switch (LAT/LE5)


Object Number: 1664590  Size: CH

Connector Part Information

  • OEM: 15484551
  • Service: See Catalog
  • Description: 6-Way F 1.2 HCM (BK)

Terminal Part Information

  • Terminal/Tray: SHCM-A03T-P025/20
  • Core/Insulation Crimp: J/J
  • Release Tool/Test Probe: 12094429/J-35616-64B (L-BU)

Ignition Switch (LAT/LE5)

Pin

Wire

Circuit

Function

1

0.35 PK

39

Ignition 1 Voltage

2

0.35 YE

43

Accessory Voltage

3

0.35 RD/WH

1740

Battery Positive Voltage

4

0.35 WH

530

Ignition 0 Voltage

5

0.35 WH/BK

1073

Ignition Key Resistor Signal

6

--

--

Not Used

Ignition Switch (LY7/LZ4)


Object Number: 307727  Size: CH

Connector Part Information

  • OEM: 15324806
  • Service: 88987854
  • Description: 6-Way F ILAG5 Series (GN)

Terminal Part Information

  • Terminal/Tray: IL-AG5-C1-5000/20
  • Core/Insulation Crimp: K/K
  • Release Tool/Test Probe: J-38125-211/J-35616-64B (L-BU)

Ignition Switch (LY7/LZ4)

Pin

Wire

Circuit

Function

1

0.35 YE

43

Accessory Voltage

2

0.35 RD/WH

1740

Battery Positive Voltage

3

0.35 PK

39

Ignition 1 Voltage

4

0.35 WH/BK

1073

Ignition Key Resistor Signal

5

0.35 WH

530

Ignition 0 Voltage

6

--

--

Not Used

Ignition Switch Lamp (LY7/LZ4)


Object Number: 1860067  Size: CH

Connector Part Information

  • OEM: 1356111
  • Service: See Catalog
  • Description: 2-Way F

Terminal Part Information

  • Terminal/Tray: N/A
  • Core/Insulation Crimp: N/A
  • Release Tool/Test Probe: N/A

Ignition Switch Lamp (LY7/LZ4)

Pin

Wire

Circuit

Function

1

0.35 TN

690

Accessory Voltage

2

0.35 GY

350

Ground

Inflatable Restraint Front End Sensor - Left


Object Number: 744046  Size: CH

Connector Part Information

  • OEM: 15356723
  • Service: 15356723
  • Description: 2-Way F GT 150 Series Sealed 4.0 (YE)

Terminal Part Information

  • Terminal/Tray: Service with Pigtail
  • Core/Insulation Crimp: N/A
  • Release Tool/Test Probe: 15315247/J-35616-2A (GY)

Inflatable Restraint Front End Sensor - Left

Pin

Wire

Circuit

Function

A

0.5 YE/BK

6169

Middle Front Impact Sensing Module Signal

B

0.5 YE

6168

Middle Front Impact Sensing Module Supply Voltage

Inflatable Restraint Front End Sensor - Right


Object Number: 744046  Size: CH

Connector Part Information

  • OEM: 15356723
  • Service: 15356723
  • Description: 2-Way F GT 150 Series Sealed 4.0 (YE)

Terminal Part Information

  • Terminal/Tray: Service with Pigtail
  • Core/Insulation Crimp: N/A
  • Release Tool/Test Probe: 15315247/J-35616-2A (GY)

Inflatable Restraint Front End Sensor - Right

Pin

Wire

Circuit

Function

A

0.5 L-GN

6777

Middle Front Impact Sensing Module (2) Signal

B

0.5 YE/GY

6776

Middle Front Impact Sensing Module (2) Supply Voltage

Inflatable Restraint I/P Module


Object Number: 1879122  Size: CH

Connector Part Information

  • OEM: 15422521
  • Service: See Catalog
  • Description: 4-Way F 2.8 Apex, Sealed (YE)

Terminal Part Information

  • Terminal/Tray: See Terminal Repair Kit
  • Core/Insulation Crimp: See Terminal Repair Kit
  • Release Tool/Test Probe: See Terminal Repair Kit

Inflatable Restraint I/P Module

Pin

Wire

Circuit

Function

1

0.5 PU

3026

I/P Module - Stage 2 - Low Control

2

0.5 GY

3027

I/P Module - Stage 2 - High Control

3

0.5 OG

3024

I/P Module - Stage 1 - Low Control

4

0.5 YE

3025

I/P Module - Stage 1 - High Control

Inflatable Restraint Passenger Presence System (PPS) Module


Object Number: 831380  Size: CH

Connector Part Information

  • OEM: 15332141
  • Service: 15332141
  • Description: 6-Way F GT 150 Series (BK)

Terminal Part Information

  • Terminal/Tray: Service with Pigtail
  • Core/Insulation Crimp: N/A
  • Release Tool/Test Probe: 15315247/J-35616-2A (GY)

Inflatable Restraint Passenger Presence System (PPS) Module

Pin

Wire

Circuit

Function

A

0.5 RD/WH

740

Battery Positive Voltage

B

0.5 D-GN

5060

Low Speed GMLAN Serial Data

C

--

--

Not Used

D

0.5 BK/WH

851

Ground

0.5 BK/WH

851

Ground

E

0.5 PU

5611

BTS Sensor Signal

F

0.5 L-BU

5612

5-Volt Reference

Inflatable Restraint Roof Rail Module - Left


Object Number: 646194  Size: CH

Connector Part Information

  • OEM: 12186799
  • Service: 12186799
  • Description: 2-Way M 280 Series (YE)

Terminal Part Information

  • Terminal/Tray: Service with Pigtail
  • Core/Insulation Crimp: N/A
  • Release Tool/Test Probe: 12094429/J-35616-5 (PU)

Inflatable Restraint Roof Rail Module - Left

Pin

Wire

Circuit

Function

A

0.5 PK

5020

Roof Rail Module - Left - Low Control

B

0.5 PU/WH

5019

Roof Rail Module - Left - High Control

Inflatable Restraint Roof Rail Module - Right


Object Number: 646194  Size: CH

Connector Part Information

  • OEM: 12186799
  • Service: 12186799
  • Description: 2-Way M 280 Series (YE)

Terminal Part Information

  • Terminal/Tray: Service with Pigtail
  • Core/Insulation Crimp: N/A
  • Release Tool/Test Probe: 12094429/J-35616-5 (PU)

Inflatable Restraint Roof Rail Module - Right

Pin

Wire

Circuit

Function

A

0.5 WH/BK

5022

Roof Rail Module - Right - Low Control

B

0.5 YE/BK

5021

Roof Rail Module - Right - High Control

Inflatable Restraint Sensing and Diagnostic Module (SDM) (with APL/ATY)


Object Number: 1468532  Size: CH

Connector Part Information

  • OEM: 13660253
  • Service: See Catalog
  • Description: 60-Way F 0.64 GET, Sealed Base 60 (YE)
  • Lock Color (BK)

Terminal Part Information

  • Pins: 1-2, 4-15, 20, 21-28, 31-32, 36-43, 58-60
  • Terminal/Tray: Service with Terminated Lead
  • Core/Insulation Crimp: N/A
  • Release Tool/Test Probe: 15315247/J-35616-64B (L-BU)

Inflatable Restraint Sensing and Diagnostic Module (SDM) (with APL/ATY)

Pin

Wire

Circuit

Function

1

0.5 BK/WH

851

Ground

2

0.5 D-GN

5060

Low Speed GMLAN Serial Data

3

--

--

Not Used

4

0.5 PK

3022

Steering Wheel Module - Stage 2 - Low Control

5

0.5 WH

3023

Steering Wheel Module - Stage 2 - High Control

6

0.5 GY

3027

I/P Module - Stage 2 - High Control

7

0.5 PU

3026

I/P Module - Stage 2 - Low Control

8

0.5 BN

3020

Steering Wheel Module - Stage 1 - Low Control

9

0.5 TN

3021

Steering Wheel Module - Stage 1 - High Control

10

0.5 YE

3025

I/P Module - Stage 1 - High Control

11

0.5 OG

3024

I/P Module - Stage 1 - Low Control

12

0.5 YE/BK

2138

Side Impact Module - Left Front- Low Control

13

0.5 BN

2137

Side Impact Module - Left Front - High Control

14-15

--

--

Not Used

16

0.5 OG/BK

2119

Seat Belt Pretensioner - Left - Low Control (HP5)

17

0.5 TN

2118

Seat Belt Pretensioner - Left - High Control (HP5)

18-19

--

--

Not Used

20

0.5 PK

5020

Roof Rail Module - Left - Low Control

21

0.5 PU/WH

5019

Roof Rail Module - Left - High Control

22

0.5 YE/BK

5021

Roof Rail Module - Right - High Control

23

0.5 WH/BK

5022

Roof Rail Module - Right - Low Control

24

0.5 PU

7380

Driver Retractor Pretensioner Low Signal (HP5)

25

0.5 PU/OG

7379

Driver Retractor Pretensioner High Signal (HP5)

26-27

--

--

Not Used

28

0.35 PK

5057

Seat Position Sensor - Low Reference

29-30

--

--

Not Used

31

0.35 RD/WH

740

Battery Positive Voltage

32

0.35 PK

439

Ignition 1 Voltage

33-35

--

--

Not Used

36

0.5 YE

6168

Middle Front Impact Sensing Module Supply Voltage

37

0.5 YE/GN

6776

Middle Front Impact Sensing Module (2) Supply Voltage

38

0.5 YE/BK

6169

Middle Front Impact Sensing Module Signal

39

0.5 L-GN

6777

Middle Front Impact Sensing Module (2) Signal

40

0.35 GY/BK

6621

Left Middle Side Impact Sensing Module Low Reference

41

0.35 L-GN/WH

6625

Right Middle Side Impact Sensing Module Low Reference

42

0.35 D-GN/WH

6620

Left Middle Side Impact Sensing Module Signal

43

0.35 L-BU/BK

6624

Right Middle Side Impact Sensing Module Signal

44-57

--

--

Not Used

58

0.5 YE/BK

5229

Roll Over Sensor High Signal

59

0.35 TN/WH

238

Seat Belt Switch - Left - Signal

60

--

--

Not Used

Inflatable Restraint Sensing and Diagnostic Module (SDM) (without APL/ATY)


Object Number: 1468532  Size: CH

Connector Part Information

  • OEM: 13609690 (HP7)
  • OEM: 13596215 (-HP7)
  • Service: See Catalog
  • Description: 60-Way F 0.64 GET, Sealed Base 60 (YE)
  • Lock Color (BK)

Terminal Part Information

  • Pins: 1-2, 4-15, 20, 21-28, 31-32, 36-43, 58-60
  • Terminal/Tray: Service with Terminated Lead
  • Core/Insulation Crimp: N/A
  • Release Tool/Test Probe: 15315247/J-35616-64B (L-BU)

Inflatable Restraint Sensing and Diagnostic Module (SDM) (without APL/ATY)

Pin

Wire

Circuit

Function

1

0.5 BK/WH

851

Ground

2

0.5 D-GN

5060

Low Speed GMLAN Serial Data

3

--

--

Not Used

4

0.5 PK

3022

Steering Wheel Module - Stage 2 - Low Control

5

0.5 WH

3023

Steering Wheel Module - Stage 2 - High Control

6

0.5 GY

3027

I/P Module - Stage 2 - High Control

7

0.5 PU

3026

I/P Module - Stage 2 - Low Control

8

0.5 BN

3020

Steering Wheel Module - Stage 1 - Low Control

9

0.5 TN

3021

Steering Wheel Module - Stage 1 - High Control

10

0.5 YE

3025

I/P Module - Stage 1 - High Control

11

0.5 OG

3024

I/P Module - Stage 1 - Low Control

12

0.5 YE/BK

2138

Side Impact Module - Left Front- Low Control

13

0.5 BN

2137

Side Impact Module - Left Front - High Control

14

0.5 TN/WH

2135

Side Impact Module - Right Front - High Control

15

0.5 L-GN

2136

Side Impact Module - Right Front - Low Control

16

0.5 OG/BK

2119

Seat Belt Pretensioner - Left - Low Control (-HP7)

16

0.5 PU

7380

Driver Retractor Pretensioner Low Signal (HP7)

17

0.5 TN/WH

2118

Seat Belt Pretensioner - Left - High Control (-HP7)

17

0.5 PU/OG

7379

Driver Retractor Pretensioner High Signal (HP7)

18

0.5 L-GN

2116

Seat Belt Pretensioner - Right - High Control (-HP7)

18

0.5 OG/GN

7377

Passenger Retractor Pretensioner High Signal (HP7)

19

0.5 OG

2117

Seat Belt Pretensioner - Right - Low Control (-HP7)

19

0.5 D-GN

7378

Passenger Retractor Pretensioner Low Signal (HP7)

20

0.5 PK

5020

Roof Rail Module - Left - Low Control

21

0.5 PU/WH

5019

Roof Rail Module - Left - High Control

22

0.5 YE/BK

5021

Roof Rail Module - Right - High Control

23

0.5 WH/BK

5022

Roof Rail Module - Right - Low Control

24

0.5 OG/BK

2119

Seat Belt Pretensioner - Left - Low Control (HP7)

24

0.5 PU

7380

Driver Retractor Pretensioner Low Signal (-HP7)

25

0.5 TN/WH

2118

Seat Belt Pretensioner - Left - High Control (HP7)

25

0.5 PU/OG

7379

Driver Retractor Pretensioner High Signal (-HP7)

26

0.5 L-GN

2116

Seat Belt Pretensioner - Right - High Control (HP7)

26

0.5 OG/GN

7377

Passenger Retractor Pretensioner High Signal (-HP7)

27

0.5 OG

2117

Seat Belt Pretensioner - Right - Low Control (HP7)

27

0.5 D-GN

7378

Passenger Retractor Pretensioner Low Signal (-HP7)

28

0.35 PK

5057

Seat Position Sensor - Low Reference

29-30

--

--

Not Used

31

0.35 RD/WH

740

Battery Positive Voltage

32

0.35 PK

439

Ignition 1 Voltage

33-35

--

--

Not Used

36

0.5 YE

6168

Middle Front Impact Sensing Module Supply Voltage

37

0.5 YE/GN

6776

Middle Front Impact Sensing Module (2) Supply Voltage

38

0.5 YE/BK

6169

Middle Front Impact Sensing Module Signal

39

0.5 L-GN

6777

Middle Front Impact Sensing Module (2) Signal

40

0.35 GY/BK

6621

Left Middle Side Impact Sensing Module Low Reference

41

0.35 L-GN/WH

6625

Right Middle Side Impact Sensing Module Low Reference

42

0.35 D-GN/WH

6620

Left Middle Side Impact Sensing Module Signal

43

0.35 L-BU/BK

6624

Right Middle Side Impact Sensing Module Signal

44-57

--

--

Not Used

58

0.5 YE/BK

5229

Roll Over Sensor High Signal

59

0.35 TN/WH

238

Seat Belt Switch - Left - Signal

60

0.35 OG

1362

Seat Belt Switch - Right - Signal (-APL)

Inflatable Restraint Side Impact Module - Left


Object Number: 646194  Size: CH

Connector Part Information

  • OEM: 12186799
  • Service: 12186799
  • Description: 2-Way M 280 Series (YE)

Terminal Part Information

  • Terminal/Tray: Service with Pigtail
  • Core/Insulation Crimp: N/A
  • Release Tool/Test Probe: 12094429/J-35616-5 (PU)

Inflatable Restraint Side Impact Module - Left

Pin

Wire

Circuit

Function

A

0.5 YE/BK

2138

Side Impact Module - Left Front - Low Control

B

0.5 BN

2137

Side Impact Module - Left Front - High Control

Inflatable Restraint Side Impact Module - Right


Object Number: 646194  Size: CH

Connector Part Information

  • OEM: 12186799
  • Service: 12186799
  • Description: 2-Way M 280 Series (YE)

Terminal Part Information

  • Terminal/Tray: Service with Pigtail
  • Core/Insulation Crimp: N/A
  • Release Tool/Test Probe: 12094429/J-35616-5 (PU)

Inflatable Restraint Side Impact Module - Right

Pin

Wire

Circuit

Function

A

0.5 L-GN

2136

Side Impact Module - Right Front - Low Control

B

0.5 TN/WH

2135

Side Impact Module - Right Front - High Control

Inflatable Restraint Side Impact Sensor (SIS) - Left


Object Number: 744046  Size: CH

Connector Part Information

  • OEM: 15356723
  • Service: 15356723
  • Description: 2-Way F GT 150 Series Sealed 4.0 (YE)

Terminal Part Information

  • Terminal/Tray: Service with Pigtail
  • Core/Insulation Crimp: N/A
  • Release Tool/Test Probe: 15315247/J-35616-2A (GY)

Inflatable Restraint Side Impact Sensor (SIS) - Left

Pin

Wire

Circuit

Function

A

0.35 GY/BK

6621

Left Middle Side Impact Sensing Module Low Reference

B

0.35 D-GN/WH

6620

Left Middle Side Impact Sensing Module Signal

Inflatable Restraint Side Impact Sensor (SIS) - Right


Object Number: 744046  Size: CH

Connector Part Information

  • OEM: 15356723
  • Service: 15356723
  • Description: 2-Way F GT 150 Series Sealed 4.0 (YE)

Terminal Part Information

  • Terminal/Tray: Service with Pigtail
  • Core/Insulation Crimp: N/A
  • Release Tool/Test Probe: 15315247/J-35616-2A (GY)

Inflatable Restraint Side Impact Sensor (SIS) - Right

Pin

Wire

Circuit

Function

A

0.35 L-GN/WH

6625

Right Middle Side Impact Sensing Module Low Reference

B

0.35 L-BU/BK

6624

Right Middle Side Impact Sensing Module Signal

Inflatable Restraint Steering Wheel Module X1


Object Number: 966360  Size: CH

Connector Part Information

  • OEM: 54560236
  • Service: See Catalog
  • Description: 2-Way F ABX-3 Code B (L-GY)

Terminal Part Information

  • Terminal/Tray: Service with Pigtail
  • Core/Insulation Crimp: N/A
  • Release Tool/Test Probe: See Terminal Repair Kit

Inflatable Restraint Steering Wheel Module X1

Pin

Wire

Circuit

Function

A

0.5 TN

3021

Steering Wheel Module - Stage 1 - High Control

B

0.5 BN

3020

Steering Wheel Module - Stage 1 - Low Control

Inflatable Restraint Steering Wheel Module X2


Object Number: 966368  Size: CH

Connector Part Information

  • OEM: 54560222
  • Service: See Catalog
  • Description: 2-Way F ABX-3 Code G (PK)

Terminal Part Information

  • Terminal/Tray: Service with Pigtail
  • Core/Insulation Crimp: N/A
  • Release Tool/Test Probe: See Terminal Repair Kit

Inflatable Restraint Steering Wheel Module X2

Pin

Wire

Circuit

Function

A

0.5 WH

3023

Steering Wheel Module - Stage 2 - High Control

B

0.5 PK

3022

Steering Wheel Module - Stage 2 - Low Control

Inflatable Restraint Steering Wheel Module Coil X1


Object Number: 1593397  Size: CH

Connector Part Information

  • OEM: 15393433
  • Service: 22710638
  • Description: 10-Way F Micro-Pack 64 Series (BK)

Terminal Part Information

  • Terminal/Tray: Service with Terminated Lead
  • Core/Insulation Crimp: N/A
  • Release Tool/Test Probe: 12180559-1/J-35616-64B (L-BU)

Inflatable Restraint Steering Wheel Module Coil X1

Pin

Wire

Circuit

Function

A

--

--

Not Used

B

0.35 L-GN

1011

Remote Radio Control Signal

C

0.35 BK

350

Ground

D

0.35 GY

1884

Cruise Controls Switch Signal

E

0.35 PK

1444

12-Volt Reference

F

0.35 YE/BK

9088

I/P Lamp Supply Voltage

G

0.35 D-GN/WH

7158

Cruise Control Switch Signal

H

--

--

Not Used

J

0.35 BK

350

Ground

K

0.35 TN

28

Horn Relay Control

Inflatable Restraint Steering Wheel Module Coil X2


Object Number: 1593397  Size: CH

Connector Part Information

  • OEM: 15393433
  • Service: 22710638
  • Description: 10-Way F Micro-Pack 64 Series (BK)

Terminal Part Information

  • Terminal/Tray: Service with Terminated Lead
  • Core/Insulation Crimp: N/A
  • Release Tool/Test Probe: 12180559-1/J-35616-64B (L-BU)

Inflatable Restraint Steering Wheel Module Coil X2

Pin

Wire

Circuit

Function

A

--

--

Not Used

B

0.35 BN

1011

Remote Radio Control Signal

C

0.35 PK/BK

350

Ground

D

0.35 GY

1884

Cruise Control Switch Signal

E

0.35 D-BU

1444

12-Volt Reference

F

0.35 PU/BK

7005

I/P Lamp Supply Voltage

G

0.35 D-GN

7158

Cruise Control Switch Signal

H

--

--

Not Used

J

0.35 BK

350

Ground

K

0.35 RD

28

Horn Relay Control

Inflatable Restraint Steering Wheel Module Coil X3


Object Number: 1399226  Size: CH

Connector Part Information

  • OEM: 15393421
  • Service: 88987853
  • Description: 4-Way F Micro-Pack 64 Series (YE)

Terminal Part Information

  • Terminal/Tray: Service with Pigtail
  • Core/Insulation Crimp: N/A
  • Release Tool/Test Probe: 12180559-1/J-35616-64B (L-BU)

Inflatable Restraint Steering Wheel Module Coil X3

Pin

Wire

Circuit

Function

1

0.5 TN

3021

Steering Wheel Module - Stage 1 - High Control

2

0.5 BN

3020

Steering Wheel Module - Stage 1 - Low Control

3

0.5 WH

3023

Steering Wheel Module - Stage 2 - High Control

4

0.5 PK

3022

Steering Wheel Module - Stage 2 - Low Control

Inflatable Restraint Vehicle Rollover Sensor


Object Number: 1845399  Size: CH

Connector Part Information

  • OEM: 13551672
  • Service: 19149297
  • Description: 6-Way F 0.64 Series, Sealed (YE)

Terminal Part Information

  • Terminal/Tray: Service with Pigtail
  • Core/Insulation Crimp: N/A
  • Release Tool/Test Probe: 15315247/J-35616-64B (L-BU)

Inflatable Restraint Vehicle Rollover Sensor

Pin

Wire

Circuit

Function

1

0.5 RD/WH

740

Battery Positive Voltage

2

--

--

Not Used

3

0.5 D-GN

5060

Low Speed GMLAN Serial Data

4

--

--

Not Used

5

0.5 YE/BK

5229

Roll Over Sensor High Signal

6

0.5 BK/WH

851

Ground

Inside Rearview Mirror (ISRVM) - Early Production


Object Number: 1856787  Size: CH

Connector Part Information

  • OEM: 15327252
  • Service: See Catalog
  • Description: 10-Way F 0.64 MQS (BK)

Terminal Part Information

  • Terminal/Tray: 928999-5/15
  • Core/Insulation Crimp: H/H
  • Release Tool/Test Probe: 12094429/J-35616-64B (L-BU)

Inside Rearview Mirror (ISRVM) - Early Production

Pin

Wire

Circuit

Function

1

0.35 BK

650

Ground

2-7

--

--

Not Used

8

0.35 PK

239

Ignition 1 Voltage

9

--

--

Not Used

10

0.35 L-GN

24

Backup Lamp Supply Voltage

Inside Rearview Mirror (ISRVM) - Late Production


Object Number: 1711009  Size: CH

Connector Part Information

  • OEM: 15441350
  • Service: See Catalog
  • Description: 16-Way F Micro Pack 100A (BK)

Terminal Part Information

  • Terminal/Tray: 928999-5/15
  • Core/Insulation Crimp: H/H
  • Release Tool/Test Probe: 12094429/J-35616-64B (L-BU)

Inside Rearview Mirror (ISRVM) (Late Production)

Pin

Wire

Circuit

Function

1-7

--

--

Not Used

8

0.35 BK

650

Ground

9

0.35 L-GN

24

Backup Lamp Supply Voltage

10-12

--

--

Not Used

13

0.35 PK

239

Ignition 1 Voltage

14-16

--

--

Not Used

Instrument Panel Cluster (IPC)


Object Number: 850856  Size: CH

Connector Part Information

  • OEM: 15394150
  • Service: 15394150
  • Description: 16-Way F Micro-Pack 064 Series (BK)

Terminal Part Information

  • Terminal/Tray: 15359541/4
  • Core/Insulation Crimp: M/M
  • Release Tool/Test Probe: 15381651-2/J-35616-64B (L-BU)

Instrument Panel Cluster (IPC)

Pin

Wire

Circuit

Function

1

0.35 PK

139

Ignition 1 Voltage

2

0.5 RD/WH

1940

Battery Positive Voltage

3

--

--

Not Used

4

0.35 PU

5234

Passenger Seat Belt Indicator

5-7

--

--

Not Used

8

0.35 TN/WH

99

Windshield Washer Fluid Level Signal

9

0.35 D-BU

2307

Passenger Air Bag On Indicator Control

10

0.35 D-GN

2308

Passenger Air Bag Off Indicator Control

11

--

--

Not Used

12

0.35 BN/WH

419

MIL Control

13

0.5 BK

350

Ground

14

0.5 D-GN

5060

Low Speed GMLAN Serial Data

15

--

--

Not Used

16

0.35 PU

333

Brake Fluid Level Sensor Signal

I/P Compartment Lamp


Object Number: 1892155  Size: CH

Connector Part Information

  • OEM: 13593820
  • Service: See Catalog
  • Description: 2-Way F 250 (GY)

Terminal Part Information

  • Terminal/Tray: See Terminal Repair Kit
  • Core/Insulation Crimp: See Terminal Repair Kit
  • Release Tool/Test Probe: See Terminal Repair Kit

I/P Compartment Lamp

Pin

Wire

Circuit

Function

1

0.35 OG

1732

Courtesy Lamps Supply Voltage

2

0.35 PU

175

Glove Box Lamp Control

I/P Compartment Lamp Switch


Object Number: 1282874  Size: CH

Connector Part Information

  • OEM: 12186713
  • Service: See Catalog
  • Description: 2-Way F CONN (BK)

Terminal Part Information

  • Terminal/Tray: See Terminal Repair Kit
  • Core/Insulation Crimp: See Terminal Repair Kit
  • Release Tool/Test Probe: See Terminal Repair Kit

I/P Compartment Lamp Switch

Pin

Wire

Circuit

Function

1

0.5 BK

350

Ground

2

0.35 PU

175

Glove Box Lamp Control

Knock Sensor (KS) (LAT/LE5)


Object Number: 684799  Size: CH

Connector Part Information

  • OEM: 12077900
  • Service: 12116247
  • Description: 2-Way F Metri-Pack 280 Series, Sealed (BK)

Terminal Part Information

  • Terminal/Tray: 12077411/2
  • Core/Insulation Crimp: 2/5
  • Release Tool/Test Probe: 12094430/J-35616-4A (PU)

Knock Sensor (KS) (LAT/LE5)

Pin

Wire

Circuit

Function

A

0.5 D-BU

496

Knock Sensor 1 Signal

B

0.5 GY

1716

Low Reference

Knock Sensor 1 (LY7)


Object Number: 784092  Size: CH

Connector Part Information

  • OEM: 15339756
  • Service: 88988963
  • Description: 2-Way F 2.8, Sealed (BK)

Terminal Part Information

  • Terminal/Tray: 1928498054/8
  • Core/Insulation Crimp: E/1
  • Release Tool/Test Probe: J-38125-561/J-35616-35 (VT)

Knock Sensor 1 (LY7)

Pin

Wire

Circuit

Function

1

0.5 D-BU

496

Knock Sensor 1 Signal

2

0.5 GY

1716

Low Reference

Knock Sensor 2 (LY7)


Object Number: 784092  Size: CH

Connector Part Information

  • OEM: 15339756
  • Service: 88988963
  • Description: 2-Way F 2.8, Sealed (BK)

Terminal Part Information

  • Terminal/Tray: 1928498054/8
  • Core/Insulation Crimp: E/1
  • Release Tool/Test Probe: J-38125-561/J-35616-35 (VT)

Knock Sensor 2 (LY7)

Pin

Wire

Circuit

Function

1

0.5 L-BU

1876

Knock Sensor 2 Signal

2

0.5 GY

2303

Low Reference

Knock Sensor 1 (LZ4)


Object Number: 1232999  Size: CH

Connector Part Information

  • OEM: 15374222
  • Service: See Catalog
  • Description: 2-Way F 2.8, Sealed (BK)

Terminal Part Information

  • Terminal/Tray: See Terminal Repair Kit
  • Core/Insulation Crimp: See Terminal Repair Kit
  • Release Tool/Test Probe: See Terminal Repair Kit

Knock Sensor 1 (LZ4)

Pin

Wire

Circuit

Function

A

0.5 D-BU

496

Knock Sensor 1 Signal

B

0.5 GY

1716

Low Reference

Knock Sensor 2 (LZ4)


Object Number: 1232999  Size: CH

Connector Part Information

  • OEM: 15374222
  • Service: See Catalog
  • Description: 2-Way F 2.8, Sealed (BK)

Terminal Part Information

  • Terminal/Tray: See Terminal Repair Kit
  • Core/Insulation Crimp: See Terminal Repair Kit
  • Release Tool/Test Probe: See Terminal Repair Kit

Knock Sensor 2 (LZ4)

Pin

Wire

Circuit

Function

A

0.5 L-BU

1876

Knock Sensor 2 Signal

B

0.5 GY

2303

Low Reference

License Lamp - Left


Object Number: 1847568  Size: CH

Connector Part Information

  • OEM: 15450289
  • Service: See Catalog
  • Description: 2-Way F 090 II (WH)

Terminal Part Information

  • Pins: 1- 2
  • Terminal/Tray: 368083-1/26
  • Core/Insulation Crimp: Pins 1-2
  • Release Tool/Test Probe: 15315247/J-35616-18 (BK)

License Lamp - Left

Pin

Wire

Circuit

Function

1

0.5 WH

709

Park Lamp Supply Voltage

2

0.5 BK

650

Ground

License Lamp - Right


Object Number: 1847568  Size: CH

Connector Part Information

  • OEM: 15450289
  • Service: See Catalog
  • Description: 2-Way F 090 II (WH)

Terminal Part Information

  • Pins: 1-2
  • Terminal/Tray: 368083-1/26
  • Core/Insulation Crimp: Pins 1-2
  • Release Tool/Test Probe: 15315247/J-35616-18 (BK)

License Lamp - Right

Pin

Wire

Circuit

Function

1

0.5 WH

709

Park Lamp Supply Voltage

2

0.5 BK

650

Ground

Liftgate Latch Assembly


Object Number: 1626671  Size: CH

Connector Part Information

  • OEM: 15476199
  • Service: 88988358
  • Description: 6-Way F GT 280 Series, Sealed (GN)

Terminal Part Information

  • Terminal/Tray: 15304719/19
  • Core/Insulation Crimp: E/5
  • Release Tool/Test Probe: 15315247/J-35616-4A (PU)

Liftgate Latch Assembly

Pin

Wire

Circuit

Function

1

0.5 L-BU

6128

Rear Closure Unlatch Motor Unlatch Control

2

--

--

Not Used

3

0.5 BK

650

Ground

4

--

--

Not Used

5

0.5 BK

650

Ground

6

0.35 PK/BK

1303

Liftgate Ajar Switch Signal

Liftgate Release Switch


Object Number: 35441  Size: CH

Connector Part Information

  • OEM: 12047663
  • Service: 12085481
  • Description: 2-Way M Metri-Pack 150 Series (BK)

Terminal Part Information

  • Terminal/Tray: 12047581/2
  • Core/Insulation Crimp: E/C
  • Release Tool/Test Probe: 12094429/J-35616-3 (GY)

Liftgate Release Switch

Pin

Wire

Circuit

Function

A

0.35 BK

650

Ground

B

0.35 D-GN

6127

Liftgate Unlatch Switch Signal

Manifold Absolute Pressure (MAP) Sensor


Object Number: 1331443  Size: CH

Connector Part Information

  • OEM: 15365614
  • Service: 88988583
  • Description: 3-Way F Compact 2.8 Series, Sealed (BK)

Terminal Part Information

  • Terminal/Tray: 1928498056/8
  • Core/Insulation Crimp: E/1
  • Release Tool/Test Probe: J-38125-561/J-35616-35 (VT)

Manifold Absolute Pressure (MAP) Sensor

Pin

Wire

Circuit

Function

1

0.5 GY

2704

5-Volt Reference

2

0.5 OG/BK

469

Low Reference

3

0.5 L-GN

432

MAP Sensor Signal

Marker Lamp - Left Front


Object Number: 1527729  Size: CH

Connector Part Information

  • OEM: 15419715
  • Service: 88988313
  • Description: 2-Way F GT 150 Series Sealed (GY)

Terminal Part Information

  • Terminal/Tray: 12191819/8
  • Core/Insulation Crimp: E/A
  • Release Tool/Test Probe: 15315247/J-35616-2A (GY)

Marker Lamp - Left Front

Pin

Wire

Circuit

Function

A

0.5 PU

709

Left Park Lamp Supply Voltage

B

0.5 BK

150

Ground

Marker Lamp - Left Rear


Object Number: 1527729  Size: CH

Connector Part Information

  • OEM: 15419715
  • Service: 88988313
  • Description: 2-Way F GT 150 Series Sealed (GY)

Terminal Part Information

  • Terminal/Tray: 12191819/8
  • Core/Insulation Crimp: E/A
  • Release Tool/Test Probe: 15315247/J-35616-2A (GY)

Marker Lamp - Left Rear

Pin

Wire

Circuit

Function

A

0.5 PU

709

Left Park Lamp Supply Voltage

B

0.5 BK

550

Ground

Marker Lamp - Right Front


Object Number: 1527729  Size: CH

Connector Part Information

  • OEM: 15419715
  • Service: 88988313
  • Description: 2-Way F GT 150 Series Sealed (GY)

Terminal Part Information

  • Terminal/Tray: 12191819/8
  • Core/Insulation Crimp: E/A
  • Release Tool/Test Probe: 15315247/J-35616-2A (GY)

Marker Lamp - Right Front

Pin

Wire

Circuit

Function

A

0.5 BN/WH

309

Right Park Lamp Supply Voltage

B

0.5 BK

150

Ground

Marker Lamp - Right Rear


Object Number: 1527729  Size: CH

Connector Part Information

  • OEM: 15419715
  • Service: 88988313
  • Description: 2-Way F GT 150 Series Sealed (GY)

Terminal Part Information

  • Terminal/Tray: 12191819/8
  • Core/Insulation Crimp: E/A
  • Release Tool/Test Probe: 15315247/J-35616-2A (GY)

Marker Lamp - Right Rear

Pin

Wire

Circuit

Function

A

0.5 BN/WH

309

Right Park Lamp Supply Voltage

B

0.5 BK

550

Ground

Mass Air Flow (MAF)/Intake Air Temperature (IAT) Sensor (LAT/LE5)


Object Number: 647974  Size: CH

Connector Part Information

  • OEM: 15326822
  • Service: 19151498
  • Description: 5-Way F GT 150 Series Sealed 4.0 (BK)

Terminal Part Information

  • Terminal/Tray: 12191819/8
  • Core/Insulation Crimp: E/A
  • Release Tool/Test Probe: 15315247/J-35616-2A (GY)

Mass Air Flow (MAF)/Intake Air Temperature (IAT) Sensor (LAT/LE5)

Pin

Wire

Circuit

Function

A

0.5 YE

492

MAF Sensor Signal

B

0.5 BK/WH

251

Ground

C

0.5 PK/BK

5293

Powertrain Main Relay Fused Supply (3)

D

0.5 TN

2760

Low Reference

E

0.5 L-BU

6289

Induction Air Temperature Sensor Signal

Mass Air Flow (MAF)/Intake Air Temperature (IAT) Sensor (LY7/LZ4)


Object Number: 684983  Size: CH

Connector Part Information

  • OEM: 13520906
  • Service: 19151493
  • Description: 5-Way F GT 150 Series, Sealed 4.0 (BK)

Terminal Part Information

  • Terminal/Tray: 12191819/8
  • Core/Insulation Crimp: E/A
  • Release Tool/Test Probe: 15315247/J-35616-2A (GY)

Mass Air Flow (MAF)/Intake Air Temperature (IAT) Sensor (LY7/LZ4)

Pin

Wire

Circuit

Function

A

0.5 YE

492

MAF Sensor Signal

B

0.5 PK/BK

5293

Powertrain Main Relay Fused Supply (3)

C

0.5 BK/WH

251

Ground

D

0.5 L-BU

6289

Induction Air Temperature Sensor Signal

E

0.5 TN

2760

Low Reference

Mode Actuator


Object Number: 258172  Size: CH

Connector Part Information

  • OEM: 12064982
  • Service: 12064982
  • Description: 5-Way F Micro-Pack 150 Series (BK)

Terminal Part Information

  • Terminal/Tray: 12146447/3
  • Core/Insulation Crimp: E/C
  • Release Tool/Test Probe: 12031876-1/J35616-6 (BN)

Mode Actuator

Pin

Wire

Circuit

Function

1

0.35 YE

1791

Low Reference

2

0.35 L-GN

2275

Mode Door Position Signal

3

0.35 GY

598

5-Volt Reference

4

0.5 D-GN

119

Ignition 3 Voltage

5

0.5 BN

2273

Mode Door Control

Onstar Button Assembly (UE1)


Object Number: 62439  Size: CH

Connector Part Information

  • OEM: 12047886
  • Service: 12101822
  • Description: 8-Way F Metri-Pack 150 Series (BK)

Terminal Part Information

  • Terminal/Tray: 12064971/5
  • Core/Insulation Crimp: E/C
  • Release Tool/Test Probe: 12094429/J-35616-14 (GN)

Onstar Button Assembly (UE1)

Pin

Wire

Circuit

Function

A

0.35 L-GN/BK

2515

5-Volt Reference

B

0.35 D-GN/WH

2514

Keypad Signal

C-D

--

--

Not Used

E

0.35 BK

650

Ground

F

0.35 YE/BK

2516

Keypad Green LED Signal

G

0.35 BN/WH

2517

Keypad Red LED Signal

H

--

--

Not Used

Outside Rearview Mirror - Driver (DG7)


Object Number: 1471691  Size: CH

Connector Part Information

  • OEM: 10722617
  • Service: 15775804
  • Description: 12-Way F 040 Multi-Lock (BK)

Terminal Part Information

  • Pins: 4-6, 10-11
  • Terminal/Tray: 173681-2/17
  • Core/Insulation Crimp: E/4
  • Release Tool/Test Probe: 15315247/J-35616-16 (L-GN)

Outside Rearview Mirror - Driver (DG7)

Pin

Wire

Circuit

Function

1-3

--

--

Not Used

4

0.35 WH

81

Driver Mirror Motor Right Control

5

0.35 YE

1496

Mirror Motor Right/Up Control

6

0.35 L-GN

89

Driver Mirror Motor Down Control

7-9

--

--

Not Used

10

0.35 OG

267

Heated Mirror

11

0.35 BK

450

Ground

12

--

--

Not Used

Outside Rearview Mirror - Passenger (DG7)


Object Number: 1471691  Size: CH

Connector Part Information

  • OEM: 10722617
  • Service: 15775804
  • Description: 12-Way F 040 Multi-Lock (BK)

Terminal Part Information

  • Terminal/Tray: 173681-2/17
  • Core/Insulation Crimp: E/4
  • Release Tool/Test Probe: 15315247/J-35616-16 (L-GN)

Outside Rearview Mirror - Passenger (DG7)

Pin

Wire

Circuit

Function

1-3

--

--

Not Used

4

0.35 OG/WH

881

Passenger Mirror Motor Right Control

5

0.35 L-GN

1499

Driver Mirror Motor Left/Up Control

6

0.35 PU/WH

889

Passenger Mirror Motor Down Control

7-9

--

--

Not Used

10

0.35 BK

450

Ground

9

0.35 OG

267

Heated Mirror

12

--

--

Not Used

Outside Rearview Mirror Switch (DG7)


Object Number: 1835132  Size: CH

Connector Part Information

  • OEM: 13513470
  • Service: See Catalog
  • Description: 8-Way F Micro-Pack HVT Series (BK)

Terminal Part Information

  • Terminal/Tray: 15445905/23
  • Core/Insulation Crimp: J/J
  • Release Tool/Test Probe: 12180559/J-35616-16 (L-GN)

Outside Rearview Mirror Switch (DG7)

Pin

Wire

Circuit

Function

1

0.5 BK

450

Ground

2

0.35 YE

1491

Backlight Lamps Control

3

0.5 YE

343

Accessory Voltage

4

0.35 YE

1496

Mirror Motor Right/Up Control

5

0.35 WH

81

Driver Mirror Motor Right Control

6

0.35 PU/WH

889

Passenger Mirror Motor Down Control

7

0.35 L-GN

89

Driver Mirror Motor Down Control

8

0.35 OG/WH

881

Passenger Mirror Motor Right Control

Park Brake Switch


Object Number: 1385747  Size: CH

Connector Part Information

  • OEM: 15326871
  • Service: See Catalog
  • Description: 2-Way F GT 280 Series (BK)

Terminal Part Information

  • Terminal/Tray: 15304711/8
  • Core/Insulation Crimp: E/A
  • Release Tool/Test Probe: 15315247/J-35616-4A (PU)

Park Brake Switch

Pin

Wire

Circuit

Function

A

0.35 BK

450

Ground

B

0.35 L-BU

1134

Park Brake Switch Signal (Park Brake Systems Only)

Park/Neutral Position (PNP) Switch (ME7)


Object Number: 1256394  Size: CH

Connector Part Information

  • OEM: 15419116
  • Service: See Catalog
  • Description: 12-Way F GT 150 Series Sealed (N/A)

Terminal Part Information

  • Terminal/Tray: 12191819/8
  • Core/Insulation Crimp: E/A
  • Release Tool/Test Probe: 15315247/J-35616-2A (GY)

Park/Neutral Position (PNP) Switch (ME7)

Pin

Wire

Circuit

Function

1

0.35 BK/WH

251

Ground

2

0.35 WH

776

Transmission Range Switch Signal P

3-7

--

--

Not Used

8

0.35 YE

772

Transmission Range Switch Signal B

9

0.35 TN/WH

771

Transmission Range Switch Signal A

10

0.35 GY

773

Transmission Range Switch Signal C

11

0.35 BK/WH

251

Ground

12

0.5 OG/BK

1786

Ignition Lock Cylinder Control Actuator Signal

Park/Neutral Position (PNP) Switch (MN5)


Object Number: 1256394  Size: CH

Connector Part Information

  • OEM: 15416724
  • Service: See Catalog
  • Description: 12-Way F GT 150 Series Sealed (N/A)

Terminal Part Information

  • Terminal/Tray: 12191819/8
  • Core/Insulation Crimp: E/A
  • Release Tool/Test Probe: 15315247/J-35616-2A (GY)

Park/Neutral Position (PNP) Switch (MN5)

Pin

Wire

Circuit

Function

1

--

--

Not Used

2

0.35 WH

776

Transmission Range Switch Signal P

3-6

--

--

Not Used

7

0.5 OG/BK

1786

Ignition Lock Cylinder Control Actuator Signal

8

0.35 YE

772

Transmission Range Switch Signal B

9

0.35 TN/WH

771

Transmission Range Switch Signal A

10

0.35 GY

773

Transmission Range Switch Signal C

11

0.35 BK/WH

251

Ground

12

--

--

Not Used

Park/Turn Signal Lamp - Left Front


Object Number: 1860942  Size: CH

Connector Part Information

  • OEM: 13511131
  • Service: See Catalog
  • Description: 3-Way F GT 150 Series, Sealed (BK)

Terminal Part Information

  • Terminal/Tray: 12191819/8
  • Core/Insulation Crimp: E/A
  • Release Tool/Test Probe: 15315247/J-35616-2A (GY)

Park/Turn Signal Lamp - Left Front

Pin

Wire

Circuit

Function

1

0.5 BK/WH

150

Ground

2

0.5 BN/WH

709

Left Park Lamp Supply Voltage

3

0.5 D-BU/WH

1314

Left Front Turn Signal Lamp Supply Voltage

Park/Turn Signal Lamp - Right Front


Object Number: 1860942  Size: CH

Connector Part Information

  • OEM: 13511131
  • Service: See Catalog
  • Description: 3-Way F GT 150 Series, Sealed (BK)

Terminal Part Information

  • Terminal/Tray: 12191819/8
  • Core/Insulation Crimp: E/A
  • Release Tool/Test Probe: 15315247/J-35616-2A (GY)

Park/Turn Signal Lamp - Right Front

Pin

Wire

Circuit

Function

1

0.5 BK

151

Ground

2

0.5 PU

309

Right Park Lamp Supply Voltage

3

0.5 L-BU/WH

1315

Right Front Turn Signal Lamp Supply Voltage

Pressure Control (PC) Solenoid Valve


Object Number: 1910666  Size: CH

Connector Part Information

  • OEM: 15466861
  • Service: See Catalog
  • Description: 2-Way F Metri-Pack 150.2 Series (GY)

Terminal Part Information

  • Terminal/Tray: See Terminal Repair Kit
  • Core/Insulation Crimp: See Terminal Repair Kit
  • Release Tool/Test Probe: See Terminal Repair Kit

Pressure Control (PC) Solenoid Valve

Pin

Wire

Circuit

Function

A

0.5 PU

1228

PC Solenoid Valve High Control (Sol. A)

B

0.5 L-BU

1229

PC Solenoid Valve Low Control (Sol. A)

Radio Antenna


Object Number: 1850607  Size: CH

Connector Part Information

  • OEM: GT13GM-1/1S-HU
  • Service: See Catalog
  • Description: 3-Way M GT13 Coaxial Series (WH)

Terminal Part Information

  • Terminal/Tray: See Terminal Repair Kit
  • Core/Insulation Crimp: See Terminal Repair Kit
  • Release Tool/Test Probe: See Terminal Repair Kit

Radio Antenna

Pin

Wire

Circuit

Function

1

0.35 RD

7066

Entertainment Remote Enable Signal

C

--

--

Coax

S

--

--

Not Used

Radio X1


Object Number: 1673491  Size: CH

Connector Part Information

  • OEM: 15488568
  • Service: 88988743
  • Description: 14-Way F GT 150 Micro 64 Series (BK)

Terminal Part Information

  • Pins: 1, 8
  • Terminal/Tray: 12191812/19
  • Core/Insulation Crimp: C/A
  • Release Tool/Test Probe: 15315247/J-35616-2A (GY)
  • Pins: 2-7, 9-11, 13
  • Terminal/Tray: 15359541/4
  • Core/Insulation Crimp: M/M
  • Release Tool/Test Probe: 15381651-2/J-35616-64B (L-BU)

Radio X1

Pin

Wire

Circuit

Function

1

1 RD/WH

1940

Battery Positive Voltage

2

0.8 TN

201

Left Front Speaker Output (+)

3

0.8 L-GN

200

Right Front Speaker Output (+)

4-5

--

--

Not Used

6

0.35 WH

7066

Entertainment Remote Enable Signal

7

0.35 YE

1491

Backlight Lamps Control

8

1 BK/WH

451

Ground

9

0.8 GY

118

Left Front Speaker Output (-)

10

0.8 D-GN

117

Right Front Speaker Output (-)

11-12

--

--

Not Used

13

0.5 D-GN

5060

Low Speed GMLAN Serial Data

14

--

--

Not Used

Radio X2


Object Number: 1962086  Size: CH

Connector Part Information

  • OEM: 15486792
  • Service: See Catalog
  • Description: 16-Way F Micro-Pack HVT Series (BK)

Terminal Part Information

  • Pins: 1-3, 5-10, 13-15
  • Terminal/Tray: 15445905/23
  • Core/Insulation Crimp: Pins 1-3, 5-10, 13-15 - J/J
  • Core/Insulation Crimp: Pins 5-6, 13-14 - K/K
  • Release Tool/Test Probe: 12180559/J-35616-16 (L-GN)

Radio X2

Pin

Wire

Circuit

Function

1

0.35 BN/WH

367

Left Audio Signal (+)

2

0.35 D-GN/WH

368

Right Audio Signal (+)

3-4

--

--

Not Used

5

0.8 BN

199

Left Rear Speaker Output (+)

6

0.8 D-BU

46

Right Rear Speaker Output (+)

7

0.35 D-BU

658

Cellular Telephone Voice Signal (UE1)

8

--

--

Not Used

9

0.35 TN/WH

372

Remote Radio Audio Output (-) (U2K)

10

0.35 GY

388

Remote Radio Right Audio Signal (U2K)

11-12

--

--

Not Used

13

0.8 YE

116

Left Rear Speaker Output (-)

14

0.8 L-BU

115

Right Rear Speaker Output (-)

15

0.35 L-BU/BK

659

Cellular Telephone Voice Low Reference (UE1)

16

--

--

Not Used

Rear Compartment Courtesy Lamp - Left


Object Number: 1892155  Size: CH

Connector Part Information

  • OEM: 13593045
  • Service: See Catalog
  • Description: 2-Way F 250 (GY)

Terminal Part Information

  • Terminal/Tray: See Terminal Repair Kit
  • Core/Insulation Crimp: See Terminal Repair Kit
  • Release Tool/Test Probe: See Terminal Repair Kit

Rear Compartment Courtesy Lamp - Left

Pin

Wire

Circuit

Function

1

0.5 BK

650

Ground

2

0.5 GY/BK

690

Courtesy Lamp Supply Voltage

Rear Compartment Courtesy Lamp - Right


Object Number: 1892155  Size: CH

Connector Part Information

  • OEM: 13593045
  • Service: See Catalog
  • Description: 2-Way F 250 (GY)

Terminal Part Information

  • Terminal/Tray: See Terminal Repair Kit
  • Core/Insulation Crimp: See Terminal Repair Kit
  • Release Tool/Test Probe: See Terminal Repair Kit

Rear Compartment Courtesy Lamp - Right

Pin

Wire

Circuit

Function

1

0.5 BK

550

Ground

2

0.5 GY/BK

690

Courtesy Lamp Supply Voltage

Rear Differential Clutch Control Module X1 (AWD)


Object Number: 1845114  Size: CH

Connector Part Information

  • OEM: 13509360
  • Service: See Catalog
  • Description: 10-Way F Kaizen 0.64 Series, Sealed (BK)

Terminal Part Information

  • Pins: 3, 5-6, 8-9
  • Terminal/Tray: 7116-4618-02/14
  • Core/Insulation Crimp: P/P
  • Release Tool/Test Probe: J-38125-215A/J-35616-64B (L-BU)

Rear Differential Clutch Control Module X1 (AWD)

Pin

Wire

Circuit

Function

1-2

--

--

Not Used

3

0.5 BK

550

Ground

4

--

--

Not Used

5

0.5 L-BU

5986

Serial Data Communication Enable

6

0.5 RD/WH

2140

Battery Positive Voltage

7

--

--

Not Used

8

0.5 TN

2501

High Speed GMLAN Serial Data Bus-

9

0.5 TN/BK

2500

High Speed GMLAN Serial Data Bus+

10

--

--

Not Used

Rear Differential Clutch Control Module X2 (AWD)


Object Number: 1861930  Size: CH

Connector Part Information

  • OEM: PE130414
  • Service: See Catalog
  • Description: 5-Way F Kaizen 0.64 Series, Sealed (BK)

Terminal Part Information

  • Terminal/Tray: See Terminal Repair Kit
  • Core/Insulation Crimp: See Terminal Repair Kit
  • Release Tool/Test Probe: See Terminal Repair Kit

Rear Differential Clutch Control Module X2 (AWD)

Pin

Wire

Circuit

Function

1

--

--

Not Used

2

0.5 L-BU

5095

Coil Temperature Sensor Signal

3

0.5 TN

1569

Lock Solenoid Control

4

0.5 D-BU

5094

Low Reference

5

0.5 OG

1568

Diagnostic Enable

Rear Wheel Drive Module Clutch (AWD)


Object Number: 2002691  Size: CH

Connector Part Information

  • OEM: 10756588
  • Service: See Catalog
  • Description: 4-Way F 5.8 Timer 9.5 Series (WH)

Terminal Part Information

  • Terminal/Tray: See Terminal Repair Kit
  • Core/Insulation Crimp: See Terminal Repair Kit
  • Release Tool/Test Probe: See Terminal Repair Kit

Rear Wheel Drive Module Clutch (AWD)

Pin

Wire

Circuit

Function

1

0.5 TN

1569

Lock Solenoid Control

2

0.5 OG

1568

Diagnostic Enable

3

0.5 D-BU

5094

Low Reference

4

0.5 L-BU

5095

Coil Temperature Sensor Signal

Rear Window Defogger Grid X1


Object Number: 365953  Size: CH

Connector Part Information

  • OEM: 12092133
  • Service: 12167133
  • Description: 1-Way F Metri-Pack 630 Series Self Lock (BK)

Terminal Part Information

  • Terminal/Tray: 12034110/18
  • Core/Insulation Crimp: B/G
  • Release Tool/Test Probe: 12094430/J-35616-42 (RD)

Rear Window Defogger Grid X1

Pin

Wire

Circuit

Function

A

2 PU

293

Rear Defog Element Supply Voltage

Rear Window Defogger Grid X2


Object Number: 365953  Size: CH

Connector Part Information

  • OEM: 12092133
  • Service: 12167133
  • Description: 1-Way F Metri-Pack 630 Series Self Lock (BK)

Terminal Part Information

  • Terminal/Tray: 12034110/18
  • Core/Insulation Crimp: B/G
  • Release Tool/Test Probe: 12094430/J-35616-42 (RD)

Rear Window Defogger Grid X2

Pin

Wire

Circuit

Function

A

2 BK

650

Ground

Rear Window Wiper/Washer Module


Object Number: 1962081  Size: CH

Connector Part Information

  • OEM: 936230-1
  • Service: See Catalog
  • Description: 6-Way F 090 II Series (NA)

Terminal Part Information

  • Terminal/Tray: See Terminal Repair Kit
  • Core/Insulation Crimp: See Terminal Repair Kit
  • Release Tool/Test Probe: See Terminal Repair Kit

Rear Window Wiper/Washer Module

Pin

Wire

Circuit

Function

1

0.35 GY

391

Rear Window Wiper Switch Signal

2

--

--

Not Used

3

0.35 PK/BK

1303

Liftgate Ajar Switch Signal

4

1 BK

650

Ground

5

1 RD/WH

2240

Battery Positive Voltage

6

0.8 D-GN

392

Rear Window Washer Pump Control

Recirculation Actuator


Object Number: 258172  Size: CH

Connector Part Information

  • OEM: 12064982
  • Service: 12064982
  • Description: 5-Way F Micro-Pack 100 Series (BK)

Terminal Part Information

  • Terminal/Tray: 12146447/3
  • Core/Insulation Crimp: E/C
  • Release Tool/Test Probe: 12031876-1/J-35616-6 (BN)

Recirculation Actuator

Pin

Wire

Circuit

Function

1

0.35 YE

1791

Low Reference

2

0.35 PU

1838

Recirculation Door Position Signal

3

0.35 GY

598

5-Volt Reference

4

0.5 D-GN

2274

Recirculation Door Control A

5

0.5 D-GN

1614

Recirculation Door Control B

Remote Control Door Lock Receiver (RCDLR) (AP3)


Object Number: 1673483  Size: CH

Connector Part Information

  • OEM: 15462684
  • Service: 88988745
  • Description: 4-Way F ILAG5 Series (GN)

Terminal Part Information

  • Terminal/Tray: IL-AG5-C1-5000/20
  • Core/Insulation Crimp: J/J
  • Release Tool/Test Probe: J-38125-211/J-35616-64B (L-BU)

Remote Control Door Lock Receiver (RCDLR) (AP3)

Pin

Wire

Circuit

Function

1

0.5 RD/WH

1940

Battery Positive Voltage

2

0.5 D-GN

5060

Low Speed GMLAN Serial Data

3

--

--

Not Used

4

0.5 BK

350

Ground

Seat Adjuster Motor Assembly - Driver (AE8)


Object Number: 1519696  Size: CH

Connector Part Information

  • OEM: 15326924
  • Service: See Catalog
  • Description: 6-Way F GT 280 Series (BK)

Seat Adjuster Motor Assembly - Driver (AE8)

Pin

Wire

Circuit

Function

1

3 PU

285

Seat Horizontal Forward Control

2

3 L-GN

284

Seat Horizontal Rearward Control

3

3 L-BU

286

Seat Front Vertical Up Control

4

3 L-GN

287

Seat Front Vertical Down Control

5

3 BN

282

Seat Rear Vertical Up Control

6

3 GY

283

Seat Rear Vertical Down Control

Seat Adjuster Switch - Driver (AE8)


Object Number: 623046  Size: CH

Connector Part Information

  • OEM: 15326931
  • Service: See Catalog
  • Description: 10-Way F GT 280 Series (BK)

Seat Adjuster Switch - Driver (AE8)

Pin

Wire

Circuit

Function

A

3 BN

440

Battery Positive Voltage

B

3 BK/WH

650

Ground

C

3 GY

283

Seat Rear Vertical Down Control

D

3 L-BU

284

Seat Horizontal Rearward Control

E

3 RD/WH

285

Seat Horizontal Forward Control

F

3 PU

286

Seat Front Vertical Up Control

G

3 BN/BK

287

Seat Front Vertical Down Control

H

2 L-GN/RD

450

Ground

J

3 D-GN/WH

277

Seat Recline Down Control

K

3 L-GN

276

Seat Recline Up Control

Seat Belt Buckle Pretensioner - Driver


Object Number: 739643  Size: CH

Connector Part Information

  • OEM: 54550266
  • Service: See Catalog
  • Description: 2-Way F 1.5 (BK)

Terminal Part Information

  • Terminal/Tray: 1411560-2/25
  • Core/Insulation Crimp: E/C
  • Release Tool/Test Probe: 12094429/J-35616-64B (L-BU)

Seat Belt Buckle Pretensioner - Driver

Pin

Wire

Circuit

Function

1

0.5 OG/BK

2119

Seat Belt Pretensioner - Left - Low Control

2

0.5 TN/WH

2118

Seat Belt Pretensioner - Left - High Control

Seat Belt Buckle Pretensioner - Passenger


Object Number: 878490  Size: CH

Connector Part Information

  • OEM: 54550266
  • Service: See Catalog
  • Description: 2-Way F 1.5 (BK)

Terminal Part Information

  • Terminal/Tray: 1411560-2/25
  • Core/Insulation Crimp: E/C
  • Release Tool/Test Probe: 12094429/J-35616-64B (L-BU)

Seat Belt Buckle Pretensioner - Passenger

Pin

Wire

Circuit

Function

1

0.5 OG

2117

Seat Belt Pretensioner - Right - Low Control

2

0.5 L-GN

2116

Seat Belt Pretensioner - Right - High Control

Seat Belt Retractor Pretensioner - Driver


Object Number: 878490  Size: CH

Connector Part Information

  • OEM: 1393429-3
  • Service: See Catalog
  • Description: 2-Way F 1.5 (BK)

Terminal Part Information

  • Terminal/Tray: 1411560-2/25
  • Core/Insulation Crimp: E/C
  • Release Tool/Test Probe: 12094429/J-35616-64B (L-BU)

Seat Belt Retractor Pretensioner - Driver

Pin

Wire

Circuit

Function

1

0.5 PU/OG

7379

Seat Belt Retractor Pretensioner - Left - Low Control

2

0.5 PU

7380

Seat Belt Retractor Pretensioner - Right - High Control

Seat Belt Retractor Pretensioner - Passenger


Object Number: 878490  Size: CH

Connector Part Information

  • OEM: 1393429-3
  • Service: See Catalog
  • Description: 2-Way F 1.5 (BK)

Terminal Part Information

  • Terminal/Tray: 1411560-2/25
  • Core/Insulation Crimp: E/C
  • Release Tool/Test Probe: 12094429/J-35616-64B (L-BU)

Seat Belt Retractor Pretensioner - Passenger

Pin

Wire

Circuit

Function

1

0.5 OG/GN

7377

Seat Belt Retractor Pretensioner - Right - Low Control

2

0.5 GN

7378

Seat Belt Retractor Pretensioner - Right - High Control

Seat Belt Switch - Driver


Object Number: 1664592  Size: CH

Connector Part Information

  • OEM: 13517842
  • Service: 12117275
  • Description: 2-Way M Metri-Pack 150 Series (GN)

Terminal Part Information

  • Terminal/Tray: 12047581/2
  • Core/Insulation Crimp: E/C
  • Release Tool/Test Probe: 12094429/J-35616-3 (GY)

Seat Belt Switch - Driver

Pin

Wire

Circuit

Function

1

0.5 TN/WH

238

Seat Belt Switch - Left - Signal

2

0.5 PK

5057

Low Reference

Seat Belt Switch - Passenger


Object Number: 1664592  Size: CH

Connector Part Information

  • OEM: 1393429-3
  • Service: 12117275
  • Description: 2-Way M Metri-Pack 150 Series (BK)

Terminal Part Information

  • Terminal/Tray: 12047581/2
  • Core/Insulation Crimp: E/C
  • Release Tool/Test Probe: 12094429/J-35616-3 (GY)

Seat Belt Switch - Passenger

Pin

Wire

Circuit

Function

1

0.5 OG

1362

Seat Belt Switch - Right - Signal

2

0.5 PK

5057

Low Reference

Seat Belt Tension Sensor


Object Number: 814536  Size: CH

Connector Part Information

  • OEM: 13612233
  • Service: See Catalog
  • Description: 4-Way M (WH)

Terminal Part Information

  • Terminal/Tray: 1411560-2/25
  • Core/Insulation Crimp: E/C
  • Release Tool/Test Probe: 12094429/J-35616-64B (L-BU)

Seat Belt Tension Sensor

Pin

Wire

Circuit

Function

1

0.5 BK/WH

851

Ground

2

0.5 PU

5611

Seat Belt Tension Sensor Signal

3

0.5 L-BU

5612

5-Volt

4

--

--

Not Used

Seat Recline Motor - Driver (AE8)


Object Number: 797847  Size: CH

Connector Part Information

  • OEM: MG610043
  • Service: See Catalog
  • Description: 2-Way F GT 280 Series (BK)

Seat Recline Motor - Driver (AE8)

Pin

Wire

Circuit

Function

1

2 L-GN/RD

276

Seat Recline Up Control

2

2 BN/BK

277

Seat Recline Down Control

Speaker - Left Front


Object Number: 280768  Size: CH

Connector Part Information

  • OEM: 12052832
  • Service: 12101825
  • Description: 2-Way F Metri-Pack 150 Series (BK)

Terminal Part Information

  • Terminal/Tray: 12047767/2
  • Core/Insulation Crimp: E/A
  • Release Tool/Test Probe: 12094429/J-35616-14 (GN)

Speaker - Left Front

Pin

Wire

Circuit

Function

A

0.8 GY

118

Left Front Speaker Output (-)

B

0.8 TN

201

Left Front Speaker Output (+)

Speaker - Left Front Tweeter


Object Number: 280768  Size: CH

Connector Part Information

  • OEM: 12052832
  • Service: 12101825
  • Description: 2-Way F Metri-Pack 150 Series (BK)

Terminal Part Information

  • Terminal/Tray: 12047767/2
  • Core/Insulation Crimp: E/A
  • Release Tool/Test Probe: 12094429/J-35616-14 (GN)

Speaker - Left Front Tweeter

Pin

Wire

Circuit

Function

A

0.8 YE

1956

Left Front Tweeter Speaker Output (-)

B

0.8 TN

1856

Left Front Tweeter Speaker Output (+)

Speaker - Left Rear


Object Number: 280768  Size: CH

Connector Part Information

  • OEM: 12052832
  • Service: 12101825
  • Description: 2-Way F Metri-Pack 150 Series (BK)

Terminal Part Information

  • Terminal/Tray: 12047767/2
  • Core/Insulation Crimp: E/A
  • Release Tool/Test Probe: 12094429/J-35616-14 (GN)

Speaker - Left Rear

Pin

Wire

Circuit

Function

A

0.8 YE

116

Left Rear Speaker Output (-)

B

0.8 BN

199

Left Rear Speaker Output (+)

Speaker - Right Front


Object Number: 280768  Size: CH

Connector Part Information

  • OEM: 12052832
  • Service: 12101825
  • Description: 2-Way F Metri-Pack 150 Series (BK)

Terminal Part Information

  • Terminal/Tray: 12047767/2
  • Core/Insulation Crimp: E/A
  • Release Tool/Test Probe: 12094429/J-35616-14 (GN)

Speaker - Right Front

Pin

Wire

Circuit

Function

A

0.8 D-GN

117

Right Front Speaker Output (-)

B

0.8 L-GN

200

Right Front Speaker Output (+)

Speaker - Right Front Tweeter


Object Number: 280768  Size: CH

Connector Part Information

  • OEM: 12052832
  • Service: 12101825
  • Description: 2-Way F Metri-Pack 150 Series (BK)

Terminal Part Information

  • Terminal/Tray: 12047767/2
  • Core/Insulation Crimp: E/A
  • Release Tool/Test Probe: 12094429/J-35616-14 (GN)

Speaker - Right Front Tweeter

Pin

Wire

Circuit

Function

A

0.8 YE

1952

Right Front Tweeter Speaker Output (-)

B

0.8 TN

1852

Right Front Tweeter Speaker Output (+)

Speaker - Right Rear


Object Number: 280768  Size: CH

Connector Part Information

  • OEM: 12052832
  • Service: 12101825
  • Description: 2-Way F Metri-Pack 150 Series (BK)

Terminal Part Information

  • Terminal/Tray: 12047767/2
  • Core/Insulation Crimp: E/A
  • Release Tool/Test Probe: 12094429/J-35616-14 (GN)

Speaker - Right Rear

Pin

Wire

Circuit

Function

A

0.8 L-BU

115

Right Rear Speaker Output (-)

B

0.8 D-BU

46

Right Rear Speaker Output (+)

Starter Generator X1 (HP7)


Object Number: 1847968  Size: CH

Connector Part Information

  • OEM: 12162836
  • Service: See Catalog
  • Description: 7-Way F (BK)

Terminal Part Information

  • Terminal/Tray: See Terminal Repair Kit
  • Core/Insulation Crimp: See Terminal Repair Kit
  • Release Tool/Test Probe: See Terminal Repair Kit

Starter Generator X1 (HP7)

Pin

Wire

Circuit

Function

A

0.8 OG

225

Generator Turn On Signal

B

--

--

Not Used

C

0.5 BN/OG

7437

Generator Control

D-E

--

--

Not Used

F

0.5 L-BU

5095

Starter Generator Control Module Temperature Low Reference

G

0.5 D-BU

5094

Starter Generator Control Module Temperature Signal

Starter Generator X2 (HP7)


Object Number: 632344  Size: CH

Connector Part Information

  • OEM: 15326842
  • Service: See Catalog
  • Description: 10-Way F Sealed (BK)
  • Terminal/Tray: See Terminal Repair Kit
  • Core/Insulation Crimp: See Terminal Repair Kit
  • Release Tool/Test Probe: See Terminal Repair Kit

Starter Generator X2 (HP7)

Pin

Wire

Circuit

Function

A

--

--

Not Used

B

0.5 D-GN

9022

Resolver Signal Number 4

C

0.5 D-BU

9020

Resolver Signal Number 3

D

0.5 GY

9018

Resolver Motor Negative

E

0.35 RD

701

Drain Wire

F

0.5 L-GN

9075

Resolver Signal Number 2

G

0.5 L-BU

9019

Resolver Signal Number 1

H

0.5 WH

9017

Resolver Motor Positive

J-K

--

--

Not Used

Starter Generator X3 (HP7)

Terminal Part Information

  • OEM: 7003-1171-02
  • Core/Insulation Crimp: N/A
  • Description: Ring Terminal

Starter Generator X3 (HP7)

Pin

Wire

Circuit

Function

U

30 L-BU

2U

3 Phase A/C

V

30 L-BU

2V

3 Phase A/C

W

30 L-BU

2W

3 Phase A/C

Starter Generator Control Module (SGCM) X1 (HP7)


Object Number: 1973170  Size: CH

Connector Part Information

  • OEM Connector Body: 12129225 (NA)
  • Service: 12129225
  • Retainer: 12129183 (BK)
  • Strain Relief: 12110155 (GY)
  • Description: 24-Way F Micro-Pack 100W Sealed

Terminal Part Information

  • Pins: 1, 16
  • Terminal/Tray: 7116-4142-02/10
  • Core/Insulation Crimp: Pins 1 - A/3
  • Core/Insulation Crimp: Pins 16 - D/3
  • Release Tool/Test Probe: 12094430/J-35616-42 (RD)
  • Pins: 3, 8, 11-14, 18-19, 22, 29, 33-34, 36-37, 42-43, 45-46
  • Terminal/Tray: 638551-1/16
  • Core/Insulation Crimp: Pins 3, 11-14, 18-19, 22, 29, 33-34, 36-37, 42-43, 45-46 - K/K
  • Core/Insulation Crimp: Pins 8 - J/J
  • Release Tool/Test Probe: 15315247/J-35616-64B (L-BU)

Starter Generator Control Module (SGCM) X1 (HP7)

Pin

Wire

Circuit

Function

1

0.35 GY/BK

7439

Starter Generator Control Module Pump Motor Voltage Reference

2

0.5 PK/WH

5537

Automatic Transmission Auxiliary Fluid Pump Relay Coil Control

3

--

--

Not Used

4

0.8 L-GN/BK

6554

Starter Generator Control Module (SGCM) Cooling Pump Supply Voltage

5

0.35 GY

990

Hill Hold Brake Delay Relay Control

6

0.8 TN

2022

Eng/Tran Cooling

7-10

--

--

Not Used

11

0.35 TN/BK

2500

High Speed GMLAN Serial Data (+)

12

0.35 TN/BK

2500

High Speed GMLAN Serial Data (+)

13

--

--

Not Used

14

0.35 D-GN/WH

7621

Automatic Transmission Auxiliary Fluid Pump Driver Error

15

0.5 BK/PU

7438

Starter Generator Control Module (SGCM) Cooling Pump Control

16

0.5 PU

5531

Hood Closed Switch Signal

17

0.5 YE

5530

Hood Ajar Switch Signal

18-22

--

--

Not Used

23

0.5 TN

2501

High Speed GMLAN Serial Data (-)

24

0.5 TN

2501

High Speed GMLAN Serial Data (-)

Starter Generator Control Module (SGCM) X2 (HP7)


Object Number: 1973174  Size: CH

Connector Part Information

  • OEM Connector Body: 12129225 (NA)
  • Service: 12199225
  • Retainer: 12191019 (CL)
  • Strain Relief: 12110155 (GY)
  • Description: 24-Way F Micro-Pack 100W Sealed

Terminal Part Information

  • Terminal/Tray: 16-02-1110/20
  • Core/Insulation Crimp: H/H
  • Release Tool/Test Probe: J-38125-213/J-35616-64B (L-BU)

Starter Generator Control Module (SGCM) X2 (HP7)

Pin

Wire

Circuit

Function

1

0.5 RD/WH

40

Battery Positive Voltage

2

0.5 D-BU

5094

Module Temperature Signal

3

0.35 L-BU

5986

Serial Data Communication Enable

4

0.5 GY

9018

Resolver Motor Negative

5

0.5 WH

9017

Resolver Motor Positive

6

0.5 D-BU

9020

Resolver Signal Number 3

7

0.5 D-GN

9022

Resolver Signal Number 4

8

0.8 PU

910

Hill Hold Brake Delay Valve 1 Control

9

0.5 BN/OG

7437

Low Reference

10-11

--

--

Not Used

12

0.8 OG

225

Generator Turn On Signal

13

0.35 RD

701

Drain Wire

14

0.5 L-BU

5095

Module Temperature Low Reference

15

0.35 PU

5087

High Voltage Interlock Loop Signal

16

0.35 PU

5087

High Voltage Interlock Loop Signal

17

0.35 RD

701

Drain Wire

18

--

--

Not Used

19

0.5 L-BU

9019

Resolver Signal Number 1

20

0.5 L-GN

9075

Resolver Signal Number 2

21

0.8 L-GN

911

Hill Hold Brake Delay Valve 2 Control

22

0.35 RD

701

Drain Wire

23-24

--

--

Not Used

Starter Generator Control Module X3 (HP7)

Terminal Part Information

  • OEM: 12191019
  • Core/Insulation Crimp: N/A
  • Description: Ring Terminal

Starter Generator Control Module X3 (HP7)

Pin

Wire

Circuit

Function

U

20 L-BU

4042

42 Volt Positive Voltage

Starter Generator Control Module X4 (HP7)

Terminal Part Information

  • OEM: 12191019
  • Core/Insulation Crimp: N/A
  • Description: Ring Terminal

Starter Generator Control Module X4 (HP7)

Pin

Wire

Circuit

Function

U

30 OG

2U

3 Phase A/C

V

30 OG

2V

3 Phase A/C

W

30 OG

2W

3 Phase A/C

Starter Generator Control Module X5

Terminal Part Information

  • OEM: 12160991
  • Core/Insulation Crimp: N/A
  • Description: Ring Terminal

Starter Generator Control Module X5

Pin

Wire

Circuit

Function

+

8.0 RD/BK

5040

Battery Positive Voltage

Starter Generator Control Module Coolant Pump (HP7)


Object Number: 1527729  Size: CH

Connector Part Information

  • OEM: 15419715
  • Service: 88988313
  • Description: 2-Way F GT Series, Sealed (GY)

Terminal Part Information

  • Terminal/Tray: 16-02-1110/20
  • Core/Insulation Crimp: H/H
  • Release Tool/Test Probe: J-38125-213/J-35616-64B (L-BU)

Starter Generator Control Module Coolant Pump (HP7)

Pin

Wire

Circuit

Function

A

0.5 RD/WH

2940

Battery Positive Voltage

B

0.8 L-GN/BK

6554

Water Pump Control Circuit

Starter Motor X1


Object Number: 696940  Size: CH

Connector Part Information

  • OEM: 12089916
  • Service: 12089916
  • Description: 1-Way F Metri-Pack 280 Series, Sealed (BK)

Terminal Part Information

  • Terminal/Tray: 12129493/2
  • Core/Insulation Crimp: 4/5
  • Release Tool/Test Probe: 12094430/J-35616-4A (PU)

Starter Motor X1

Pin

Wire

Circuit

Function

A

2 PU

6

Starter Solenoid Crank Voltage

Starter Motor X2

Connector Part Information

  • OEM: 12160991
  • Core/Insulation Crimp: N/A
  • Description: Ring Terminal

Starter Motor X2

Pin

Wire

Circuit

Function

X

8.0 RD/BK

2

Battery Positive Voltage

19 RD/BK

1

Battery Positive Voltage (-LE5)

Steering Angle Sensor (LY7/LZ4)


Object Number: 1835137  Size: CH

Connector Part Information

  • OEM: 13547374
  • Service: See Catalog
  • Description: 6-Way F 064 GET Series (BK)

Terminal Part Information

  • Terminal/Tray: 1393364-2/7
  • Core/Insulation Crimp: K/K
  • Release Tool/Test Probe: 15315247/J-35616-64B (L-BU)

Steering Angle Sensor (LY7/LZ4)

Pin

Wire

Circuit

Function

1

0.5 GY

6044

Steering Angle Sensor 5-Volt Reference

2

0.5 BN/WH

6437

CAN Bus High Serial Data

3

0.5 TN/WH

6433

CAN Bus High Serial Data

4

0.5 L-GN/BK

6432

CAN Bus Low Serial Data

5

0.5 WH/BK

6436

CAN Bus Low Serial Data

6

0.5 OG/BK

6045

Steering Angle Sensor Low Reference

Steering Wheel Control Switch - Left (UK3)


Object Number: 1650407  Size: CH

Connector Part Information

  • OEM: 50-57-9407
  • Service: See Catalog
  • Description: 8-Way F (BK)

Terminal Part Information

  • Terminal/Tray: See Terminal Repair Kit
  • Core/Insulation Crimp: See Terminal Repair Kit
  • Release Tool/Test Probe: See Terminal Repair Kit

Steering Wheel Control Switch - Left (UK3)

Pin

Wire

Circuit

Function

1

0.35 PK

339

Ignition 1 Voltage

2

0.35 D-GN

1358

DIC Switch Signal

3

0.35 GY

7005

Instrument Panel Lamp Supply Voltage

4

0.35 D-BU

1444

12-Volt Reference

5

0.35 PU

1884

Cruise Control Switch Signal

6

--

--

Not Used

7

0.35 BK

651

Ground

8

--

--

Not Used

Steering Wheel Control Switch - Right (UK3)


Object Number: 1650407  Size: CH

Connector Part Information

  • OEM: 50-57-9404
  • Service: See Catalog
  • Description: 8-Way F Molex (BK)

Terminal Part Information

  • Terminal/Tray: See Terminal Repair Kit
  • Core/Insulation Crimp: See Terminal Repair Kit
  • Release Tool/Test Probe: See Terminal Repair Kit

Steering Wheel Control Switch - Right (UK3)

Pin

Wire

Circuit

Function

1

0.35 D-BU

651

Ground

2

0.35 D-BU

1444

12-Volt Reference

3

--

--

Not Used

4

0.35 L-GN

1011

Steering Wheel Controls Signal

5

0.35 GY

7005

Instrument Panel Lamp Supply Voltage

6-8

--

--

Not Used

Stop Lamp Switch


Object Number: 1333952  Size: CH

Connector Part Information

  • OEM: 12105252
  • Service: 12105252
  • Description: 4-Way F 250 58M (BK)

Terminal Part Information

  • Pins: 1
  • Terminal/Tray: 7116-2876/10
  • Core/Insulation Crimp: See Terminal Repair Kit
  • Release Tool/Test Probe: 12094430/J-35616-42 (RD)
  • Pins: 2
  • Terminal/Tray: 7116-2875/10
  • Core/Insulation Crimp: E/B
  • Release Tool/Test Probe: 12094430/J-35616-42 (RD)

Stop Lamp Switch

Pin

Wire

Circuit

Function

1

0.5 OG/WH

812

12-Volt Reference

0.5 OG/WH

812

12-Volt Reference

2

0.35 PU

7062

Brake Switch Signal

3-4

--

--

Not Used

Sunload Sensor (C68)


Object Number: 130637  Size: CH

Connector Part Information

  • OEM: 12064760
  • Service: 12085208
  • Description: 4-Way F Metri-Pack 150 Series (BK)

Terminal Part Information

  • Terminal/Tray: 12064971/5
  • Core/Insulation Crimp: E/C
  • Release Tool/Test Probe: 12094429/J-35616-14 (GN)

Sunload Sensor (C68)

Pin

Wire

Circuit

Function

A

0.35 L-BU/BK

590

Driver Sunload Sensor Signal

B

0.35 GY

1548

Passenger Sunload Sensor Signal

C

0.35 BK/WH

351

Ground

D

0.35 WH

278

Ambient Light Sensor Signal

Sunroof Control Module C1 (CF5)


Object Number: 783213  Size: CH

Connector Part Information

  • OEM: 39-01-2080
  • Service: See Catalog
  • Description: 8-Way F (WH)

Sunroof Control Module C1 (CF5)

Pin

Wire

Circuit

Function

1

0.8 YE

133

Low Reference

2-3

--

--

Not Used

4

0.35 D-GN

2074

Sunroof Switch Express Signal

5

0.35 D-BU

128

Low Reference

6

0.35 BN

100

Sunroof Switch Open Signal

7

0.35 OG/BK

144

Sunroof Switch Open Vent Signal

8

0.8 OG

132

Sunroof Limit Switch Soft Stop Signal

Sunroof Control Module C2 (CF5)


Object Number: 62450  Size: CH

Connector Part Information

  • OEM: 12052856
  • Service: See Catalog
  • Description: 4-Way F Metri-Pack 280 Series (BK)

Sunroof Control Module C2 (CF5)

Pin

Wire

Circuit

Function

A

0.35 YE

580

Accessory Voltage

B

0.8 L-GN

129

Sunroof Motor Close Control

C

0.8 D-GN

127

Sunroof Motor Open Control

D

1 BK

750

Ground

Sunroof Motor C1 (CF5)


Object Number: 808706  Size: CH

Connector Part Information

  • OEM: 12064749
  • Service: See Catalog
  • Description: 2-Way F Metri-Pack 480 Series (BK)

Sunroof Motor C1 (CF5)

Pin

Wire

Circuit

Function

A

L-GN

129

Sunroof Motor Close Control

B

D-GN

127

Sunroof Motor Open Control

Sunroof Motor C2 (CF5)


Object Number: 258688  Size: CH

Connector Part Information

  • OEM: 12186775
  • Service: See Catalog
  • Description: 3-Way F (BK)

Sunroof Motor C2 (CF5)

Pin

Wire

Circuit

Function

1

RD

132

Sunroof Limit Switch Soft Stop Signal

2

--

--

Not Used

3

YE

133

Low Reference

Sunroof Switch (CF5)


Object Number: 1962077  Size: CH

Connector Part Information

  • OEM: 13513469
  • Service: See Catalog
  • Description: 4-Way F Micro-Pack 100 Series (GY)

Sunroof Switch (CF5)

Pin

Wire

Circuit

Function

1

BN

100

Sunroof Switch Open Signal

2

OG/BK

144

Sunroof Switch Open Vent Signal

3

D-BU

128

Low Reference

4

D-GN

2074

Sunroof Switch Express Signal

Sunshade - Left (D61)


Object Number: 82383  Size: CH

Connector Part Information

  • OEM: 12059249
  • Service: 12085535
  • Description: 2-Way F Metri-Pack 150 Series (NA)

Terminal Part Information

  • Terminal/Tray: 12064971/5
  • Core/Insulation Crimp: E/C
  • Release Tool/Test Probe: 12094429/J-35616-14 (GN)

Sunshade - Left (D61)

Pin

Wire

Circuit

Function

A

0.5 OG

1732

Courtesy Lamps Supply Voltage

B

0.5 BK

650

Ground

Sunshade - Right (D61)


Object Number: 82383  Size: CH

Connector Part Information

  • OEM: 12059249
  • Service: 12085535
  • Description: 2-Way F Metri-Pack 150 Series (NA)

Terminal Part Information

  • Terminal/Tray: 12064971/5
  • Core/Insulation Crimp: E/C
  • Release Tool/Test Probe: 12094429/J-35616-14 (GN)

Sunshade - Right (D61)

Pin

Wire

Circuit

Function

A

0.5 OG

1732

Courtesy Lamps Supply Voltage

B

0.5 BK

650

Ground

Tail/Stop Lamp - Left


Object Number: 1290388  Size: CH

Connector Part Information

  • OEM: 021940459
  • Service: See Catalog
  • Description: 3-Way F Bulb 3057 Socket Sealed (BK)

Tail/Stop Lamp - Left

Pin

Wire

Circuit

Function

MAJ

0.5 RD

20

Stop Lamp Supply Voltage

MIN

0.5 D-BU

709

Park Lamp Supply Voltage

GND

0.5 BK

650

Ground

Tail/Stop Lamp - Right


Object Number: 1290388  Size: CH

Connector Part Information

  • OEM: 021940459
  • Service: See Catalog
  • Description: 3-Way F Bulb 3057 Socket Sealed (BK)

Tail/Stop Lamp - Right

Pin

Wire

Circuit

Function

MAJ

0.5 RD

20

Stop Lamp Supply Voltage

MIN

0.5 D-BU

309

Park Lamp Supply Voltage

GND

0.5 BK

550

Ground

Theft Deterrent Module (TDM)


Object Number: 1593355  Size: CH

Connector Part Information

  • OEM: 15383337
  • Service: 88988353
  • Description: 5-Way F SL Series, Unsealed (BK)

Terminal Part Information

  • Pins: 1-4
  • Terminal/Tray: 16-02-1110/20
  • Core/Insulation Crimp: Pins 1-2 - H/H
  • Core/Insulation Crimp: Pins 3-4 - See Terminal Repair Kit
  • Release Tool/Test Probe: J-38125-213/J-35616-64B (L-BU)

Theft Deterrent Module (TDM)

Pin

Wire

Circuit

Function

1

0.35 RD/WH

1740

Battery Positive Voltage

2

0.35 YE

43

Accessory Voltage

3

0.5 BK

350

Ground

4

0.5 D-GN

5060

Low Speed GMLAN Serial Data

5

--

--

Not Used

Throttle Actuator Control (TAC) Module


Object Number: 1664617  Size: CH

Connector Part Information

  • OEM: 15355297
  • Service: 19115594
  • Description: 6-Way F GT 150 Series, Sealed (BK)

Terminal Part Information

  • Pins: A-F
  • Terminal/Tray: 15326427/5
  • Core/Insulation Crimp: Pins A-B - See Terminal Repair Kit
  • Core/Insulation Crimp: Pins C-F - E/A
  • Release Tool/Test Probe: 15315247/J-35616-2A (GY)

Throttle Actuator Control (TAC) Module

Pin

Wire

Circuit

Function

A

0.75 BN

582

TAC Motor Control - 2

B

0.75 YE

581

TAC Motor Control - 1

C

0.5 TN

2752

Low Reference

D

0.5 D-GN

485

TP Sensor 1 Signal

E

0.5 GY

2701

5-Volt Reference

F

0.5 PU

486

TP Sensor 2 Signal

Torque Converter Clutch (TCC) Pressure Control (PC) Solenoid Valve (ME7/MN5)


Object Number: 168428  Size: CH

Connector Part Information

  • OEM: 15473845
  • Service: See Catalog
  • Description: 2-Way F Metri-Pack 150.2 P2S Series (BU)

Terminal Part Information

  • Pins: See Terminal Repair Kit
  • Terminal/Tray: See Terminal Repair Kit
  • Core/Insulation Crimp: See Terminal Repair Kit
  • Release Tool/Test Probe: See Terminal Repair Kit

Torque Converter Clutch (TCC) Pressure Control (PC) Solenoid Valve (ME7/MN5)

Pin

Wire

Circuit

Function

A

0.5 RD

839

Ignition 1 Voltage

B

0.5 TN

418

TCC PWM Solenoid Valve Control

Torque Converter Clutch (TCC) Pulse Width Modulation (PWM) Solenoid Valve (ME7/MN5)


Object Number: 168428  Size: CH

Connector Part Information

  • OEM: 15473845
  • Service: See Catalog
  • Description: 2-Way F Metri-Pack 150.2 P2S Series (BU)

Terminal Part Information

  • Pins: See Terminal Repair Kit
  • Terminal/Tray: See Terminal Repair Kit
  • Core/Insulation Crimp: See Terminal Repair Kit
  • Release Tool/Test Probe: See Terminal Repair Kit

Torque Converter Clutch (TCC) Pulse Width Modulation (PWM) Solenoid Valve (ME7/MN5)

Pin

Wire

Circuit

Function

A

0.5 RD

839

Ignition 1 Voltage

B

0.5 TN

418

TCC PWM Solenoid Valve Control

Trailer Connector Adapter (V92)


Object Number: 1962091  Size: CH

Connector Part Information

  • OEM: 13598967
  • Service: See Catalog
  • Description: 16-Way F CONN (BK)

Terminal Part Information

  • Pins: 5, 8-14
  • Terminal/Tray: See Terminal Repair Kit
  • Core/Insulation Crimp: See Terminal Repair Kit
  • Release Tool/Test Probe: See Terminal Repair Kit

Trailer Connector Adapter (V92)

Pin

Wire

Circuit

Function

1-4

--

--

Not Used

5

0.5 RD/WH

3140

Battery Positive Voltage

6-7

--

--

Not Used

8

0.5 RD/WH

3140

Battery Positive Voltage

9

0.5 RD/WH

3140

Battery Positive Voltage

10

0.35 YE

5187

Right Trailer Turn Signal Lamp

11

0.8 D-GN

1619

Trailer Right Rear Turn/Stop Lamp Supply Voltage

12

0.5 RD/WH

3140

Battery Positive Voltage

13

0.35 OG

5186

Left Trailer Turn Signal Lamp

14

0.8 YE

1618

Trailer Left Rear Turn/Stop Lamp Supply Voltage

15-16

--

--

Not Used

Trailer Connector (V92)


Object Number: 1479634  Size: CH

Connector Part Information

  • OEM: 13569721
  • Service: See Catalog
  • Description: 4-Way M 1.5, Sealed Base 4 (BK)

Terminal Part Information

  • Pins: 1-2, 4
  • Terminal/Tray: 7114-4103-08/9
  • Core/Insulation Crimp: E/1
  • Release Tool/Test Probe: 12094430/J-35616-3 (GY)
  • Pins: 3
  • Terminal/Tray: 7114-4102-08/9
  • Core/Insulation Crimp: E/1
  • Release Tool/Test Probe: 12094430/J-35616-3 (GY)

Trailer Connector (V92)

Pin

Wire

Circuit

Function

1

0.8 YE

1618

Trailer Left Rear Turn/Stop Lamp Supply Voltage

2

0.8 D-GN

1619

Trailer Right Rear Turn/Stop Lamp Supply Voltage

3

0.5 BN

5184

Left Trailer Park Lamp

4

0.8 BK

550

Ground

Transmission Control Module (TCM) (ME7/MN5)


Object Number: 1544228  Size: CH

Connector Part Information

  • OEM: 15463921
  • Service: 88987979
  • Description: 49-Way F GT 280 Micro-Pack 64 Sealed (BK)

Terminal Part Information

  • Pins: 1-3, 6-7, 9, 11, 14, 16-17, 20, 23, 26, 29-33, 35, 37-42, 44, 46
  • Terminal/Tray: 15359541/4
  • Core/Insulation Crimp: M/M
  • Release Tool/Test Probe: 15381651-2/J-35616-64B (L-BU)
  • Pins: 49
  • Terminal/Tray: 15304719/19
  • Core/Insulation Crimp: E/5
  • Release Tool/Test Probe: 15315247/J-35616-4A (PU)

Transmission Control Module (TCM) (ME7/MN5)

Pin

Wire

Circuit

Function

1

0.35 TN/BK

422

TCC Solenoid Valve Control

2

0.35 L-GN

1222

(1-2 Shift Solenoid or Shift Solenoid A) Valve Control

3

0.35 OG/BK

1230

AT ISS High Signal

4-5

--

--

Not Used

6

0.5 TN

2501

High Speed GMLAN Serial Data Bus-

7

0.5 TN/BK

2500

High Speed GMLAN Serial Data Bus+

8

--

--

Not Used

9

0.35 YE

657

TCC Release Switch Signal

10

--

--

Not Used

11

0.35 D-BU

5985

Accessory Wakeup Serial Data

12-13

--

--

Not Used

14

0.35 WH

1994

3-2 Shift Solenoid Valve Control (ME7)

15

--

--

Not Used

16

0.5 PU

401

Signal Low - Front/VSS Low Signal/OSS Low Signal

17

0.35 L-BU/WH

1229

PC Solenoid Valve Low Control (Sol. A)

18-19

--

--

Not Used

20

0.35 YE/BK

1223

(2-3 Shift Solenoid or Shift Solenoid B) Valve Control

21-22

--

--

Not Used

23

0.35 GY

773

Transmission Range Switch Signal C

24-25

--

--

Not Used

26

0.35 D-BU/WH

1231

AT ISS Low Signal

27-28

--

--

Not Used

29

0.35 TN/WH

771

Transmission Range Switch Signal A

30

0.35 TN

2762

Low Reference

31

0.5 PK

639

Ignition 1 Voltage

32

0.5 RD/WH

40

Battery Positive Voltage

33

0.35 OG

1226

Transmission Fluid Pressure Switch Signal C

34

--

--

Not Used

35

0.35 YE/BK

1227

TFT Sensor Signal

36

--

--

Not Used

37

0.5 TN

2501

High Speed GMLAN Serial Data Bus-

38

0.5 TN/BK

2500

High Speed GMLAN Serial Data Bus+

39

0.35 WH

776

Transmission Range Switch Signal P

40

0.35 OG/BK

1228

PC Solenoid Valve High Control (Sol. A)

41

0.5 YE

400

Signal High - Front/VSS High Signal/OSS High Signal

42

0.5 WH

17

Stop Lamp Switch Signal or Stop Lamp Supply Voltage

43

--

--

Not Used

44

0.35 D-BU

1225

Transmission Fluid Pressure Switch Signal B

45

--

--

Not Used

46

0.35 YE

772

Transmission Range Switch Signal B

47-48

--

--

Not Used

49

0.5 BK/WH

251

Ground

Transmission Control Module (MH2/MH4)


Object Number: 1910664  Size: CH

Connector Part Information

  • OEM: 15476346
  • Service: 19151494
  • Description: 20-Way F GT 150 Series, Sealed (L-GY)

Terminal Part Information

  • Terminal/Tray: 15326267/19
  • Core/Insulation Crimp: E/4
  • Release Tool/Test Probe: 15315247/J-35616-2A (GY)

Transmission Control Module (MH2/MH4)

Pin

Wire

Circuit

Function

1

0.5 BK/WH

251

Ground

2

0.5 TN/BK

2500

High Speed GMLAN Serial Data Bus+

3-4

--

--

Not Used

5

0.5 TN/BK

2500

High Speed GMLAN Serial Data Bus+

6-8

--

--

Not Used

9

0.5 BK/WH

251

Ground

10

0.5 RD/WH

40

Battery Positive Voltage

11

--

--

Not Used

12

0.5 TN

2501

High Speed GMLAN Serial Data Bus-

13

0.5 PK

639

Ignition 1 Voltage

14

0.5 TN

2501

High Speed GMLAN Serial Data Bus-

15

0.35 D-BU

5985

Accessory Wakeup Serial Data

16

0.5 WH

17

Stop Lamp Switch Signal or Stop Lamp Supply Voltage

17

--

--

Not Used

18

0.5 BK/WH

251

Ground

19

0.5 RD/WH

40

Battery Positive Voltage

20

0.5 OG/BK

1786

Ignition Lock Cylinder Control Actuator Signal

Turn Signal Lamp - Left Rear


Object Number: 1290375  Size: CH

Connector Part Information

  • OEM: 021780959
  • Service: See Catalog
  • Description: 3-Way F Bulb 3057 Socket (BK)

Turn Signal Lamp - Left Rear

Pin

Wire

Circuit

Function

MAJ

0.5 YE

18

Left Rear Turn Lamp Supply Voltage

MIN

--

--

Not Used

GND

0.5 BK/WH

650

Ground

Turn Signal Lamp - Right Rear


Object Number: 1290375  Size: CH

Connector Part Information

  • OEM: 021780959
  • Service: See Catalog
  • Description: 3-Way F Bulb 3057 Socket (BK)

Turn Signal Lamp - Right Rear

Pin

Wire

Circuit

Function

MAJ

0.5 YE

19

Right Rear Turn Lamp Supply Voltage

MIN

--

--

Not Used

GND

0.5 BK/WH

550

Ground

Turn Signal Repeater Lamp - Left


Object Number: 1527729  Size: CH

Connector Part Information

  • OEM: 15419715
  • Service: 88988313
  • Description: 2-Way F GT 150 Series Sealed (GY)

Terminal Part Information

  • Terminal/Tray: 12191819/8
  • Core/Insulation Crimp: E/A
  • Release Tool/Test Probe: 15315247/J-35616-2A (GY)

Turn Signal Repeater Lamp - Left

Pin

Wire

Circuit

Function

A

0.5 L-BU/WH

1314

Left Front Turn Signal Lamp Supply Voltage

B

0.5 BK

450

Ground

Turn Signal Repeater Lamp - Right


Object Number: 1527729  Size: CH

Connector Part Information

  • OEM: 15419715
  • Service: 88988313
  • Description: 2-Way F GT 150 Series Sealed (GY)

Terminal Part Information

  • Terminal/Tray: 12191819/8
  • Core/Insulation Crimp: E/A
  • Release Tool/Test Probe: 15315247/J-35616-2A (GY)

Turn Signal Repeater Lamp - Right

Pin

Wire

Circuit

Function

A

0.5 D-BU/WH

1315

Right Front Turn Signal Lamp Supply Voltage

B

0.5 BK

450

Ground

Turn Signal/Multifunction Switch (LAT/LE5)


Object Number: 831380  Size: CH

Connector Part Information

  • OEM: 15332141
  • Service: 15332141
  • Description: 6-Way F GT 150 Series, Unsealed (BK)

Terminal Part Information

  • Terminal/Tray: 12191812/19
  • Core/Insulation Crimp: E/C
  • Release Tool/Test Probe: 15315247/J-35616-2A (GY)

Turn Signal/Multifunction Switch (LAT/LE5)

Pin

Wire

Circuit

Function

A

0.5 BK

350

Ground

B

0.35 PU

524

Headlamp Dimmer Switch High Beam Signal

C

0.35 YE

307

Headlamp Switch Flash to Pass Signal

D

0.35 L-BU/WH

1414

Left Turn Signal Switch Signal

E

0.35 D-BU/WH

1415

Right Turn Signal Switch Signal

F

0.35 BK

350

Ground

Turn Signal/Multifunction Switch (LY7/LZ4)


Object Number: 647976  Size: CH

Connector Part Information

  • OEM: 15332161
  • Service: 15306416
  • Description: 12-Way F GT 150 Series (BK)

Terminal Part Information

  • Terminal/Tray: 12191812/19
  • Core/Insulation Crimp: E/C
  • Release Tool/Test Probe: 15315247/J-35616-2A (GY)

Turn Signal/Multifunction Switch (LY7/LZ4)

Pin

Wire

Circuit

Function

A-F

--

--

Not Used

G

0.5 BK

350

Ground

H

0.35 PU

524

Headlamp Dimmer Switch High Beam Signal

J

0.35 YE

307

Headlamp Switch Flash to Pass Signal

K

0.35 L-BU/WH

1414

Left Turn Signal Switch Signal

L

0.35 D-BU/WH

1415

Right Turn Signal Switch Signal

M

0.35 BK

350

Ground

Vehicle Communication Interface Module (VCIM) Battery (UE1)


Object Number: 82383  Size: CH

Connector Part Information

  • OEM: 12047662 (HP7)
  • OEM: 15326802 (-HP7)
  • Service: 12085535
  • Description: 2-Way F 150 Series (BK)

Terminal Part Information

  • Terminal/Tray: 12047767/2
  • Core/Insulation Crimp: E/C
  • Release Tool/Test Probe: 12094429/J-35616-14 (GN)

Vehicle Communication Interface Module (VCIM) Battery (UE1)

Pin

Wire

Circuit

Function

A

0.35 RD/WH

5235

Battery Backup Supply Voltage

B

0.35 GY/BK

5167

Battery Backup Low Reference

Vehicle Communications Interface Module (VCIM) X1 (UE1)


Object Number: 1471689  Size: CH

Connector Part Information

  • OEM: 15431362
  • Service: 15306351
  • Description: 16-Way F Micro 64 Unsealed (WH)

Terminal Part Information

  • Pins: 1-3, 6-7, 10-15
  • Terminal/Tray: 15445905/23
  • Core/Insulation Crimp: Pins 1-3, 6-7, 10-15 - J/J
  • Core/Insulation Crimp: Pins 7 - See Terminal Repair Kit
  • Release Tool/Test Probe: 12180559/J-35616-16 (L-GN)

Vehicle Communications Interface Module (VCIM) X1 (UE1)

Pin

Wire

Circuit

Function

1

0.5 D-GN

5060

Low Speed GMLAN Serial Data

2

0.35 BN/WH

2517

Keypad Red LED Signal

3

0.35 YE/BK

2516

Keypad Green LED Signal

4-5

--

--

Not Used

6

0.35 L-GN/BK

2515

Keypad Supply Voltage

7

0.5 BK/WH

451

Ground

8-9

--

--

Not Used

10

0.5 TN/BK

2500

High Speed GMLAN Serial Data Bus+

11

0.35 D-GN/WH

2514

Keypad Signal

12

0.5 TN

2501

High Speed GMLAN Serial Data Bus-

13

0.35 GY/BK

5167

Battery Backup Low Reference

14

0.35 RD/WH

5235

Battery Backup Supply Voltage

15

0.5 RD/WH

2540

Battery Positive Voltage

16

--

--

Not Used

Vehicle Communications Interface Module (VCIM) X2 (UE1)


Object Number: 1471691  Size: CH

Connector Part Information

  • OEM: 15431365
  • Service: 88952886
  • Description: 12-Way F Micro 64 Series, Unsealed (NA)

Terminal Part Information

  • Terminal/Tray: 15445905/23
  • Core/Insulation Crimp: J/J
  • Release Tool/Test Probe: 12180559/J-35616-16 (L-GN)

Vehicle Communications Interface Module (VCIM) X2 (UE1)

Pin

Wire

Circuit

Function

1

0.35 D-BU

658

Cellular Telephone Voice Signal

2

0.35 L-BU/BK

659

Cellular Telephone Voice Low Reference

3

0.5 TN/BK

2500

High Speed GMLAN Serial Data Bus+

4

0.5 TN

2501

High Speed GMLAN Serial Data Bus-

5-7

--

--

Not Used

8

0.5 BARE

1782

Drain Wire

9

0.5 GY

655

Cellular Microphone Signal

10

0.5 D-GN

1489

Drain Wire

11-12

--

--

Not Used

Vehicle Communications Interface Module (VCIM) X3 (UE1)


Object Number: 1710974  Size: CH

Connector Part Information

  • OEM: 15431359
  • Service: See Catalog
  • Description: 16-Way F Micro-Pack 100A Series (GY)

Terminal Part Information

  • Pins: 2, 4-5
  • Terminal/Tray: 175266-5/15
  • Core/Insulation Crimp: Pins 2, 4 - J/J
  • Core/Insulation Crimp: Pins 5 - K/K
  • Release Tool/Test Probe: 15315247/J-35616-16 (L-GN)

Vehicle Communications Interface Module (VCIM) X3 (UE1)

Pin

Wire

Circuit

Function

1

--

--

Not Used

2

0.35 PK

5149

Voice Recognition Audio Signal

3

--

--

Not Used

4

0.35 PK/BK

5152

Voice Recognition Audio Low Reference

5

0.5 BARE

1792

Drain Wire

6-16

--

--

Not Used

Wheel Speed Sensor (WSS) - Left Front


Object Number: 537107  Size: CH

Connector Part Information

  • OEM: 12052644
  • Service: See Catalog
  • Description: 2-Way F Metri-Pack 150 Series Sealed (GY)

Terminal Part Information

  • Terminal/Tray: See Terminal Repair Kit
  • Core/Insulation Crimp: See Terminal Repair Kit
  • Release Tool/Test Probe: See Terminal Repair Kit

Wheel Speed Sensor (WSS) - Left Front

Pin

Wire

Circuit

Function

A

0.5 WH

830

Left Front Wheel Speed Sensor Signal

B

0.5 BK

7064

Left Front Wheel Speed Sensor Supply Voltage

Wheel Speed Sensor (WSS) - Left Rear


Object Number: 605500  Size: CH

Connector Part Information

  • OEM: 12162343
  • Service: 12162343
  • Description: 2-Way M Metri-Pack 150 Series Sealed (GY)

Terminal Part Information

  • Terminal/Tray: 12045773/2
  • Core/Insulation Crimp: E/1
  • Release Tool/Test Probe: 12094429/J-35616-3 (GY)

Wheel Speed Sensor (WSS) - Left Rear

Pin

Wire

Circuit

Function

A

0.5 TN

884

Left Rear Wheel Speed Sensor Signal

B

0.5 GY/BK

7127

Wheel Speed Sensor Supply Voltage Left Rear

Wheel Speed Sensor (WSS) - Right Front


Object Number: 537107  Size: CH

Connector Part Information

  • OEM: 12052644
  • Service: See Catalog
  • Description: 2-Way F Metri-Pack 150 Series Sealed (GY)

Terminal Part Information

  • Terminal/Tray: See Terminal Repair Kit
  • Core/Insulation Crimp: See Terminal Repair Kit
  • Release Tool/Test Probe: See Terminal Repair Kit

Wheel Speed Sensor (WSS) - Right Front

Pin

Wire

Circuit

Function

A

0.5 WH

872

Right Front Wheel Speed Sensor Signal

B

0.5 BK

7065

Right Front Wheel Speed Sensor Supply Voltage

Wheel Speed Sensor (WSS) - Right Rear


Object Number: 605500  Size: CH

Connector Part Information

  • OEM: 12162343
  • Service: 12162343
  • Description: 2-Way M Metri-Pack 150 Series Sealed (GY)

Terminal Part Information

  • Terminal/Tray: 12045773/2
  • Core/Insulation Crimp: E/1
  • Release Tool/Test Probe: 12094429/J-35616-3 (GY)

Wheel Speed Sensor (WSS) - Right Rear

Pin

Wire

Circuit

Function

A

0.5 BN

882

Right Rear Wheel Speed Sensor Signal

B

0.5 GY/BK

7128

Wheel Speed Sensor Supply Voltage Right Rear

Window Motor - Driver


Object Number: 1891421  Size: CH

Connector Part Information

  • OEM: 15386517
  • Service: See Catalog
  • Description: 2-Way F 070 SWP Sealed (WH)

Terminal Part Information

  • Terminal/Tray: 7116-1472/12
  • Core/Insulation Crimp: 2/5
  • Release Tool/Test Probe: 12094429/J-35616-33 (YE)

Window Motor - Driver

Pin

Wire

Circuit

Function

1

1 D-BU

164

Power Window Motor Left Front Up Control

2

1 BN

165

Power Window Motor Left Front Down Control

Window Motor - Left Rear


Object Number: 1962074  Size: CH

Connector Part Information

  • OEM: 13524077
  • Service: See Catalog
  • Description: 2-Way F 250 Sealed (BK)

Terminal Part Information

  • Terminal/Tray: See Terminal Repair Kit
  • Core/Insulation Crimp: See Terminal Repair Kit
  • Release Tool/Test Probe: See Terminal Repair Kit

Window Motor - Left Rear

Pin

Wire

Circuit

Function

1

2 D-BU

668

Power Window Motor Left Rear Up Control

2

2 BN

669

Power Window Motor Left Rear Down Control

Window Motor - Passenger


Object Number: 1891421  Size: CH

Connector Part Information

  • OEM: 15386517
  • Service: See Catalog
  • Description: 2-Way F 070 SWP Sealed (WH)

Terminal Part Information

  • Terminal/Tray: 7116-1472/12
  • Core/Insulation Crimp: C/5
  • Release Tool/Test Probe: 12094429/J-35616-33 (YE)

Window Motor - Passenger

Pin

Wire

Circuit

Function

1

2 D-BU

666

Power Window Motor Right Front Up Control

2

2 BN

667

Power Window Motor Right Front Down Control

Window Motor - Right Rear


Object Number: 1962074  Size: CH

Connector Part Information

  • OEM: 13524077
  • Service: See Catalog
  • Description: 2-Way F 250 Sealed (BK)

Terminal Part Information

  • Terminal/Tray: See Terminal Repair Kit
  • Core/Insulation Crimp: See Terminal Repair Kit
  • Release Tool/Test Probe: See Terminal Repair Kit

Window Motor - Right Rear

Pin

Wire

Circuit

Function

1

2 D-BU

670

Power Window Motor Right Rear Up Control

2

2 BN

671

Power Window Motor Right Rear Down Control

Window Switch - Driver


Object Number: 1963314  Size: CH

Connector Part Information

  • OEM: 15326953
  • Service: See Catalog
  • Description: 16-Way F GT 280 (BK)

Terminal Part Information

  • Pins: B-D, F-H, P-S
  • Terminal/Tray: 15304713/19
  • Core/Insulation Crimp: 4/4
  • Release Tool/Test Probe: 15315247/J-35616-4A (PU)
  • Pins: J-M
  • Terminal/Tray: 15304711/8
  • Core/Insulation Crimp: 2/A
  • Release Tool/Test Probe: 15315247/J-35616-4A (PU)

Window Switch - Driver

Pin

Wire

Circuit

Function

A

--

--

Not Used

B

2 PU

169

Power Window Master Switch Left Rear Down Signal

C

2 D-GN

168

Power Window Master Switch Left Rear Up Signal

D

2 PU

171

Power Window Master Switch Right Rear Down Signal

E

--

--

Not Used

F

2 L-GN

170

Power Window Master Switch Right Rear Up Signal

G

2 YE

743

Accessory Voltage

H

2 D-BU

1307

Power Window Master Switch Lockout Signal

J

1 BN

165

Power Window Motor Left Front Down Control

K

1 YE

643

Accessory Voltage

L

--

--

Not Used

M

1 D-BU

164

Power Window Motor Left Front Up Control

N

--

--

Not Used

P

2 BK

450

Ground

R

2 TN

167

Power Window Master Switch Right Front Down Signal

S

2 L-BU

166

Power Window Master Switch Right Front Up Signal

Window Switch - Left Rear


Object Number: 655835  Size: CH

Connector Part Information

  • OEM: 15326925
  • Service: See Catalog
  • Description: 8-Way F GT 280 Series, Sealed (BK)

Terminal Part Information

  • Pins: A-B, D-E, H
  • Terminal/Tray: 15304713/19
  • Core/Insulation Crimp: 4/4
  • Release Tool/Test Probe: 15315247/J-35616-4A (PU)
  • Pins: C
  • Terminal/Tray: 15304711/8
  • Core/Insulation Crimp: E/A
  • Release Tool/Test Probe: 15315247/J-35616-4A (PU)

Window Switch - Left Rear

Pin

Wire

Circuit

Function

A

2 D-GN

168

Power Window Master Switch Left Rear Up Signal

B

2 D-BU

1307

Power Window Master Switch Lockout Signal

C

0.35 BK

650

Ground

D

2 PU

169

Power Window Master Switch Left Rear Down Signal

E

2 D-BU

668

Power Window Motor Left Rear Up Control

F-G

--

--

Not Used

H

2 BN

669

Power Window Motor Left Rear Down Control

Window Switch - Passenger


Object Number: 655835  Size: CH

Connector Part Information

  • OEM: 15326925
  • Service: See Catalog
  • Description: 8-Way F GT 280 Series, Sealed (BK)

Terminal Part Information

  • Pins: A-B, D-E, H
  • Terminal/Tray: 15304713/19
  • Core/Insulation Crimp: 4/4
  • Release Tool/Test Probe: 15315247/J-35616-4A (PU)
  • Pins: C
  • Terminal/Tray: 15304711/8
  • Core/Insulation Crimp: E/A
  • Release Tool/Test Probe: 15315247/J-35616-4A (PU)

Window Switch - Passenger

Pin

Wire

Circuit

Function

A

2 L-BU

166

Power Window Master Switch Right Front Up Signal

B

2 YE

743

Accessory Voltage

C

0.35 BK

450

Ground

D

2 TN

167

Power Window Master Switch Right Front Down Signal

E

2 D-BU

666

Power Window Motor Right Front Up Control

F-G

--

--

Not Used

H

2 BN

667

Power Window Motor Right Front Down Control

Window Switch - Right Rear


Object Number: 655835  Size: CH

Connector Part Information

  • OEM: 15326925
  • Service: See Catalog
  • Description: 8-Way F GT 280 Series, Sealed (BK)

Terminal Part Information

  • Pins: A-B, D-E, H
  • Terminal/Tray: 15304713/19
  • Core/Insulation Crimp: 4/4
  • Release Tool/Test Probe: 15315247/J-35616-4A (PU)
  • Pins: C
  • Terminal/Tray: 15304711/8
  • Core/Insulation Crimp: E/A
  • Release Tool/Test Probe: 15315247/J-35616-4A (PU)

Window Switch - Right Rear

Pin

Wire

Circuit

Function

A

2 L-GN

170

Power Window Master Switch Right Rear Up Signal

B

2 D-BU

1307

Power Window Master Switch Lockout Signal

C

0.35 BK

550

Ground

D

2 PU

171

Power Window Master Switch Right Rear Down Signal

E

2 D-BU

670

Power Window Motor Right Rear Up Control

F-G

--

--

Not Used

H

2 BN

671

Power Window Motor Right Rear Down Control

Windshield Outside Moisture Sensor (CE1)


Object Number: 722341  Size: CH

Connector Part Information

  • OEM: 15324252
  • Service: 15324252
  • Description: 4-Way F Micro-Fit Series (BK)

Terminal Part Information

  • Terminal/Tray: 43030-0010/23
  • Core/Insulation Crimp: H/H
  • Release Tool/Test Probe: J-38125-213/J-35616-64B (L-BU)

Windshield Outside Moisture Sensor (CE1)

Pin

Wire

Circuit

Function

1

0.35 L-GN

482

Outside Moisture Sensor Signal 2

2

0.35 TN

481

Outside Moisture Sensor Signal 1

3

0.35 BK

650

Ground

4

0.35 BN

4

Accessory Voltage

Windshield Washer Fluid Level Switch


Object Number: 1243632  Size: CH

Connector Part Information

  • OEM: 15336195
  • Service: 15336195
  • Description: 2-Way F GT 150 Series Sealed (BK)

Terminal Part Information

  • Terminal/Tray: 12191819/8
  • Core/Insulation Crimp: E/A
  • Release Tool/Test Probe: 15315247/J-35616-2A (GY)

Windshield Washer Fluid Level Switch

Pin

Wire

Circuit

Function

1

0.35 BK

150

Ground

2

0.35 TN/WH

99

Windshield Washer Fluid Level Signal

Windshield Washer Fluid Pump - Front


Object Number: 1977742  Size: CH

Connector Part Information

  • OEM: 15416991
  • Service: See Catalog
  • Description: 2-Way F 1.5, Sealed (BK)

Terminal Part Information

  • Terminal/Tray: 7116-4102-08/9
  • Core/Insulation Crimp: E/1
  • Release Tool/Test Probe: 12094430/J-35616-2A (GY)

Windshield Washer Fluid Pump - Front

Pin

Wire

Circuit

Function

1

0.5 OG

228

Windshield Washer Pump Control

2

0.5 BK

150

Ground

Windshield Washer Fluid Pump - Rear


Object Number: 1977742  Size: CH

Connector Part Information

  • OEM: 15416991
  • Service: See Catalog
  • Description: 2-Way F 1.5, Sealed (BK)

Terminal Part Information

  • Terminal/Tray: 7116-4103-08/9
  • Core/Insulation Crimp: E/1
  • Release Tool/Test Probe: 12094430/J-35616-2A (GY)

Windshield Washer Fluid Pump - Rear

Pin

Wire

Circuit

Function

1

0.8 D-GN

392

Rear Window Washer Pump Control

2

0.8 BK

150

Ground

Windshield Wiper Motor


Object Number: 1962092  Size: CH

Connector Part Information

  • OEM: 13579273
  • Service: See Catalog
  • Description: 4-Way F 2.8 MCP-E, Sealed (BK)

Terminal Part Information

  • Terminal/Tray: See Terminal Repair Kit
  • Core/Insulation Crimp: See Terminal Repair Kit
  • Release Tool/Test Probe: See Terminal Repair Kit

Windshield Wiper Motor

Pin

Wire

Circuit

Function

1

0.5 YE

196

Windshield Wiper Motor Park Switch Signal

2

1 BK

650

Ground

3

1 PU

92

Windshield Wiper Motor High Speed

4

1 D-GN

95

Windshield Washer Switch Signal

Windshield Wiper/Washer Switch - Front


Object Number: 646374  Size: CH

Connector Part Information

  • OEM: 15332145
  • Service: 15332145
  • Description: 8-Way F GT 150 Series (BK)

Terminal Part Information

  • Terminal/Tray: 12191812/19
  • Core/Insulation Crimp: E/C
  • Release Tool/Test Probe: 15315247/J-35616-2A (GY)

Windshield Wiper/Washer Switch - Front

Pin

Wire

Circuit

Function

A

0.35 PK

94

Windshield Washer Switch Signal

B

0.35 TN/BK

6009

Windshield Wiper Switch Low Reference

C

0.35 L-GN

1715

Windshield Wiper Switch High Signal

D

0.35 L-BU

1714

Windshield Wiper Switch Low Signal

E-H

--

--

Not Used

Yaw Rate and Lateral Accelerometer Sensor


Object Number: 831393  Size: CH

Connector Part Information

  • OEM: 10750569
  • Service: 88953345
  • Description: 6-Way F 0.64 MQS, Sealed (GY)

Terminal Part Information

  • Terminal/Tray: 962885-5/15
  • Core/Insulation Crimp: 6/6
  • Release Tool/Test Probe: 12094429/J-35616-64B (L-BU)

Yaw Rate and Lateral Accelerometer Sensor

Pin

Wire

Circuit

Function

1

0.5 WH/BK

6436

CAN Bus Low Terminated Serial Data

1

0.5 L-GN/BK

6432

CAN Bus Low Serial Data

2

0.5 BN/WH

6437

CAN Bus High Terminated Serial Data

2

0.5 TN/WH

6433

CAN Bus High Serial Data

3

0.5 GY

6044

Steering Angle Sensor 5-Volt Reference

4

--

--

Not Used

5

0.5 OG/BK

6045

Steering Angle Sensor Low Reference

6

--

--

Not Used

Connector 1: 1-2 Shift Solenoid (1-2 SS) Valve (ME7/MN5)
Connector 2: 2-3 Shift Solenoid (2-3 SS) Valve (ME7/MN5)
Connector 3: 4-3 Shift Solenoid (4-3 SS) Valve (ME7)
Connector 4: A/C Compressor (HP5)
Connector 5: A/C Compressor Clutch (HP7)
Connector 6: A/C Compressor Clutch (without HP7)
Connector 7: A/C Refrigerant Pressure Sensor
Connector 8: Accelerator Pedal Position (APP) Sensor (HP5)
Connector 9: Accelerator Pedal Position (APP) Sensor (without HP5)
Connector 10: Accent Lamp - Driver Seat (C2B)
Connector 11: Accent Lamp - Passenger Seat (C2B)
Connector 12: Accessory AC/DC Power Control Module X1 (HP5)
Connector 13: Accessory AC/DC Power Control Module X2 (HP5)
Connector 14: Accessory DC Power Control Module X1 (HP5)
Connector 15: Accessory DC Power Control Module X2 (HP5)
Connector 16: Accessory DC Power Control Module X3 (HP5)
Connector 17: Accessory DC Power Control Module X4 (HP5)
Connector 18: Accessory Power Outlet - 110V AC (HP5)
Connector 19: Accessory Power Outlet - Center Console
Connector 20: Accessory Power Outlet -- Front
Connector 21: Accessory Power Outlet - Rear
Connector 22: Air Temperature Actuator (C67)
Connector 23: Air Temperature Actuator (C68)
Connector 24: Air Temperature Sensor Assembly - Inside (C68)
Connector 25: Air Temperature Sensor - Lower (C68)
Connector 26: Air Temperature Sensor - Upper (C68)
Connector 27: Ambient Air Temperature Sensor (C68)
Connector 28: Ambient Light Sensor (C67)
Connector 29: Ambient Light/Sunload Sensor (C68)
Connector 30: Audio Amplifier X1 (U61)
Connector 31: Audio Amplifier X2 (U61)
Connector 32: Audio Amplifier X3 (U61)
Connector 33: Automatic Transmission Auxiliary Fluid Pump (HP5)
Connector 34: Automatic Transmission Auxiliary Fluid Pump (HP7)
Connector 35: Automatic Transmission Auxiliary Fluid Pump Control Module X1 (HP5)
Connector 36: Automatic Transmission Auxiliary Fluid Pump Control Module X2 (HP5)
Connector 37: Automatic Transmission Auxiliary Fluid Pump Control Module X3 (HP5)
Connector 38: Automatic Transmission Auxiliary Fluid Pump Control Module (HP7)
Connector 39: Automatic Transmission Fluid Pressure (TFP) Manual Valve Position Switch (ME7/MN5)
Connector 40: Automatic Transmission Fluid Pressure (TFP) Manual Valve Position Switch (MK3)
Connector 41: Automatic Transmission Input Shaft Speed (ISS) Sensor (ME7/MN5)
Connector 42: Automatic Transmission Input Shaft Speed (ISS) Sensor (MK3)
Connector 43: Automatic Transmission Internal Mode Switch (IMS) (MH2/MH4)
Connector 44: Automatic Transmission Internal Mode Switch (IMS) (MK3)
Connector 45: Automatic Transmission Output Shaft Speed (OSS) Sensor (ME7/MH2/MH4/MN5)
Connector 46: Automatic Transmission Output Shaft Speed (OSS) Sensor (MK3)
Connector 47: Automatic Transmission Shift Lever
Connector 48: Automatic Transmission Shift Lever Position Indicator
Connector 49: Backup Lamp - Left
Connector 50: Backup Lamp - Right
Connector 51: Battery Current Sensor - 42 Volt (HP7)
Connector 52: Battery Current Sensor
Connector 53: Battery - (without HP7)
Connector 54: Battery - X1 (HP7)
Connector 55: Battery - X2 (HP7)
Connector 56: Battery (+) (Battery Positive Cable) (HP5)
Connector 57: Battery + (without HP7)
Connector 58: Battery + X1 (HP7)
Connector 59: Battery + X2 (HP7)
Connector 60: Battery Module 1 (HP5)
Connector 61: Battery Module 21 (HP5)
Connector 62: Battery Module 22 (HP5)
Connector 63: Battery Module 40 (HP5)
Connector 64: Blower Motor
Connector 65: Blower Motor Control Module X1
Connector 66: Blower Motor Control Module X2
Connector 67: Body Control Module (BCM) X1
Connector 68: Body Control Module (BCM) X2
Connector 69: Body Control Module (BCM) X3
Connector 70: Body Control Module (BCM) X4
Connector 71: Body Control Module (BCM) X5
Connector 72: Body Control Module (BCM) X6
Connector 73: Body Control Module (BCM) X7
Connector 74: Brake Booster Vacuum Sensor (HP7)
Connector 75: Brake Fluid Level Switch (HP7)
Connector 76: Brake Fluid Level Switch (without HP7)
Connector 77: Brake Fluid Pressure Sensor (HP7)
Connector 78: Brake Master Cylinder Pressure Sensor (HP5)
Connector 79: Brake Pedal Position Sensor (HP5)
Connector 80: Camshaft Position (CMP) Actuator Solenoid Valve - Bank 1 Exhaust (LCS)
Connector 81: Camshaft Position (CMP) Actuator Solenoid Valve - Bank 1 Exhaust (LY7)
Connector 82: Camshaft Position (CMP) Actuator Solenoid Valve - Bank 1 Intake (LCS)
Connector 83: Camshaft Position (CMP) Actuator Solenoid Valve - Bank 1 Intake (LY7)
Connector 84: Camshaft Position (CMP) Actuator Solenoid Valve - Bank 2 Exhaust (LCS)
Connector 85: Camshaft Position (CMP) Actuator Solenoid Valve - Bank 2 Exhaust (LY7)
Connector 86: Camshaft Position (CMP) Actuator Solenoid Valve - Bank 2 Intake (LCS)
Connector 87: Camshaft Position (CMP) Actuator Solenoid Valve - Bank 2 Intake (LY7)
Connector 88: Camshaft Position (CMP) Actuator Solenoid Valve - Exhaust (LAT/LE5)
Connector 89: Camshaft Position (CMP) Actuator Solenoid Valve - Intake (LAT/LE5)
Connector 90: Camshaft Position (CMP) Actuator Solenoid Valve (LZ4)
Connector 91: Camshaft Position (CMP) Sensor - Bank 1 Exhaust (LCS)
Connector 92: Camshaft Position (CMP) Sensor - Bank 1 Exhaust (LY7)
Connector 93: Camshaft Position (CMP) Sensor - Bank 1 Intake (LCS)
Connector 94: Camshaft Position (CMP) Sensor - Bank 1 Intake (LY7)
Connector 95: Camshaft Position (CMP) Sensor - Bank 2 Exhaust (LCS)
Connector 96: Camshaft Position (CMP) Sensor - Bank 2 Exhaust (LY7)
Connector 97: Camshaft Position (CMP) Sensor - Bank 2 Intake (LCS)
Connector 98: Camshaft Position (CMP) Sensor - Bank 2 Intake (LY7)
Connector 99: Camshaft Position (CMP) Sensor - Exhaust (LAT/LE5)
Connector 100: Camshaft Position (CMP) Sensor - Intake (LAT/LE5)
Connector 101: Camshaft Position (CMP) Sensor (LZ4)
Connector 102: Cellular Telephone Microphone (UE1)
Connector 103: Center High Mounted Stop Lamp (CHMSL)
Connector 104: Courtesy Lamp - Left Front Door
Connector 105: Courtesy Lamp - Right Front Door
Connector 106: Courtesy/Reading Lamp - Front
Connector 107: Courtesy/Reading Lamp
Connector 108: Crankshaft Position (CKP) Sensor (LAT)
Connector 109: Crankshaft Position (CKP) Sensor (LCS)
Connector 110: Crankshaft Position (CKP) Sensor (LE5)
Connector 111: Crankshaft Position (CKP) Sensor (LY7)
Connector 112: Crankshaft Position (CKP) Sensor (LZ4)
Connector 113: Data Link Connector (DLC)
Connector 114: Data Link Resistor 1 (HP5)
Connector 115: Data Link Resistor 2 (HP5)
Connector 116: Digital Radio Receiver (U2K)
Connector 117: Door Latch - Driver
Connector 118: Door Latch - Left Rear
Connector 119: Door Latch - Passenger
Connector 120: Door Latch - Right Rear
Connector 121: Door Lock Switch - Driver
Connector 122: Drive Motor Generator Battery Cooling System Air Inlet Temperature Sensor (HP5)
Connector 123: Drive Motor Generator Battery Cooling System Coolant Pump(HP5)
Connector 124: Drive Motor Generator Battery Cooling System Coolant Temperature Sensor (HP5)
Connector 125: Drive Motor Generator Battery Cooling System Cooling Fan (HP5)
Connector 126: Drive Motor Generator Battery High Voltage Manual Disconnect Lever X1 (HP5)
Connector 127: Drive Motor Generator Battery High Voltage Manual Disconnect Lever X2 (HP5)
Connector 128: Drive Motor Generator Battery Negative High Voltage Contactor Relay X1 (HP5)
Connector 129: Drive Motor Generator Battery Negative High Voltage Contactor Relay X2 (HP5)
Connector 130: Drive Motor Generator Battery Positive High Voltage Contactor Relay X1 (HP5)
Connector 131: Drive Motor Generator Battery Positive High Voltage Contactor Relay X2 (HP5)
Connector 132: Drive Motor Generator Battery (+) (Drive Motor Battery Positive and Negative Cable Assembly) (HP5)
Connector 133: Drive Motor Generator Battery (-) (Drive Motor Battery Positive and Negative Cable Assembly) (HP5)
Connector 134: Drive Motor Generator Battery Control Module X1 (HP5)
Connector 135: Drive Motor Generator Battery Control Module X2 (HP5)
Connector 136: Drive Motor Generator Battery Main Contactor Control Module X4 (HP5)
Connector 137: Drive Motor Generator Battery Main Contactor Control Module X1(HP5)
Connector 138: Drive Motor Generator Battery Main Contactor Control Module X2 (HP5)
Connector 139: Drive Motor Generator Battery Main Contactor Control Module X3 (HP5)
Connector 140: Drive Motor Generator Battery Main Contactor Control Module X4 (HP5)
Connector 141: Drive Motor Generator Battery Main Contactor Control Module X5 (HP5)
Connector 142: Drive Motor Generator Battery Main Contactor Control Module X6 (HP5)
Connector 143: Drive Motor Generator Battery Negative High Voltage Contactor Relay (HP5)
Connector 144: Drive Motor Generator Battery Positive High Voltage Contactor Relay (HP5)
Connector 145: Drive Motor Battery Cable Terminal Extension Cover (HP5)
Connector 146: Drive Motor Generator Power Inverter Module X1 (HP5)
Connector 147: Drive Motor Generator Power Inverter Module X2 (HP5)
Connector 148: Drive Motor Generator Power Inverter Module X3 (HP5)
Connector 149: Drive Motor Generator Power Inverter Module X4 (HP5)
Connector 150: Drive Motor Generator Power Inverter Module X5 (HP5)
Connector 151: Drive Motor Generator Power Inverter Module X6 (HP5)
Connector 152: Drive Motor Generator Power Inverter Module X7 (HP5)
Connector 153: Drive Motor Generator Power Inverter Module X8 (HP5)
Connector 154: Drive Motor Generator Power Inverter Module X9 (HP5)
Connector 155: Drive Motor Generator Power Inverter Module X10 (HP5)
Connector 156: Drive Motor Generator Power Inverter Module X11 (HP5)
Connector 157: Drive Motor Generator Power Inverter Module X12 (HP5)
Connector 158: Drive Motor Generator Power Inverter Module X13 (HP5)
Connector 159: Drive Motor Generator Power Inverter Module X14 (HP5)
Connector 160: Drive Motor Generator Power Inverter Module X15 (HP5)
Connector 161: Drive Motor Generator Power Inverter Module Coolant Pump 1 (HP5)
Connector 162: Drive Motor Generator Power Inverter Module Coolant Pump 2 (HP5)
Connector 163: Drive Motor Generator Power Inverter Module Temperature Sensor (HP5)
Connector 164: Drive Motor Generator Power Inverter Module Cover (HP5)
Connector 165: Driver Information Center (DIC)
Connector 166: Electric Power Steering (EPS) Module X1 (LAT/LE5)
Connector 167: Electric Power Steering (EPS) Module X1 (LCS)
Connector 168: Electric Power Steering (EPS) Module X2 (LAT/LE5)
Connector 169: Electric Power Steering (EPS) Module X2 (LCS)
Connector 170: Electric Power Steering (EPS) Module X3 (LAT/LE5)
Connector 171: Electric Power Steering (EPS) Module X4 (LAT/LE5)
Connector 172: Electric Power Steering (EPS) Module X5 (LAT/LE5)
Connector 173: Electronic Brake Control Module (EBCM) (HP5)
Connector 174: Electronic Brake Control Module (EBCM) (- HP5)
Connector 175: Electronic Compass Module (RCM)
Connector 176: Engine Control Module (ECM) X1 (LAT)
Connector 177: Engine Control Module (ECM) X1 (LCS)
Connector 178: Engine Control Module (ECM) X1 (LE5)
Connector 179: Engine Control Module (ECM) X1 (LY7)
Connector 180: Engine Control Module (ECM) X1 (LZ4)
Connector 181: Engine Control Module (ECM) X2 (LAT)
Connector 182: Engine Control Module (ECM) X2 (LCS)
Connector 183: Engine Control Module (ECM) X2 (LE5)
Connector 184: Engine Control Module (ECM) X2 (LY7)
Connector 185: Engine Control Module (ECM) X2 (LZ4)
Connector 186: Engine Control Module (ECM) X3 (LAT)
Connector 187: Engine Control Module (ECM) X3 (LY7)
Connector 188: Engine Coolant Temperature (ECT) Sensor (LAT/LE5/LZ4)
Connector 189: Engine Coolant Temperature (ECT) Sensor (LCS/LY7)
Connector 190: Engine Cooling Fan (LAT)
Connector 191: Engine Cooling Fan Control Module X1 (LCS)
Connector 192: Engine Cooling Fan Control Module X2 (LCS)
Connector 193: Engine Cooling Fan Control Module X3 (LCS)
Connector 194: Engine Cooling Fan - Left (LCS)
Connector 195: Engine Cooling Fan - Left (LE5/LY7/LZ4)
Connector 196: Engine Cooling Fan - Right (LCS)
Connector 197: Engine Cooling Fan - Right (LE5/LY7/LZ4)
Connector 198: Engine Cooling Fan Resistor (LAT)
Connector 199: Engine Oil Pressure (EOP) Sensor (LCS/LZ4)
Connector 200: Engine Oil Pressure (EOP) Switch (LAT/LE5)
Connector 201: Engine Oil Pressure (EOP) Switch (LY7)
Connector 202: Evaporative Emissions (EVAP) Canister Purge Solenoid Valve (LAT/LE5/LZ4)
Connector 203: Evaporative Emissions (EVAP) Canister Purge Solenoid Valve (LCS/LY7)
Connector 204: Evaporative Emissions (EVAP) Canister Vent Solenoid Valve
Connector 205: Fog Lamp - Left Front (T37)
Connector 206: Fog Lamp - Left Front (T96)
Connector 207: Fog Lamp - Right Front (T37)
Connector 208: Fog Lamp - Right Front (T96)
Connector 209: Fuel Door Release Actuator
Connector 210: Fuel Injector 1 (LAT/LE5)
Connector 211: Fuel Injector 1 (LCS)
Connector 212: Fuel Injector 1 (LY7)
Connector 213: Fuel Injector 1 (LZ4)
Connector 214: Fuel Injector 2 (LAT/LE5)
Connector 215: Fuel Injector 2 (LCS)
Connector 216: Fuel Injector 2 (LY7)
Connector 217: Fuel Injector 2 (LZ4)
Connector 218: Fuel Injector 3 (LAT/LE5)
Connector 219: Fuel Injector 3 (LCS)
Connector 220: Fuel Injector 3 (LY7)
Connector 221: Fuel Injector 3 (LZ4)
Connector 222: Fuel Injector 4 (LAT/LE5)
Connector 223: Fuel Injector 4 (LCS)
Connector 224: Fuel Injector 4 (LY7)
Connector 225: Fuel Injector 4 (LZ4)
Connector 226: Fuel Injector 5 (LCS)
Connector 227: Fuel Injector 5 (LY7)
Connector 228: Fuel Injector 5 (LZ4)
Connector 229: Fuel Injector 6 (LCS)
Connector 230: Fuel Injector 6 (LY7)
Connector 231: Fuel Injector 6 (LZ4)
Connector 232: Fuel Level Sensor - Primary/Fuel Pump Motor
Connector 233: Fuel Level Sensor - Secondary
Connector 234: Fuel Pressure Sensor
Connector 235: Fuel Pump Flow Control Module
Connector 236: Fuel Rail Pressure (FRP) Sensor (LCS)
Connector 237: Fuel Tank Pressure (FTP) Sensor
Connector 238: Garage Door Opener (GDO) (UG1)
Connector 239: Generator X1(LE5/LY7/LZ4)
Connector 240: Generator X2 (LE5/LY7/LZ4)
Connector 241: Generator Battery Assembly X1 (HP7)
Connector 242: Generator Battery Assembly X2 (HP7)
Connector 243: Generator Battery 1 X1 (HP7)
Connector 244: Generator Battery 1 X2 (HP7)
Connector 245: Generator Battery 2 X1 (HP7)
Connector 246: Generator Battery 2 X2 (HP7)
Connector 247: Generator Battery 3 X1 (HP7)
Connector 248: Generator Battery 3 X2 (HP7)
Connector 249: Generator Battery Assembly Disconnect Switch (HP7)
Connector 250: Generator Battery Disconnect Control Module X1 (HP7)
Connector 251: Generator Battery Disconnect Control Module X2 (HP7)
Connector 252: Generator Battery Main Contactor Relay X1 (HP7)
Connector 253: Generator Battery Main Contactor Relay X2 (HP7)
Connector 254: Generator Battery Main Contactor Relay X3 (HP7)
Connector 255: Generator Battery Temperature Sensor 1A/B (HP7)
Connector 256: Generator Battery Temperature Sensor 2A/B (HP7)
Connector 257: Generator Battery Temperature Sensor 3A/B (HP7)
Connector 258: Generator Battery Vent Fan (HP7)
Connector 259: Headlamp - Left High Beam
Connector 260: Headlamp - Left Low Beam
Connector 261: Headlamp - Right High Beam
Connector 262: Headlamp - Right Low Beam
Connector 263: Headlamp Switch
Connector 264: Heated Oxygen Sensor (HO2S) 1 (LAT/LE5)
Connector 265: Heated Oxygen Sensor (HO2S) 2 (LAT/LE5)
Connector 266: Heated Oxygen Sensor (HO2S) Bank 1 Sensor 1 (LCS)
Connector 267: Heated Oxygen Sensor (HO2S) Bank 1 Sensor 1 (LY7/LZ4)
Connector 268: Heated Oxygen Sensor (HO2S) Bank 1 Sensor 2 (LCS/LY7)
Connector 269: Heated Oxygen Sensor (HO2S) Bank 1 Sensor 2 (LZ4)
Connector 270: Heated Oxygen Sensor (HO2S) Bank 2 Sensor 1 (LCS)
Connector 271: Heated Oxygen Sensor (HO2S) Bank 2 Sensor 1 (LY7/LZ4)
Connector 272: Heated Oxygen Sensor (HO2S) Bank 2 Sensor 2 (LCS/LY7)
Connector 273: Heated Oxygen Sensor (HO2S) Bank 2 Sensor 2 (LZ4)
Connector 274: Heated Seat Control Module - Driver (KA1)
Connector 275: Heated Seat Control Module - Passenger (KA1)
Connector 276: Heated Seat Element - Driver X1 (KA1)
Connector 277: Heated Seat Element - Driver Back X2 (KA1)
Connector 278: Heated Seat Element - Passenger X1 (KA1)
Connector 279: Heated Seat Back Element - Passenger X2 (KA1)
Connector 280: Heated Seat Switch - Driver (KA1)
Connector 281: Heated Seat Switch - Passenger (KA1)
Connector 282: Heated Washer Nozzle - Left (XA7)
Connector 283: Heated Washer Nozzle - Right (XA7)
Connector 284: Heater Coolant Pump (HP5)
Connector 285: Heater Coolant Pump (HP7)
Connector 286: High Pressure Fuel Pump (LCS)
Connector 287: High Voltage Circuit Impact Detection Sensor - Front (HP5)
Connector 288: High Voltage Circuit Impact Detection Sensor - Rear (HP5)
Connector 289: Hill Hold Brake Delay Valve (HP7)
Connector 290: Hood Ajar Switch (AP3/HP5/HP7)
Connector 291: Horn - Left
Connector 292: Horn - Right
Connector 293: Horn Switch X1
Connector 294: Horn Switch X2
Connector 295: HVAC Control Module X1 (C67)
Connector 296: HVAC Control Module X1 (C68)
Connector 297: HVAC Control Module X2
Connector 298: HVAC Control Module X3 (C67)
Connector 299: HVAC Control Module X3 (C68)
Connector 300: Ignition Coil 1 (LAT/LE5)
Connector 301: Ignition Coil 1 (LCS)
Connector 302: Ignition Coil 1 (LY7)
Connector 303: Ignition Coil 2 (LAT/LE5)
Connector 304: Ignition Coil 2 (LCS)
Connector 305: Ignition Coil 2 (LY7)
Connector 306: Ignition Coil 3 (LAT/LE5)
Connector 307: Ignition Coil 3 (LCS)
Connector 308: Ignition Coil 3 (LY7)
Connector 309: Ignition Coil 4 (LAT/LE5)
Connector 310: Ignition Coil 4 (LCS)
Connector 311: Ignition Coil 4 (LY7)
Connector 312: Ignition Coil 5 (LCS)
Connector 313: Ignition Coil 5 (LY7)
Connector 314: Ignition Coil 6 (LCS)
Connector 315: Ignition Coil 6 (LY7)
Connector 316: Ignition Control Module (ICM) (LZ4)
Connector 317: Ignition Lock Cylinder Control Solenoid (LAT/LE5)
Connector 318: Ignition Switch (LAT/LE5)
Connector 319: Ignition Switch (LCS/LY7/LZ4)
Connector 320: Ignition Switch Lamp (LCS/LY7/LZ4)
Connector 321: Inflatable Restraint Front End Sensor - Left
Connector 322: Inflatable Restraint Front End Sensor - Right
Connector 323: Inflatable Restraint I/P Module
Connector 324: Inflatable Restraint Passenger Presence System (PPS) Module (-APL)
Connector 325: Inflatable Restraint Roof Rail Module - Left
Connector 326: Inflatable Restraint Roof Rail Module - Right
Connector 327: Inflatable Restraint Sensing and Diagnostic Module (SDM) (with APL/ATY)
Connector 328: Inflatable Restraint Sensing and Diagnostic Module (SDM) (without APL/ATY)
Connector 329: Inflatable Restraint Side Impact Module - Left
Connector 330: Inflatable Restraint Side Impact Module - Right (-APL)
Connector 331: Inflatable Restraint Side Impact Sensor (SIS) - Left
Connector 332: Inflatable Restraint Side Impact Sensor (SIS) - Right
Connector 333: Inflatable Restraint Steering Wheel Module X1
Connector 334: Inflatable Restraint Steering Wheel Module X2
Connector 335: Inflatable Restraint Steering Wheel Module Coil X1
Connector 336: Inflatable Restraint Steering Wheel Module Coil X2
Connector 337: Inflatable Restraint Steering Wheel Module Coil X3
Connector 338: Inflatable Restraint Vehicle Rollover Sensor
Connector 339: Inside Rearview Mirror (ISRVM)
Connector 340: Instrument Panel Cluster (IPC)
Connector 341: I/P Compartment Lamp
Connector 342: I/P Compartment Lamp Switch
Connector 343: Knock Sensor (KS) (LAT/LE5)
Connector 344: Knock Sensor 1 (LCS/LZ4)
Connector 345: Knock Sensor 1 (LY7)
Connector 346: Knock Sensor 2 (LCS/LZ4)
Connector 347: Knock Sensor 2 (LY7)
Connector 348: License Lamp - Left
Connector 349: License Lamp - Right
Connector 350: Liftgate Latch Assembly
Connector 351: Liftgate Release Switch
Connector 352: Manifold Absolute Pressure (MAP) Sensor (without LCS)
Connector 353: Marker Lamp - Left Front
Connector 354: Marker Lamp - Left Rear
Connector 355: Marker Lamp - Right Front
Connector 356: Marker Lamp - Right Rear
Connector 357: Mass Air Flow (MAF)/Intake Air Temperature (IAT) Sensor (LAT/LE5)
Connector 358: Mass Air Flow (MAF)/Intake Air Temperature (IAT) Sensor (LCS/LY7/LZ4)
Connector 359: Mode Actuator
Connector 360: Multifunction Switch - I/P
Connector 361: Onstar Button Assembly (UE1)
Connector 362: Outside Rearview Mirror - Driver (DG7)
Connector 363: Outside Rearview Mirror - Passenger (DG7)
Connector 364: Outside Rearview Mirror Switch (DG7)
Connector 365: Park Brake Switch
Connector 366: Park/Neutral Position (PNP) Switch (ME7)
Connector 367: Park/Neutral Position (PNP) Switch (MN5)
Connector 368: Park/Turn Signal Lamp - Left Front
Connector 369: Park/Turn Signal Lamp - Right Front
Connector 370: Pressure Control (PC) Solenoid Valve
Connector 371: Radio Antenna
Connector 372: Radio X1
Connector 373: Radio X2
Connector 374: Radio X4 (U3U)
Connector 375: Rear Compartment Courtesy Lamp - Left
Connector 376: Rear Compartment Courtesy Lamp - Right
Connector 377: Rear Differential Clutch Control Module X1 (AWD)
Connector 378: Rear Differential Clutch Control Module X2 (AWD)
Connector 379: Rear Wheel Drive Module Clutch (AWD)
Connector 380: Rear Window Defogger Grid X1
Connector 381: Rear Window Defogger Grid X2
Connector 382: Rear Window Wiper/Washer Module
Connector 383: Recirculation Actuator
Connector 384: Remote Control Door Lock Receiver (RCDLR) (AP3)
Connector 385: Seat Adjuster Motor Assembly - Driver (AE8)
Connector 386: Seat Adjuster Switch - Driver (AE8)
Connector 387: Seat Belt Buckle Pretensioner - Driver
Connector 388: Seat Belt Buckle Pretensioner - Passenger (-APL)
Connector 389: Seat Belt Retractor Pretensioner - Driver
Connector 390: Seat Belt Retractor Pretensioner - Passenger (-APL)
Connector 391: Seat Belt Switch - Driver
Connector 392: Seat Belt Switch - Passenger (without APL)
Connector 393: Seat Belt Tension Sensor (without APL)
Connector 394: Seat Recline Motor - Driver (AE8)
Connector 395: Secondary Air Injection (AIR) Pump (LE5 with NU6)
Connector 396: Secondary Air Injection (AIR) Pump Relay (LE5 with NU6)
Connector 397: Secondary Air Injection (AIR) Pump Solenoid Relay (LE5 with NU6)
Connector 398: Secondary Air Injection (AIR) Shutoff Valve (LE5 with NU6)
Connector 399: Serial Data Gateway (SDG) Module X1 (HP5)
Connector 400: Serial Data Gateway (SDG) Module X2 (HP5)
Connector 401: Speaker - Center I/P (U61)
Connector 402: Speaker - Left Front
Connector 403: Speaker - Left Front Tweeter
Connector 404: Speaker - Left Rear
Connector 405: Speaker - Left Rear Tweeter (U61)
Connector 406: Speaker - Right Front
Connector 407: Speaker - Right Front Tweeter
Connector 408: Speaker - Right Rear
Connector 409: Speaker - Right Rear Tweeter (U61)
Connector 410: Speaker - Subwoofer (U61)
Connector 411: Starter Generator X1 (HP7)
Connector 412: Starter Generator X2 (HP7)
Connector 413: Starter Generator X3 (HP7)
Connector 414: Starter Generator Control Module (SGCM) X1 (HP7)
Connector 415: Starter Generator Control Module (SGCM) X2 (HP7)
Connector 416: Starter Generator Control Module X3 (HP7)
Connector 417: Starter Generator Control Module X4 (HP7)
Connector 418: Starter Generator Control Module X5
Connector 419: Starter Generator Control Module Coolant Pump (HP7)
Connector 420: Starter Motor X1
Connector 421: Starter Motor X2
Connector 422: Steering Angle Sensor (HP5)
Connector 423: Steering Angle Sensor (HP5)
Connector 424: Steering Angle Sensor (LY7/LZ4)
Connector 425: Steering Wheel Control Switch - Left (UK3)
Connector 426: Steering Wheel Control Switch - Right (UK3)
Connector 427: Stop Lamp Switch (without HP5)
Connector 428: Sunroof Control Module (CF5)
Connector 429: Sunroof Motor (CF5)
Connector 430: Sunroof Switch (CF5)
Connector 431: Sunshade - Left (D61)
Connector 432: Sunshade - Right (D61)
Connector 433: Tail/Stop Lamp - Left
Connector 434: Tail/Stop Lamp - Right
Connector 435: Theft Deterrent Module (TDM)
Connector 436: Throttle Actuator Control (TAC) Module
Connector 437: Torque Converter Clutch (TCC) Pressure Control (PC) Solenoid Valve (ME7/MN5)
Connector 438: Torque Converter Clutch (TCC) Pulse Width Modulation (PWM) Solenoid Valve (ME7/MN5)
Connector 439: Trailer Connector Adapter (V92)
Connector 440: Trailer Connector (V92)
Connector 441: Transmission Control Module (TCM) (ME7/MN5)
Connector 442: Transmission Control Module (MH2/MH4)
Connector 443: Transmission Control Module X1 (MK3)
Connector 444: Transmission Control Module X2 (MK3)
Connector 445: Transmission Control Module X3 (MK3)
Connector 446: Transmission Control Module X4 (MK3)
Connector 447: Turn Signal Lamp - Left Rear
Connector 448: Turn Signal Lamp - Right Rear
Connector 449: Turn Signal Repeater Lamp - Left
Connector 450: Turn Signal Repeater Lamp - Right
Connector 451: Turn Signal/Multifunction Switch (LAT/LE5)
Connector 452: Turn Signal/Multifunction Switch (LCS/LY7/LZ4)
Connector 453: Vehicle Communication Interface Module (VCIM) Battery (UE1)
Connector 454: Vehicle Communications Interface Module (VCIM) X1 (UE1)
Connector 455: Vehicle Communications Interface Module (VCIM) X2 (UE1)
Connector 456: Vehicle Communications Interface Module (VCIM) X3 (UE1)
Connector 457: Wheel Speed Sensor (WSS) - Left Front
Connector 458: Wheel Speed Sensor (WSS) - Left Rear
Connector 459: Wheel Speed Sensor (WSS) - Right Front
Connector 460: Wheel Speed Sensor (WSS) - Right Rear
Connector 461: Window Motor - Driver
Connector 462: Window Motor - Left Rear
Connector 463: Window Motor - Passenger
Connector 464: Window Motor - Right Rear
Connector 465: Window Switch - Driver
Connector 466: Window Switch - Left Rear
Connector 467: Window Switch - Passenger
Connector 468: Window Switch - Right Rear
Connector 469: Windshield Outside Moisture Sensor (CE1)
Connector 470: Windshield Washer Fluid Level Switch
Connector 471: Windshield Washer Fluid Pump - Front
Connector 472: Windshield Washer Fluid Pump - Rear
Connector 473: Windshield Wiper Motor
Connector 474: Windshield Wiper/Washer Switch - Front
Connector 475: Yaw Rate and Lateral Accelerometer Sensor (HP5)
Connector 476: Yaw Rate and Lateral Accelerometer Sensor (-HP5)

1-2 Shift Solenoid (1-2 SS) Valve (ME7/MN5)


Object Number: 1910666  Size: CH

Connector Part Information

  • OEM: 15473843
  • Service: See Catalog
  • Description: 2-Way F Metri-Pack 150 Series, Sealed (CM)

Terminal Part Information

  • Terminal/Tray: See Terminal Repair Kit
  • Core/Insulation Crimp: See Terminal Repair Kit
  • Release Tool/Test Probe: See Terminal Repair Kit

1-2 Shift Solenoid (1-2 SS) Valve (ME7/MN5)

Pin

Wire

Circuit

Function

A

0.5 RD

839

Ignition 1 Voltage

B

0.5 L-GN

1222

1-2 Shift Solenoid Valve Control

2-3 Shift Solenoid (2-3 SS) Valve (ME7/MN5)


Object Number: 1910666  Size: CH

Connector Part Information

  • OEM: 15473843
  • Service: See Catalog
  • Description: 2-Way F Metri-Pack 150 Series, Sealed (CM)

Terminal Part Information

  • Terminal/Tray: See Terminal Repair Kit
  • Core/Insulation Crimp: See Terminal Repair Kit
  • Release Tool/Test Probe: See Terminal Repair Kit

2-3 Shift Solenoid (2-3 SS) Valve (ME7/MN5)

Pin

Wire

Circuit

Function

A

0.5 RD

839

Ignition 1 Voltage

B

0.5 YE

1223

2-3 Shift Solenoid Valve Control

4-3 Shift Solenoid (4-3 SS) Valve (ME7)


Object Number: 1625659  Size: CH

Connector Part Information

  • OEM: 15492275
  • Service: See Catalog
  • Description: 2-Way F 2.8 Series (BK)

Terminal Part Information

  • Terminal/Tray: See Terminal Repair Kit
  • Core/Insulation Crimp: See Terminal Repair Kit
  • Release Tool/Test Probe: See Terminal Repair Kit

4-3 Shift Solenoid (4-3 SS) Valve (ME7)

Pin

Wire

Circuit

Function

1

0.5 YE/BK

901

4-3 Shift Solenoid Valve Control

2

0.5 RD

839

Ignition 1 Voltage

A/C Compressor (HP5)


Object Number: 646415  Size: CH

Connector Part Information

  • OEM: 13519047
  • Service: See Catalog
  • Description: 3-Way F GT 150 Series, Sealed (BK)

Terminal Part Information

  • Terminal/Tray: 12048074/2
  • Core/Insulation Crimp: E/1
  • Release Tool/Test Probe: 12094429/J-35616-14 (GN)

A/C Compressor (HP5)

Pin

Wire Color

Circuit

Function

A

0.8 RD/WH

4740

Battery Positive Voltage

B

0.5BK/WH

251

Ground

C

0.5 D-GN

5060

Low Speed GMLAN Serial Data

A/C Compressor Clutch (HP7)


Object Number: 1334534  Size: CH

Connector Part Information

  • OEM: 12162017
  • Service: 12101937
  • Description: 2-Way F Metri-Pack 150 Series Sealed (GY)

Terminal Part Information

  • Terminal/Tray: 12048074/2
  • Core/Insulation Crimp: E/1
  • Release Tool/Test Probe: 12094429/J-35616-2A (GY)

A/C Compressor Clutch (HP7)

Pin

Wire

Circuit

Function

A

0.5 BK

250

Ground

B

0.5 D-GN

59

A/C Compressor Clutch Supply Voltage

A/C Compressor Clutch (without HP7)


Object Number: 1625659  Size: CH

Connector Part Information

  • OEM: 15383325
  • Service: 89046838
  • Description: 2-Way F 1.5, Sealed (BK)

Terminal Part Information

  • Terminal/Tray: 7116-4102-08/9
  • Core/Insulation Crimp: E/1
  • Release Tool/Test Probe: 12094430/J-35616-2A (GY)

A/C Compressor Clutch (without HP7)

Pin

Wire

Circuit

Function

1

0.5 D-GN

59

A/C Compressor Clutch Supply Voltage

2

0.5 BK

250

Ground

A/C Refrigerant Pressure Sensor


Object Number: 1519475  Size: CH

Connector Part Information

  • OEM: 15477863
  • Service: 88988301
  • Description: 3-Way F GT 150 Series, Sealed (BK)

Terminal Part Information

  • Terminal/Tray: 15326267/19
  • Core/Insulation Crimp: E/4
  • Release Tool/Test Probe: 15315247/J-35616-2A (GY)

A/C Refrigerant Pressure Sensor

Pin

Wire

Circuit

Function

1

0.5 TN

5514

Low Reference

2

0.5 GY

2700

5-Volt Reference 1

3

0.5 OG/BK

380

A/C Refrigerant Pressure Sensor Signal

Accelerator Pedal Position (APP) Sensor (HP5)


Object Number: 632357  Size: CH

Connector Part Information

  • OEM: 15326829
  • Service: 88953153
  • Description: 6-Way F GT 150 Series (BK)

Terminal Part Information

  • Terminal/Tray: 12191819/8
  • Core/Insulation Crimp: E/A
  • Release Tool/Test Probe: 15315247/J-35616-2A (GY)

Accelerator Pedal Position (APP) Sensor (HP5)

Pin

Wire

Circuit

Function

A

0.35 PU

1272

Low Reference

B

0.35 L-BU

1162

APP Sensor 2 Signal

C

0.35 TN

1274

5-Volt Reference 1

D

0.35 BN

1271

Low Reference

E

0.35 D-BU

1161

APP Sensor 1 Signal

F

0.35 WH/BK

1164

5V Reference

Accelerator Pedal Position (APP) Sensor (without HP5)


Object Number: 886053  Size: CH

Connector Part Information

  • OEM: 15326830
  • Service: 88953153
  • Description: 6-Way F GT 150 Series, Sealed (BK)

Terminal Part Information

  • Terminal/Tray: 12191819/8
  • Core/Insulation Crimp: E/A
  • Release Tool/Test Probe: 15315247/J-35616-2A (GY)

Accelerator Pedal Position (APP) Sensor (without HP5)

Pin

Wire

Circuit

Function

A

0.35 PU

1272

Low Reference

B

0.35 L-BU

1162

APP Sensor 2 Signal

C

0.35 TN

1274

5-Volt Reference 1

D

0.35 WH/BK

1164

5-Volt Reference 2

E

0.35 D-BU

1161

APP Sensor 1 Signal

F

0.35 BN

1271

Low Reference

Accent Lamp - Driver Seat (C2B)


Object Number: 810077  Size: CH

Connector Part Information

  • OEM: 12191387
  • Service: 12191387
  • Description: 4-Way F Metri-Pack 150 Series, (BK)

Terminal Part Information

  • Pins: B-D
  • Terminal/Tray: 12110844/4
  • Core/Insulation Crimp: Pins B-C - E/A
  • Core/Insulation Crimp: Pins D - C/A
  • Release Tool/Test Probe: 15315247/J-35616-4A (PU)

Accent Lamp - Driver Seat (C2B)

Pin

Wire

Circuit

Function

A

--

--

Not Used

B

0.5 L-BU

1462

Underseat Blue Light Supply Voltage

C

0.5 PK

1501

Underseat Amber Light Supply Voltage

D

0.8 BK

450

Ground

Accent Lamp - Passenger Seat (C2B)


Object Number: 810077  Size: CH

Connector Part Information

  • OEM: 12191387
  • Service: 12191387
  • Description: 4-Way F Metri-Pack 150 Series, (BK)

Terminal Part Information

  • Pins: B-D
  • Terminal/Tray: 12110844/4
  • Core/Insulation Crimp: Pins B-C - E/A
  • Core/Insulation Crimp: Pins D - C/A
  • Release Tool/Test Probe: 15315247/J-35616-4A (PU)

Accent Lamp - Passenger Seat (C2B)

Pin

Wire

Circuit

Function

A

--

--

Not Used

B

0.5 L-BU

1462

Underseat Blue Light Supply Voltage

C

0.5 PK

1501

Underseat Amber Light Supply Voltage

D

0.8 BK

450

Ground

Accessory AC/DC Power Control Module X1 (HP5)


Object Number: 1540770  Size: CH

Connector Part Information

  • OEM: 6098-4542
  • Service: 19153185
  • Description: 6-Way F 2.8 Series (OG)

Terminal Part Information

  • Terminal/Tray: See Terminal Repair Kit
  • Core/Insulation Crimp: See Terminal Repair Kit
  • Release Tool/Test Probe: See Terminal Repair Kit

Accessory AC/DC Power Control Module X1 (HP5)

Pin

Wire Color

Circuit

Function

1

--

--

Not Used

2

0.8 D-BU

6087

Plug Switch Signal

3

--

--

Not Used

4

0.8 RD

5685

110 VAC Supply

5

--

--

Not Used

6

0.8 BK

5683

110 VAC Return

Accessory AC/DC Power Control Module X2 (HP5)


Object Number: 1538784  Size: CH

Connector Part Information

  • OEM: 15473590
  • Service: 88987988
  • Description: 2-Way F Receptacle 6.3 Series (BK)

Terminal Part Information

  • Terminal/Tray: See Terminal Repair Kit
  • Core/Insulation Crimp: See Terminal Repair Kit
  • Release Tool/Test Probe: See Terminal Repair Kit

Accessory AC/DC Power Control Module X2 (HP5)

Pin

Wire Color

Circuit

Function

1

1 BK

650

Ground

2

1 RD/WH

5140

Battery Positive Voltage

Accessory DC Power Control Module X1 (HP5)


Object Number: 2001239  Size: CH

Connector Part Information

  • OEM: 15485525
  • Service: See Catalog
  • Description: 8-Way F Metri-Pack 150.2 series (BK)

Terminal Part Information

  • Terminal/Tray: 770520-1/25
  • Core/Insulation Crimp: E/A
  • Release Tool/Test Probe: N/A/J-35616-6 (BN)

Accessory DC Power Control Module X1 (HP5)

Pin

Wire Color

Circuit

Function

1

0.8 L-BU

6106

High Speed GMLAN Serial Data (-) (2)

2

0.8 D-BU

6105

High Speed GMLAN Serial Data (+) (2)

3

0.5 D-BU

3424

APM Wake-Up Signal

4

0.8 L-BU

6106

High Speed GMLAN Serial Data (-) (2)

5

0.8 D-BU

6105

High Speed GMLAN Serial Data (+) (2)

6-8

--

--

Not Used

Accessory DC Power Control Module X2 (HP5)


Object Number: 2042486  Size: CH

Connector Part Information

  • OEM: PE138489
  • Service: See Catalog
  • Description: 2-Way F 630 Series, Sealed (GY)

Terminal Part Information

  • Terminal/Tray: See Terminal Repair Kit
  • Core/Insulation Crimp: See Terminal Repair Kit
  • Release Tool/Test Probe: See Terminal Repair Kit

Accessory DC Power Control Module X2 (HP5)

Pin

Wire Color

Circuit

Function

1

BU

--

300V-

2

BU

--

Shield

3

BU

--

300V+

4

BU

--

Shield

Accessory DC Power Control Module X3 (HP5)


Object Number: 2042479  Size: CH

Connector Part Information

  • OEM: 13611153
  • Service: See Catalog
  • Description: 1-Way F Power Pack 2000, Sealed (BK)

Terminal Part Information

  • Terminal/Tray: See Terminal Repair Kit
  • Core/Insulation Crimp: See Terminal Repair Kit
  • Release Tool/Test Probe: See Terminal Repair Kit

Accessory DC Power Control Module X3 (HP5)

Pin

Wire Color

Circuit

Function

A

62.0 RD/BK

2

Battery Positive Voltage

Accessory DC Power Control Module X4 (HP5)

Terminal Part Information

  • Terminal: 15369333
  • Core/Insulation Crimp: N/A
  • Description: Ring Terminal

Accessory DC Power Control Module X4 (HP5)

Pin

Wire Color

Circuit

Function

--

50 BK

850

Ground

Accessory Power Outlet - 110V AC (HP5)


Object Number: 1540771  Size: CH

Connector Part Information

  • OEM: 6098-4536
  • Service: See Catalog
  • Description: 6-Way F 2.8 Series (OG)

Terminal Part Information

  • Terminal/Tray: See Terminal Repair Kit
  • Core/Insulation Crimp: See Terminal Repair Kit
  • Release Tool/Test Probe: See Terminal Repair Kit

Accessory Power Outlet - 110V AC (HP5)

Pin

Wire Color

Circuit

Function

1

0.8 D-BU

6807

Plug Switch Signal

2

--

--

Not Used

3

0.8 RD

5685

110 VAC Supply

4

0.5 YE

143

Ignition Voltage

5

--

--

Not Used

6

0.8 BK

5683

110 VAC Return

Accessory Power Outlet - Center Console


Object Number: 320518  Size: CH

Connector Part Information

  • OEM: 12176446
  • Service: 15305923
  • Description: 3-Way F Metri-Pack 280 Series, Flexlock (BK)

Terminal Part Information

  • Terminal/Tray: 12110844/4
  • Core/Insulation Crimp: C/A
  • Release Tool/Test Probe: 15315247/J-35616-4A (PU)

Accessory Power Outlet - Center Console

Pin

Wire

Circuit

Function

A

0.8 RD/WH

2740

Battery Positive Voltage

B

--

--

Not Used

C

0.8 BK

450

Ground

Accessory Power Outlet -- Front


Object Number: 320518  Size: CH

Connector Part Information

  • OEM: 12176446
  • Service: 15305923
  • Description: 3-Way F Metri-Pack 280 Series, Flexlock (BK)

Terminal Part Information

  • Terminal/Tray: 12110844/4
  • Core/Insulation Crimp: C/A
  • Release Tool/Test Probe: 15315247/J-35616-4A (PU)

Accessory Power Outlet -- Front

Pin

Wire

Circuit

Function

A

0.8 RD/WH

2640

Battery Positive Voltage

B

--

--

Not Used

C

0.8 BK

450

Ground

Accessory Power Outlet - Rear


Object Number: 320518  Size: CH

Connector Part Information

  • OEM: 12176446
  • Service: 15305923
  • Description: 3-Way F Metri-Pack 280 Series, Flexlock (BK)

Terminal Part Information

  • Terminal/Tray: 12110844/4
  • Core/Insulation Crimp: C/A
  • Release Tool/Test Probe: 15315247/J-35616-4A (PU)

Accessory Power Outlet - Rear

Pin

Wire

Circuit

Function

A

0.8 RD/WH

2840

Battery Positive Voltage

B

--

--

Not Used

C

0.8 BK

650

Ground

Air Temperature Actuator (C67)


Object Number: 258172  Size: CH

Connector Part Information

  • OEM: 12064982
  • Service: 12064982
  • Description: 5-Way F Micro-Pack 150 Series (BK)

Terminal Part Information

  • Terminal/Tray: 12146447/3
  • Core/Insulation Crimp: E/C
  • Release Tool/Test Probe: 12031876-1/J-35616-6 (BN)

Air Temperature Actuator (C67)

Pin

Wire

Circuit

Function

1

0.5 YE

1791

Low Reference

2

0.35 D-BU

1646

Mode Door Position Signal

3

0.35 GY

598

5-Volt Reference

4

0.5 GY/BK

2278

Air Temperature Door Control A

5

0.5 WH/BK

1236

Air Temperature Door Control B

Air Temperature Actuator (C68)


Object Number: 258172  Size: CH

Connector Part Information

  • OEM: 12064982
  • Service: 12102633
  • Description: 5-Way F Micro-Pack 150 Series (BK)

Terminal Part Information

  • Terminal/Tray: 12146447/3
  • Core/Insulation Crimp: E/C
  • Release Tool/Test Probe: 12031876-1/J-35616-6 (BN)

Air Temperature Actuator (C68)

Pin

Wire

Circuit

Function

1

0.5 YE

1791

Low Reference

2

0.35 L-GN

2275

Mode Door Position Signal

3

0.35 GY

598

5-Volt Reference

4

0.5 D-GN

1316

Air Temperature Door Control A

5

0.5 BN

1199

Air Temperature Door Control B

Air Temperature Sensor Assembly - Inside (C68)


Object Number: 39661  Size: CH

Connector Part Information

  • OEM: 12047786
  • Service: 12085535
  • Description: 4-Way M Metri-Pack 150 Series (BK)

Terminal Part Information

  • Terminal/Tray: 12047581/2
  • Core/Insulation Crimp: E/C
  • Release Tool/Test Probe: 12094429/J-35616-3 (GY)

Air Temperature Sensor Assembly - Inside (C68)

Pin

Wire

Circuit

Function

A

0.35 D-GN

734

Inside Air Temperature Sensor Signal

B

0.5 GY

5954

Inside Air Temperature Sensor Motor Control

C

0.5 BK

350

Ground

D

0.35 YE

61

Low Reference

Air Temperature Sensor - Lower (C68)


Object Number: 82383  Size: CH

Connector Part Information

  • OEM: 12047662
  • Service: 12085535
  • Description: 2-Way F Metri-Pack 150 Series (BK)

Terminal Part Information

  • Terminal/Tray: 12047767/2
  • Core/Insulation Crimp: E/C
  • Release Tool/Test Probe: 12094429/J-35616-14 (GN)

Air Temperature Sensor - Lower (C68)

Pin

Wire

Circuit

Function

A

0.35 WH

520

Lower Air Temperature Sensor Signal

B

0.35 TN

61

Low Reference

Air Temperature Sensor - Upper (C68)


Object Number: 2002694  Size: CH

Connector Part Information

  • OEM: 13069.669.696
  • Service: See Catalog
  • Description: 2-Way F (BK)

Terminal Part Information

  • Terminal/Tray: See Terminal Repair Kit
  • Core/Insulation Crimp: See Terminal Repair Kit
  • Release Tool/Test Probe: See Terminal Repair Kit

Air Temperature Sensor - Upper (C68)

Pin

Wire

Circuit

Function

1

0.35 BN

516

Upper Air Temperature Sensor Signal

2

0.35 YE

61

Low Reference

Ambient Air Temperature Sensor (C68)


Object Number: 684793  Size: CH

Connector Part Information

  • OEM: 12052642
  • Service: 12101856
  • Description: 2-Way F Metri-Pack 150 Series, Sealed (L-GN)

Terminal Part Information

  • Terminal/Tray: 12048074/2
  • Core/Insulation Crimp: E/1
  • Release Tool/Test Probe: 12094429/J-35616-14 (GN)

Ambient Air Temperature Sensor (C68)

Pin

Wire

Circuit

Function

A

0.5 D-GN/WH

636

Ambient Air Temperature Sensor Signal

B

0.5 YE

61

Low Reference

Ambient Light Sensor (C67)


Object Number: 82383  Size: CH

Connector Part Information

  • OEM: 12059249
  • Service: 12085535
  • Description: 2-Way F Metri-Pack 150 Series (NA)

Terminal Part Information

  • Terminal/Tray: 12064971/5
  • Core/Insulation Crimp: E/C
  • Release Tool/Test Probe: 12094429/J-35616-14 (GN)

Ambient Light Sensor (C67)

Pin

Wire

Circuit

Function

A

0.35 WH

278

Ambient Light Sensor Signal

B

0.35 BK

350

Ground

Ambient Light/Sunload Sensor (C68)


Object Number: 130637  Size: CH

Connector Part Information

  • OEM: 12064760
  • Service: 12085208
  • Description: 4-Way F Metri-Pack 150 Series (BK)

Terminal Part Information

  • Terminal/Tray: 12064971/5
  • Core/Insulation Crimp: E/C
  • Release Tool/Test Probe: 12094429/J-35616-14 (GN)

Ambient Light/Sunload Sensor (C68)

Pin

Wire

Circuit

Function

A

0.35 L-BU/BK

590

Driver Sunload Sensor Signal

B

0.35 GY

1548

Passenger Sunload Sensor Signal

C

0.35 BK/WH

350

Ground

D

0.35 WH

278

Ambient Light Sensor Signal

Audio Amplifier X1 (U61)


Object Number: 1653389  Size: CH

Connector Part Information

  • OEM: 15491286
  • Service: 88988652
  • Description: 8-Way F 2.8 Series (BK)

Terminal Part Information

  • Pins: 1, 5
  • Terminal/Tray: 8100-4445/22
  • Core/Insulation Crimp: 4/4
  • Release Tool/Test Probe: 15315247/J-35616-35 (VT)
  • Pins: 3-4, 7-8
  • Terminal/Tray: 8100-4444/22
  • Core/Insulation Crimp: 2/A
  • Release Tool/Test Probe: 15315247/J-35616-35 (VT)

Audio Amplifier X1 (U61)

Pin

Wire

Circuit

Function

1

2 RD/WH

940

Battery Positive Voltage (U61)

1 RD/WH

1940

Battery Positive Voltage (-U61)

2

--

--

Not Used

3

1 D-BU/WH

346

Left Subwoofer Speaker Output (+)

4

1 D-GN

1795

Right Subwoofer Speaker Output (+)

5

2 BK

550

Ground

6

--

--

Not Used

7

1 L-GN/BK

1794

Left Subwoofer Speaker Output (-)

8

1 L-BU/BK

315

Right Subwoofer Speaker Output (-)

Audio Amplifier X2 (U61)


Object Number: 1653404  Size: CH

Connector Part Information

  • OEM: 15489823
  • Service: 15134091
  • Description: 16-Way F 1.5 Series, Unsealed (BK)

Terminal Part Information

  • Pins: 1-5, 9-13
  • Terminal/Tray: 8240-0128/22
  • Core/Insulation Crimp: C/A
  • Release Tool/Test Probe: 15315247/J-35616-2A (GY)

Audio Amplifier X2 (U61)

Pin

Wire

Circuit

Function

1

0.8 TN

201

Left Front Speaker Output (+)

2

0.8 L-GN

200

Right Front Speaker Output (+)

3

0.8 BN

199

Left Rear Speaker Output (+)

4

0.8 D-BU

46

Right Rear Speaker Output (+)

5

0.8 YE

1860

Front Center Speaker Output (+)

6-8

--

--

Not Used

9

0.8 GY

118

Left Front Speaker Output (-)

10

0.8 D-GN

117

Right Front Speaker Output (-)

11

0.8 YE

116

Left Rear Speaker Output (-)

12

0.8 L-BU

115

Right Rear Speaker Output (-)

13

0.8 L-BU

1960

Front Center Speaker Output (-)

14-16

--

--

Not Used

Audio Amplifier X3 (U61)


Object Number: 1653409  Size: CH

Connector Part Information

  • OEM: 15491285
  • Service: 15136073
  • Description: 16-Way F Kaizan 0.64 (BK)

Terminal Part Information

  • Pins: 4-8, 12-16
  • Terminal/Tray: 7116-4618-02/14
  • Core/Insulation Crimp: P/P
  • Release Tool/Test Probe: J-38125-215A/J-35616-64B (L-BU)

Audio Amplifier X3 (U61)

Pin

Wire

Circuit

Function

1-3

--

--

Not Used

4

0.35 OG

6978

Amplifier Control

5

0.5 TN

511

Left Front Low Level Audio Signal (+)

6

0.5 L-GN/WH

512

Right Front Low Level Audio Signal (+)

7

0.5 BN/WH

599

Left Rear Low Level Audio Signal (+)

8

0.5 D-BU

546

Right Rear Low Level Audio Signal (+)

9-11

--

--

Not Used

12

0.35 WH

7066

Entertainment Remote Enable Signal

13

0.5 D-GN

1947

Left Front Low Level Audio Signal (-)

14

0.5 L-GN

1948

Right Front Low Level Audio Signal (-)

15

0.5 BN

1999

Left Rear Low Level Audio Signal (-)

16

0.5 TN

1946

Right Rear Low Level Audio Signal (-)

Automatic Transmission Auxiliary Fluid Pump (HP5)


Object Number: 2177023  Size: CH

Connector Part Information

  • OEM: 13546850
  • Service: 12116243
  • Description: 7-Way F Metri-Pack 630 Series, Sealed (BK)

Terminal Part Information

  • Terminal/Tray: See Terminal Repair Kit
  • Core/Insulation Crimp: See Terminal Repair Kit
  • Release Tool/Test Probe: See Terminal Repair Kit

Automatic Transmission Auxiliary Fluid Pump (HP5)

Pin

Wire Color

Circuit

Function

A

5 D-BU/RD

3331

AC Voltage Phase B

B

0.8 BK

3329

Drain Wire

C

--

--

Not Available

D

5 D-BU

3332

AC Voltage Phase A

E-F

--

--

Not Available

G

5 BU/WH

3330

AC Voltage Phase C

Automatic Transmission Auxiliary Fluid Pump (HP7)


Object Number: 1526384  Size: CH

Connector Part Information

  • OEM: 15326677
  • Service: 88953351
  • Description: 2-Way F GT 150 Series Sealed (BK)

Terminal Part Information

  • Terminal/Tray: 15304720/19
  • Core/Insulation Crimp: 4/5
  • Release Tool/Test Probe: 15315247/J-35616-4A (PU)

Automatic Transmission Auxiliary Fluid Pump (HP7)

Pin

Wire

Circuit

Function

A

3 BN/RD

7435

Transmission Pump High Reference

B

3 D-BU/WH

7436

Transmission Pump Low Reference

Automatic Transmission Auxiliary Fluid Pump Control Module X1 (HP5)


Object Number: 668832  Size: CH

Connector Part Information

  • OEM: 12124685
  • Service: 12116243
  • Description: 3-Way F Metri-Pack 630 Series, Sealed (BK)

Terminal Part Information

  • Terminal/Tray: See Terminal Repair Kit
  • Core/Insulation Crimp: See Terminal Repair Kit
  • Release Tool/Test Probe: See Terminal Repair Kit

Automatic Transmission Auxiliary Fluid Pump Control Module X1 (HP5)

Pin

Wire Color

Circuit

Function

A

5 BU

3332

AC Voltage Phase A

B

5 BU/RD

3331

AC Voltage Phase B

C

5 BU/WH

3330

AC Voltage Phase C

Automatic Transmission Auxiliary Fluid Pump Control Module X2 (HP5)


Object Number: 523591  Size: CH

Connector Part Information

  • OEM: 12033769
  • Service: 12116243
  • Description: 2-Way F Metri-Pack 630 Series, Sealed (BK)

Terminal Part Information

  • Terminal/Tray: See Terminal Repair Kit
  • Core/Insulation Crimp: See Terminal Repair Kit
  • Release Tool/Test Probe: See Terminal Repair Kit

Automatic Transmission Auxiliary Fluid Pump Control Module X2 (HP5)

Pin

Wire Color

Circuit

Function

A

5 BK

2950

Ground

B

5 RD/WH

4040

Battery Positive Voltage

Automatic Transmission Auxiliary Fluid Pump Control Module X3 (HP5)


Object Number: 684948  Size: CH

Connector Part Information

  • OEM: 15410728
  • Service: 12116243
  • Description: 4-Way F GT 150 Series, Sealed (BK)

Terminal Part Information

  • Terminal/Tray: See Terminal Repair Kit
  • Core/Insulation Crimp: See Terminal Repair Kit
  • Release Tool/Test Probe: See Terminal Repair Kit

Automatic Transmission Auxiliary Fluid Pump Control Module X3 (HP5)

Pin

Wire Color

Circuit

Function

A

0.8 BK

3329

Drain Wire

B

0.5 TN

982

Transmission Fluid Pump Diagnostic

C

0.5 D-GN

983

Transmission Fluid Pump Control

D

0.5 PK

239

Ignition Voltage

Automatic Transmission Auxiliary Fluid Pump Control Module (HP7)


Object Number: 646372  Size: CH

Connector Part Information

  • OEM: 15326654
  • Service: See Catalog
  • Description: 8-Way F GT 280 Series Sealed (BK)

Terminal Part Information

  • Terminal/Tray: 16-02-1110/20
  • Core/Insulation Crimp: H/H
  • Release Tool/Test Probe: J-38125-213/J-35616-64B (L-BU)

Automatic Transmission Auxiliary Fluid Pump Control Module (HP7)

Pin

Wire

Circuit

Function

A

D-GN/WH

7621

Transmission Pump Driver Error

B

BK

7438

Pump Control

C

GY/BK

7439

Traction Control Switch Signal

D

--

--

Not Used

E

BK/WH

451

Ground

F

D-BU/WH

7436

Transmission Pump Low Reference

G

BN/RD

7435

Transmission Pump High Reference

H

GY/WH

5259

Transmission Pump Switch Control

Automatic Transmission Fluid Pressure (TFP) Manual Valve Position Switch (ME7/MN5)


Object Number: 73215  Size: CH

Connector Part Information

  • OEM: 15480749
  • Service: See Catalog
  • Description: 6-Way F Metri-Pack 150.2 Series (GY)

Terminal Part Information

  • Terminal/Tray: See Terminal Repair Kit
  • Core/Insulation Crimp: See Terminal Repair Kit
  • Release Tool/Test Probe: See Terminal Repair Kit

Automatic Transmission Fluid Pressure (TFP) Manual Valve Position Switch (ME7/MN5)

Pin

Wire

Circuit

Function

A

0.5 PK

1224

TFP Manual Valve Position Switch Signal A (HP7)

B

0.5 D-BU

1225

Transmission Fluid Pressure Switch Signal A

C

0.5 OG

1226

Transmission Fluid Pressure Switch Signal B

D

0.5 WH

1804

TCC Release Switch Signal

E

0.5 BN

1227

Transmission Fluid Pressure Switch Signal C

F

0.5 GY

452

Low Reference

Automatic Transmission Fluid Pressure (TFP) Manual Valve Position Switch (MK3)


Object Number: 1847927  Size: CH

Connector Part Information

  • OEM: AIT2PB-07-1FS
  • Service: See Catalog
  • Description: 7-Way F AIT II Series (NA)

Terminal Part Information

  • Terminal/Tray: See Terminal Repair Kit
  • Core/Insulation Crimp: See Terminal Repair Kit
  • Release Tool/Test Probe: See Terminal Repair Kit

Automatic Transmission Fluid Pressure (TFP) Manual Valve Position Switch (MK3)

Pin

Wire

Circuit

Function

1

--

--

Not Used

2

--

910

Battery Positive Voltage

3

--

911

Transmission Fluid Pressure Release Signal

4

--

912

Transmission Fluid Pressure Switch Signal C

5

--

913

Transmission Fluid Pressure Switch Signal B

6

--

914

Transmission Fluid Pressure Switch Signal A

7

--

915

Low Reference

Automatic Transmission Input Shaft Speed (ISS) Sensor (ME7/MN5)


Object Number: 1910666  Size: CH

Connector Part Information

  • OEM: 15473843
  • Service: See Catalog
  • Description: 2-Way F Metri-Pack 150.2 Series (CM)

Terminal Part Information

  • Terminal/Tray: See Terminal Repair Kit
  • Core/Insulation Crimp: See Terminal Repair Kit
  • Release Tool/Test Probe: See Terminal Repair Kit

Automatic Transmission Input Shaft Speed (ISS) Sensor (ME7/MN5)

Pin

Wire

Circuit

Function

A

0.5 BK

1230

AT ISS High Signal

B

0.5 D-GN

1231

AT ISS Low Signal

Automatic Transmission Input Shaft Speed (ISS) Sensor (MK3)


Object Number: 1538760  Size: CH

Connector Part Information

  • OEM: 15449028
  • Service: See Catalog
  • Description: 2-Way F GT 150 Series Sealed (BK)

Terminal Part Information

  • Terminal/Tray: See Terminal Repair Kit
  • Core/Insulation Crimp: See Terminal Repair Kit
  • Release Tool/Test Probe: See Terminal Repair Kit

Automatic Transmission Input Shaft Speed (ISS) Sensor (MK3)

Pin

Wire

Circuit

Function

A

0.5 OG/BK

1230

AT ISS High Signal

B

0.5 OG/WH

812

AT ISS Low Signal

Automatic Transmission Internal Mode Switch (IMS) (MH2/MH4)


Object Number: 347262  Size: CH

Connector Part Information

  • OEM: 15336500
  • Service: Non-Serviceable (89046635)
  • Description: 6-Way F Metri-Pack 150.2 Series (GN)

Terminal Part Information

  • Terminal/Tray: Non-Serviceable
  • Core/Insulation Crimp: Non-Serviceable
  • Release Tool/Test Probe: Non-Serviceable

Automatic Transmission Internal Mode Switch (IMS) (MH2/MH4)

Pin

Wire

Circuit

Function

A

GY

--

Battery Positive Voltage

B

BK

--

Transmission Range Switch Signal P

C

YE

--

Transmission Range Switch Signal C

D

RD

--

Transmission Range Switch Signal B

E

GN

--

Transmission Range Switch Signal A

F

WH

--

Park/Neutral Switch Signal

Automatic Transmission Internal Mode Switch (IMS) (MK3)


Object Number: 1847927  Size: CH

Connector Part Information

  • OEM: AIT2PB-07-1BH
  • Service: Non-Serviceable (89046635)
  • Description: 7-Way F AIT II Series (GY)

Terminal Part Information

  • Terminal/Tray: Non-Serviceable
  • Core/Insulation Crimp: Non-Serviceable
  • Release Tool/Test Probe: Non-Serviceable

Automatic Transmission Internal Mode Switch (IMS) (MK3)

Pin

Wire

Circuit

Function

1

--

812

Battery Positive Voltage

2

--

1433

Transmission Mode Switch Signal S

3

--

771

Transmission Mode Switch Signal R1

4

--

772

Transmission Mode Switch Signal R2

5

--

773

Transmission Mode Switch Signal D1

6

--

776

Transmission Mode Switch Signal D2

7

--

906

Ground

Automatic Transmission Output Shaft Speed (OSS) Sensor (ME7/MH2/MH4/MN5)


Object Number: 646406  Size: CH

Connector Part Information

  • OEM: 15449028 (ME7)
  • OEM: 15336004 (MN5)
  • Service: 15336004
  • Description: 2-Way F GT 150 Sealed 3.2 X 4.0 (BK)

Terminal Part Information

  • Terminal/Tray: 15326267/19
  • Core/Insulation Crimp: E/4
  • Release Tool/Test Probe: 15315247/J-35616-2A (GY)

Automatic Transmission Output Shaft Speed (OSS) Sensor (ME7/MH2/MH4/MN5)

Pin

Wire

Circuit

Function

A

0.5 PU

401

Signal Low - Front/VSS Low Signal/OSS Low Signal

B

0.5 YE

400

Signal High - Front/VSS High Signal/OSS High Signal

Automatic Transmission Output Shaft Speed (OSS) Sensor (MK3)


Object Number: 646406  Size: CH

Connector Part Information

  • OEM: 15332128
  • Service: 15336004
  • Description: 2-Way F GT 150 Sealed 3.2 X 4.0 (BK)

Terminal Part Information

  • Terminal/Tray: 15326267/19
  • Core/Insulation Crimp: E/4
  • Release Tool/Test Probe: 15315247/J-35616-2A (GY)

Automatic Transmission Output Shaft Speed (OSS) Sensor (MK3)

Pin

Wire

Circuit

Function

A

--

908

OSS Low Signal

B

--

909

OSS High Signal

Automatic Transmission Shift Lever


Object Number: 1962072  Size: CH

Connector Part Information

  • OEM: 15337941
  • Service: See Catalog
  • Description: 10-Way F 090 II (NA)

Terminal Part Information

  • Pins: 2-4, 6-7, 9-10
  • Terminal/Tray: 7116-4020/11
  • Core/Insulation Crimp: E/C
  • Release Tool/Test Probe: 15315247/J-35616-18 (BK)

Automatic Transmission Shift Lever

Pin

Wire

Circuit

Function

1

--

--

Not Used

2

0.35 PK

1444

Ignition 3 Voltage

3

0.35 TN

816

Automatic Transmission Shift Lock Solenoid Supply Voltage

4

0.35 YE

243

Accessory Voltage

5

--

--

Not Used

6

0.35 D-GN

5525

Tap Up/Tap Down Enable Signal

7

0.35 BK

350

Ground (-HP5)

8

--

--

Not Used

9

0.35 BK

350

Ground

10

0.35 PU/WH

5905

Key Capture/Column Lock Shift Position Signal

Automatic Transmission Shift Lever Position Indicator


Object Number: 1962083  Size: CH

Connector Part Information

  • OEM: 15337962
  • Service: 19178182
  • Description: 2-Way F 090 II (NA)

Terminal Part Information

  • Pins: 1
  • Terminal/Tray: 7116-4020/11
  • Core/Insulation Crimp: E/C
  • Release Tool/Test Probe: 15315247/J-35616-18 (BK)
  • Pins: 2
  • Terminal/Tray: 7116-4021/11
  • Core/Insulation Crimp: E/A
  • Release Tool/Test Probe: 15315247/J-35616-18 (BK)

Automatic Transmission Shift Lever Position Indicator

Pin

Wire

Circuit

Function

1

0.35 BK

350

Ground

2

0.8 BN/WH

230

I/P Lamps Dimming Control

Backup Lamp - Left


Object Number: 1290411  Size: CH

Connector Part Information

  • OEM: 021940259
  • Service: See Catalog
  • Description: 3-Way F Bulb 3057 Socket (GY)

Backup Lamp - Left

Pin

Wire

Circuit

Function

MAJ

0.5 L-GN

24

Backup Lamp Supply Voltage

MIN

--

--

Not Used

GND

0.8 BK/WH

650

Ground

Backup Lamp - Right


Object Number: 1290411  Size: CH

Connector Part Information

  • OEM: 021940259
  • Service: See Catalog
  • Description: 3-Way F Bulb 3057 Socket (GY)

Backup Lamp - Right

Pin

Wire

Circuit

Function

MAJ

0.5 L-GN

24

Backup Lamp Supply Voltage

MIN

--

--

Not Used

GND

0.8 BK/WH

850

Ground

Battery Current Sensor - 42 Volt (HP7)


Object Number: 646430  Size: CH

Connector Part Information

  • OEM: 15326815
  • Service: 15306396
  • Description: 4-Way F GT 150 Series Sealed 4.0 (BK)

Terminal Part Information

  • Terminal/Tray: See Terminal Repair Kit
  • Core/Insulation Crimp: See Terminal Repair Kit
  • Release Tool/Test Probe: See Terminal Repair Kit

Battery Current Sensor - 42 Volt (HP7)

Pin

Wire

Circuit

Function

A

0.5 WH/GN

Current Sensor Signal (High Range)

B

0.5 WH/RD

--

5-Volt Reference

C

0.5 WH/BK

--

Low Reference

D

0.5 BK/RD

--

Current Sensor Signal (Low Range)

Battery Current Sensor


Object Number: 646415  Size: CH

Connector Part Information

  • OEM: 15326808
  • Service: 15306388
  • Description: 3-Way F GT 150 Series, Sealed (BK)

Terminal Part Information

  • Terminal/Tray: 12191819/8
  • Core/Insulation Crimp: E/A
  • Release Tool/Test Probe: 15315247/J-35616-2A (GY)

Battery Current Sensor

Pin

Wire

Circuit

Function

A

0.35 PK

5076

5-Volt Reference

B

0.35 BN

5077

Low Reference

C

0.35 WH

5075

Current Sensor Signal

Battery - (without HP7)

Terminal Part Information

  • Terminal: R61014-002
  • Core/Insulation Crimp: N/A
  • Description: Battery Terminal

Battery - (without HP7)

Pin

Wire

Circuit

Function

--

19 BK

50

Ground

19 BK

50

Ground

Battery - X1 (HP7)

Terminal Part Information

  • Terminal: RS552TDM5
  • Core/Insulation Crimp: N/A
  • Description: Battery Terminal

Battery - X1 (HP7)

Pin

Wire

Circuit

Function

--

19 BK

50

Ground

19 BK

50

Ground

Battery - X2 (HP7)

Terminal Part Information

  • Terminal: 10724921
  • Core/Insulation Crimp: N/A
  • Description: Battery Terminal

Battery - X2 (HP7)

Pin

Wire

Circuit

Function

--

251 BK/WH

0.5

Ground

19 BK

50

Ground

Battery (+) (Battery Positive Cable) (HP5)

Terminal Part Information

  • Harness: Battery Positive Cable
  • Terminal: 15935033
  • Core/Insulation Crimp: N/A
  • Description: Ring Terminal

Battery (+) (Battery Positive Cable) (HP5)

Pin

Wire Color

Circuit

Function

+

50 RD

1

Battery Positive Voltage

19 RD/BK

2

Battery Positive Voltage

Battery + (without HP7)

Terminal Part Information

  • Terminal: R3311-033
  • Core/Insulation Crimp: N/A
  • Description: Battery Terminal

Battery + (without HP7)

Pin

Wire

Circuit

Function

+

19 RD

1

Battery Positive Voltage

19 RD

1

Battery Positive Voltage

Battery + X1 (HP7)

Terminal Part Information

  • Terminal: RS815
  • Core/Insulation Crimp: N/A
  • Description: Battery Terminal

Battery + X1 (HP7)

Pin

Wire

Circuit

Function

+

19 RD

1

Battery Positive Voltage

32 RD

1

Battery Positive Voltage

Battery + X2 (HP7)

Terminal Part Information

  • Terminal: 12124276
  • Core/Insulation Crimp: N/A
  • Description: Battery Terminal

Battery + X2 (HP7)

Pin

Wire

Circuit

Function

+

8 RD

1

Battery Positive Voltage

19 RD

1

Battery Positive Voltage

Battery Module 1 (HP5)

Terminal Part Information

  • Harness: Drive Motor Battery Negative Relay Cable Assembly
  • Terminal: See Catalog
  • Core/Insulation Crimp: N/A
  • Description: Ring Terminal

Battery Module 1 (HP5)

Pin

Wire Color

Circuit

Function

-

19 OG

--

Battery Negative Voltage

Battery Module 21 (HP5)

Terminal Part Information

  • Harness: Battery Disconnect Switch Cable Assembly
  • Terminal: See Catalog
  • Core/Insulation Crimp: N/A
  • Description: Ring Terminal

Battery Module 21 (HP5)

Pin

Wire Color

Circuit

Function

+

19 OG

--

Battery Positive Voltage

Battery Module 22 (HP5)

Terminal Part Information

  • Harness: Battery Disconnect Switch Cable Assembly
  • Terminal: See Catalog
  • Core/Insulation Crimp: N/A
  • Description: Ring Terminal

Battery Module 22 (HP5)

Pin

Wire Color

Circuit

Function

-

19 OG

--

Battery Negative Voltage

Battery Module 40 (HP5)

Terminal Part Information

  • Harness: Drive Motor Battery Positive Relay Cable Assembly
  • Terminal: See Catalog
  • Core/Insulation Crimp: N/A
  • Description: Ring Terminal

Battery Module 40 (HP5)

Pin

Wire Color

Circuit

Function

+

19 OG

--

Battery Positive Voltage

Blower Motor


Object Number: 1817814  Size: CH

Connector Part Information

  • OEM: 15226103
  • Service: 88988507
  • Description: 2-Way F Receptacle 6.3 Series (GY)

Terminal Part Information

  • Terminal/Tray: 12191812/19
  • Core/Insulation Crimp: See Terminal Repair Kit
  • Release Tool/Test Probe: 15315247/J-35616-2A (GY)

Blower Motor

Pin

Wire

Circuit

Function

1

3.0 BK

2150

Low Reference

2

3.0 PU

65

Blower Motor Supply Voltage

Blower Motor Control Module X1


Object Number: 1817814  Size: CH

Connector Part Information

  • OEM: 15226103
  • Service: 88988507
  • Description: 2-Way F Receptacle 6.3 Series (GY)

Terminal Part Information

  • Terminal/Tray: 12191812/19
  • Core/Insulation Crimp: See Terminal Repair Kit
  • Release Tool/Test Probe: 15315247/J-35616-2A (GY)

Blower Motor Control Module X1

Pin

Wire

Circuit

Function

1

3.0 PU

65

Blower Motor Supply Voltage

2

3.0 BK

2150

Low Reference

Blower Motor Control Module X2


Object Number: 1798802  Size: CH

Connector Part Information

  • OEM: 7283-9749-30
  • Service: 88988512
  • Description: 6-Way F YESC Kaizen Series (BK)

Terminal Part Information

  • Terminal/Tray: See Terminal Repair Kit
  • Core/Insulation Crimp: See Terminal Repair Kit
  • Release Tool/Test Probe: See Terminal Repair Kit

Blower Motor Control Module X2

Pin

Wire

Circuit

Function

1-2

--

--

Not Used

3

0.35 GY/BK

754

Blower Motor Speed Control

4

--

--

Not Used

5

5 BK

950

Ground

6

3 RD/WH

3040

Battery Positive Voltage

Body Control Module (BCM) X1


Object Number: 1664495  Size: CH

Connector Part Information

  • OEM: 15482789
  • Service: 88988838
  • Description: 27-Way F HIT Series (L-GN)

Terminal Part Information

  • Pins: 2-6, 8-9, 14-21, 24-26
  • Terminal/Tray: SNAC3-A021T-M0.64/20
  • Core/Insulation Crimp: J/J
  • Release Tool/Test Probe: 15315247/J-35616-64B (L-BU)

Body Control Module (BCM) X1

Pin

Wire

Circuit

Function

1

--

--

Not Used

2

0.35 WH/BK

1073

Ignition Key Resistor Signal

3

0.35 GY

1884

Cruise Control Switch Signal

4

0.35 WH

530

Ignition Voltage

5

0.35 L-GN

1715

Windshield Wiper Switch High Signal

6

0.35 L-GN

1011

Remote Radio Control Signal

7

--

--

Not Used

8

0.35 TN/BK

6009

Windshield Wiper Switch Low Reference

9

0.35 L-BU

1714

Windshield Wiper Switch Low Signal

10-13

--

--

Not Used

14

0.35 PK

39

Ignition 1 Voltage

15

0.35 L-BU/WH

1414

Left Turn Signal Switch Signal

16

0.35 D-BU/WH

1415

Right Turn Signal Switch Signal

17

0.35 PK

1444

Ignition 3 Voltage

18

0.35 PU

524

Headlamp Dimmer Switch High Beam Signal

19

0.35 TN

2144

Hazard Switch Signal

20

0.35 D-GN

5525

Tap Up/Tap Down Enable Signal

21

0.35 YE

43

Accessory Voltage

22-23

--

--

Not Used

24

0.35 PK

94

Windshield Washer Switch Signal

25

0.35 YE

307

Headlamp Switch Flash to Pass Signal

26

0.35 TN

816

Automatic Transmission Shift Lock Solenoid Supply Voltage (ME7/MH2/MH4/MN5)

27

--

--

Not Used

Body Control Module (BCM) X2


Object Number: 1664496  Size: CH

Connector Part Information

  • OEM: 15482790
  • Service: 88988839
  • Description: 25-Way F HIT Series (WH)

Terminal Part Information

  • Pins: 1-3
  • Terminal/Tray: SNAC-A061T-M2.8/20
  • Core/Insulation Crimp: E/A
  • Release Tool/Test Probe: 15315247/J-35616-4A (PU)
  • Pins: 8, 11-12, 17, 21, 25
  • Terminal/Tray: SNAC3-A021T-M0.64/20
  • Core/Insulation Crimp: J/J
  • Release Tool/Test Probe: 15315247/J-35616-64B (L-BU)

Body Control Module (BCM) X2

Pin

Wire

Circuit

Function

1

0.8 OG

1732

Courtesy Lamps Supply Voltage

2

0.8 RD/WH

1640

Battery Positive Voltage

3

0.8 BN/WH

230

I/P Lamps Dimming Control

4-7

--

--

Not Used

8

0.35 L-BU

13

Headlamp Switch Park Lamps Signal

9-10

--

--

Not Used

11

0.35 WH

278

Ambient Light Sensor Signal

12

0.35 WH

103

Headlamp Switch Headlamps On Signal

13-16

--

--

Not Used

17

0.35 D-GN

306

Headlamp Switch Headlamps Off Signal

18-20

--

--

Not Used

21

0.35 L-BU

1788

Traction Control Switch Signal

22-24

--

--

Not Used

25

0.35 PU

328

Interior Lamp Switch Voltage Supply Circuit

Body Control Module (BCM) X3


Object Number: 1664498  Size: CH

Connector Part Information

  • OEM: 15482791
  • Service: 88988840
  • Description: 25-Way F HIT Series (L-BU)

Terminal Part Information

  • Pins: 1-3, 5
  • Terminal/Tray: SNAC-A061T-M2.8/20
  • Core/Insulation Crimp: Pins 1, 5 - C/A
  • Core/Insulation Crimp: Pins 2, 3 - E/A
  • Release Tool/Test Probe: 15315247/J-35616-4A (PU)
  • Pins: 7-13, 16-19, 21-22, 25
  • Terminal/Tray: SNAC3-A021T-M0.64/20
  • Core/Insulation Crimp: J/J
  • Release Tool/Test Probe: 15315247/J-35616-64B (L-BU)

Body Control Module (BCM) X3

Pin

Wire

Circuit

Function

1

1 BK

350

Ground

2

0.8 RD/WH

1140

Battery Positive Voltage

3

0.8 RD/WH

1040

Battery Positive Voltage

4

--

--

Not Used

5

1 BK

350

Ground

6

--

--

Not Used

7

0.35 YE

749

Security Indicator Control

8

0.5 TN/BK

2500

High Speed GMLAN Serial Data Bus+

9

0.5 TN

2501

High Speed GMLAN Serial Data Bus-

10

0.5 D-GN

5060

Low Speed GMLAN Serial Data

11

0.5 D-GN

44

I/P Lamps Dimmer Switch Signal

12

0.5 OG/WH

812

I/P Dimming Voltage Reference

13

0.35 PU

7062

Brake Pedal Switch Normally Closed Contact Signal (-HP5)

13

0.5 D-BU

6037

Brake Pedal Position (BPP) Sensor Signal (HP5)

14

0.5 OG/BK

6035

Low Reference (HP5)

15

0.5 GY

6036

5 V Reference (HP5)

16

0.5 TN/BK

2500

High Speed GMLAN Serial Data Bus+

17

0.5 TN

2501

High Speed GMLAN Serial Data Bus-

18

0.5 YE

1491

Backlight Lamps Control

19

0.35 L-BU

5986

Serial Data Communication Enable

20

--

--

Not Used

21

0.35 OG

192

Front Fog Lamp Switch Signal (T37/T96)

22

0.35 D-GN/WH

7158

Cruise Control Indicator Dimming Signal

23-24

--

--

Not Used

25

0.35 PU/WH

1382

LED Dimming Signal/LED Dimming Supply

Body Control Module (BCM) X4


Object Number: 1664499  Size: CH

Connector Part Information

  • OEM: 15482792
  • Service: 88988841
  • Description: 25-Way F HIT Series (BK)

Terminal Part Information

  • Pins: 1-5
  • Terminal/Tray: SNAC-A061T-M2.8/20
  • Core/Insulation Crimp: E/A
  • Release Tool/Test Probe: 15315247/J-35616-4A (PU)
  • Pins: 7, 9, 10-19, 21-23
  • Terminal/Tray: SNAC3-A021T-M0.64/20
  • Core/Insulation Crimp: J/J
  • Release Tool/Test Probe: 15315247/J-35616-64B (L-BU)

Body Control Module (BCM) X4

Pin

Wire

Circuit

Function

1

0.8 RD/WH

1240

Battery Positive Voltage

2

0.8 RD/WH

1440

Battery Positive Voltage

3

0.8 RD/WH

1540

Battery Positive Voltage

4

0.8 RD/WH

1340

Battery Positive Voltage

5

0.8 D-BU/WH

1315

Right Front Turn Signal Lamp Supply Voltage

6

0.35 BN

6132

Local Interconnect Network 1 (RCM)

7

0.5 YE

196

Windshield Wiper Motor Park Switch Signal

8

--

--

Not Used

9

0.5 BK/WH

251

Ground

9

0.5 BK

650

Ground (HP5)

10

0.5 RD/WH

540

Battery Positive Voltage

11

0.35 D-GN/WH

1317

Fog Lamp Relay Control (T37/T96)

12

0.35 YE

5187

Right Trailer Turn Signal Lamp (V92)

13

0.35 OG

5186

Left Trailer Turn Signal Lamp (V92)

14

0.35 L-GN

482

Windshield Outside Moisture Sensor Signal 2 (CE1)

15

0.35 OG

2268

Windshield Washer Relay Control

16

0.35 TN/WH

1969

Headlamp High Beam Relay Control

17

0.35 YE

5530

Hood Open Switch Signal

18

0.35 TN

481

Windshield Outside Moisture Sensor Signal 1 (CE1)

19

0.35 D-BU

5985

Accessory Wakeup Serial Data

20

--

--

Not Used

21

0.35 YE

5199

Run/Crank Relay Coil Control

22

0.35 L-BU

1344

Trunk Release Relay Control

23

0.35 L-GN/BK

592

DRL Relay Control

24-25

--

--

Not Used

Body Control Module (BCM) X5


Object Number: 1664500  Size: CH

Connector Part Information

  • OEM: 15480179
  • Service: 88988837
  • Description: 25-Way F HIT Series (BN)

Terminal Part Information

  • Pins: 1-2, 4-5
  • Terminal/Tray: SNAC-A061T-M2.8/20
  • Core/Insulation Crimp: E/A
  • Release Tool/Test Probe: 15315247/J-35616-4A (PU)
  • Pins: 6, 8-11, 13-16, 18, 20-21, 23-24
  • Terminal/Tray: SNAC3-A021T-M0.64/20
  • Core/Insulation Crimp: J/J
  • Release Tool/Test Probe: 15315247/J-35616-64B (L-BU)

Body Control Module (BCM) X5

Pin

Wire

Circuit

Function

1

0.8 YE

18

Left Rear Stop/Turn Lamp Supply Voltage

2

0.8 D-GN

19

Right Rear Stop/Turn Lamp Supply Voltage

3

--

--

Not Used

4

0.8 L-BU/WH

1314

Left Front Turn Signal Lamp Supply Voltage

5

0.8 WH

5065

Stop Lamp Relay Coil Supply Voltage

6

0.5 WH

17

Stop Lamp Supply Voltage

7

--

--

Not Used

8

0.35 PK

5076

5-Volt Reference

9

0.35 WH

5075

Current Sensor Signal

10

0.35 BN

5077

Low Reference

11

0.35 TN

755

RAP Relay Coil Control

12

--

--

Not Used

13

0.35 L-GN

5486

Run Relay Coil Control

14

0.35 BN

4

Accessory Voltage

15

0.35 PU

5531

Hood Closed Switch Signal (AP3)

16

0.35 L-BU

1134

Park Brake Switch Signal

17

--

--

Not Used

18

0.35 TN

28

Horn Relay Control

19

--

--

Not Used

20

0.35 GY

91

Windshield Wiper Switch Signal 2

21

0.35 TN

860

Front Windshield Wiper Switch High Signal

22

--

--

Not Used

23

0.35 PK/WH

1970

Headlamp Low Beam Relay Control

24

0.35 D-BU

45

Park Lamp Supply Voltage

25

--

--

Not Used

Body Control Module (BCM) X6


Object Number: 1664502  Size: CH

Connector Part Information

  • OEM: 15482793
  • Service: 88988842
  • Description: 25-Way F HIT Series (PK)

Terminal Part Information

  • Pins: 1-3
  • Terminal/Tray: SNAC-A061T-M2.8/20
  • Core/Insulation Crimp: E/A
  • Release Tool/Test Probe: 15315247/J-35616-4A (PU)
  • Pins: 8, 10, 12, 15, 20-22
  • Terminal/Tray: SNAC3-A021T-M0.64/20
  • Core/Insulation Crimp: J/J
  • Release Tool/Test Probe: 15315247/J-35616-64B (L-BU)

Body Control Module (BCM) X6

Pin

Wire

Circuit

Function

1

0.8 GY/BK

690

Courtesy Lamp Supply Voltage

2

0.8 L-GN

24

Backup Lamp Supply Voltage

3

0.35 BN/WH

230

I/P Lamps Dimming Control (UG1)

4-7

--

--

Not Used

8

0.35 TN/WH

746

Right Front Door Ajar Switch Signal

9

--

--

Not Used

10

0.35 GY/BK

745

Left Front Door Ajar Switch Signal

11

--

--

Not Used

12

0.35 PK/BK

1303

Liftgate Ajar Switch Signal

13-14

--

--

Not Used

15

0.35 D-GN

6127

Liftgate Unlatch Switch Signal

16-19

--

--

Not Used

20

0.35 PU

1124

Door Lock Key Switch Unlock Signal

21

0.35 YE

1491

Backlight Lamps Control

22

0.35 L-GN

1123

Door Lock Key Switch Lock Signal

23-25

--

--

Not Used

Body Control Module (BCM) X7


Object Number: 1664505  Size: CH

Connector Part Information

  • OEM: 15466053
  • Service: 88988806
  • Description: 28-Way F HIT Series (GY)

Terminal Part Information

  • Terminal/Tray: SNAC3-A021T-M0.64/20
  • Core/Insulation Crimp: J/J
  • Release Tool/Test Probe: 15315247/J-35616-64B (L-BU)

Body Control Module (BCM) X7

Pin

Wire

Circuit

Function

1-5

--

--

Not Used

6

0.35 L-BU

5921

Driver Door Unlock Relay Control

7

0.35 L-BU

195

Door Lock Control

8

--

--

Not Used

9

0.35 WH

194

Door Unlock Control

10

--

--

Not Used

11

0.35 OG/BK

781

Driver Door Lock Switch Unlock Signal

12

0.35 PK/BK

780

Driver Door Lock Switch Lock Signal

13

0.35 BN

253

Trunk Release Relay Control

14-21

--

--

Not Used

22

0.5 D-GN

5060

Low Speed GMLAN Serial Data

23

0.35 TN

126

Left Front Door Open Switch Signal (-HP7 -HP5)

24

--

--

Not Used

25

0.35 PU/WH

1382

LED Dimming Signal/LED Dimming Supply

26-28

--

--

Not Used

Brake Booster Vacuum Sensor (HP7)


Object Number: 1331443  Size: CH

Connector Part Information

  • OEM: 15365614
  • Service: 88988583
  • Description: 3-Way F Kompakt 2.8 Series, Sealed (BK)

Terminal Part Information

  • Terminal/Tray: See Terminal Repair Kit
  • Core/Insulation Crimp: See Terminal Repair Kit
  • Release Tool/Test Probe: See Terminal Repair Kit

Brake Booster Vacuum Sensor (HP7)

Pin

Wire

Circuit

Function

1

0.5 GY

9905

5-Volt Reference 2

2

0.5 TN/BK

9945

Low Reference

3

0.5 YE

9914

Brake Booster Vacuum Sensor Signal

Brake Fluid Level Switch (HP7)


Object Number: 1538760  Size: CH

Connector Part Information

  • OEM: 15449028
  • Service: 88987993
  • Description: 2-Way F Metri-Pack 150.2 Series, Sealed, Pull To Seat (BK)

Terminal Part Information

  • Terminal/Tray: 12124075/5
  • Core/Insulation Crimp: E/C
  • Release Tool/Test Probe: 12180559-1/J-35616-14 (GN)

Brake Fluid Level Switch (HP7)

Pin

Wire

Circuit

Function

A

0.35 BK

650

Ground

B

0.35 PU

333

Brake Fluid Level Sensor Signal

Brake Fluid Level Switch (without HP7)


Object Number: 655692  Size: CH

Connector Part Information

  • OEM: 12162195
  • Service: 88987993
  • Description: 2-Way F Metri-Pack 150.2 Series, Sealed, Pull To Seat (BK)

Terminal Part Information

  • Terminal/Tray: 12124075/5
  • Core/Insulation Crimp: E/C
  • Release Tool/Test Probe: 12180559-1/J-35616-14 (GN)

Brake Fluid Level Switch (without HP7)

Pin

Wire

Circuit

Function

A

0.35 BK

650

Ground

B

0.35 PU

333

Brake Fluid Level Sensor Signal

Brake Fluid Pressure Sensor (HP7)


Object Number: 258299  Size: CH

Connector Part Information

  • OEM: 12078090
  • Service: 88988301
  • Description: 3-Way F Metri-Pack 150 Series, Sealed (BK)

Terminal Part Information

  • Terminal/Tray: See Terminal Repair Kit
  • Core/Insulation Crimp: See Terminal Repair Kit
  • Release Tool/Test Probe: See Terminal Repair Kit

Brake Fluid Pressure Sensor (HP7)

Pin

Wire

Circuit

Function

A

0.5 TN/BK

6033

Low Reference

B

0.5 GY

6034

5-Volt Reference 1

C

0.5 YE

2034

Brake Fluid Level Switch Signal

Brake Master Cylinder Pressure Sensor (HP5)


Object Number: 831393  Size: CH

Connector Part Information

  • OEM: 15355474
  • Service: 88988301
  • Description: 6-Way F MQS Socket, Sealed (BK)

Terminal Part Information

  • Terminal/Tray: See Terminal Repair Kit
  • Core/Insulation Crimp: See Terminal Repair Kit
  • Release Tool/Test Probe: See Terminal Repair Kit

Brake Master Cylinder Pressure Sensor (HP5)

Pin

Wire

Circuit

Function

1

0.5 BN

5382

Low Reference

2-3

--

--

Not Used

4

0.5 L-BU

3334

Pedal Position A Signal

5

0.5 GY

3335

5 V Reference

6

0.5 PU

3333

Pedal Position B Signal

Brake Pedal Position Sensor (HP5)


Object Number: 1243663  Size: CH

Connector Part Information

  • OEM: 15332132
  • Service: 88988301
  • Description: 3-Way F GT 150 Series, (BK)

Terminal Part Information

  • Terminal/Tray: See Terminal Repair Kit
  • Core/Insulation Crimp: See Terminal Repair Kit
  • Release Tool/Test Probe: See Terminal Repair Kit

Brake Pedal Position Sensor (HP5)

Pin

Wire

Circuit

Function

A

0.35 OG/BK

6035

Low Reference

B

0.5 D-BU

6037

Brake Pedal Position Sensor Signal

C

0.5 GY

6036

5 V Reference

Camshaft Position (CMP) Actuator Solenoid Valve - Bank 1 Exhaust (LCS)


Object Number: 1331453  Size: CH

Connector Part Information

  • OEM: 15411401
  • Service: 88988588
  • Description: 2-Way F 090 II, Sealed (BK)

Terminal Part Information

  • Terminal/Tray: 7116-4025/11
  • Core/Insulation Crimp: E/1
  • Release Tool/Test Probe: 15313892/J-35616-18 (BK)

Camshaft Position (CMP) Actuator Solenoid Valve - Bank 1 Exhaust (LCS)

Pin

Wire

Circuit

Function

1

0.8 PK/BK

5293

Powertrain Main Relay Fused Supply

2

0.8 L-GN

5282

Camshaft Phaser Exhaust Solenoid (1)

Camshaft Position (CMP) Actuator Solenoid Valve - Bank 1 Exhaust (LY7)


Object Number: 1331453  Size: CH

Connector Part Information

  • OEM: 15411401
  • Service: 88988588
  • Description: 2-Way F 090 II, Sealed (BK)

Terminal Part Information

  • Terminal/Tray: 7116-4025/11
  • Core/Insulation Crimp: E/1
  • Release Tool/Test Probe: 15313892/J-35616-18 (BK)

Camshaft Position (CMP) Actuator Solenoid Valve - Bank 1 Exhaust (LY7)

Pin

Wire

Circuit

Function

1

0.5 WH/BK

6396

Camshaft Position (CMP) Actuator Solenoid Control - Bank 1 Exhaust

2

0.5 BN/WH

6754

Low Reference

Camshaft Position (CMP) Actuator Solenoid Valve - Bank 1 Intake (LCS)


Object Number: 1331453  Size: CH

Connector Part Information

  • OEM: 15411401
  • Service: 88988588
  • Description: 2-Way F 090 II, Sealed (BK)

Terminal Part Information

  • Terminal/Tray: 7116-4025/11
  • Core/Insulation Crimp: E/1
  • Release Tool/Test Probe: 15313892/J-35616-18 (BK)

Camshaft Position (CMP) Actuator Solenoid Valve - Bank 1 Intake (LCS)

Pin

Wire

Circuit

Function

1

0.8 PK/BK

5293

Powertrain Main Relay Fused Supply

2

0.8 PU

5284

Camshaft Phaser Intake Solenoid 1

Camshaft Position (CMP) Actuator Solenoid Valve - Bank 1 Intake (LY7)


Object Number: 1331453  Size: CH

Connector Part Information

  • OEM: 15411401
  • Service: 88988588
  • Description: 2-Way F 090 II, Sealed (BK)

Terminal Part Information

  • Terminal/Tray: 7116-4025/11
  • Core/Insulation Crimp: E/1
  • Release Tool/Test Probe: 15313892/J-35616-18 (BK)

Camshaft Position (CMP) Actuator Solenoid Valve - Bank 1 Intake (LY7)

Pin

Wire

Circuit

Function

1

0.5 PK/BK

6395

Camshaft Position (CMP) Actuator Solenoid Control - Bank 1 Intake

2

0.5 BN

6753

Low Reference

Camshaft Position (CMP) Actuator Solenoid Valve - Bank 2 Exhaust (LCS)


Object Number: 1331453  Size: CH

Connector Part Information

  • OEM: 15411401
  • Service: 88988588
  • Description: 2-Way F 090 II, Sealed (BK)

Terminal Part Information

  • Terminal/Tray: 7116-4025/11
  • Core/Insulation Crimp: E/1
  • Release Tool/Test Probe: 15313892/J-35616-18 (BK)

Camshaft Position (CMP) Actuator Solenoid Valve - Bank 2 Exhaust (LCS)

Pin

Wire

Circuit

Function

1

0.8 PK/BK

5293

Powertrain Main Relay Fused Supply

2

0.8 WH

5283

Low Reference

Camshaft Position (CMP) Actuator Solenoid Valve - Bank 2 Exhaust (LY7)


Object Number: 1331453  Size: CH

Connector Part Information

  • OEM: 15411401
  • Service: 88988588
  • Description: 2-Way F 090 II, Sealed (BK)

Terminal Part Information

  • Terminal/Tray: 7116-4025/11
  • Core/Insulation Crimp: E/1
  • Release Tool/Test Probe: 15313892/J-35616-18 (BK)

Camshaft Position (CMP) Actuator Solenoid Valve - Bank 2 Exhaust (LY7)

Pin

Wire

Circuit

Function

1

0.5 GY/BK

6394

Camshaft Position (CMP) Actuator Solenoid Control - Bank 2 Exhaust

2

0.5 D-BU/WH

6756

Low Reference

Camshaft Position (CMP) Actuator Solenoid Valve - Bank 2 Intake (LCS)


Object Number: 1331453  Size: CH

Connector Part Information

  • OEM: 15411401
  • Service: 88988588
  • Description: 2-Way F 090 II, Sealed (BK)

Terminal Part Information

  • Terminal/Tray: 7116-4025/11
  • Core/Insulation Crimp: E/1
  • Release Tool/Test Probe: 15313892/J-35616-18 (BK)

Camshaft Position (CMP) Actuator Solenoid Valve - Bank 2 Intake (LCS)

Pin

Wire

Circuit

Function

1

0.8 PK/BK

5293

Powertrain Main Relay Fused Supply

2

0.8 OG

5272

Camshaft Position (CMP) Actuator Solenoid Control - Bank 2 Intake

Camshaft Position (CMP) Actuator Solenoid Valve - Bank 2 Intake (LY7)


Object Number: 1331453  Size: CH

Connector Part Information

  • OEM: 15411401
  • Service: 88988588
  • Description: 2-Way F 090 II, Sealed (BK)

Terminal Part Information

  • Terminal/Tray: 7116-4025/11
  • Core/Insulation Crimp: E/1
  • Release Tool/Test Probe: 15313892/J-35616-18 (BK)

Camshaft Position (CMP) Actuator Solenoid Valve - Bank 2 Intake (LY7)

Pin

Wire

Circuit

Function

1

0.5 TN/BK

6397

Camshaft Position (CMP) Actuator Solenoid Control - Bank 2 Intake

2

0.5 D-BU

6755

Low Reference

Camshaft Position (CMP) Actuator Solenoid Valve - Exhaust (LAT/LE5)


Object Number: 646406  Size: CH

Connector Part Information

  • OEM: 15336004
  • Service: 15306187
  • Description: 2-Way F GT 150 Series Sealed (BK)

Terminal Part Information

  • Terminal/Tray: 15326267/19
  • Core/Insulation Crimp: E/4
  • Release Tool/Test Probe: 15315247/J-35616-2A (GY)

Camshaft Position (CMP) Actuator Solenoid Valve - Exhaust (LAT/LE5)

Pin

Wire

Circuit

Function

A

0.5 L-GN

5282

Camshaft Position (CMP) Actuator Solenoid Control (LAT)

0.5 WH/BK

6396

Camshaft Position (CMP) Actuator Solenoid Control (LE5)

B

0.5 BN/WH

6754

Low Reference

Camshaft Position (CMP) Actuator Solenoid Valve - Intake (LAT/LE5)


Object Number: 646403  Size: CH

Connector Part Information

  • OEM: 15335987
  • Service: 15306430
  • Description: 2-Way F GT 150 Series Sealed 3.2 X 4.0 (BK)

Terminal Part Information

  • Terminal/Tray: 15326267/19
  • Core/Insulation Crimp: E/4
  • Release Tool/Test Probe: 15315247/J-35616-2A (GY)

Camshaft Position (CMP) Actuator Solenoid Valve - Intake (LAT/LE5)

Pin

Wire

Circuit

Function

A

0.5 PU

5284

Camshaft Position (CMP) Actuator Solenoid Control (LAT)

0.5 PK/BK

6395

Camshaft Position (CMP) Actuator Solenoid Control (LE5)

B

0.5 BN

6753

Low Reference

Camshaft Position (CMP) Actuator Solenoid Valve (LZ4)


Object Number: 1664592  Size: CH

Connector Part Information

  • OEM: 13528494
  • Service: 19178174
  • Description: 2-Way F 064, Sealed (BK)

Terminal Part Information

  • Terminal/Tray: 7116-4618-02/14
  • Core/Insulation Crimp: P/P
  • Release Tool/Test Probe: J-38125-215A/J-35616-64B (L-BU)

Camshaft Position (CMP) Actuator Solenoid Valve (LZ4)

Pin

Wire

Circuit

Function

1

0.5 PK/BK

6395

Camshaft Position (CMP) Actuator Solenoid Control

2

0.5 BN

6753

Low Reference

Camshaft Position (CMP) Sensor - Bank 1 Exhaust (LCS)


Object Number: 1331443  Size: CH

Connector Part Information

  • OEM: 15339753
  • Service: 88988595
  • Description: 3-Way F Compact 2.8 Series, Sealed (BK)

Terminal Part Information

  • Terminal/Tray: 1928498056/8
  • Core/Insulation Crimp: E/1
  • Release Tool/Test Probe: J-38125-561/J-35616-35 (VT)

Camshaft Position (CMP) Sensor - Bank 1 Exhaust (LCS)

Pin

Wire

Circuit

Function

1

0.5 TN

552

Low Reference

2

0.5 D-GN

5273

Camshaft Position (CMP) Sensor Signal - Bank 1 Exhaust

3

0.5 GY

705

5-Volt Reference 1

Camshaft Position (CMP) Sensor - Bank 1 Exhaust (LY7)


Object Number: 1331443  Size: CH

Connector Part Information

  • OEM: 15339753
  • Service: 88988595
  • Description: 3-Way F Compact 2.8 Series, Sealed (BK)

Terminal Part Information

  • Terminal/Tray: 1928498056/8
  • Core/Insulation Crimp: E/1
  • Release Tool/Test Probe: J-38125-561/J-35616-35 (VT)

Camshaft Position (CMP) Sensor - Bank 1 Exhaust (LY7)

Pin

Wire

Circuit

Function

1

0.5 PU

6267

Low Reference

2

0.5 D-GN/WH

6264

Camshaft Position (CMP) Sensor Signal - Bank 1 Exhaust

3

0.5 D-GN

6457

5-Volt Reference 1

Camshaft Position (CMP) Sensor - Bank 1 Intake (LCS)


Object Number: 1331443  Size: CH

Connector Part Information

  • OEM: 15339753
  • Service: 88988595
  • Description: 3-Way F Compact 2.8 Series, Sealed (BK)

Terminal Part Information

  • Terminal/Tray: 1928498056/8
  • Core/Insulation Crimp: E/1
  • Release Tool/Test Probe: J-38125-561/J-35616-35 (VT)

Camshaft Position (CMP) Sensor - Bank 1 Intake (LCS)

Pin

Wire

Circuit

Function

1

0.5 TN

552

Low Reference

2

0.5 OG

5275

Camshaft Position (CMP) Sensor Signal - Bank 1 Intake

3

0.5 GY

705

5-Volt Reference 1

Camshaft Position (CMP) Sensor - Bank 1 Intake (LY7)


Object Number: 1331443  Size: CH

Connector Part Information

  • OEM: 15339753
  • Service: 88988595
  • Description: 3-Way F Compact 2.8 Series, Sealed (BK)

Terminal Part Information

  • Terminal/Tray: 1928498056/8
  • Core/Insulation Crimp: E/1
  • Release Tool/Test Probe: J-38125-561/J-35616-35 (VT)

Camshaft Position (CMP) Sensor - Bank 1 Intake (LY7)

Pin

Wire

Circuit

Function

1

0.5 BN

6266

Low Reference

2

0.5 D-BU/WH

6265

Camshaft Position (CMP) Sensor Signal - Bank 1 Intake

3

0.5 D-BU

6259

5-Volt Reference 1

Camshaft Position (CMP) Sensor - Bank 2 Exhaust (LCS)


Object Number: 1331443  Size: CH

Connector Part Information

  • OEM: 15339753
  • Service: 88988595
  • Description: 3-Way F Compact 2.8 Series, Sealed (BK)

Terminal Part Information

  • Terminal/Tray: 1928498056/8
  • Core/Insulation Crimp: E/1
  • Release Tool/Test Probe: J-38125-561/J-35616-35 (VT)

Camshaft Position (CMP) Sensor - Bank 2 Exhaust (LCS)

Pin

Wire

Circuit

Function

1

0.5 TN

552

Low Reference

2

0.5 PU

5274

Camshaft Position (CMP) Sensor Signal - Bank 2 Exhaust

3

0.5 GY

705

5-Volt Reference 1

Camshaft Position (CMP) Sensor - Bank 2 Exhaust (LY7)


Object Number: 1331443  Size: CH

Connector Part Information

  • OEM: 15339753
  • Service: 88988595
  • Description: 3-Way F Compact 2.8 Series, Sealed (BK)

Terminal Part Information

  • Terminal/Tray: 1928498056/8
  • Core/Insulation Crimp: E/1
  • Release Tool/Test Probe: J-38125-561/J-35616-35 (VT)

Camshaft Position (CMP) Sensor - Bank 2 Exhaust (LY7)

Pin

Wire

Circuit

Function

1

0.5 WH

6269

Low Reference

2

0.5 PK/BK

6262

Camshaft Position (CMP) Sensor Signal - Bank 2 Exhaust

3

0.5 PK

6261

5-Volt Reference 1

Camshaft Position (CMP) Sensor - Bank 2 Intake (LCS)


Object Number: 1331443  Size: CH

Connector Part Information

  • OEM: 15339753
  • Service: 88988595
  • Description: 3-Way F Compact 2.8 Series, Sealed (BK)

Terminal Part Information

  • Terminal/Tray: 1928498056/8
  • Core/Insulation Crimp: E/1
  • Release Tool/Test Probe: J-38125-561/J-35616-35 (VT)

Camshaft Position (CMP) Sensor - Bank 2 Intake (LCS)

Pin

Wire

Circuit

Function

1

0.5 TN

552

Low Reference

2

0.5 YE

5276

Camshaft Position (CMP) Sensor Signal - Bank 2 Intake

3

0.5 GY

705

5-Volt Reference 1

Camshaft Position (CMP) Sensor - Bank 2 Intake (LY7)


Object Number: 1331443  Size: CH

Connector Part Information

  • OEM: 15339753
  • Service: 88988595
  • Description: 3-Way F Compact 2.8 Series, Sealed (BK)

Terminal Part Information

  • Terminal/Tray: 1928498056/8
  • Core/Insulation Crimp: E/1
  • Release Tool/Test Probe: J-38125-561/J-35616-35 (VT)

Camshaft Position (CMP) Sensor - Bank 2 Intake (LY7)

Pin

Wire

Circuit

Function

1

0.5 TN

6268

Low Reference

2

0.5 OG/BK

6263

Camshaft Position (CMP) Sensor Signal - Bank 2 Intake

3

0.5 OG

6260

5-Volt Reference 1

Camshaft Position (CMP) Sensor - Exhaust (LAT/LE5)


Object Number: 646415  Size: CH

Connector Part Information

  • OEM: 15326808
  • Service: 15306388
  • Description: 3-Way F GT 150 Series, Sealed (BK)

Terminal Part Information

  • Terminal/Tray: 15326427/5
  • Core/Insulation Crimp: E/A
  • Release Tool/Test Probe: 15315247/J-35616-2A (GY)

Camshaft Position (CMP) Sensor - Exhaust (LAT/LE5)

Pin

Wire

Circuit

Function

A

0.5 D-GN

6457

5-Volt Reference 1

B

0.5 PU

6267

Low Reference

C

0.5 D-GN/WH

6264

Camshaft Position (CMP) Sensor Signal - Exhaust

Camshaft Position (CMP) Sensor - Intake (LAT/LE5)


Object Number: 646415  Size: CH

Connector Part Information

  • OEM: 15326808
  • Service: 15306388
  • Description: 3-Way F GT 150 Series, Sealed (BK)

Terminal Part Information

  • Terminal/Tray: 15326427/5
  • Core/Insulation Crimp: E/A
  • Release Tool/Test Probe: 15315247/J-35616-2A (GY)

Camshaft Position (CMP) Sensor - Intake (LAT/LE5)

Pin

Wire

Circuit

Function

A

0.5 D-BU

6259

5-Volt Reference 1

B

0.5 BN

6266

Low Reference

C

0.5 D-BU/WH

6265

Camshaft Position (CMP) Sensor Signal - Intake

Camshaft Position (CMP) Sensor (LZ4)


Object Number: 646415  Size: CH

Connector Part Information

  • OEM: 15326808
  • Service: 15306388
  • Description: 3-Way F GT 150 Series, Sealed (BK)

Terminal Part Information

  • Terminal/Tray: 15326427/5
  • Core/Insulation Crimp: E/A
  • Release Tool/Test Probe: 15315247/J-35616-2A (GY)

Camshaft Position (CMP) Sensor (LZ4)

Pin

Wire

Circuit

Function

A

0.5 D-BU

6259

5-Volt Reference 1

B

0.5 BN

6266

Low Reference

C

0.5 D-BU/WH

6265

Camshaft Position (CMP) Sensor Signal - Intake

Cellular Telephone Microphone (UE1)


Object Number: 35441  Size: CH

Connector Part Information

  • OEM: 12047663
  • Service: 12085481
  • Description: 2-Way M Metri-Pack 150 Series (BK)

Terminal Part Information

  • Terminal/Tray: 12047581/2
  • Core/Insulation Crimp: E/C
  • Release Tool/Test Probe: 12094429/J-35616-3 (GY)

Cellular Telephone Microphone (UE1)

Pin

Wire

Circuit

Function

A

0.5 BARE

1489

Drain Wire

B

0.5 GY

655

Cellular Microphone Signal

Center High Mounted Stop Lamp (CHMSL)


Object Number: 1869767  Size: CH

Connector Part Information

  • OEM: 15365708
  • Service: See Catalog
  • Description: 2-Way F MQS Series, Sealed (BK)

Terminal Part Information

  • Terminal/Tray: 962885-5/15
  • Core/Insulation Crimp: 6/6
  • Release Tool/Test Probe: 12094429/J-35616-64B (L-BU)

Center High Mounted Stop Lamp (CHMSL)

Pin

Wire

Circuit

Function

1

0.5 L-BU

20

Stop Lamp Supply Voltage

2

0.5 BK

550

Ground

Courtesy Lamp - Left Front Door


Object Number: 810080  Size: CH

Connector Part Information

  • OEM: 13583214
  • Service: See Catalog
  • Description: 2-Way F Lamp Socket Bulb Base Type W2 Axial (GY)

Terminal Part Information

  • Terminal/Tray: 49702-6702/28
  • Core/Insulation Crimp: J/J
  • Release Tool/Test Probe: 12094429/J-35616-18 (BK)

Courtesy Lamp - Left Front Door

Pin

Wire

Circuit

Function

A

0.35 BK

690

Courtesy Lamp Supply Voltage

B

0.35 BK

450

Ground

Courtesy Lamp - Right Front Door


Object Number: 810080  Size: CH

Connector Part Information

  • OEM: 13583214
  • Service: 19178176
  • Description: 2-Way F Lamp Socket Bulb Base Type W2 Axial (GY)

Terminal Part Information

  • Terminal/Tray: 49702-6702/28
  • Core/Insulation Crimp: J/J
  • Release Tool/Test Probe: 12094429/J-35616-18 (BK)

Courtesy Lamp - Right Front Door

Pin

Wire

Circuit

Function

A

0.35 BK

690

Courtesy Lamp Supply Voltage

B

0.35 BK

450

Ground

Courtesy/Reading Lamp - Front


Object Number: 1835132  Size: CH

Connector Part Information

  • OEM: 13513470
  • Service: See Catalog
  • Description: 8-Way F Micro-Pack HVT Series (BK)

Terminal Part Information

  • Pins: 2-4, 6, 8
  • Terminal/Tray: 15445905/23
  • Core/Insulation Crimp: J/J
  • Release Tool/Test Probe: 12180559/J-35616-16 (L-GN)

Courtesy/Reading Lamp - Front

Pin

Wire

Circuit

Function

1

--

--

Not Used

2

0.35 PU

328

Interior Lamp Switch Voltage Supply Circuit

3

0.5 GY/BK

690

Courtesy Lamp Supply Voltage

4

0.5 BK

650

Ground

5

--

--

Not Used

6

0.5 OG

1732

Courtesy Lamps Supply Voltage

7

--

--

Not Used

8

0.5 GY

157

Courtesy Lamp Control

Courtesy/Reading Lamp


Object Number: 1962077  Size: CH

Connector Part Information

  • OEM: 13513469
  • Service: See Catalog
  • Description: 4-Way F Micro-Pack HVT Series (BK)

Terminal Part Information

  • Terminal/Tray: 15445905/23
  • Core/Insulation Crimp: J/J
  • Release Tool/Test Probe: 12180559/J-35616-16 (L-GN)

Courtesy/Reading Lamp

Pin

Wire

Circuit

Function

1

--

--

Not Used

2

0.5 BK

650

Ground

3

0.5 OG

1732

Courtesy Lamps Supply Voltage

4

0.5 GY

157

Courtesy Lamp Control

Crankshaft Position (CKP) Sensor (LAT)


Object Number: 1664596  Size: CH

Connector Part Information

  • OEM: 13599025
  • Service: 88988337
  • Description: 3-Way F USCAR 064 Sealed (BK)

Terminal Part Information

  • Terminal/Tray: See Terminal Repair Kit
  • Core/Insulation Crimp: See Terminal Repair Kit
  • Release Tool/Test Probe: See Terminal Repair Kit

Crankshaft Position (CKP) Sensor (LAT)

Pin

Wire

Circuit

Function

1

0.5 L-GN

2867

5-Volt Reference 2

2

0.5 PU

574

Low Reference

3

0.5 YE

573

Crankshaft Position Sensor Signal

Crankshaft Position (CKP) Sensor (LCS)


Object Number: 1664596  Size: CH

Connector Part Information

  • OEM: 13599025
  • Service: 88988337
  • Description: 3-Way F USCAR 064 Sealed (BK)

Terminal Part Information

  • Terminal/Tray: See Terminal Repair Kit
  • Core/Insulation Crimp: See Terminal Repair Kit
  • Release Tool/Test Probe: See Terminal Repair Kit

Crankshaft Position (CKP) Sensor (LCS)

Pin

Wire

Circuit

Function

1

0.5 TN

452

Low Reference

2

0.5 YE

573

Crankshaft Position Sensor Signal

3

0.5 GY

605

5-Volt Reference 2

Crankshaft Position (CKP) Sensor (LE5)


Object Number: 1664596  Size: CH

Connector Part Information

  • OEM: 13525738
  • Service: 88988337
  • Description: 3-Way F USCAR 064 Sealed (BK)

Terminal Part Information

  • Terminal/Tray: 33467-0005/23
  • Core/Insulation Crimp: J/J
  • Release Tool/Test Probe: J-38125-213/J-35616-64B (L-BU)

Crankshaft Position (CKP) Sensor (LE5)

Pin

Wire

Circuit

Function

1

0.5 PU/WH

6270

5-Volt Reference 2

2

0.5 GY/BK

6272

Low Reference

3

0.5 WH/BK

6271

Crankshaft Position Sensor Signal

Crankshaft Position (CKP) Sensor (LY7)


Object Number: 1664596  Size: CH

Connector Part Information

  • OEM: 13525738
  • Service: 88988337
  • Description: 3-Way F USCAR 064 Sealed (BK)

Terminal Part Information

  • Terminal/Tray: 33467-0005/23
  • Core/Insulation Crimp: J/J
  • Release Tool/Test Probe: J-38125-213/J-35616-64B (L-BU)

Crankshaft Position (CKP) Sensor (LY7)

Pin

Wire

Circuit

Function

1

0.5 GY/BK

6272

Low Reference

2

0.5 WH/BK

6271

Crankshaft Position Sensor Signal

3

0.5 PU/WH

6270

5-Volt Reference 2

Crankshaft Position (CKP) Sensor (LZ4)


Object Number: 646415  Size: CH

Connector Part Information

  • OEM: 15326808
  • Service: 15306388
  • Description: 3-Way F GT 150 Series, Sealed (BK)

Terminal Part Information

  • Terminal/Tray: 15326427/5
  • Core/Insulation Crimp: E/A
  • Release Tool/Test Probe: 15315247/J-35616-2A (GY)

Crankshaft Position (CKP) Sensor (LZ4)

Pin

Wire

Circuit

Function

A

0.5 PU/WH

6270

5-Volt Reference 2

B

0.5 GY/BK

6272

Low Reference

C

0.5 WH/BK

6271

Crankshaft Position Sensor Signal

Data Link Connector (DLC)


Object Number: 1962076  Size: CH

Connector Part Information

  • OEM: 13580435
  • Service: 19178163
  • Description: 16-Way F CONN (BK)

Terminal Part Information

  • Terminal/Tray: 50420-8000/15
  • Core/Insulation Crimp: See Terminal Repair Kit
  • Release Tool/Test Probe: 12094429/J-35616-2A (GY)

Data Link Connector (DLC)

Pin

Wire

Circuit

Function

1

0.5 D-GN

5060

Low Speed GMLAN Serial Data

2

--

--

Not Used

3

0.5 D-BU

6105

High Speed GM LAN Serial Data + 2 (HP5)

4

0.5 BK

350

Ground

5

0.5 BK

350

Ground

6

0.5 TN/BK

2500

High Speed GMLAN Serial Data Bus+

7-10

--

--

Not Used

11

0.5 L-BU

6106

High Speed GM LAN Serial Data - 2 (HP5)

12-13

--

--

Not Used

14

0.5 TN

2501

High Speed GMLAN Serial Data Bus-

15

--

--

Not Used

16

0.5 RD/WH

1840

Battery Positive Voltage

Data Link Resistor 1 (HP5)


Object Number: 523630  Size: CH

Connector Part Information

  • OEM: 13510085
  • Service: 19153731
  • Description: 2-Way F GT 150 Series, Sealed (BK)

Terminal Part Information

  • Terminal/Tray: 15326427/5
  • Core/Insulation Crimp: E/A
  • Release Tool/Test Probe: 15315247/J-35616-2A (GY)

Data Link Resistor 1 (HP5)

Pin

Wire Color

Circuit

Function

A

0.5 TN/BK

2500

High Speed GMLAN Serial Data Bus +

B

0.5 TN

2501

High Speed GMLAN Serial Data Bus -

Data Link Resistor 2 (HP5)


Object Number: 523630  Size: CH

Connector Part Information

  • OEM: 13510085
  • Service: 15326801
  • Description: 2-Way F GT 150 Series (BK)

Terminal Part Information

  • Terminal/Tray: 15326427/5
  • Core/Insulation Crimp: E/A
  • Release Tool/Test Probe: 15315247/J-35616-2A (GY)

Data Link Resistor 2 (HP5)

Pin

Wire Color

Circuit

Function

A

0.5 D-BU

6105

PTLAN +

B

0.5 L-BU

6106

PTLAN -

Digital Radio Receiver (U2K)


Object Number: 850856  Size: CH

Connector Part Information

  • OEM: 15394150
  • Service: 15394150
  • Description: 16-Way F Micro-Pack 064 Series (BK)

Terminal Part Information

  • Terminal/Tray: 15359541/4
  • Core/Insulation Crimp: M/M
  • Release Tool/Test Probe: 15381651-2/J-35616-64B (L-BU)

Digital Radio Receiver (U2K)

Pin

Wire

Circuit

Function

1

0.35 TN/WH

372

Remote Radio Audio Output (-)

2

0.35 BN/WH

367

Left Audio Signal (+)

3

0.35 D-GN/WH

368

Right Audio Signal (+)

4

0.35 GY

388

Remote Radio Right Audio Signal

5

0.5 D-GN

5060

Low Speed GMLAN Serial Data

6-8

--

--

Not Used

9

0.5 BK/WH

451

Ground

10

--

--

Not Used

11

0.35 BARE

1573

Drain Wire

12-15

--

--

Not Used

16

0.5 RD/WH

1840

Battery Positive Voltage

Door Latch - Driver


Object Number: 845631  Size: CH

Connector Part Information

  • OEM: 10768367
  • Service: 10768367
  • Description: 10-Way F Sealed Series (BK)

Terminal Part Information

  • Terminal/Tray: 4-969005-1/16
  • Core/Insulation Crimp: E/1
  • Release Tool/Test Probe: J-38125-560/J-35616-33 (YE)

Door Latch - Driver

Pin

Wire

Circuit

Function

1

--

--

Not Used

2

0.5 TN

694

Driver Door Lock Actuator Unlock Control

3

0.5 GY

295

Door Lock Actuator Lock Control

4

0.35 L-GN

1123

Door Lock Key Switch Lock Signal

5

--

--

Not Used

6

0.35 GY/BK

745

Left Front Door Ajar Switch Signal

7

0.35 TN

126

Left Front Door Open Switch Signal

8

0.35 BK

450

Ground

9

0.35 PU

1124

Door Lock Key Switch Unlock Signal

10

--

--

Not Used

Door Latch - Left Rear


Object Number: 812596  Size: CH

Connector Part Information

  • OEM: 10768369
  • Service: 88986251
  • Description: 6-Way F Sealed Series (BK)

Terminal Part Information

  • Terminal/Tray: 4-969005-1/16
  • Core/Insulation Crimp: E/1
  • Release Tool/Test Probe: J-38125-560/J-35616-33 (YE)

Door Latch - Left Rear

Pin

Wire

Circuit

Function

1

--

--

Not Used

2

0.5 TN

294

Door Lock Actuator Unlock Control

3

0.5 GY

295

Door Lock Actuator Lock Control

4

0.35 TN/WH

746

Left Rear Door Ajar Switch Signal

5

--

--

Not Used

6

0.35 BK

650

Ground

Door Latch - Passenger


Object Number: 812596  Size: CH

Connector Part Information

  • OEM: 10768369
  • Service: 88986251
  • Description: 6-Way F Sealed Series (BK)

Terminal Part Information

  • Pins: 1, 3, 5-6
  • Terminal/Tray: 964274-2/16
  • Core/Insulation Crimp: E/1
  • Release Tool/Test Probe: J-38125-560/J-35616-33 (YE)

Door Latch - Passenger

Pin

Wire

Circuit

Function

1

0.35 TN/WH

746

Right Front Door Ajar Switch Signal

2

--

--

Not Used

3

0.35 BK

450

Ground

4

--

--

Not Used

5

0.5 TN

294

Door Lock Actuator Unlock Control

6

0.5 GY

295

Door Lock Actuator Lock Control

Door Latch - Right Rear


Object Number: 812596  Size: CH

Connector Part Information

  • OEM: 10768369
  • Service: 88986251
  • Description: 6-Way F Sealed Series (BK)

Terminal Part Information

  • Terminal/Tray: 964274-2/16
  • Core/Insulation Crimp: E/1
  • Release Tool/Test Probe: J-38125-560/J-35616-33 (YE)

Door Latch - Right Rear

Pin

Wire

Circuit

Function

1

0.35 TN/WH

746

Right Rear Door Ajar Switch Signal

2

--

--

Not Used

3

0.35 BK

550

Ground

4

--

--

Not Used

5

0.5 TN

294

Door Lock Actuator Unlock Control

6

0.5 GY

295

Door Lock Actuator Lock Control

Door Lock Switch - Driver


Object Number: 1962077  Size: CH

Connector Part Information

  • OEM: 13513469
  • Service: See Catalog
  • Description: 4-Way F Micro-Pack HVT Series (BK)

Terminal Part Information

  • Terminal/Tray: 15445905/23
  • Core/Insulation Crimp: J/J
  • Release Tool/Test Probe: 12180559/J-35616-16 (L-GN)

Door Lock Switch - Driver

Pin

Wire

Circuit

Function

1

0.35 PK/BK

780

Driver Door Lock Switch Lock Signal

2

0.35 BK

450

Ground

3

0.35 OG/BK

781

Driver Door Lock Switch Unlock Signal

4

0.35 YE

1491

Backlight Lamps Control

Drive Motor Generator Battery Cooling System Air Inlet Temperature Sensor (HP5)


Object Number: 35451  Size: CH

Connector Part Information

  • OEM: 12059251
  • Service: See Catalog
  • Description: 2-Way F Micro-Pack 100 Series (BK)

Terminal Part Information

  • Terminal/Tray: See Catalog
  • Core/Insulation Crimp: See Catalog
  • Release Tool/Test Probe: See Catalog

Drive Motor Generator Battery Cooling System Air Inlet Temperature Sensor (HP5)

Pin

Wire

Circuit

Function

A

0.35 WH

102

Drive Motor Generator Battery Air Inlet Temperature Sensor Signal

B

0.35 D-BU

185

Drive Motor Generator Battery Air Inlet Temperature Sensor Ground

Drive Motor Generator Battery Cooling System Coolant Pump(HP5)


Object Number: 1625659  Size: CH

Connector Part Information

  • OEM: 15383325
  • Service: See Catalog
  • Description: 2-Way F Micro-Pack 100 Series (BK)

Terminal Part Information

  • Terminal/Tray: See Catalog
  • Core/Insulation Crimp: See Catalog
  • Release Tool/Test Probe: See Catalog

Drive Motor Generator Battery Cooling System Coolant Pump(HP5)

Pin

Wire

Circuit

Function

1

0.35 GY

133

Drive Motor Generator Battery Coolant Pump Ground

2

0.35 RD/WH

157

Drive Motor Generator Battery Coolant Pump 12 Volt Supply

Drive Motor Generator Battery Cooling System Coolant Temperature Sensor (HP5)


Object Number: 646180  Size: CH

Connector Part Information

  • OEM: 12162197
  • Service: See Catalog
  • Description: 2-Way F Micro-Pack 100 Series (GY)

Terminal Part Information

  • Terminal/Tray: See Catalog
  • Core/Insulation Crimp: See Catalog
  • Release Tool/Test Probe: See Catalog

Drive Motor Generator Battery Cooling System Coolant Temperature Sensor (HP5)

Pin

Wire

Circuit

Function

A

0.35 WH

143

Drive Motor Generator Battery Coolant Temperature Sensor Signal

B

0.35 GY

103

Drive Motor Generator Battery Coolant Temperature Sensor Low Reference

Drive Motor Generator Battery Cooling System Cooling Fan (HP5)


Object Number: 73210  Size: CH

Connector Part Information

  • OEM: 12059262
  • Service: See Catalog
  • Description: 4-Way F Micro-Pack 100 Series (WH)

Terminal Part Information

  • Terminal/Tray: See Catalog
  • Core/Insulation Crimp: See Catalog
  • Release Tool/Test Probe: See Catalog

Drive Motor Generator Battery Cooling System Cooling Fan (HP5)

Pin

Wire

Circuit

Function

1

0.35 BN

148

Drive Motor Generator Battery Coolant Fan Ground

2

0.35 BN/WH

154

Drive Motor Generator Battery Coolant Fan Speed Signal

3

0.35 RD

143

Drive Motor Generator Battery Coolant Fan Signal

4

0.35 RD

160

Drive Motor Generator Battery Coolant Fan 12 Volt Supply

Drive Motor Generator Battery High Voltage Manual Disconnect Lever X1 (HP5)


Object Number: 2042485  Size: CH

Connector Part Information

  • OEM: 1587471-1
  • Service: See Catalog
  • Description: 2-Way F (OG)

Terminal Part Information

  • Terminal/Tray: See Terminal Repair Kit
  • Core/Insulation Crimp: See Terminal Repair Kit
  • Release Tool/Test Probe: See Terminal Repair Kit

Drive Motor Generator Battery High Voltage Manual Disconnect Lever X1 (HP5)

Pin

Wire

Circuit

Function

1

19 OG

--

High Voltage

2

19 OG

--

High Voltage

Drive Motor Generator Battery High Voltage Manual Disconnect Lever X2 (HP5)


Object Number: 2001235  Size: CH

Connector Part Information

  • OEM: See 1537474-1
  • Service: See Catalog
  • Description: 2-Way F (BK)

Terminal Part Information

  • Terminal/Tray: See Terminal Repair Kit
  • Core/Insulation Crimp: See Terminal Repair Kit
  • Release Tool/Test Probe: See Terminal Repair Kit

Drive Motor Generator Battery High Voltage Manual Disconnect Lever X2 (HP5)

Pin

Wire Color

Circuit

Function

1

YE

--

High Voltage Interlock Circuit Source

2

L-GN

--

High Voltage Interlock Circuit Return

Drive Motor Generator Battery Negative High Voltage Contactor Relay X1 (HP5)

Terminal Part Information

  • Harness: Drive Motor Battery Negative Relay Cable Assembly
  • Terminal: See Catalog
  • Core/Insulation Crimp: N/A
  • Description: Ring Terminal

Drive Motor Generator Battery Negative High Voltage Contactor Relay X1 (HP5)

Pin

Wire Color

Circuit

Function

-

19 OG

--

Battery Negative Voltage

Drive Motor Generator Battery Negative High Voltage Contactor Relay X2 (HP5)

Terminal Part Information

  • Harness: Drive Motor Battery Positive and Negative Cable Assembly
  • Terminal: See Catalog
  • Core/Insulation Crimp: N/A
  • Description: Ring Terminal

Drive Motor Generator Battery Negative High Voltage Contactor Relay X2 (HP5)

Pin

Wire Color

Circuit

Function

-

19 OG

--

Battery Negative Voltage

Drive Motor Generator Battery Positive High Voltage Contactor Relay X1 (HP5)

Terminal Part Information

  • Harness: Drive Motor Battery Positive Relay Cable Assembly
  • Terminal: See Catalog
  • Core/Insulation Crimp: N/A
  • Description: Ring Terminal

Drive Motor Generator Battery Positive High Voltage Contactor Relay X1 (HP5)

Pin

Wire Color

Circuit

Function

+

19 OG

--

Battery Positive Voltage

Drive Motor Generator Battery Positive High Voltage Contactor Relay X2 (HP5)

Terminal Part Information

  • Harness: Drive Motor Battery Positive and Negative Cable Assembly
  • Terminal: See Catalog
  • Core/Insulation Crimp: N/A
  • Description: Ring Terminal

Drive Motor Generator Battery Positive High Voltage Contactor Relay X2 (HP5)

Pin

Wire Color

Circuit

Function

+

19 OG

--

Battery Positive Voltage

Drive Motor Generator Battery (+) (Drive Motor Battery Positive and Negative Cable Assembly) (HP5)

Terminal Part Information

  • Harness: Drive Motor Battery Positive and Negative Cable Assembly
  • Terminal: See Catalog
  • Core/Insulation Crimp: N/A
  • Description: Ring Terminal

Drive Motor Generator Battery (+) (Drive Motor Battery Positive and Negative Cable Assembly) (HP5)

Pin

Wire Color

Circuit

Function

+

19 OG

--

Battery Positive Voltage

RD

--

Positive Voltage Monitor

Drive Motor Generator Battery (-) (Drive Motor Battery Positive and Negative Cable Assembly) (HP5)

Terminal Part Information

  • Harness: Drive Motor Battery Positive and Negative Cable Assembly
  • Terminal: See Catalog
  • Core/Insulation Crimp: N/A
  • Description: Ring Terminal

Drive Motor Generator Battery (-) (Drive Motor Battery Positive and Negative Cable Assembly) (HP5)

Pin

Wire Color

Circuit

Function

-

19 OG

--

Battery Negative Voltage

BK

--

Negative Voltage Monitor

Drive Motor Generator Battery Control Module X1 (HP5)


Object Number: 1671569  Size: CH

Connector Part Information

  • OEM: 15452126
  • Service: See Catalog
  • Description: 73-Way F Micro 64 Series, Sealed (BK)

Terminal Part Information

  • Pins: 1, 5-13, 16, 17
  • Terminal/Tray: See Terminal Repair Kit
  • Core/Insulation Crimp: See Terminal Repair Kit
  • Release Tool/Test Probe: See Terminal Repair Kit
  • Pins: 3, 14
  • Terminal/Tray: 175266-5/15
  • Core/Insulation Crimp: J/J
  • Release Tool/Test Probe: J-35616-16 (L-GN)

Drive Motor Generator Battery Control Module X1 (HP5)

Pin

Wire Color

Circuit

Function

1

0.8 RD

101

Battery Positive Voltage

2

0.8 WH

102

Inlet Air Temp sensor source

3

0.8 GY

103

Coolant Temp sensor source

4-5

--

--

Not Used

6

0.8 WH

106

Battery Temp sensor 2 source

7

0.35 BK

107

Service CAN High

8

0.35 YE

108

High Speed GMLAN Serial Data Bus +

9

0.35 WH

109

High Speed GMLAN Serial Data Bus -

10-12

--

--

Not Used

13

0.35 RD

101

Battery Positive Voltage

14

--

--

Not Used

15

0.8 WH/GN

115

High Voltage Interlock Loop Signal (1)

16

--

--

Not Used

17

0.35 GN

117

5 Volt + Current Sensor Supply

18

0.8 YE

118

Serial Data Communication Enable

19

0.8 WH/YE

119

Hybrid Accessory Input

20-21

--

--

Not Used

22

0.35 WH

122

Battery Temp sensor 4 source

23

0.35 WH

123

Service CAN Low

24

0.35 RD

124

High Speed GMLAN Serial Data Bus +

25

0.35 WH

125

High Speed GMLAN Serial Data Bus -

26-27

--

--

Not Used

28

0.35 PU/WH

128

Coolant Pump Signal

29

--

--

Not Used

30

0.35 BK

130

Current Sensor Return

31

--

--

Not Used

32

0.35 WH

132

Current Sensor Signal

33

0.35 GY/BK

133

Coolant Pump Control

34-39

--

--

Not Used

40

0.35 WH

140

Battery Temp Sensor 3 Supply

41

0.35 WH

141

Battery Temp Sensor 1 Supply

42

0.35 OG

142

Battery Temp Sensor 3 Signal

43

0.35 GY/WH

143

Coolant Fan Signal (Tach)

44

0.8 GY

144

HV Battery Pack Contactor Control Signal

45

0.35 BK

145

Battery Temp Sensor 4 Signal

46

0.35 BN

146

Battery Temp Sensor 1 Signal

47

0.8 WH/BK

147

BPCM Ground

48

0.35 BVK

148

Cooling Fan and Pump Ground

49

0.35 D-BU

149

12 Volt Contactor Relay Coil Supply

50

0.35 GN/WH

150

Precharge Contactor Relay Control

51

0.35 OG/WH

151

Positive Contactor Relay Control

52

0.35 GY

152

Negative Contactor Relay Control

53

--

--

Not Used

54

0.35 WH

154

Fan # 1 Control

55-56

--

--

Not Used

57

0.35 RD/WH

157

12 Volt Pump Supply

58-59

--

--

Not Used

60

0.35 RD

160

12 Volt Fan Supply

61-64

--

--

Not Used

65

0.35 BK

165

Inlet Air Temp Sensor Signal

66

0.35 WH

166

Coolant Temp Sensor Signal

67

0.8 BU

167

BP Fan and Pump Power

68

0.8 BU

69

--

--

Not Used

70

0.35 GN

170

Battery Temp Sensor 2 Signal

71

0.8 BN

202

High Voltage Interlock Loop Signal (2)

72

--

--

Not Used

73

0.35 BK

148

Cooling Fan and Pump Ground

Drive Motor Generator Battery Control Module X2 (HP5)


Object Number: 1228485  Size: CH

Connector Part Information

  • OEM: 15452125
  • Service: See Catalog
  • Description: 56-Way F Micro 64 Series, Sealed (BU)

Terminal Part Information

  • Terminal/Tray: 1123343-2/7
  • Core/Insulation Crimp: See Terminal Repair Kit
  • Release Tool/Test Probe: J-38125-24/J-35616-64B (L-BU)

Drive Motor Generator Battery Control Module X2 (HP5)

Pin

Wire Color

Circuit

Function

1-3

--

--

Not Used

4

0.35 WH

204

Link Voltage Low

5

--

--

Not Used

6

0.35 WH

206

Pack Voltage Low

7-11

--

--

Not Used

12

0.35 WH

212

Pack Voltage High

13-14

--

--

Not Used

15

0.35 WH

215

Link Voltage High

16-21

--

--

Not Used

22

0.35 WH

222

Battery Module Voltage 12 Negative

23-29

--

--

Not Used

30

0.35 WH

230

Battery Module Voltage 0 (Main) Negative

31

0.35 WH

231

Battery Module Voltage 2 Positive

32

0.35 WH

232

Battery Module Voltage 4 Positive

33

0.35 WH

233

Battery Module Voltage 6 Positive

34

0.35 WH

234

Battery Module Voltage 8 Positive

35

0.35 WH

235

Battery Module Voltage 10 Positive

36

0.35 WH

236

Battery Module Voltage 12 Positive

37

0.35 WH

237

Battery Module Voltage 14 Positive

38

0.35 WH

238

Battery Module Voltage 16 Positive

39

0.35 WH

239

Battery Module Voltage 18 Positive

40

0.35 WH

240

Battery Module Voltage 20 Positive

41

0.35 WH

241

Battery Module Voltage 22 Positive

42-44

--

--

Not Used

45

0.35 WH

245

Battery Module Voltage 1 Positive

46

0.35 WH

426

Battery Module Voltage 3 Positive

47

0.35 WH

247

Battery Module Voltage 5 Positive

48

0.35 WH

248

Battery Module Voltage 7 Positive

49

0.35 WH

249

Battery Module Voltage 9 Positive

50

0.35 WH

250

Battery Module Voltage 11 Positive

51

0.35 WH

251

Battery Module Voltage 13 Positive

52

0.35 WH

252

Battery Module Voltage 15 Positive

53

0.35 WH

253

Battery Module Voltage 17 Positive

54

0.35 WH

254

Battery Module Voltage 19 Positive

55

0.35 WH

255

Battery Module Voltage 21 Positive

56

--

--

Not Used

Drive Motor Generator Battery Main Contactor Control Module X4 (HP5)


Object Number: 1317522  Size: CH

Connector Part Information

  • OEM: See Catalog
  • Service: See Catalog
  • Description: 12-Way F Micro-Pack Series (BK)

Terminal Part Information

  • Terminal/Tray: See Catalog
  • Core/Insulation Crimp: See Catalog
  • Release Tool/Test Probe: See Catalog

Drive Motor Generator Battery Current Sensor and Current Limit Relay Unit (HP5)

Pin

Wire

Circuit

Function

1

0.35 PU

212

Pack Voltage Positive

2

--

--

Not Used

3

0.35 PU/OG

--

Battery Current Limit Resistor

4

--

--

Not Used

5

0.35 PU/OG

132

Battery Current Sensor Signal

6

0.35 BK

139

Current Sensor Ground

7

0.35 BK

139

Current Sensor Ground

8

0.35 PU

117

Battery Current Sensor 5 V Reference

9

0.35 PU

150

Current Limit Relay Control

10

0.35 GN

--

Positive Contactor Relay B+

11

0.35 GY/OG

--

Negative Contactor Relay B+

12

0.35 RD

149

Positive Contactor Relay B+

Drive Motor Generator Battery Main Contactor Control Module X1(HP5)

Terminal Part Information

  • Terminal: 15886594
  • Core/Insulation Crimp: N/A
  • Description: Ring Terminal

Drive Motor Generator Battery Main Contactor Control Module X1(HP5)

Pin

Wire Color

Circuit

Function

--

32 OG

--

High Voltage +

2 OG

--

Shield

Drive Motor Generator Battery Main Contactor Control Module X2 (HP5)

Terminal Part Information

  • Terminal: 15886594
  • Core/Insulation Crimp: N/A
  • Description: Ring Terminal

Drive Motor Generator Battery Main Contactor Control Module X2 (HP5)

Pin

Wire Color

Circuit

Function

--

32 OG

--

High Voltage -

2 OG

--

Shield

Drive Motor Generator Battery Main Contactor Control Module X3 (HP5)


Object Number: 2001232  Size: CH

Connector Part Information

  • OEM: 1-178128-4
  • Service: See Catalog
  • Description: 4-Way F Micro-Pack HVT Series (BK)

Terminal Part Information

  • Terminal/Tray: 15445905/23
  • Core/Insulation Crimp: J/J
  • Release Tool/Test Probe: 12180559/J-35616-16 (L-GN)

Drive Motor Generator Battery Main Contactor Control Module X3 (HP5)

Pin

Wire

Circuit

Function

1

0.35 Wh

212

Pack Voltage Positive

2

0.35 Wh

215

Link Voltage Positive

3

0.35 Wh

206

Pack Voltage Negative

4

0.35 Wh

204

Link Voltage Negative

Drive Motor Generator Battery Main Contactor Control Module X4 (HP5)


Object Number: 1420731  Size: CH

Connector Part Information

  • OEM: 1-174045-2
  • Service: See Catalog
  • Description: 12-Way F Micro-Pack HVT Series (BK)

Terminal Part Information

  • Terminal/Tray: 15445905/23
  • Core/Insulation Crimp: J/J
  • Release Tool/Test Probe: 12180559/J-35616-16 (L-GN)

Drive Motor Generator Battery Main Contactor Control Module X4 (HP5)

Pin

Wire

Circuit

Function

1

0.35 BN

171

HVIL A

2

0.35 PU

202

HVIL B

3

0.35 GN

117

+ 5V Current Sensor

4

0.35 WH

132

Current Sensor Signal

5

--

--

Not Used

6

0.35 BK

139

Current Sensor Ground

7

0.35 BU

149

12 V Contactor Supply

8

0.35 WH

151

Positive Contactor Control

9

0.35 GN/WH

150

Precharge Contactor Control

10

0.35 GY

152

Negative Contactor Control

11-12

--

--

Not Used

Drive Motor Generator Battery Main Contactor Control Module X5 (HP5)

Terminal Part Information

  • Terminal: 15886594
  • Core/Insulation Crimp: N/A
  • Description: Ring Terminal

Drive Motor Generator Battery Main Contactor Control Module X5 (HP5)

Pin

Wire Color

Circuit

Function

--

32 OG

--

High Voltage -

Drive Motor Generator Battery Main Contactor Control Module X6 (HP5)

Terminal Part Information

  • Terminal: 15886594
  • Core/Insulation Crimp: N/A
  • Description: Ring Terminal

Drive Motor Generator Battery Main Contactor Control Module X6 (HP5)

Pin

Wire Color

Circuit

Function

--

32 OG

--

High Voltage+

Drive Motor Generator Battery Negative High Voltage Contactor Relay (HP5)


Object Number: 2001235  Size: CH

Connector Part Information

  • OEM: See Catalog
  • Service: See Catalog
  • Description: 2-Way F (BK)

Terminal Part Information

  • Terminal/Tray: See Terminal Repair Kit
  • Core/Insulation Crimp: See Terminal Repair Kit
  • Release Tool/Test Probe: See Terminal Repair Kit

Drive Motor Generator Battery Negative High Voltage Contactor Relay (HP5)

Pin

Wire Color

Circuit

Function

1

PU/OG

--

Battery Positive Voltage

2

YE/OG

--

Drive Motor Generator Battery Negative High Voltage Contactor Relay Control

Drive Motor Generator Battery Positive High Voltage Contactor Relay (HP5)


Object Number: 2001235  Size: CH

Connector Part Information

  • OEM: See Catalog
  • Service: See Catalog
  • Description: 2-Way F (WH)

Terminal Part Information

  • Terminal/Tray: See Terminal Repair Kit
  • Core/Insulation Crimp: See Terminal Repair Kit
  • Release Tool/Test Probe: See Terminal Repair Kit

Drive Motor Generator Battery Positive High Voltage Contactor Relay (HP5)

Pin

Wire Color

Circuit

Function

1

GN

--

Battery Positive Voltage

2

WH/OG

--

Drive Motor Generator Battery Positive High Voltage Contactor Relay Control

Drive Motor Battery Cable Terminal Extension Cover (HP5)


Object Number: 2001235  Size: CH

Connector Part Information

  • OEM: See Catalog
  • Service: See Catalog
  • Description: 2-Way F (BK)

Terminal Part Information

  • Terminal/Tray: See Terminal Repair Kit
  • Core/Insulation Crimp: See Terminal Repair Kit
  • Release Tool/Test Probe: See Terminal Repair Kit

Drive Motor Battery Cable Terminal Extension Cover (HP5)

Pin

Wire Color

Circuit

Function

1

BK

202

High Voltage Interlock Circuit Source

2

GN

202

High Voltage Interlock Circuit Return

Drive Motor Generator Power Inverter Module X1 (HP5)


Object Number: 1673474  Size: CH

Connector Part Information

  • OEM: 13570045
  • Service: See Catalog
  • Description: 56-Way F Mirco-Pack 64 Series, Sealed (BK)

Terminal Part Information

  • Terminal/Tray: 15359541/4
  • Core/Insulation Crimp: M/M
  • Release Tool/Test Probe: 15381651-2/J-35616-64B (L-BU)

Drive Motor Generator Power Inverter Module X1 (HP5)

Pin

Wire Color

Circuit

Function

1

0.5 OG

5595

High Voltage Interlock Loop - Negaitive

2

0.5 OG/BK

812

AT ISS High Signal

3

0.5 OG/WH

1230

AT ISS Low Signal

4

0.35 YE

988

Contactor Control

5

0.5 D-GN

983

Transmission Fluid Pump Control

6

0.8 RD/WH

2340

Battery Positive Voltage

7

0.8 RD/WH

340

Battery Positive Voltage

8-9

--

--

Not Used

10

0.5 L-BU

6106

High Speed GMLAN Serial Data (-) (2)

11

0.5 D-BU

6105

High Speed GMLAN Serial Data (+) (2)

12

--

--

Not Used

13

0.5 TN

2501

High Speed GMLAN Serial Data Bus-

14

0.5 TN/BK

2500

High Speed GMLAN Serial Data Bus+

15

0.5 TN/WH

771

Transmission Position Switch Bit 1 Signal

16

0.5 YE

772

Transmission Position Switch Bit 2 Signal

17

0.5 GY

773

Transmission Position Switch Bit 3 Signal

18

0.5 WH

776

Transmission Position Switch Parity Bit Signal

19

0.5 TN

3425

Wake Up Signal

20

0.5 PK

239

Ignition Voltage

21-22

--

--

Not Used

23

0.5 PU

5087

High Voltage Interlock Circuit - Positive

24

0.5 L-BU

6106

High Speed GMLAN Serial Data (-) (2)

25

0.5 D-BU

6105

High Speed GMLAN Serial Data (+) (2)

26

0.35 YE

573

Crankshaft Position Sensor Signal

27

0.5 TN

2501

High Speed GMLAN Serial Data Bus -

28

0.5 TN/BK

2500

High Speed GMLAN Serial Data Bus +

29

0.5 YE

9016

Temperature Sensor B Return

30-31

--

--

Not Used

32

0.5 BK

906

Internal Mode Switch (IMS)-S

33-34

--

--

Not Used

35

0.35 TN

452

Low Reference

36

0.5 D-GN

7654

Temperature Sensor A Return

37-38

--

--

Not Used

39

0.5 D-GN

1433

Internal Mode Switch (IMS) Ground

40

--

--

Not Used

41

0.8 TN

982

Transmission Fluid Pump Diagnostic

42

--

--

Not Used

43

0.5 L-GN

9015

Temperature Sensor B Signal

44

0.5 BN

9007

Resolver Motor B S4 Signal

45

0.5 D-GN

9006

Resolver Motor B S2 Signal

46

0.5 GY/D-BU

9009

Resolver Motor B S3 Signal

47

0.5 L-BU

9008

Resolver Motor B S1 Signal

48

0.5 GY/BK

9005

Resolver Motor B Excitation, Negative

49

0.5 OG

9004

Resolver Motor B Excitation, Positive

50

0.5 L-BU

7653

Temperature Sensor A Signal

51

0.5 GY/BK

7646

Resolver Motor A S4 Signal

52

0.5 PU/L-GN

7647

Resolver Motor A S2 Signal

53

0.5 BN

7652

Resolver Motor A S3 Signal

54

0.5 YE/BK

7649

Resolver Motor A S1 Signal

55

0.5 L-GN

7648

Resolver Motor A Excitation, Positive

56

0.5 L-BU/WH

7645

Resolver Motor A Excitation, Positive

Drive Motor Generator Power Inverter Module X2 (HP5)

Terminal Part Information

  • Terminal: 15886594
  • Core/Insulation Crimp: N/A
  • Description: Ring Terminal

Drive Motor Generator Power Inverter Module X2 (HP5)

Pin

Wire Color

Circuit

Function

--

32 OG

--

High Voltage +

2 OG

--

Shield

Drive Motor Generator Power Inverter Module X3 (HP5)

Terminal Part Information

  • Terminal: 15886594
  • Core/Insulation Crimp: N/A
  • Description: Ring Terminal

Drive Motor Generator Power Inverter Module X3 (HP5)

Pin

Wire Color

Circuit

Function

--

32 OG

--

High Voltage -

2 OG

--

Shield

Drive Motor Generator Power Inverter Module X4 (HP5)

Terminal Part Information

  • Terminal: 12103512
  • Core/Insulation Crimp: N/A
  • Description: Ring Terminal

Drive Motor Generator Power Inverter Module X4 (HP5)

Pin

Wire Color

Circuit

Function

--

19 OG

--

High Voltage +

2 OG

--

Shield

Drive Motor Generator Power Inverter Module X5 (HP5)

Terminal Part Information

  • Terminal: 12103512
  • Core/Insulation Crimp: N/A
  • Description: Ring Terminal

Drive Motor Generator Power Inverter Module X5 (HP5)

Pin

Wire Color

Circuit

Function

--

19 OG

--

High Voltage -

2 OG

--

Shield

Drive Motor Generator Power Inverter Module X6 (HP5)

Terminal Part Information

  • Harness: Engine
  • Terminal: 12103514
  • Core/Insulation Crimp: N/A
  • Description: Ring Terminal

Drive Motor Generator Power Inverter Module X6 (HP5)

Pin

Wire Color

Circuit

Function

--

0.5 PK

904

Shield

Drive Motor Generator Power Inverter Module X7 (HP5)

Terminal Part Information

  • Terminal: See Catalog
  • Core/Insulation Crimp: N/A
  • Description: Ring Terminal

Drive Motor Generator Power Inverter Module X7 (HP5)

Pin

Wire Color

Circuit

Function

--

OG

--

Drive Motor with Generator Assembly - 1st Position Phase U

OG

--

Shield

Drive Motor Generator Power Inverter Module X8 (HP5)

Terminal Part Information

  • Terminal: See Catalog
  • Core/Insulation Crimp: N/A
  • Description: Ring Terminal

Drive Motor Generator Power Inverter Module X8 (HP5)

Pin

Wire Color

Circuit

Function

--

OG

--

Drive Motor with Generator Assembly - 1st Position Phase V

OG

--

Shield

Drive Motor Generator Power Inverter Module X9 (HP5)

Terminal Part Information

  • Terminal: See Catalog
  • Core/Insulation Crimp: N/A
  • Description: Ring Terminal

Drive Motor Generator Power Inverter Module X9 (HP5)

Pin

Wire Color

Circuit

Function

--

OG

--

Drive Motor with Generator Assembly - 1st Position Phase W

OG

--

Shield

Drive Motor Generator Power Inverter Module X10 (HP5)

Terminal Part Information

  • Terminal: See Catalog
  • Core/Insulation Crimp: N/A
  • Description: Ring Terminal

Drive Motor Generator Power Inverter Module X10 (HP5)

Pin

Wire Color

Circuit

Function

--

OG

--

Drive Motor with Generator Assembly - 2nd Position Phase U

OG

--

Shield

Drive Motor Generator Power Inverter Module X11 (HP5)

Terminal Part Information

  • Terminal: See Catalog
  • Core/Insulation Crimp: N/A
  • Description: Ring Terminal

Drive Motor Generator Power Inverter Module X11 (HP5)

Pin

Wire Color

Circuit

Function

--

OG

--

Drive Motor with Generator Assembly - 2nd Position Phase V

OG

--

Shield

Drive Motor Generator Power Inverter Module X12 (HP5)

Terminal Part Information

  • Terminal: See Catalog
  • Core/Insulation Crimp: N/A
  • Description: Ring Terminal

Drive Motor Generator Power Inverter Module X12 (HP5)

Pin

Wire Color

Circuit

Function

--

OG

--

Drive Motor with Generator Assembly - 2nd Position Phase W

OG

--

Shield

Drive Motor Generator Power Inverter Module X13 (HP5)

Terminal Part Information

  • Terminal: See Catalog
  • Core/Insulation Crimp: N/A
  • Description: Ring Terminal

Drive Motor Generator Power Inverter Module X13 (HP5)

Pin

Wire Color

Circuit

Function

--

3 OG

3328

A/C Compressor + Voltage

OG

--

Shield

Drive Motor Generator Power Inverter Module X14 (HP5)

Terminal Part Information

  • Terminal: See Catalog
  • Core/Insulation Crimp: N/A
  • Description: Ring Terminal

Drive Motor Generator Power Inverter Module X14 (HP5)

Pin

Wire Color

Circuit

Function

--

3 OG

3327

A/C Compressor - Voltage

OG

3326

Shield

Drive Motor Generator Power Inverter Module X15 (HP5)

Terminal Part Information

  • Terminal: See Catalog
  • Core/Insulation Crimp: N/A
  • Description: Ring Terminal

Drive Motor Generator Power Inverter Module X15 (HP5)

Pin

Wire Color

Circuit

Function

--

BK

904

Shield

Drive Motor Generator Power Inverter Module Coolant Pump 1 (HP5)


Object Number: 1527729  Size: CH

Connector Part Information

  • OEM: 15419715
  • Service: 88988054
  • Description: 2-Way F GT 150 Series, Sealed (GY)

Terminal Part Information

  • Terminal/Tray: 7116-4103-08
  • Core/Insulation Crimp: E/1
  • Release Tool/Test Probe: See Terminal Repair Kit

Drive Motor Generator Power Inverter Module Coolant Pump 1 (HP5)

Pin

Wire Color

Circuit

Function

A

0.5 BU/WH

7421

Coolant Pumps Supply Voltage

B

0.5 BK

250

Ground

Drive Motor Generator Power Inverter Module Coolant Pump 2 (HP5)


Object Number: 1527729  Size: CH

Connector Part Information

  • OEM: 15419715
  • Service: 88988054
  • Description: 2-Way F GT 150 Series, Sealed (GY)

Terminal Part Information

  • Terminal/Tray: 7116-4103-08
  • Core/Insulation Crimp: E/1
  • Release Tool/Test Probe: See Terminal Repair Kit

Drive Motor Generator Power Inverter Module Coolant Pump 2 (HP5)

Pin

Wire Color

Circuit

Function

A

0.5 BU/WH

7421

Coolant Pumps Supply Voltage

B

0.5 BK

250

Ground

Drive Motor Generator Power Inverter Module Temperature Sensor (HP5)


Object Number: 1940136  Size: CH

Connector Part Information

  • OEM: 15336024
  • Service: 88987993
  • Description: 2-Way F GT 150 Series, Sealed (BK)

Terminal Part Information

  • Terminal/Tray: 15326267/19
  • Core/Insulation Crimp: E/4
  • Release Tool/Test Probe: 15315247/J-35616-2A (GY)

Drive Motor Generator Power Inverter Module Temperature Sensor (HP5)

Pin

Wire Color

Circuit

Function

1

0.5 YE

955

Low Reference

2

0.5 YE

954

5-Volt Reference

Drive Motor Generator Power Inverter Module Cover (HP5)


Object Number: 684799  Size: CH

Connector Part Information

  • OEM: 12077900
  • Service: 12116247
  • Description: 2-Way F Metri-Pack 280 Series, Sealed (BK)

Terminal Part Information

  • Terminal/Tray: 12077411/2
  • Core/Insulation Crimp: 2/5
  • Release Tool/Test Probe: 12094430/J-35616-4A (PU)

Drive Motor Generator Power Inverter Module Cover (HP5)

Pin

Wire Color

Circuit

Function

A

0.5 PU

5087

High Voltage Interlock Circuit +

B

0.5 PU

5087

High Voltage Interlock Circuit +

Driver Information Center (DIC)


Object Number: 1673494  Size: CH

Connector Part Information

  • OEM: 15491277
  • Service: 88988747
  • Description: 5-Way F HCM Series (BK)

Terminal Part Information

  • Terminal/Tray: 15359541/4
  • Core/Insulation Crimp: M/M
  • Release Tool/Test Probe: 15381651-2/J-35616-64B (L-BU)

Driver Information Center (DIC)

Pin

Wire

Circuit

Function

1

0.35 D-GN/WH

1358

Driver Information Center Switch Signal

2

0.35 BN

897

Low Reference

3

0.35 PK

893

Driver Information Center Select Menu Switch Signal

4

0.35 YE

1491

Backlight Lamps Control

5

0.35 BK

350

Ground

Electric Power Steering (EPS) Module X1 (LAT/LE5)


Object Number: 1866125  Size: CH

Connector Part Information

  • OEM: 7283-3521-40
  • Service: 19153195
  • Description: 2-Way F 9.5 Series (L-GY)

Terminal Part Information

  • Terminal/Tray: See Terminal Repair Kit
  • Core/Insulation Crimp: See Terminal Repair Kit
  • Release Tool/Test Probe: See Terminal Repair Kit

Electric Power Steering (EPS) Module X1 (LAT/LE5)

Pin

Wire

Circuit

Function

1

8.0 RD/BK

42

Battery Positive Voltage

2

8.0 BK

750

Ground

Electric Power Steering (EPS) Module X1 (LCS)


Object Number: 1866125  Size: CH

Connector Part Information

  • OEM: 10720169
  • Service: 19153195
  • Description: 2-Way F 9.5 Series (L-GY)

Terminal Part Information

  • Terminal/Tray: See Terminal Repair Kit
  • Core/Insulation Crimp: See Terminal Repair Kit
  • Release Tool/Test Probe: See Terminal Repair Kit

Electric Power Steering (EPS) Module X1 (LCS)

Pin

Wire

Circuit

Function

1

8.0 BK

1150

Ground

2

8.0 RD/WH

42

Battery Positive Voltage

Electric Power Steering (EPS) Module X2 (LAT/LE5)


Object Number: 1866124  Size: CH

Connector Part Information

  • OEM: 15465703
  • Service: See Catalog
  • Description: 12-Way F 0.64 Series (NA)

Terminal Part Information

  • Terminal/Tray: See Terminal Repair Kit
  • Core/Insulation Crimp: See Terminal Repair Kit
  • Release Tool/Test Probe: See Terminal Repair Kit

Electric Power Steering (EPS) Module X2 (LAT/LE5)

Pin

Wire

Circuit

Function

1

0.35 TN/BK

2500

High Speed GMLAN Serial Data Bus+

2

0.35 TN/BK

2500

High Speed GMLAN Serial Data Bus+

3-5

--

--

Not Used

6

0.35 L-BU

5986

Serial Data Communications Enable

7

0.35 TN

2501

High Speed GMLAN Serial Data Bus-

8

0.35 TN

2501

High Speed GMLAN Serial Data Bus-

9-12

--

--

Not Used

Electric Power Steering (EPS) Module X2 (LCS)


Object Number: 1830930  Size: CH

Connector Part Information

  • OEM: 10722955
  • Service: See Catalog
  • Description: 3-Way F 0.64 Series (GY)

Terminal Part Information

  • Terminal/Tray: See Terminal Repair Kit
  • Core/Insulation Crimp: See Terminal Repair Kit
  • Release Tool/Test Probe: See Terminal Repair Kit

Electric Power Steering (EPS) Module X2 (LCS)

Pin

Wire

Circuit

Function

1

0.35 TN/BK

2501

High Speed GMLAN Serial Data Bus -

2

0.35 TN/BK

2500

High Speed GMLAN Serial Data Bus+

3

0.35 L-BU

5986

Serial Data Communications Enable

Electric Power Steering (EPS) Module X3 (LAT/LE5)


Object Number: 1881391  Size: CH

Connector Part Information

  • OEM: 1747088-1
  • Service: See Catalog
  • Description: 8-Way F 0.64 Series (NA)

Terminal Part Information

  • Terminal/Tray: See Catalog
  • Core/Insulation Crimp: See Catalog
  • Release Tool/Test Probe: See Catalog

Electric Power Steering (EPS) Module X3 (LAT/LE5)

Pin

Wire

Circuit

Function

1

GY

--

Torque Sensor GND

2

WH

--

Torque Sensor Exciting GND

3

--

--

Not Used

4

D-GN

--

Torque Sensor Exciting

5

L-BU

--

Torque Sensor Output Shaft Side COS

6

YE

--

Torque Sensor Output Shaft Side SN

7

BK

--

Torque Sensor Input Shaft Side COS

8

PK

--

Torque Sensor Input Shaft Side SN

Electric Power Steering (EPS) Module X4 (LAT/LE5)


Object Number: 1881393  Size: CH

Connector Part Information

  • OEM: 1747085-1
  • Service: See Catalog
  • Description: 6-Way F 0.64 Series (NA)

Terminal Part Information

  • Terminal/Tray: See Catalog
  • Core/Insulation Crimp: See Catalog
  • Release Tool/Test Probe: See Catalog

Electric Power Steering (EPS) Module X4 (LAT/LE5)

Pin

Wire

Circuit

Function

1

RD

--

Rotational Sensor Exciting

2

--

--

Not Used

3

BK

--

Rotational Sensor Exciting GND

4

--

--

Not Used

5

D-BU

--

Rotational Sensor COS

6

YE

--

Rotational Sensor SN

Electric Power Steering (EPS) Module X5 (LAT/LE5)


Object Number: 1881316  Size: CH

Connector Part Information

  • OEM: 6098-0601
  • Service: See Catalog
  • Description: 3-Way F TS 187 Series (L-GY)

Terminal Part Information

  • Terminal/Tray: See Catalog
  • Core/Insulation Crimp: See Catalog
  • Release Tool/Test Probe: See Catalog

Electric Power Steering (EPS) Module X5 (LAT/LE5)

Pin

Wire

Circuit

Function

1

RD

--

Motor W Phase

2

WH

--

Motor V Phase

3

BK

--

Motor U Phase

Electronic Brake Control Module (EBCM) (HP5)


Object Number: 1862109  Size: CH

Connector Part Information

  • OEM: 13528146
  • Service: 19115598
  • Description: 38-Way F 2.8 Series Sealed (BK)

Terminal Part Information

  • Pins: 1-9, 11-26, 27-38,
  • Terminal/Tray: 638551-1/16
  • Core/Insulation Crimp: J/J
  • Release Tool/Test Probe: 15315247/J-35616-64B (L-BU)

Electronic Brake Control Module (EBCM) (HP5)

Pin

Wire

Circuit

Function

1

3 RD/BK

42

Battery Positive Voltage

2

0.5 BN

882

Right Rear Wheel Speed Sensor Signal

3

0.5 GY/BK

7128

Wheel Speed Sensor Supply Voltage Right Rear

4

0.5 GY/BK

7127

Wheel Speed Sensor Supply Voltage Left Rear

5

0.5 TN

884

Left Rear Wheel Speed Sensor Signal

6

0.5 D-GN

872

Right Front Wheel Speed Sensor Signal

7

0.35 YE

6046

Steering Angle Sensor - Phase A

8

0.35 TN

6048

Steering Angle Sensor - Index

9

0.5 L-BU

3334

Brake Master Cylinder Piston Position Sensor Signal

10

--

--

Not Used

11

0.5 WH

17

Brake Applied Signal

12

0.35

5986

Serial Data Communication Enable

13

5 BK/WH

51

Ground

14

0.5 PK

339

Ignition Voltage

15

0.5 OG/BK

6045

Steering Angle Sensor Low Reference

16

0.35 L-GN

6043

Steering Angle Sensor Signal

17

0.5 GY/WH

7065

5-Volt Reference

18

0.5 TN

948

Ignition Voltage

19

0.5 GY

6044

Steering Angle Sensor 5-Volt Reference

20

0.5 D-BU

6047

Steering Angle Sensor - Phase B

21

0.5 L-BU

6106

High Speed GMLAN Serial Data (-) (2)

22

0.5 L-BU

6106

High Speed GMLAN Serial Data (-) (2)

23

0.5 TN

2501

High Speed GMLAN Serial Data Bus-

24

0.5 TN

2501

High Speed GMLAN Serial Data Bus-

25

3 RD/WH

240

Battery Positive Voltage

26

--

--

Not Used

27

0.5 BN

5382

Low Reference

28

0.5 GY/WH

7064

Wheel Speed Sensor Supply Voltage Left Front

29

0.5 L-BU

830

Left Front Wheel Speed Sensor Signal

30

0.5 TN

950

Yaw Rate and Lateral Acceleration Sensor Ground

31

0.5 GY

3335

5-Volt Reference

32

0.5 D-GN/WH

817

Vehicle Speed Signal (U3U)

33

0.5 D-BU

6105

High Speed GMLAN Serial Data (+) (2)

34

0.5 D-BU

6105

High Speed GMLAN Serial Data (+) (2)

35

0.5 PU

3333

Brake Master Cylinder Piston Position Sensor Signal

36

0.5 TN/BK

2500

High Speed GMLAN Serial Data Bus+

37

0.5 TN/BK

2500

High Speed GMLAN Serial Data Bus+

38

5 BK/WH

51

Ground

Electronic Brake Control Module (EBCM) (- HP5)


Object Number: 1830966  Size: CH

Connector Part Information

  • OEM: 13547678
  • Service: 19115598
  • Description: 47-Way F MK25 Series Sealed (BK)

Terminal Part Information

  • Pins: 1, 16
  • Terminal/Tray: 7116-4142-02/10
  • Core/Insulation Crimp: Pins 1 - A/3
  • Core/Insulation Crimp: Pins 16 - D/3
  • Release Tool/Test Probe: 12094430/J-35616-42 (RD)
  • Pins: 3, 8, 11-14, 18-19, 22, 29, 33-34, 36-37, 42-43, 45-46
  • Terminal/Tray: 638551-1/16
  • Core/Insulation Crimp: Pins 3, 8 - J/J
  • Core/Insulation Crimp: Pins 11-14, 18-19, 22, 29, 33-34, 36-37, 42-43, 45- 46 - K/K
  • Release Tool/Test Probe: 15315247/J-35616-64B (L-BU)
  • Pins: 32
  • Terminal/Tray: 7116-4142-02/10
  • Core/Insulation Crimp: See Terminal Repair Kit
  • Release Tool/Test Probe: 12094430/J-35616-42 (RD)

Electronic Brake Control Module (EBCM) (- HP5)

Pin

Wire

Circuit

Function

1

3 RD/WH

240

Battery Positive Voltage

2

--

--

Not Used

3

0.35 D-GN/WH

817

Vehicle Speed Signal (-LAT)

4-7

--

--

Not Used

8

0.35 L-BU

5986

Serial Data Communication Enable

9-10

--

--

Not Used

11

0.5 TN/BK

2500

High Speed GMLAN Serial Data Bus+

12

0.5 TN/BK

2500

High Speed GMLAN Serial Data Bus+

13

0.5 TN

2501

High Speed GMLAN Serial Data Bus-

14

0.5 TN

2501

High Speed GMLAN Serial Data Bus-

15

--

--

Not Used

16

5 BK/WH

51

Ground

17

--

--

Not Used

18

0.5 TN/WH

6433

CAN Bus High Serial Data

19

0.5 L-GN/BK

6432

CAN Bus Low Serial Data

20-21

--

--

Not Used

22

0.5 GY

6044

Steering Angle Sensor 5-Volt Reference

23-28

--

--

Not Used

29

0.5 OG/BK

6045

Steering Angle Sensor Low Reference

30-31

--

--

Not Used

32

2 RD/WH

840

Battery Positive Voltage

33

0.5 D-GN

872

Right Front Wheel Speed Sensor Signal

34

0.5 GY/WH

7065

Wheel Speed Sensor Supply Voltage Right Front

35

--

--

Not Used

36

0.5 GY/BK

7127

Wheel Speed Sensor Supply Voltage Left Rear

37

0.5 TN

884

Left Rear Wheel Speed Sensor Signal

38-41

--

--

Not Used

42

0.5 BN

882

Right Rear Wheel Speed Sensor Signal

43

0.5 GY/BK

7128

Wheel Speed Sensor Supply Voltage Right Rear

44

--

--

Not Used

45

0.5 GY/WH

7064

Wheel Speed Sensor Supply Voltage Left Front

46

0.5 L-BU

830

Left Front Wheel Speed Sensor Signal

47

--

--

Not Used

Electronic Compass Module (RCM)


Object Number: 1865635  Size: CH

Connector Part Information

  • OEM: 13541539
  • Service: See Catalog
  • Description: 4-Way F AIT II Series (BK)

Terminal Part Information

  • Terminal/Tray: 962885-5/15
  • Core/Insulation Crimp: 6/6
  • Release Tool/Test Probe: 12094429/J-35616-64B (L-BU)

Electronic Compass Module (RCM)

Pin

Wire

Circuit

Function

1

0.35 PK

239

Ignition

2

0.35 BK

650

Ground

3

0.35 BN

6132

Linear Interconnect Network Bus 1

4

--

--

Not Used

Engine Control Module (ECM) X1 (LAT)


Object Number: 784851  Size: CH

Connector Part Information

  • OEM: 34576-0703
  • Service: See Catalog
  • Description: 56-Way F MX123 34576 Series, Sealed (BU)

Terminal Part Information

  • Pins: 7, 9, 12-13, 18-20, 26, 31-37, 40, 44, 46-49, 53-55
  • Terminal/Tray: 33467-0003/23
  • Core/Insulation Crimp: H/H
  • Release Tool/Test Probe: J-38125-213/J-35616-64B (L-BU)

Engine Control Module (ECM) X1 (LAT)

Pin

Wire

Circuit

Function

1-6

--

--

Not Used

7

0.5 WH

17

Stop Lamp Switch Signal

8

--

--

Not Used

9

0.5 BN/WH

6281

Low Reference

10-11

--

--

Not Used

12

0.5 BN/WH

419

Malfunction Indicator Lamp (MIL) Control

13

0.5 D-GN/WH

465

Fuel Pump Relay Control

14-17

--

--

Not Used

18

0.5 D-BU

5985

Accessory Wakeup Serial Data

19

0.5 PK

639

Ignition 1 Voltage

20

0.5 RD/WH

40

Battery Positive Voltage

21-25

--

--

Not Used

26

0.5 PU/WH

6386

Starter Relay Coil Control

27-30

--

--

Not Used

31

0.5 TN/BK

9945

Low Reference

32

0.5 GY

9905

5-Volt Reference 2

33

0.5 WH/BK

1164

5-Volt Reference 2

34

0.5 BN/WH

6283

5-Volt Reference 1

35

0.5 TN

1274

5-Volt Reference 1

36

0.5 BN

1271

Low Reference

37

0.5 PU

1272

Low Reference

38-39

--

--

Not Used

40

0.5 YE

5991

Powertrain Relay Control

41-43

--

--

Not Used

44

0.5 D-BU

1936

Fuel Level Sensor Signal - Left

45

0.5 L-BU

1937

Fuel Level Sensor Signal - Right

46

0.5 YE

9914

Brake Booster Vacuum Sensor Signal

47

0.5 D-BU

1161

APP Sensor 1 Signal

48

0.5 D-GN

890

Fuel Tank Pressure Sensor Signal

49

0.5 L-BU

1162

APP Sensor 2 Signal

50-52

--

--

Not Used

53

0.5 D-GN/WH

459

A/C Compressor Clutch Relay Control

54

0.5 D-BU

473

High Speed Cooling Fan Relay Control

55

0.5 WH

1310

EVAP Canister Vent Solenoid Control

56

--

--

Not Used

Engine Control Module (ECM) X1 (LCS)


Object Number: 1826274  Size: CH

Connector Part Information

  • OEM: 1928404927
  • Service: See Catalog
  • Description: 96-Way F 120 Series, Sealed (BK)

Terminal Part Information

  • Pins: 7, 9, 12-13, 18-20, 26, 31-37, 40, 44, 46-49, 53-96
  • Terminal/Tray: 33467-0003/23
  • Core/Insulation Crimp: H/H
  • Release Tool/Test Probe: J-38125-213/J-35616-64B (L-BU)

Engine Control Module (ECM) X1 (LCS)

Pin

Wire

Circuit

Function

1

0.8 L-GN

5282

Camshaft Phaser Exhaust Solenoid (1)

2

0.8 PU

5284

Camshaft Phaser Intake Solenoid (1)

3

1 PU/WH

4906

Direct Fuel Injector (DFI) High Voltage Supply Cylinder 6

4

1 PU

4806

Direct Fuel Injector (DFI) High Voltage Control Cylinder 6

5

1 YE

7301

High Pressure Fuel Pump Actuator High Control

6

0.5 D-GN/WH

428

EVAP Canister Purge Solenoid Control

7

0.5 OG

5275

Camshaft Position Intake Sensor (1)

8

0.5 PU

5531

Hood Closed Switch Signal

9

0.5 PU

5274

Camshaft Position Exhaust Sensor (2)

10-14

--

--

Not Used

15

0.5 GY

705

5-Volt Reference

16-17

--

--

Not Used

18

0.5 TN

2022

Coolant Pump Control

19

0.5 YE

5530

Hood Open Switch Signal

20

--

--

Not Used

21

0.5 YE

954

5 Volt Reference

22

--

--

Not Used

23

0.5 YE

955

Low Reference

24

0.5 YE

581

TAC Motor Control - 1

25

0.8 WH

5283

Camshaft Phaser Exhaust Solenoid (2)

26

1 D-GN

4803

Direct Fuel Injector (DFI) High Voltage Control Cylinder 3

27

1 D-GN/WH

4903

Direct Fuel Injector (DFI) High Voltage Supply Cylinder 3

28

1 L-GN

4805

Direct Fuel Injector (DFI) High Voltage Control Cylinder 5

29

1 L-GN/WH

4905

Direct Fuel Injector (DFI) High Voltage Supply Cylinder 5

30-32

--

--

Not Used

33

0.5 YE

5276

Camshaft Position (CMP) Sensor Signal - Bank 2 Intake

34

0.5 D-GN

5273

Camshaft Position Exhaust Sensor (1)

35

0.5 YE

573

Crankshaft Position Sensor Signal (1)

36

0.5 YE

2918

Fuel Rail Pressure Sensor Signal

37

--

--

Not Used

38

0.5 GY

598

5 Volt Reference 1

39

0.5 GY

2701

5 Volt Reference 3

40

0.5 GY

596

5 Volt Reference 1

41

0.5 TN

552

Low Reference

42

0.5 TN

808

Low Reference

43

0.5 TN

470

Low Reference

44

0.5 TN

476

Low Reference

45

0.5 GY

605

5 Volt Reference

46

0.5 TN

452

Low Reference

47

--

--

Not Used

48

0.5 BN

582

TAC Motor Control - 2

49

0.8 OG

5272

Camshaft Position (CMP) Actuator Solenoid Control - Bank 2 Intake

50

1 L-BU

4804

Direct Fuel Injector (DFI) High Voltage Control Cylinder 4

51

1 BN

4801

Direct Fuel Injector (DFI) High Voltage Control Cylinder 1

52

1 D-BU

4802

Direct Fuel Injector (DFI) High Voltage Control Cylinder 2

53

1 D-BU/WH

4902

Direct Fuel Injector (DFI) High Voltage Supply Cylinder 2

54

--

--

Not Used

55

0.5PU

2121

Ignition Control (1)

56

0.5 L-BU

2123

Ignition Control (3)

57

0.5 D-GN

2125

Ignition Control (5)

58

--

--

Not Used

59

0.5 D-BU

496

Knock Sensor Signal (1)

60

0.5 GY

2303

Knock Sensor Low Reference (2)

61

0.5 TN/WH

331

Oil Pressure Sensor Signal

62-66

--

--

Not Used

67

0.5 TN/WH

3111

Heated Oxygen Sensor Low Signal Bank 1 Sensor (1)

68

0.5 WH

5279

Heated Oxygen Sensor Pump Current Bank 1 Sensor (1)

69

0.5 OG

5280

Heated Oxygen Sensor Input Pump Current Bank 2 Sensor (1)

70

0.5 PU/WH

3210

Heated Oxygen Sensor High Signal Bank 2 Sensor (1)

71

--

--

Not Used

72

0.8 L-GN

3212

Heated Oxygen Sensor Heater Low Control Bank 2 Sensor (1)

73

1 PU

7300

High Pressure Fuel Pump Actuator Low Control

74

1 L-BU/WH

4904

Direct Fuel Injector (DFI) High Voltage Supply Cylinder 4

75

1 BN/WH

4901

Direct Fuel Injector (DFI) High Voltage Supply Cylinder 1

76

0.5 PK/BK

5291

Powertrain Main Relay Fused Supply (2)

77

0.5 PK/BK

5292

Powertrain Main Relay Fused Supply (3)

78

--

--

Not Used

79

0.5 OG/WH

2122

Ignition Control (2)

80

0.5 D-GN/WH

2124

Ignition Control (4)

81

0.5 L-BU/WH

2126

Ignition Control (6)

82

0.5 YE

410

Engine Coolant Temperature Sensor Signal

83

0.5 GY

1716

Knock Sensor Low Reference (1)

84

0.5 L-BU

1876

Knock Sensor Signal (2)

85-87

--

--

Not Used

88

0.5 TN

2752

Low Reference

89

0.5 PU

486

Throttle Position Sensor Signal (2)

90

0.5 D-GN

485

Throttle Position Sensor Signal (1)

91

0.5 L-GN

5278

Heated Oxygen Sensor Input Pump Current Bank 1 Sensor (1)

92

0.5 PU/WH

3110

Heated Oxygen Sensor High Signal Bank 1 Sensor (1)

93

0.5 YN/WH

3211

Heated Oxygen Sensor Low Signal Bank 2 Sensor (1)

94

0.5PU/WH

5281

Heated Oxygen Sensor Pump Current Bank 2 Sensor (1)

95

--

--

Not Used

96

0.8 GY

3113

Heated Oxygen Sensor Heater Low Control Bank 1 Sensor (1)

Engine Control Module (ECM) X1 (LE5)


Object Number: 1590596  Size: CH

Connector Part Information

  • OEM: 15499466
  • Service: 88988931
  • Description: 73-Way F MX123 Series, Sealed (BK)

Terminal Part Information

  • Pins: 1, 3, 5-6, 8-9, 11, 13, 15, 17-21, 24-25, 27, 30, 32, 35, 37, 39, 40-45, 47, 49, 54-55, 57-58, 61, 65-67, 70-71
  • Terminal/Tray: 33467-0005/23
  • Core/Insulation Crimp: J/J
  • Release Tool/Test Probe: J-38125-213/J-35616-64B (L-BU)
  • Pins: 73
  • Terminal/Tray: See Terminal Repair Kit
  • Core/Insulation Crimp: See Terminal Repair Kit
  • Release Tool/Test Probe: See Terminal Repair Kit

Engine Control Module (ECM) X1 (LE5)

Pin

Wire

Circuit

Function

1

0.5 D-BU

1161

Accelerator Pedal Position (APP) Sensor 1 Signal

2

--

--

Not Used

3

0.5 D-BU

5985

Accessory Wakeup Serial Data

4

--

--

Not Used

5

0.5 D-GN

335

Low Speed Engine Cooling Fan Relay Control

6

0.5 D-GN/WH

465

Fuel Pump Relay Control - Primary

7

--

--

Not Used

8

0.5 TN

5514

Low Reference

9

0.5 TN/WH

3121

HO2S Low Signal - Sensor 2

10-12

--

--

Not Used

13

0.5 YE

5991

Powertrain Relay Coil Control

14

--

--

Not Used

15

0.5 GY/WH

3122

HO2S Heater Low Control - Sensor 2

16

--

--

Not Used

17

0.5 PU

3120

HO2S High Signal - Sensor 2

18

0.5 L-BU

1162

Accelerator Pedal Position (APP) Sensor 2 Signal

19

0.5 PK

639

Ignition 1 Voltage

20

0.5 RD/WH

40

Battery Positive Voltage

21

0.5 PU

1272

Low Reference

22-23

--

--

Not Used

24

0.5 BN/WH

6281

Low Reference

25

0.5 OG/BK

380

A/C Refrigerant Pressure Sensor Signal

26

--

--

Not Used

27

0.5 BN/WH

419

Malfunction Indicator Lamp (MIL) Control

28-29

--

--

Not Used

30

0.5 D-GN/WH

459

A/C Compressor Clutch Relay Control

31

--

--

Not Used

32

0.5 PU/WH

6386

Starter Enable Relay Control

33-34

--

--

Not Used

35

0.5 TN

2760

Low Reference

36

--

--

Not Used

37

0.5 YE

492

Mass Air Flow (MAF) Sensor Signal

38

--

--

Not Used

39

0.5 D-BU

1936

Fuel Level Sensor Signal - Secondary

40

0.5 L-BU

1937

Fuel Level Sensor Signal - Primary

41

0.5 BN

1271

Low Reference

42

0.5 D-GN

890

Fuel Tank Pressure Sensor Signal

43

0.5 TN/BK

2500

High Speed GMLAN Serial Data Bus+

44

0.5 TN

2501

High Speed GMLAN Serial Data Bus-

45-46

--

--

Not Used

47

0.5 WH/BK

1164

5-Volt Reference 2

48

--

--

Not Used

49

0.5 D-BU

473

High Speed Engine Cooling Fan Relay Control

50-54

--

--

Not Used

55

0.5 WH

17

Stop Lamp Switch Signal

56-57

--

--

Not Used

58

0.5 L-BU

6289

Intake Air Temperature (IAT) Sensor Signal

59-64

--

--

Not Used

65

0.5 GY

2700

5-Volt Reference 1

66

0.5 BN/WH

6283

5-Volt Reference 1

67

0.5 TN

1274

5-Volt Reference 1

68-69

--

--

Not Used

70

0.5 WH

1310

EVAP Canister Vent Solenoid Control

71-72

--

--

Not Used

73

0.8 PK/BK

6341

Powertrain Relay Contact Signal

Engine Control Module (ECM) X1 (LY7)


Object Number: 784851  Size: CH

Connector Part Information

  • OEM: 13510837
  • Service: 88988373
  • Description: 56-Way F MX123 Series Sealed (BU)

Terminal Part Information

  • Terminal/Tray: 33467-0005/23
  • Core/Insulation Crimp: J/J
  • Release Tool/Test Probe: J-38125-213/J-35616-64B (L-BU)

Engine Control Module (ECM) X1 (LY7)

Pin

Wire

Circuit

Function

1-6

--

--

Not Used

7

0.5 WH

17

Stop Lamp Switch Signal

8

--

--

Not Used

9

0.5 BN/WH

6281

Low Reference

10-11

--

--

Not Used

12

0.5 BN/WH

419

Malfunction Indicator Lamp (MIL) Control

13

0.5 D-GN/WH

465

Fuel Pump Relay Control - Primary

14-17

--

--

Not Used

18

0.5 D-BU

5985

Accessory Wakeup Serial Data

19

0.5 PK

639

Ignition 1 Voltage

20

0.5 RD/WH

40

Battery Positive Voltage

21-25

--

--

Not Used

26

0.5 PU/WH

6386

Starter Enable Relay Control

27-32

--

--

Not Used

33

0.5 WH/BK

1164

5-Volt Reference 2

34

0.5 BN/WH

6283

5-Volt Reference 1

35

0.5 TN

1274

5-Volt Reference 1

36

0.5 BN

1271

Low Reference

37

0.5 PU

1272

Low Reference

38-39

--

--

Not Used

40

0.5 YE

5991

Powertrain Relay Coil Control

41-43

--

--

Not Used

44

0.5 D-BU

1936

Fuel Level Sensor Signal - Secondary

45

0.5 L-BU

1937

Fuel Level Sensor Signal - Primary

46

--

--

Not Used

47

0.5 D-BU

1161

Accelerator Pedal Position (APP) Sensor 1 Signal

48

0.5 D-GN

890

Fuel Tank Pressure Sensor Signal

49

0.5 L-BU

1162

Accelerator Pedal Position (APP) Sensor 2 Signal

50-52

--

--

Not Used

53

0.5 D-GN/WH

459

A/C Compressor Clutch Relay Control

54

0.5 D-BU

473

High Speed Engine Cooling Fan Relay Control

55

0.5 WH

1310

EVAP Canister Vent Solenoid Control

56

--

--

Not Used

Engine Control Module (ECM) X1 (LZ4)


Object Number: 1590596  Size: CH

Connector Part Information

  • OEM: 15499466
  • Service: 88988931
  • Description: 73-Way F MX123 Series, Sealed (BK)

Terminal Part Information

  • Pins: 1, 9-13, 16-20, 23-24, 27-34, 36-38, 41, 47, 49-50, 52, 56, 58-59, 61, 63-65, 68-70
  • Terminal/Tray: 33467-0005/23
  • Core/Insulation Crimp: Pins 1, 9-13, 16-20, 23- 24, 27-34, 36-38, 41, 49-50, 52, 56, 58-59, 61, 63-65, 68-70 - J/J
  • Core/Insulation Crimp: Pins 47 - K/K
  • Release Tool/Test Probe: J-38125-213/J-35616-64B (L-BU)
  • Pins: 73
  • Terminal/Tray: 1326030-8/17
  • Core/Insulation Crimp: 4/D
  • Release Tool/Test Probe: 12094429/J-35616-4A (PU)

Engine Control Module (ECM) X1 (LZ4)

Pin

Wire

Circuit

Function

1

0.5 OG/BK

1786

Ignition Lock Cylinder Control Actuator Signal

2-8

--

--

Not Used

9

0.5 WH

17

Stop Lamp Switch Signal

10

0.5 PU

3120

HO2S High Signal Bank 1 Sensor 2

11

0.5 TN/WH

3121

HO2S Low Signal Bank 1 Sensor 2

12

0.5 OG/BK

380

A/C Refrigerant Pressure Sensor Signal

13

0.5 TN

5514

Low Reference

14-15

--

--

Not Used

16

0.5 D-BU

1936

Fuel Level Sensor Signal - Secondary

17

0.5 D-BU

473

High Speed Engine Cooling Fan Relay Control

18

0.5 D-BU

5985

Accessory Wakeup Serial Data

19

0.5 PK

639

Ignition 1 Voltage

20

0.5 RD/WH

40

Battery Positive Voltage

21-22

--

--

Not Used

23

0.5 PU

1272

Low Reference

24

0.5 D-GN

890

Fuel Tank Pressure Sensor Signal

25-26

--

--

Not Used

27

0.5 TN

2501

High Speed GMLAN Serial Data Bus-

28

0.5 TN/BK

2500

High Speed GMLAN Serial Data Bus+

29

0.5 D-BU

1161

Accelerator Pedal Position (APP) Sensor 1 Signal

30

0.5 BN

1271

Low Reference

31

0.5 BN/WH

6281

Low Reference

32

0.5 L-BU

1162

Accelerator Pedal Position (APP) Sensor 2 Signal

33

0.5 BN/WH

6283

5-Volt Reference 1

34

0.5 GY

2700

5-Volt Reference 1

35

--

--

Not Used

36

0.5 TN

1274

5-Volt Reference 1

37

0.5 L-BU

6289

Intake Air Temperature (IAT) Sensor Signal

38

0.5 TN

2760

Low Reference

39-40

--

--

Not Used

41

0.5 YE

492

Mass Air Flow (MAF) Sensor Signal

42-46

--

--

Not Used

47

0.8 PK/BK

6341

Ignition 1 Voltage

48

--

--

Not Used

49

0.5 TN

3221

HO2S Low Signal Bank 2 Sensor 2

50

0.5 D-GN/WH

465

Fuel Pump Relay Control - Primary

51

--

--

Not Used

52

0.5 PU/WH

6386

Starter Enable Relay Control

53-55

--

--

Not Used

56

0.5 WH/BK

1164

5-Volt Reference 2

57

--

--

Not Used

58

0.5 D-GN

335

Low Speed Engine Cooling Fan Relay Control

59

0.5 YE

5991

Powertrain Relay Coil Control

60

--

--

Not Used

61

0.5 WH

1310

EVAP Canister Vent Solenoid Control

62

--

--

Not Used

63

0.5 D-GN/WH

459

A/C Compressor Clutch Relay Control

64

0.5 OG/WH

3223

HO2S Heater Low Control Bank 2 Sensor 2

65

0.5 GY/WH

3122

HO2S Heater Low Control - Bank 2 Sensor 1

66-67

--

--

Not Used

68

0.5 BN/WH

419

Malfunction Indicator Lamp (MIL) Control

69

0.5 PU

3220

HO2S High Signal Bank 2 Sensor 2

70

0.5 L-BU

1937

Secondary Fuel Level Sensor Signal

71-72

--

--

Not Used

73

3 BK/WH

251

Ground

Engine Control Module (ECM) X2 (LAT)


Object Number: 1590592  Size: CH

Connector Part Information

  • OEM: 12582677
  • Service: See Catalog
  • Description: 73-Way F 0.64 2.8 Series, Sealed (BK)

Terminal Part Information

  • Terminal/Tray: See Terminal Repair Kit
  • Core/Insulation Crimp: See Terminal Repair Kit
  • Release Tool/Test Probe: J-38125-213/J-35616-64B (L-BU)

Engine Control Module (ECM) X2 (LAT)

Pin

Wire

Circuit

Function

1

0.5 PU

2121

Ignition Coil 1 Control

2

0.5 TN/WH

3111

HO2S Low Signal Sensor 1

3

0.5 PU/WH

3110

HO2S High Signal Sensor 1

4

0.5 PU

3120

HO2S High Signal Sensor 2

5

0.5 TN/WH

3121

HO2S Low Signal Sensor 2

6-7

--

--

Not Used

8

0.5 D-BU

496

Knock Sensor (KS) 1 Signal

9

0.5 GY

1716

Knock Sensor (KS) 1 Signal

10

--

--

Not Used

11

0.5 YE

581

Throttle Actuator Control (TAC) Motor Control - 1

12

0.5 BN

582

Throttle Actuator Control (TAC) Motor Control - 2

13

0.8 PK/BK

6341

Ignition 1 Voltage

14

0.5 PU

5284

Camshaft Position (CMP) Actuator Solenoid Valve - Bank 1 Intake Control

15-16

--

--

Not Used

17

0.5 L-BU

2123

Ignition Coil 3 Control

18-19

--

--

Not Used

20

0.5 PU

6267

Low Reference

21-22

--

--

Not Used

23

0.5 BN

6266

Low Reference

24-26

--

--

Not Used

27

0.5 PU

574

Low Reference

28

--

--

Not Used

29

0.5 TN

2752

Low Reference

30

0.5 BN/WH

6754

Low Reference

31

--

--

Not Used

32

0.5 L-GN/BK

1745

Fuel Injector 2 Control

33

0.5 D-GN/WH

2124

Ignition Coil 4 Control

34

--

--

Not Used

35

0.5 BN

2129

Low Reference

36

0.5 D-GN

6457

5-Volt Reference 1

37-38

--

--

Not Used

39

0.5 D-BU

6259

5-Volt Reference 1

40-41

--

--

Not Used

42

0.5 TN

2760

Low Reference

43

0.5 L-GN

2867

5-Volt Reference 2

44

0.5 GY

2701

5-Volt Reference 2

45

--

--

Not Used

46

0.5 BN

6753

Low Reference

47

--

--

Not Used

48

0.5 PK/BK

1746

Fuel Injector 3 Control

49

--

--

Not Used

50

0.5 L-GN

5282

Camshaft Position (CMP) Actuator Solenoid Valve - Bank 1 Exhaust Control

51-52

--

--

Not Used

53

0.5 OG/WH

2122

Ignition Coil 2 Control

54-55

--

--

Not Used

56

0.5 D-GN/WH

6264

Camshaft Position (CMP) Sensor - Exhaust Signal

57-58

--

--

Not Used

59

0.5 D-BU/WH

6265

Camshaft Position (CMP) Sensor - Intake Signal

60-61

--

--

Not Used

62

0.5 L-BU

6289

Intake Air temperature (IAT) Sensor Signal

63

0.5 YE

573

Crankshaft Position (CKP) Sensor Signal

64

0.5 D-GN

485

Throttle Position (TP) Sensor 1 Signal

65

--

--

Not Used

66

0.5 PU

486

Throttle Position (TP) Sensor 2 Signal

67

0.5 YE

492

Mass Air Flow (MAF) Sensor Signal

68

0.5 GY/WH

3113

HO2S Heater Low Control Sensor 1

69

0.5 GY/WH

3122

HO2S Heater Low Control Sensor 2

70

--

--

Not Used

71

0.5 L-BU/BK

844

Fuel Injector 4 Control

72

0.5 TN

1744

Fuel Injector 1 Control

73

3 BK/WH

251

Ground

Engine Control Module (ECM) X2 (LCS)


Object Number: 1360604  Size: CH

Connector Part Information

  • OEM: 1928404916
  • Service: 88988373
  • Description: 58-Way F 280 Series Sealed (BK)

Terminal Part Information

  • Terminal/Tray: 33467-0005/23
  • Core/Insulation Crimp: J/J
  • Release Tool/Test Probe: J-38125-213/J-35616-64B (L-BU)

Engine Control Module (ECM) X2 (LCS)

Pin

Wire

Circuit

Function

1

0.8 BK/WH

251

Ground

2

0.8 BK/WH

251

Ground

3

1 PK/BK

6341

Powertrain Relay Contact Signal

4

0.8 BK/WH

251

Ground

5

1 PK/BK

6341

Powertrain Relay Contact Signal

6

1 PK/BK

6341

Powertrain Relay Contact Signal

7

0.8 GY

3122

HO2S Heater Low Control Bank 1 Sensor 2

8

--

--

Not Used

9

0.5 BN/WH

6281

Fuel Level Sensor Low Reference

10

0.5 D-GN/WH

465

Fuel Pump Primary Relay Control

11

0.5 TN

5514

Low Reference

12

--

--

Not Used

13

0.5 YE

492

Mass Air Flow (MAF) Sensor Signal

14

0.5 BN/WH

6283

Fuel Tank Vapor Pressure Sensor Supply Voltage

15

0.5 D-BU

1161

Accelerator Pedal Position Signal (1)

16-18

--

--

Not Used

19

0.5 WH

1310

EVAP Canister Vent Solenoid Control

20

0.8 OG

3223

HO2S Sensor Heater Low Control Bank 2 Sensor 2

21

0.5 BN/WH

419

Check Engine Indicator Control

22

0.5 TN

2760

Low Reference

23

0.5 TN/WH

3121

HO2S Sensor Low Signal Bank 1 Sensor 2

24

0.5 TN

3221

HO2S Sensor Low Signal Bank 2 Sensor 2

25

0.5 L-BU

1162

Accelerator Pedal Position Signal (2)

26

0.5 L-BU

1937

Secondary Fuel Level Sensor Signal

27

0.5 G-GN

890

Fuel Tank Pressure Sensor Signal

28

--

--

Not Used

29

0.5 D-BU

1936

Primary Fuel Level Sensor Signal

30-32

--

--

Not Used

33

0.5 D-GN

954

5 Volt Reference

34

0.5 BN

1271

Accelerator Pedal Position Low Reference (1)

35

0.5 GY

2700

5 Volt Reference 2

36

0.5 L-BU

6106

High Speed GMLAN Serial Data (-) (2)

37

0.5 D-BU

6105

High Speed GMLAN Serial Data (+) (2)

38

0.5 PU

3120

HO2S Sensor High Signal Bank 1 Sensor 2

39

0.5 OG/BK

380

A/C Refrigerant Pressure Sensor Signal

40

--

--

Not Used

41

0.5 D-BU

5985

Accessory Wakeup Serial Data

42

0.5 TN/BK

2500

High Speed GMLAN Serial Data (+) (1)

43-45

--

--

Not Used

46

0.5 D-GN

335

Low Speed Cooling Fan Relay Control

47

0.5 PU

1272

Accelerator Pedal Position Low Reference (2)

48

0.5 TN

1274

Accelerator Pedal Position 5 Volt Reference (2)

49

0.5 WH/BK

1164

Accelerator Pedal Position 5 Volt Reference (1)

50

0.5L-BU

6289

Induction Air Temperature Sensor Signal

51

0.5 PU

3220

HO2S Sensor High Signal Bank 2 Sensor 2

52

0.5 WH

17

Stop Lamp Switch Signal

53

--

--

Not Used

54

0.5 PK

639

Ignition 1 Voltage

55

0.5 TN

2501

High Speed GMLAN Serial Data (-) (1)

56

0.5 RD/WH

40

Battery Positive Voltage

57

0.5 OG/BK

1733

Electronic Control Unit 12 Volt Reference (2)

58

0.5 YE

5991

Powertrain Relay Coil Control

Engine Control Module (ECM) X2 (LE5)


Object Number: 1590596  Size: CH

Connector Part Information

  • OEM: 15497996
  • Service: 88988372
  • Description: 73-Way F 0.64 2.8 Series, Sealed (BK)

Terminal Part Information

  • Pins: 4-10, 13-16, 20-24, 26, 30-32, 33-34, 37, 39-40, 43, 45-51, 53-54, 57-61, 65, 67
  • Terminal/Tray: 33467-0005/23
  • Core/Insulation Crimp: Pins 4-10, 13-15, 20-24, 26, 30-31, 33-34, 37, 39-40, 43, 45-51, 53-54, 57-61, 65, 67 - J/J
  • Core/Insulation Crimp: Pins 16, 32 - See Terminal Repair Kit
  • Release Tool/Test Probe: J-38125-213/J-35616-64B (L-BU)
  • Pins: 73
  • Terminal/Tray: 1326030-8/17
  • Core/Insulation Crimp: 4/D
  • Release Tool/Test Probe: 12094429/J-35616-4A (PU)

Engine Control Module (ECM) X2 (LE5)

Pin

Wire

Circuit

Function

1-3

--

--

Not Used

4

0.5 TN

2761

Low Reference

5

0.5 GY/BK

6272

Low Reference

6

0.5 TN

1744

Fuel Injector 1 Control

7

0.5 PK/BK

1746

Fuel Injector 3 Control

8

0.5 L-BU/BK

844

Fuel Injector 4 Control

9

0.5 BN

2129

Low Reference

10

0.5 L-GN/BK

1745

Fuel Injector 2 Control

11-12

--

--

Not Used

13

0.5 GY

2704

5-Volt Reference 1

14

0.5 WH/BK

6396

Camshaft Position (CMP) Actuator Solenoid Control - Exhaust

15

0.5 PK/BK

6395

Camshaft Position (CMP) Actuator Solenoid Control - Intake

16

0.75 YE

581

Throttle Actuator Control (TAC) Motor Control - 1

17-19

--

--

Not Used

20

0.5 BN

6266

Camshaft Position (CMP) Sensor Low Reference - Intake

21

0.5 PU

6267

Camshaft Position (CMP) Sensor Low Reference - Exhaust

22

0.5 PU

2121

Ignition Coil 1 Control

23

0.5 L-BU

2123

Ignition Coil 3 Control

24

0.5 D-GN/WH

2124

Ignition Coil 4 Control

25

--

--

Not Used

26

0.5 OG/WH

2122

Ignition Coil 2 Control

27-29

--

--

Not Used

30

0.5 D-GN/WH

428

EVAP Canister Purge Solenoid Control

31

0.5 OG

225

Generator Turn On Signal

32

0.75 BN

582

Throttle Actuator Control (TAC) Motor Control - 2

33

0.5 D-BU

6259

5-Volt Reference 1

34

0.5 D-GN

6457

5-Volt Reference 1

35-36

--

--

Not Used

37

0.5 PU/WH

3110

HO2S Reference Voltage Sensor 1

38

--

--

Not Used

39

0.5 L-GN

432

Manifold Absolute Pressure (MAP) Sensor Signal

40

0.5 TN

2752

Low Reference

41-42

--

--

Not Used

43

0.5 GY

23

Generator Field Duty Cycle Signal

44

--

--

Not Used

45

0.5 WH/BK

6271

Crankshaft Position (CKP) Sensor Signal

46

0.5 D-BU/WH

6265

Camshaft Position (CMP) Sensor Signal - Intake

47

0.5 D-GN/WH

6264

Camshaft Position (CMP) Sensor Signal - Exhaust

48

0.5 TN/WH

3111

HO2S Low Reference Sensor 1

49

0.5 OG/BK

469

Low Reference

50

0.5 GY

1716

Low Reference

51

0.5 D-BU

496

Knock Sensor 1 Signal

52

--

--

Not Used

53

0.5 GY

2701

5-Volt Reference 2

54

0.5 PU/WH

6270

5-Volt Reference 2

55-56

--

--

Not Used

57

0.5 D-GN

485

Throttle Position (TP) Sensor 1 Signal

58

0.5 YE

410

ECT Sensor Signal

59

0.5 PU

486

Throttle Position (TP) Sensor 2 Signal

60

0.5 BN

6753

Low Reference

61

0.5 BN/WH

6754

Camshaft Position (CMP) Actuator Solenoid Control

62-64

--

--

Not Used

65

0.5 GY/WH

3113

HO2S Heater Low Control - Sensor 1

66

--

--

Not Used

67

0.5 TN

1174

Engine Oil Level (EOL) Switch Signal

68-72

--

--

Not Used

73

3 BK/WH

251

Ground

Engine Control Module (ECM) X2 (LY7)


Object Number: 1590596  Size: CH

Connector Part Information

  • OEM: 15499466
  • Service: 88988931
  • Description: 73-Way F MX123 Series, Sealed (BK)

Terminal Part Information

  • Pins: 1-9, 11-12, 14-15, 17, 19-24, 27, 29, 30-39, 42-44, 46-54, 56, 57-59, 62-64, 66-69, 71-72
  • Terminal/Tray: 33467-0005/23
  • Core/Insulation Crimp: Pins 1-9, 14-15, 17, 19-24, 27, 29-39, 42-44, 46-54, 56-59, 62-64, 66-69, 71-72 - J/J
  • Core/Insulation Crimp: Pins 11-12 - See Terminal Repair Kit
  • Release Tool/Test Probe: J-38125-213/J-35616-64B (L-BU)
  • Pins: 13
  • Terminal/Tray: 33467-0005/23
  • Core/Insulation Crimp: K/K
  • Release Tool/Test Probe: J-38125-213/J-35616-64B (L-BU)
  • Pins: 73
  • Terminal/Tray: 1326030-8/17
  • Core/Insulation Crimp: 4/D
  • Release Tool/Test Probe: 12094429/J-35616-4A (PU)

Engine Control Module (ECM) X2 (LY7)

Pin

Wire

Circuit

Function

1

0.5 PU

2121

Ignition Coil 1 Control

2

0.5 TN/WH

3111

HO2S Low Reference Voltage Bank 1 Sensor 1

3

0.5 PU/WH

3110

HO2S Reference Voltage Bank 1 Sensor 1

4

0.5 PU

3120

HO2S High Signal Bank 1 Sensor 2

5

0.5 TN/WH

3121

HO2S Low Signal Bank 1 Sensor 2

6

0.5 L-BU

1876

Knock Sensor (KS) 2 Signal

7

0.5 GY

2303

Knock Sensor (KS) 2 Signal

8

0.5 D-BU

496

Knock Sensor (KS) 1 Signal

9

0.5 GY

1716

Knock Sensor (KS) 1 Signal

10

--

--

Not Used

11

0.75 YE

581

Throttle Actuator Control (TAC) Motor Control - 1

12

0.75 BN

582

Throttle Actuator Control (TAC) Motor Control - 2

13

0.8 PK/BK

6341

Ignition Voltage

14

0.5 PK/BK

6395

Camshaft Position (CMP) Actuator Solenoid Control - Bank 1 Intake

15

0.5 TN/BK

6397

Camshaft Position (CMP) Actuator Solenoid Control - Bank 2 Intake

16

--

--

Not Used

17

0.5 OG/WH

2122

Ignition Coil 2 Control

18

--

--

Not Used

19

0.5 BN/WH

2130

Low Reference

20

0.5 PU

6267

Camshaft Position (CMP) Sensor Low Reference - Bank 1 Exhaust

21

0.5 TN

6268

Camshaft Position (CMP) Sensor Low Reference - Bank 2 Intake

22

0.5 WH

6269

Low Reference

23

0.5 BN

6266

Camshaft Position (CMP) Sensor Low Reference - Bank 1 Intake

24

0.5 BK

2755

Low Reference

25-26

--

--

Not Used

27

0.5 GY/BK

6272

Low Reference

28

--

--

Not Used

29

0.5 TN

2752

Low Reference

30

0.5 BN/WH

6754

Camshaft Position (CMP) Actuator Solenoid Control - Bank 1 Exhaust

31

0.5 D-BU/WH

6756

Camshaft Position (CMP) Actuator Solenoid Low Reference - Bank 2 Exhaust

32

0.5 L-BU/BK

844

Fuel Injector 4 Control

33

0.5 L-BU

2123

Ignition Coil 3 Control

34

0.5 L-BU/WH

2126

Ignition Coil 6 Control

35

0.5 BN

2129

Low Reference

36

0.5 D-GN

6457

5-Volt Reference 1

37

0.5 OG

6260

5-Volt Reference 1

38

0.5 PK

6261

5-Volt Reference 1

39

0.5 D-BU

6259

5-Volt Reference 1

40-41

--

--

Not Used

42

0.5 TN

2760

Low Reference

43

0.5 PU/WH

6270

5-Volt Reference 2

44

0.5 GY

2701

5-Volt Reference 2

45

--

--

Not Used

46

0.5 BN

6753

Camshaft Position (CMP) Actuator Solenoid Low Reference - Bank 1 Intake

47

0.5 D-BU

6755

Camshaft Position (CMP) Actuator Solenoid Low Reference - Bank 2 Intake

48

0.5 L-GN/BK

1745

Fuel Injector 2 Control

49

0.5 YE/BK

846

Fuel Injector 6 Control

50

0.5 WH/BK

6396

Camshaft Position (CMP) Actuator Solenoid Control - Bank 1 Exhaust

51

0.5 GY/BK

6394

Camshaft Position (CMP) Actuator Solenoid Control - Bank 2 Exhaust

52

0.5 TN/WH

845

Fuel Injector 5 Control

53

0.5 D-GN/WH

2124

Ignition Coil 4 Control

54

0.5 D-GN

2125

Ignition Coil 5 Control

55

--

--

Not Used

56

0.5 D-GN/WH

6264

Camshaft Position (CMP) Sensor Signal - Bank 1 Exhaust

57

0.5 OG/BK

6263

Camshaft Position (CMP) Sensor Signal - Bank 2 Intake

58

0.5 PK/BK

6262

Camshaft Position (CMP) Sensor Signal - Bank 2 Exhaust

59

0.5 D-BU/WH

6265

Camshaft Position (CMP) Sensor Signal - Bank 1 Intake

60-61

--

--

Not Used

62

0.5 L-BU

6289

Intake Air Temperature (IAT) Sensor Signal

63

0.5 WH/BK

6271

Crankshaft Position (CKP) Sensor Signal

64

0.5 D-GN

485

Throttle Position (TP) Sensor 1 Signal

65

--

--

Not Used

66

0.5 PU

486

Throttle Position (TP) Sensor 2 Signal

67

0.5 YE

492

Mass Air Flow (MAF) Sensor Signal

68

0.5 GY/WH

3113

HO2S Heater Low Control - Bank 1 Sensor 1

69

0.5 GY/WH

3122

HO2S Heater Low Control - Bank 1 Sensor 2

70

--

--

Not Used

71

0.5 PK/BK

1746

Fuel Injector 3 Control

72

0.5 TN

1744

Fuel Injector 1 Control

73

3 BK/WH

251

Ground

Engine Control Module (ECM) X2 (LZ4)


Object Number: 1830236  Size: CH

Connector Part Information

  • OEM: 13511426
  • Service: 19115670
  • Description: 80-Way F MX123 Series Sealed (GY)

Terminal Part Information

  • Pins: 2- 3, 5- 6, 8, 12-13, 16-22, 26-27, 29-30, 32, 34-35, 37, 40-41, 43-44, 50, 52-53, 56-61, 63-66, 68-72, 78
  • Terminal/Tray: 33467-0005/23
  • Core/Insulation Crimp: J/J
  • Release Tool/Test Probe: J-38125-213/J-35616-64B (L-BU)

Engine Control Module (ECM) X2 (LZ4)

Pin

Wire

Circuit

Function

1

--

--

Not Used

2

0.5 PU/WH

6270

5-Volt Reference 2

3

0.5 GY

2701

5-Volt Reference 2

4

--

--

Not Used

5

0.5 BN

582

Throttle Actuator Control (TAC) Motor Control - 2

6

0.5 YE

581

Throttle Actuator Control (TAC) Motor Control - 1

7

--

--

Not Used

8

0.5 D-GN/WH

428

EVAP Canister Purge Solenoid Control

9-11

--

--

Not Used

12

0.5 GY/WH

3113

HO2S Heater Low Control - Bank 1 Sensor 1

13

0.5 L-GN

3212

HO2S Heater Low Control - Bank 2 Sensor 1

14-15

--

--

Not Used

16

0.5 PK/BK

6395

Camshaft Position (CMP) Actuator Solenoid Control - Intake

17

0.5 L-GN/BK

1745

Fuel Injector 2 Control

18

0.5 YE/BK

846

Fuel Injector 6 Control

19

0.5 TN/WH

845

Fuel Injector 5 Control

20

0.5 TN

1744

Fuel Injector 1 Control

21

0.5 YE

410

Engine Coolant Temperature (ECT) Sensor Signal

22

0.5 TN

2761

Low Reference

23-25

--

--

Not Used

26

0.5 D-BU

496

Knock Sensor 1 Signal

27

0.5 GY

1716

Knock Sensor 1 Signal

28

--

--

Not Used

29

0.5 L-BU

1876

Knock Sensor 2 Signal

30

0.5 GY

2303

Knock Sensor 2 Signal

31

--

--

Not Used

32

0.5 GY

23

Generator Field Duty Cycle Signal

33

--

--

Not Used

34

0.5 BK

2755

Low Reference

35

0.5 TN

2752

Low Reference

36

--

--

Not Used

37

0.5 L-BU/BK

844

Fuel Injector 4 Control

38-39

--

--

Not Used

40

0.5 PK/BK

1746

Fuel Injector 3 Control

41

0.5 GY

2705

5-Volt Reference 1

42

--

--

Not Used

43

0.5 GY

2704

5-Volt Reference 1

44

0.5 D-BU

6259

5-Volt Reference 1

45-49

--

--

Not Used

50

0.5 TN/WH

331

Engine Oil Pressure (EOP) Sensor Signal

51

--

--

Not Used

52

0.5 BN

6753

Low Reference

53

0.5 OG/BK

469

Low Reference

54-55

--

--

Not Used

56

0.5 TN/WH

3111

HO2S Low Reference Bank 1 Sensor 1

57

0.5 PU/WH

3110

HO2S Reference Voltage Bank 1 Sensor 1

58

0.5 L-GN

432

Manifold Absolute Pressure (MAP) Sensor Signal

59

0.5 PU/WH

3210

HO2S Reference Voltage Bank 2 Sensor 1

60

0.5 TN/WH

3211

HO2S Low Reference Bank 2 Sensor 1

61

0.5 OG

225

Generator Turn On Signal

62

--

--

Not Used

63

0.5 PU

486

Throttle Position (TP) Sensor 2 Signal

64

0.5 D-BU/WH

6265

Camshaft Position (CMP) Sensor Signal - Bank 1 Intake

65

0.5 D-GN

485

Throttle Position (TP) Sensor 1 Signal

66

0.5 BN

6266

Camshaft Position (CMP) Sensor Low Reference - Intake

67

--

--

Not Used

68

0.5 WH/BK

6271

Crankshaft Position Sensor Signal

69

0.5 GY/BK

6272

Low Reference

70

0.5 PU

2121

Ignition Coil 1 Control

71

0.5 OG/WH

2122

Ignition Coil 2 Control

72

0.5 L-BU

2123

Ignition Coil 3 Control

73-77

--

--

Not Used

78

0.5 BN

2129

Low Reference

79-80

--

--

Not Used

Engine Control Module (ECM) X3 (LAT)


Object Number: 1590596  Size: CH

Connector Part Information

  • OEM: 12582678
  • Service: See Catalog
  • Description: 73-Way F 0.64 2.8 Series, Sealed (BK)

Terminal Part Information

  • Pins: 2, 21, 23, 24, 33, 35, 37, 39, 40, 46, 48, 49, 53, 55, 57, 59, 60, 65
  • Terminal/Tray: 33467-0003/23
  • Core/Insulation Crimp: H/H
  • Release Tool/Test Probe: J-38125-213/J-35616-64B (L-BU)

Engine Control Module (ECM) X3 (LAT)

Pin

Wire

Circuit

Function

1

--

--

Not Used

2

0.35 PK

1224

Automatic Transmission Fluid Pressure Switch Signal A

3-20

--

--

Not Used

21

0.5 TN

5514

Low Reference

22

--

--

Not Used

23

0.5 OG/BK

469

Low Reference

24

0.5 TN/BK

6033

Low Reference

25-32

--

--

Not Used

33

0.5 TN

2501

High Speed GMLAN Serial Data Bus-

34

--

--

Not Used

35

0.5 TN

2761

Low Reference

36

--

--

Not Used

37

0.5 GY

2700

5-Volt Reference 1

38

--

--

Not Used

39

0.5 GY

2704

5-Volt Reference 1

40

0.5 GY

6034

5-Volt Reference 1

41-45

--

--

Not Used

46

0.5 OG/BK

1786

Ignition Lock Cylinder Control Actuator Signal

47

--

--

Not Used

48

0.5 D-GN/BK

428

EVAP Canister Purge Solenoid Control

49

0.5 D-GN

335

Low Speed Engine Cooling Fan Relay Control

50-52

--

--

Not Used

53

0.5 TN/BK

2500

High Speed GMLAN Serial Data Bus+

54

--

--

Not Used

55

0.5 YE

410

Engine Coolant Temperature (ECT) Sensor Signal

56

--

--

Not Used

57

0.5 OG/BK

380

A/C Refrigerant Pressure Sensor Signal

58

--

--

Not Used

59

0.5 L-GN

432

Manifold Absolute Pressure (MAP) Sensor Signal

60

0.5 YE

2034

Brake Master Cylinder Pressure Sensor Signal

61-64

--

--

Not Used

65

0.5 TN/BK

231

Engine Oil Pressure (EOP) Switch Signal

66-73

--

--

Not Used

Engine Control Module (ECM) X3 (LY7)


Object Number: 1590596  Size: CH

Connector Part Information

  • OEM: 15497996
  • Service: 88988372
  • Description: 73-Way F 0.64 2.8 Series, Sealed (BK)

Terminal Part Information

  • Terminal/Tray: 33467-0005/23
  • Core/Insulation Crimp: J/J
  • Release Tool/Test Probe: J-38125-213/J-35616-64B (L-BU)

Engine Control Module (ECM) X3 (LY7)

Pin

Wire

Circuit

Function

1-2

--

--

Not Used

3

0.5 TN/WH

3211

HO2S Low Reference Bank 2 Sensor 1

4

0.5 PU/WH

3210

HO2S Reference Voltage Bank 2 Sensor 1

5

0.5 PU

3220

HO2S High Signal Bank 2 Sensor 2

6

0.5 TN

3221

HO2S Low Signal Bank 2 Sensor 2

7

0.5 OG

225

Generator Turn On Signal

8-14

--

--

Not Used

15

0.5 L-GN

3212

HO2S Heater Low Control - Bank 2 Sensor 1

16-20

--

--

Not Used

21

0.5 TN

5514

Low Reference

22

--

--

Not Used

23

0.5 OG/BK

469

Low Reference

24-28

--

--

Not Used

29

0.5 GY

23

Generator Field Duty Cycle Signal

30-32

--

--

Not Used

33

0.5 TN

2501

High Speed GMLAN Serial Data Bus-

34

--

--

Not Used

35

0.5 TN

2761

Low Reference

36

--

--

Not Used

37

0.5 GY

2700

5-Volt Reference 1

38

--

--

Not Used

39

0.5 GY

2704

5-Volt Reference 1

40-45

--

--

Not Used

46

0.5 OG/BK

1786

Ignition Lock Cylinder Control Actuator Signal

47

--

--

Not Used

48

0.5 D-GN/WH

428

EVAP Canister Purge Solenoid Control

49

0.5 D-GN

335

Low Speed Cooling Fan Relay Control

50

0.5 OG/WH

3223

HO2S Heater Low Control Bank 2 Sensor 2

51-52

--

--

Not Used

53

0.5 TN/BK

2500

High Speed GMLAN Serial Data Bus+

54

--

--

Not Used

55

0.5 YE

410

Engine Coolant Temperature(ECT) Sensor Signal

56

--

--

Not Used

57

0.5 OG/BK

380

A/C Refrigerant Pressure Sensor Signal

58

--

--

Not Used

59

0.5 L-GN

432

Manifold Absolute Pressure (MAP) Sensor Signal

60-64

--

--

Not Used

65

0.5 TN/BK

231

Engine Oil Pressure (EOP) Switch Signal

66-73

--

--

Not Used

Engine Coolant Temperature (ECT) Sensor (LAT/LE5/LZ4)


Object Number: 1538760  Size: CH

Connector Part Information

  • OEM: 15449028
  • Service: 88987993
  • Description: 2-Way F 150 GT Series Sealed (BK)

Terminal Part Information

  • Terminal/Tray: 15326429/5
  • Core/Insulation Crimp: E/4
  • Release Tool/Test Probe: 15315247/J-35616-2A (GY)

Engine Coolant Temperature (ECT) Sensor (LAT/LE5/LZ4)

Pin

Wire

Circuit

Function

A

0.5 TN

2761

Low Reference (LAT/LE5)

0.5 TN

469

Low Reference (LZ4)

B

0.5 YE

410

Engine Coolant Temperature (ECT) Sensor Signal

Engine Coolant Temperature (ECT) Sensor (LCS/LY7)


Object Number: 784092  Size: CH

Connector Part Information

  • OEM: 15339756
  • Service: 88988963
  • Description: 2-Way F 2.8, Sealed (BK)

Terminal Part Information

  • Terminal/Tray: 1928498054/8
  • Core/Insulation Crimp: E/1
  • Release Tool/Test Probe: J-38125-561/J-35616-35 (VT)

Engine Coolant Temperature (ECT) Sensor (LCS/LY7)

Pin

Wire

Circuit

Function

1

0.5 YE

410

ECT Sensor Signal

2

0.5 TN

476

Low Reference (LCS)

2

0.5 TN

2761

Low Reference (LY7)

Engine Cooling Fan (LAT)


Object Number: 1977737  Size: CH

Connector Part Information

  • OEM: 15380370
  • Service: See Catalog
  • Description: 2-Way F 187, Sealed (BK)

Terminal Part Information

  • Terminal/Tray: 8100-0468/6
  • Core/Insulation Crimp: F/5
  • Release Tool/Test Probe: 12094430/J-35616-40 (BU)

Engine Cooling Fan (LAT)

Pin

Wire

Circuit

Function

1

3 BK

250

Ground

2

3 L-BU

409

Cooling Fan Motor Supply Voltage

Engine Cooling Fan Control Module X1 (LCS)


Object Number: 1745131  Size: CH

Connector Part Information

  • OEM: 7283-8497-90
  • Service: See Catalog
  • Description: 4-Way F 5.8 Timer 9.5 Sealed (BK)

Terminal Part Information

  • Terminal/Tray: See Terminal Repair Kit
  • Core/Insulation Crimp: See Terminal Repair Kit
  • Release Tool/Test Probe: See Terminal Repair Kit

Engine Cooling Fan Control Module X1 (LCS)

Pin

Wire

Circuit

Function

1

3 L-BU

409

Cooling Fan Low Reference

2

1 BK

250

Ground

3

--

--

Not Used

4

0.5 D-GN

335

Low Speed Cooling Fan Relay Control

Engine Cooling Fan Control Module X2 (LCS)


Object Number: 811182  Size: CH

Connector Part Information

  • OEM: 7283-5596-10
  • Service: See Catalog
  • Description: 2-Way F YESC/USCAR Sealed (D-GY)

Terminal Part Information

  • Terminal/Tray: See Terminal Repair Kit
  • Core/Insulation Crimp: See Terminal Repair Kit
  • Release Tool/Test Probe: See Terminal Repair Kit

Engine Cooling Fan Control Module X2 (LCS)

Pin

Wire

Circuit

Function

1

3 WH

504

Cooling Fan Motor Supply Voltage

2

3 L-BU

409

Cooling Fan Low Reference

Engine Cooling Fan Control Module X3 (LCS)


Object Number: 811182  Size: CH

Connector Part Information

  • OEM: 7283-5596-10
  • Service: See Catalog
  • Description: 2-Way F YESC/USCAR Sealed (D-GY)

Terminal Part Information

  • Terminal/Tray: See Terminal Repair Kit
  • Core/Insulation Crimp: See Terminal Repair Kit
  • Release Tool/Test Probe: See Terminal Repair Kit

Engine Cooling Fan Control Module X3 (LCS)

Pin

Wire

Circuit

Function

1

3 WH

504

Cooling Fan Motor Supply Voltage

2

3 GY

532

Cooling Fan Low Reference

Engine Cooling Fan - Left (LCS)


Object Number: 811182  Size: CH

Connector Part Information

  • OEM: 7283-5596-10
  • Service: See Catalog
  • Description: 2-Way F YESC/USCAR Sealed (D-GY)

Terminal Part Information

  • Terminal/Tray: 8100-0468/6
  • Core/Insulation Crimp: F/5
  • Release Tool/Test Probe: 12094430/J-35616-40 (BU)

Engine Cooling Fan - Left (LCS)

Pin

Wire

Circuit

Function

1

3 WH

504

Engine Cooling Fan Motor Supply Voltage

2

3 L-BU

409

Engine Cooling Fan Motor Low Reference

Engine Cooling Fan - Left (LE5/LY7/LZ4)


Object Number: 1977737  Size: CH

Connector Part Information

  • OEM: 12105452
  • Service: See Catalog
  • Description: 2-Way F 187, Sealed (GY)

Terminal Part Information

  • Terminal/Tray: 8100-0468/6
  • Core/Insulation Crimp: F/5
  • Release Tool/Test Probe: 12094430/J-35616-40 (BU)

Engine Cooling Fan - Left (LE5/LY7/LZ4)

Pin

Wire

Circuit

Function

1

3 WH

504

Cooling Fan Low Reference

2

3 GY

532

Cooling Fan Motor Supply Voltage

Engine Cooling Fan - Right (LCS)


Object Number: 811182  Size: CH

Connector Part Information

  • OEM: 7283-5596-10
  • Service: See Catalog
  • Description: 2-Way F YESC/USCAR Sealed (D-GY)

Terminal Part Information

  • Terminal/Tray: 8100-0468/6
  • Core/Insulation Crimp: F/5
  • Release Tool/Test Probe: 12094430/J-35616-40 (BU)

Engine Cooling Fan - Right (LCS)

Pin

Wire

Circuit

Function

1

3 WH

504

Engine Cooling Fan Motor Supply Voltage

2

3 GY

532

Engine Cooling Fan Motor Low Reference

Engine Cooling Fan - Right (LE5/LY7/LZ4)


Object Number: 1977737  Size: CH

Connector Part Information

  • OEM: 15380370
  • Service: See Catalog
  • Description: 2-Way F 187, Sealed (BK)

Terminal Part Information

  • Terminal/Tray: 8100-0468/6
  • Core/Insulation Crimp: F/5
  • Release Tool/Test Probe: 12094430/J-35616-40 (BU)

Engine Cooling Fan - Right (LE5/LY7/LZ4)

Pin

Wire

Circuit

Function

1

3 BK

250

Ground

2

3 L-BU

409

Cooling Fan Motor Supply Voltage

Engine Cooling Fan Resistor (LAT)


Object Number: 2002691  Size: CH

Connector Part Information

  • OEM: 10756588
  • Service: See Catalog
  • Description: 4-Way F 5.8 Timer 9.5 Sealed (BK)

Terminal Part Information

  • Terminal/Tray: See Terminal Repair Kit
  • Core/Insulation Crimp: See Terminal Repair Kit
  • Release Tool/Test Probe: See Terminal Repair Kit

Engine Cooling Fan Resistor (LAT)

Pin

Wire

Circuit

Function

1

3 GY

532

Cooling Fan Motor Supply Voltage

2

--

--

Not Used

3

3 L-BU

409

Cooling Fan Low Reference

4

--

--

Not Used

Engine Oil Pressure (EOP) Sensor (LCS/LZ4)


Object Number: 258299  Size: CH

Connector Part Information

  • OEM: 12078090 (LCS)
  • OEM: 12065287 (LZ4)
  • Service: 88988301
  • Description: 3-Way F Metri-Pack 150 Series Sealed (BK)

Terminal Part Information

  • Terminal/Tray: 12103881/2
  • Core/Insulation Crimp: E/C
  • Release Tool/Test Probe: 12180559-1/J-35616-14 (GN)

Engine Oil Pressure (EOP) Sensor (LCS/LZ4)

Pin

Wire

Circuit

Function

A

0.5 TN

470

Low Reference (LCS)

A

0.5 BK

2755

Low Reference (LZ4)

B

0.5 GY

596

5-Volt Reference (LCS)

B

0.5 GY

2705

5-Volt Reference (LZ4)

C

0.5 TN/WH

331

Oil Pressure Sensor Signal

Engine Oil Pressure (EOP) Switch (LAT/LE5)


Object Number: 516595  Size: CH

Connector Part Information

  • OEM: 12065299
  • Service: 12126436
  • Description: 1-Way F Metri-Pack 150 Series Sealed (L-GY)

Terminal Part Information

  • Terminal/Tray: 12048074/2
  • Core/Insulation Crimp: E/1
  • Release Tool/Test Probe: 12094429/J-35616-14 (GN)

Engine Oil Pressure (EOP) Switch (LAT/LE5)

Pin

Wire

Circuit

Function

A

0.5 BN

1174

Oil Pressure Switch Signal (LE5)

0.5 TN/BK

231

Oil Pressure Switch Signal (LAT)

Engine Oil Pressure (EOP) Switch (LY7)


Object Number: 516616  Size: CH

Connector Part Information

  • OEM: 12065400
  • Service: 12126436
  • Description: 4-Way F Metri-Pack 150 Series Sealed (GN)

Terminal Part Information

  • Terminal/Tray: 12048074/2
  • Core/Insulation Crimp: E/1
  • Release Tool/Test Probe: 12094429/J-35616-14 (GN)

Engine Oil Pressure (EOP) Switch (LY7)

Pin

Wire

Circuit

Function

A

0.5 TN/BK

231

Oil Pressure Switch Signal

B

0.5 BK

2755

Low Reference

C-D

--

--

Not Used

Evaporative Emissions (EVAP) Canister Purge Solenoid Valve (LAT/LE5/LZ4)


Object Number: 684795  Size: CH

Connector Part Information

  • OEM: 12052643
  • Service: 12101858
  • Description: 2-Way F Metri-Pack 150 Series, Sealed (RD)

Terminal Part Information

  • Terminal/Tray: 12048074/2
  • Core/Insulation Crimp: E/1
  • Release Tool/Test Probe: 12094429/J-35616-14 (GN)

Evaporative Emissions (EVAP) Canister Purge Solenoid Valve (LAT/LE5/LZ4)

Pin

Wire

Circuit

Function

A

0.5 PK/BK

5291

Ignition 1 Voltage

B

0.5 D-GN/WH

428

EVAP Canister Purge Solenoid Control

Evaporative Emissions (EVAP) Canister Purge Solenoid Valve (LCS/LY7)


Object Number: 1331450  Size: CH

Connector Part Information

  • OEM: 1928404072
  • Service: 88988586
  • Description: 2-Way F 2.8 Sealed (BK)

Terminal Part Information

  • Terminal/Tray: See Terminal Repair Kit
  • Core/Insulation Crimp: See Terminal Repair Kit
  • Release Tool/Test Probe: See Terminal Repair Kit

Evaporative Emissions (EVAP) Canister Purge Solenoid Valve (LCS/LY7)

Pin

Wire

Circuit

Function

1

0.5 PK/BK

5293

Powertrain Main Relay Fused Supply (3)

2

0.5 D-GN/WH

428

EVAP Canister Purge Solenoid Control

Evaporative Emissions (EVAP) Canister Vent Solenoid Valve


Object Number: 684795  Size: CH

Connector Part Information

  • OEM: 12052643
  • Service: 12101858
  • Description: 2-Way F Metri-Pack 150 Series, Sealed (RD)

Terminal Part Information

  • Terminal/Tray: 12048074/2
  • Core/Insulation Crimp: E/1
  • Release Tool/Test Probe: 12094429/J-35616-14 (GN)

Evaporative Emissions (EVAP) Canister Vent Solenoid Valve

Pin

Wire

Circuit

Function

A

0.5 RD/WH

2140

Battery Positive Voltage

B

0.5 WH

1310

EVAP Canister Vent Solenoid Control

Fog Lamp - Left Front (T37)


Object Number: 1413064  Size: CH

Connector Part Information

  • OEM: 12124819
  • Service: 12124819
  • Description: 2-Way F Metri-Pack 280 Series, Sealed (BK)

Terminal Part Information

  • Terminal/Tray: 12077411/2
  • Core/Insulation Crimp: 2/5
  • Release Tool/Test Probe: 12094430/J-35616-4A (PU)

Fog Lamp - Left Front (T37)

Pin

Wire

Circuit

Function

A

0.5 PU

34

Fog Lamps Supply Voltage

B

0.5 BK

150

Ground

Fog Lamp - Left Front (T96)


Object Number: 684797  Size: CH

Connector Part Information

  • OEM: 12059183
  • Service: 12059183
  • Description: 2-Way F Metri-Pack 280 Series, Sealed (BK)

Terminal Part Information

  • Terminal/Tray: 12077411/2
  • Core/Insulation Crimp: 2/5
  • Release Tool/Test Probe: 12094430/J-35616-4A (PU)

Fog Lamp - Left Front (T96)

Pin

Wire

Circuit

Function

A

0.5 PU

34

Fog Lamps Supply Voltage

B

0.5 BK

150

Ground

Fog Lamp - Right Front (T37)


Object Number: 1413064  Size: CH

Connector Part Information

  • OEM: 12124819
  • Service: 12124819
  • Description: 2-Way F Metri-Pack 280 Series, Sealed (BK)

Terminal Part Information

  • Terminal/Tray: 12077411/2
  • Core/Insulation Crimp: 2/5
  • Release Tool/Test Probe: 12094430/J-35616-4A (PU)

Fog Lamp - Right Front (T37)

Pin

Wire

Circuit

Function

A

0.5 PU

34

Fog Lamps Supply Voltage

B

0.5 BK

150

Ground

Fog Lamp - Right Front (T96)


Object Number: 684797  Size: CH

Connector Part Information

  • OEM: 12059183
  • Service: 12059183
  • Description: 2-Way F Metri-Pack 280 Series, Sealed (BK)

Terminal Part Information

  • Terminal/Tray: 12077411/2
  • Core/Insulation Crimp: 2/5
  • Release Tool/Test Probe: 12094430/J-35616-4A (PU)

Fog Lamp - Right Front (T96)

Pin

Wire

Circuit

Function

A

0.5 PU

34

Fog Lamps Supply Voltage

B

0.5 BK

150

Ground

Fuel Door Release Actuator


Object Number: 872877  Size: CH

Connector Part Information

  • OEM: 15332130
  • Service: 88986459
  • Description: 2-Way M GT 150 Series (BK)

Terminal Part Information

  • Terminal/Tray: 15304702/19
  • Core/Insulation Crimp: E/4
  • Release Tool/Test Probe: 15315247/J-35616-3 (GY)

Fuel Door Release Actuator

Pin

Wire

Circuit

Function

A

0.5 TN

694

Fuel Door Latch Actuator Unlock Control

B

0.5 GY

295

Fuel Door Latch Actuator Lock Control

Fuel Injector 1 (LAT/LE5)


Object Number: 1721512  Size: CH

Connector Part Information

  • OEM: 7283-8596-30
  • Service: See Catalog
  • Description: 2-Way F Sealed (BK)

Terminal Part Information

  • Terminal/Tray: See Terminal Repair Kit
  • Core/Insulation Crimp: See Terminal Repair Kit
  • Release Tool/Test Probe: See Terminal Repair Kit

Fuel Injector 1 (LAT/LE5)

Pin

Wire

Circuit

Function

1

0.5 PK

139

Ignition 1 Voltage

2

0.5 TN

1744

Fuel Injector 1 Control

Fuel Injector 1 (LCS)


Object Number: 784092  Size: CH

Connector Part Information

  • OEM: 1928403874
  • Service: See Catalog
  • Description: 2-Way F Kompakt 280 Sealed (BK)

Terminal Part Information

  • Terminal/Tray: See Terminal Repair Kit
  • Core/Insulation Crimp: See Terminal Repair Kit
  • Release Tool/Test Probe: See Terminal Repair Kit

Fuel Injector 1 (LCS)

Pin

Wire

Circuit

Function

1

0.5 PK

4801

Fuel Injector 1 Control

2

0.5 TN

4901

Ignition 1 Voltage

Fuel Injector 1 (LY7)


Object Number: 1527729  Size: CH

Connector Part Information

  • OEM: 15419715
  • Service: 15306318
  • Description: 2-Way F GT 150 Series Sealed (GY)

Terminal Part Information

  • Terminal/Tray: See Terminal Repair Kit
  • Core/Insulation Crimp: See Terminal Repair Kit
  • Release Tool/Test Probe: See Terminal Repair Kit

Fuel Injector 1 (LY7)

Pin

Wire

Circuit

Function

A

0.5 PK/BK

5291

Ignition 1 Voltage

B

0.5 TN

1744

Fuel Injector 1 Control

Fuel Injector 1 (LZ4)


Object Number: 1273820  Size: CH

Connector Part Information

  • OEM: 15355226
  • Service: 89046636
  • Description: 2-Way F Metri-Pack 150 Tangless Series Sealed (BK)

Terminal Part Information

  • Terminal/Tray: 12176636/19
  • Core/Insulation Crimp: C/1
  • Release Tool/Test Probe: 12094429/J-35616-2A (GY)

Fuel Injector 1 (LZ4)

Pin

Wire

Circuit

Function

A

0.5 PK

139

Ignition 1 Voltage

B

0.5 TN

1744

Fuel Injector 1 Control

Fuel Injector 2 (LAT/LE5)


Object Number: 1721512  Size: CH

Connector Part Information

  • OEM: 7283-8596-30
  • Service: See Catalog
  • Description: 2-Way F Sealed (BK)

Terminal Part Information

  • Terminal/Tray: See Terminal Repair Kit
  • Core/Insulation Crimp: See Terminal Repair Kit
  • Release Tool/Test Probe: See Terminal Repair Kit

Fuel Injector 2 (LAT/LE5)

Pin

Wire

Circuit

Function

1

0.5 PK

139

Ignition 1 Voltage

2

0.5 L-GN/BK

1745

Fuel Injector 2 Control

Fuel Injector 2 (LCS)


Object Number: 784092  Size: CH

Connector Part Information

  • OEM: 1928403874
  • Service: See Catalog
  • Description: 2-Way F Kompakt 280 Sealed (BK)

Terminal Part Information

  • Terminal/Tray: See Terminal Repair Kit
  • Core/Insulation Crimp: See Terminal Repair Kit
  • Release Tool/Test Probe: See Terminal Repair Kit

Fuel Injector 2 (LCS)

Pin

Wire

Circuit

Function

1

0.5 PK

4802

Fuel Injector 2 Control

2

0.5 TN

4902

Ignition 1 Voltage

Fuel Injector 2 (LY7)


Object Number: 1527729  Size: CH

Connector Part Information

  • OEM: 15419715
  • Service: 15306318
  • Description: 2-Way F GT 150 Series Sealed (GY)

Terminal Part Information

  • Terminal/Tray: See Terminal Repair Kit
  • Core/Insulation Crimp: See Terminal Repair Kit
  • Release Tool/Test Probe: See Terminal Repair Kit

Fuel Injector 2 (LY7)

Pin

Wire

Circuit

Function

A

0.5 PK/BK

5292

Ignition 1 Voltage

B

0.5 L-GN/BK

1745

Fuel Injector 2 Control

Fuel Injector 2 (LZ4)


Object Number: 1273820  Size: CH

Connector Part Information

  • OEM: 15355226
  • Service: 89046636
  • Description: 2-Way F Metri-Pack 150 Tangless Series Sealed (BK)

Terminal Part Information

  • Terminal/Tray: 12176636/19
  • Core/Insulation Crimp: C/1
  • Release Tool/Test Probe: 12094429/J-35616-2A (GY)

Fuel Injector 2 (LZ4)

Pin

Wire

Circuit

Function

A

0.5 PK

139

Ignition 1 Voltage

B

0.5 L-GN/BK

1745

Fuel Injector 2 Control

Fuel Injector 3 (LAT/LE5)


Object Number: 1721512  Size: CH

Connector Part Information

  • OEM: 7283-8596-30
  • Service: See Catalog
  • Description: 2-Way F Sealed (BK)

Terminal Part Information

  • Terminal/Tray: See Terminal Repair Kit
  • Core/Insulation Crimp: See Terminal Repair Kit
  • Release Tool/Test Probe: See Terminal Repair Kit

Fuel Injector 3 (LAT/LE5)

Pin

Wire

Circuit

Function

1

0.5 PK

139

Ignition 1 Voltage

2

0.5 PK/BK

1746

Fuel Injector 3 Control

Fuel Injector 3 (LCS)


Object Number: 784092  Size: CH

Connector Part Information

  • OEM: 1928403874
  • Service: See Catalog
  • Description: 2-Way F Kompakt 280 Sealed (BK)

Terminal Part Information

  • Terminal/Tray: See Terminal Repair Kit
  • Core/Insulation Crimp: See Terminal Repair Kit
  • Release Tool/Test Probe: See Terminal Repair Kit

Fuel Injector 3 (LCS)

Pin

Wire

Circuit

Function

1

0.5 PK

4803

Fuel Injector 3 Control

2

0.5 TN

4903

Ignition 1 Voltage

Fuel Injector 3 (LY7)


Object Number: 1527729  Size: CH

Connector Part Information

  • OEM: 15419715
  • Service: 15306318
  • Description: 2-Way F GT 150 Series Sealed (GY)

Terminal Part Information

  • Terminal/Tray: See Terminal Repair Kit
  • Core/Insulation Crimp: See Terminal Repair Kit
  • Release Tool/Test Probe: See Terminal Repair Kit

Fuel Injector 3 (LY7)

Pin

Wire

Circuit

Function

A

0.5 PK/BK

5291

Ignition 1 Voltage

B

0.5 PK/BK

1746

Fuel Injector 3 Control

Fuel Injector 3 (LZ4)


Object Number: 1273820  Size: CH

Connector Part Information

  • OEM: 15355226
  • Service: 89046636
  • Description: 2-Way F Metri-Pack 150 Tangless Series Sealed (BK)

Terminal Part Information

  • Terminal/Tray: 12176636/19
  • Core/Insulation Crimp: C/1
  • Release Tool/Test Probe: 12094429/J-35616-2A (GY)

Fuel Injector 3 (LZ4)

Pin

Wire

Circuit

Function

A

0.5 PK

139

Ignition 1 Voltage

B

0.5 PK/BK

1746

Fuel Injector 3 Control

Fuel Injector 4 (LAT/LE5)


Object Number: 1721512  Size: CH

Connector Part Information

  • OEM: 7283-8596-30
  • Service: See Catalog
  • Description: 2-Way F Sealed (BK)

Terminal Part Information

  • Terminal/Tray: See Terminal Repair Kit
  • Core/Insulation Crimp: See Terminal Repair Kit
  • Release Tool/Test Probe: See Terminal Repair Kit

Fuel Injector 4 (LAT/LE5)

Pin

Wire

Circuit

Function

1

0.5 PK

139

Ignition 1 Voltage

2

0.5 L-BU/BK

844

Fuel Injector 4 Control

Fuel Injector 4 (LCS)


Object Number: 784092  Size: CH

Connector Part Information

  • OEM: 1928403874
  • Service: See Catalog
  • Description: 2-Way F Kompakt 280 Sealed (BK)

Terminal Part Information

  • Terminal/Tray: See Terminal Repair Kit
  • Core/Insulation Crimp: See Terminal Repair Kit
  • Release Tool/Test Probe: See Terminal Repair Kit

Fuel Injector 4 (LCS)

Pin

Wire

Circuit

Function

1

0.5 PK

4804

Fuel Injector 4 Control

2

0.5 TN

4904

Ignition 1 Voltage

Fuel Injector 4 (LY7)


Object Number: 1527729  Size: CH

Connector Part Information

  • OEM: 15419715
  • Service: 15306318
  • Description: 2-Way F GT 150 Series Sealed (GY)

Terminal Part Information

  • Terminal/Tray: See Terminal Repair Kit
  • Core/Insulation Crimp: See Terminal Repair Kit
  • Release Tool/Test Probe: See Terminal Repair Kit

Fuel Injector 4 (LY7)

Pin

Wire

Circuit

Function

A

0.5 PK/BK

5292

Ignition 1 Voltage

B

0.5 L-BU/BK

844

Fuel Injector 4 Control

Fuel Injector 4 (LZ4)


Object Number: 1273820  Size: CH

Connector Part Information

  • OEM: 15355226
  • Service: 89046636
  • Description: 2-Way F Metri-Pack 150 Tangless Series Sealed (BK)

Terminal Part Information

  • Terminal/Tray: 12176636/19
  • Core/Insulation Crimp: C/1
  • Release Tool/Test Probe: 12094429/J-35616-2A (GY)

Fuel Injector 4 (LZ4)

Pin

Wire

Circuit

Function

A

0.5 PK

139

Ignition 1 Voltage

B

0.5 L-BU/BK

844

Fuel Injector 4 Control

Fuel Injector 5 (LCS)


Object Number: 784092  Size: CH

Connector Part Information

  • OEM: 1928403874
  • Service: See Catalog
  • Description: 2-Way F Kompakt 280 Sealed (BK)

Terminal Part Information

  • Terminal/Tray: See Terminal Repair Kit
  • Core/Insulation Crimp: See Terminal Repair Kit
  • Release Tool/Test Probe: See Terminal Repair Kit

Fuel Injector 5 (LCS)

Pin

Wire

Circuit

Function

1

0.5 PK

4805

Fuel Injector 5 Control

2

0.5 TN

4905

Ignition 1 Voltage

Fuel Injector 5 (LY7)


Object Number: 1527729  Size: CH

Connector Part Information

  • OEM: 15419715
  • Service: 15306318
  • Description: 2-Way F GT 150 Series Sealed (GY)

Terminal Part Information

  • Terminal/Tray: See Terminal Repair Kit
  • Core/Insulation Crimp: See Terminal Repair Kit
  • Release Tool/Test Probe: See Terminal Repair Kit

Fuel Injector 5 (LY7)

Pin

Wire

Circuit

Function

A

0.5 PK/BK

5291

Ignition 1 Voltage

B

0.5 TN/WH

845

Fuel Injector 5 Control

Fuel Injector 5 (LZ4)


Object Number: 1273820  Size: CH

Connector Part Information

  • OEM: 15355226
  • Service: 89046636
  • Description: 2-Way F Metri-Pack 150 Tangless Series Sealed (BK)

Terminal Part Information

  • Terminal/Tray: 12176636/19
  • Core/Insulation Crimp: C/1
  • Release Tool/Test Probe: 12094429/J-35616-2A (GY)

Fuel Injector 5 (LZ4)

Pin

Wire

Circuit

Function

A

0.5 PK

139

Ignition 1 Voltage

B

0.5 TN/WH

845

Fuel Injector 5 Control

Fuel Injector 6 (LCS)


Object Number: 784092  Size: CH

Connector Part Information

  • OEM: 1928403874
  • Service: See Catalog
  • Description: 2-Way F Kompakt 280 Sealed (BK)

Terminal Part Information

  • Terminal/Tray: See Terminal Repair Kit
  • Core/Insulation Crimp: See Terminal Repair Kit
  • Release Tool/Test Probe: See Terminal Repair Kit

Fuel Injector 6 (LCS)

Pin

Wire

Circuit

Function

1

0.5 PK

4806

Fuel Injector 6 Control

2

0.5 TN

4906

Ignition 1 Voltage

Fuel Injector 6 (LY7)


Object Number: 1527729  Size: CH

Connector Part Information

  • OEM: 15419715
  • Service: 15306318
  • Description: 2-Way F GT 150 Series Sealed (GY)

Terminal Part Information

  • Terminal/Tray: See Terminal Repair Kit
  • Core/Insulation Crimp: See Terminal Repair Kit
  • Release Tool/Test Probe: See Terminal Repair Kit

Fuel Injector 6 (LY7)

Pin

Wire

Circuit

Function

A

0.5 PK/BK

5292

Ignition 1 Voltage

B

0.5 YE/BK

846

Fuel Injector 6 Control

Fuel Injector 6 (LZ4)


Object Number: 1273820  Size: CH

Connector Part Information

  • OEM: 15355226
  • Service: 89046636
  • Description: 2-Way F Metri-Pack 150 Tangless Series Sealed (BK)

Terminal Part Information

  • Terminal/Tray: 12176636/19
  • Core/Insulation Crimp: C/1
  • Release Tool/Test Probe: 12094429/J-35616-2A (GY)

Fuel Injector 6 (LZ4)

Pin

Wire

Circuit

Function

A

0.5 PK

139

Ignition 1 Voltage

B

0.5 YE/BK

846

Fuel Injector 6 Control

Fuel Level Sensor - Primary/Fuel Pump Motor


Object Number: 1962075  Size: CH

Connector Part Information

  • OEM: 13527865
  • Service: See Catalog
  • Description: 4-Way F GT 280 Series, Sealed (NA)

Terminal Part Information

  • Pins: 1, 2
  • Terminal/Tray: 15304720/19
  • Core/Insulation Crimp: 4/5
  • Release Tool/Test Probe: 15315247/J-35616-4A (PU)
  • Pins: 3, 4
  • Terminal/Tray: 15304719/19
  • Core/Insulation Crimp: E/5
  • Release Tool/Test Probe: 15315247/J-35616-4A (PU)

Fuel Level Sensor - Primary/Fuel Pump Motor

Pin

Wire

Circuit

Function

1

2 GY

120

Fuel Pump Supply Voltage

2

2 PK

1580

Fuel Pump Motor Low Reference

3

0.5 BN/WH

6281

Low Reference

4

0.5 D-BU

1936

Fuel Level Sensor Signal - Secondary

Fuel Level Sensor - Secondary


Object Number: 1962075  Size: CH

Connector Part Information

  • OEM: 13527865
  • Service: See Catalog
  • Description: 4-Way F GT 280 Series, Sealed (NA)

Terminal Part Information

  • Terminal/Tray: 15304719/19
  • Core/Insulation Crimp: E/5
  • Release Tool/Test Probe: 15315247/J-35616-4A (PU)

Fuel Level Sensor - Secondary

Pin

Wire

Circuit

Function

1-2

--

--

Not Used

3

0.5 BN/WH

6281

Low Reference

4

0.5 L-BU

1937

Secondary Fuel Level Sensor Signal

Fuel Pressure Sensor


Object Number: 1860942  Size: CH

Connector Part Information

  • OEM: 13511131
  • Service: See Catalog
  • Description: 3-Way F GT 150 Series, Sealed (BK)

Terminal Part Information

  • Terminal/Tray: 12191819/8
  • Core/Insulation Crimp: E/A
  • Release Tool/Test Probe: 15315247/J-35616-2A (GY)

Fuel Pressure Sensor

Pin

Wire

Circuit

Function

1

0.5 YE

2918

FRP Sensor Signal

2

0.5 OG/BK

2919

Low Reference

3

0.5 TN

2917

5-Volt Reference

Fuel Pump Flow Control Module


Object Number: 1858233  Size: CH

Connector Part Information

  • OEM: 15491306
  • Service: See Catalog
  • Description: 47-Way F ASG Series Sealed (BK)

Terminal Part Information

  • Pins: 1, 16, 32, 47
  • Terminal/Tray: 15476168/5
  • Core/Insulation Crimp: F/3
  • Release Tool/Test Probe: 15315247/J-35616-42 (RD)
  • Pins: 5-7, 10, 13, 15, 17, 21-22, 36, 44
  • Terminal/Tray: 7116-3703-02/14
  • Core/Insulation Crimp: 9/9
  • Release Tool/Test Probe: J-38125-215A/J-35616-64B (L-BU)

Fuel Pump Flow Control Module

Pin

Wire

Circuit

Function

1

2 BK

550

Ground

2-4

--

--

Not Used

5

0.5 OG/BK

2919

Low Reference

6

0.5 TN

2501

High Speed GMLAN Serial Data Bus-

7

0.5 TN/BK

2500

High Speed GMLAN Serial Data Bus+

8-9

--

--

Not Used

10

0.5 YE

2918

Fuel Line Pressure Sensor Signal

11-12

--

--

Not Used

13

0.5 D-GN/WH

465

Fuel Pump Relay Control

14

--

--

Not Used

15

0.5 PK

339

Ignition 1 Voltage

16

2 PK

1580

Fuel Pump Motor Low Reference

17

0.35 L-BU

5986

Serial Data Communication Enable

18-20

--

--

Not Used

21

0.5 TN

2501

High Speed GMLAN Serial Data Bus-

22

0.5 TN/BK

2500

High Speed GMLAN Serial Data Bus+

23-31

--

--

Not Used

32

2 RD/WH

2940

Battery Positive Voltage

33-35

--

--

Not Used

36

0.5 TN

2917

5-Volt Reference

37-43

--

--

Not Used

44

0.5 BK

701

Drain Wire

45-46

--

--

Not Used

47

2 GY

120

Fuel Pump Supply Voltage

Fuel Rail Pressure (FRP) Sensor (LCS)


Object Number: 1962078  Size: CH

Connector Part Information

  • OEM: 13511996
  • Service: 19149288
  • Description: 3-Way F GT 150 Series Sealed (GY)

Terminal Part Information

  • Terminal/Tray: 12191819/8
  • Core/Insulation Crimp: E/A
  • Release Tool/Test Probe: 15315247/J-35616-2A (GY)

Fuel Rail Pressure (FRP) Sensor (LCS)

Pin

Wire

Circuit

Function

1

0.5 TN

808

Low Reference

2

0.5 YE

2918

Fuel Rail Pressure Sensor Signal

3

0.5 GY

598

5-Volt Reference

Fuel Tank Pressure (FTP) Sensor


Object Number: 1962078  Size: CH

Connector Part Information

  • OEM: 13511996
  • Service: 19149288
  • Description: 3-Way F GT 150 Series Sealed (GY)

Terminal Part Information

  • Terminal/Tray: 12191819/8
  • Core/Insulation Crimp: E/A
  • Release Tool/Test Probe: 15315247/J-35616-2A (GY)

Fuel Tank Pressure (FTP) Sensor

Pin

Wire

Circuit

Function

1

0.5 D-GN

890

Fuel Tank Pressure Sensor Signal

2

0.5 BN/WH

6281

Low Reference (-HP5)

2

0.5 D-GN

954

Low Reference (HP5)

3

0.5 BN/WH

6283

5-Volt Reference 1

Garage Door Opener (GDO) (UG1)


Object Number: 406848  Size: CH

Connector Part Information

  • OEM: 12162335
  • Service: 12162335
  • Description: 3-Way F P/C Series (NA)

Terminal Part Information

  • Terminal/Tray: 08-50-0115/20
  • Core/Insulation Crimp: E/C
  • Release Tool/Test Probe: J-38125-213/J-35616-4A (PU)

Garage Door Opener (GDO) (UG1)

Pin

Wire

Circuit

Function

1

0.5 RD/WH

1940

Battery Positive Voltage

2

0.35 BN/WH

230

I/P Lamps Dimming Control

3

0.5 BK

650

Ground

Generator X1(LE5/LY7/LZ4)


Object Number: 1522871  Size: CH

Connector Part Information

  • OEM: 12186308
  • Service: 12186308
  • Description: 2-Way F JPT, Sealed (BK)

Terminal Part Information

  • Terminal/Tray: 4-964286-1/16
  • Core/Insulation Crimp: E/1
  • Release Tool/Test Probe: 12093647/J-35616-4A (PU)

Generator X1(LE5/LY7/LZ4)

Pin

Wire

Circuit

Function

1

0.5 OG

225

Generator Turn On Signal

2

0.5 GY

23

Generator Field Duty Cycle Signal

Generator X2 (LE5/LY7/LZ4)

Connector Part Information

  • OEM: 12146365
  • Core/Insulation Crimp: N/A
  • Description: Ring Terminal

Generator X2 (LE5/LY7/LZ4)

Pin

Wire

Circuit

Function

1

19 RD/BK

2

Battery Positive Voltage

Generator Battery Assembly X1 (HP7)

Connector Part Information

  • OEM: 12191019
  • Core/Insulation Crimp: N/A
  • Description: Ring Terminal

Generator Battery Assembly X1 (HP7)

Pin

Wire

Circuit

Function

U

30 OG

42

42 Volt Positive Voltage

Generator Battery Assembly X2 (HP7)

Connector Part Information

  • OEM: 12191019
  • Core/Insulation Crimp: N/A
  • Description: Ring Terminal

Generator Battery Assembly X2 (HP7)

Pin

Wire

Circuit

Function

A

Bare

1705

42 Volt Positive Voltage Shield

Generator Battery 1 X1 (HP7)

Connector Part Information

  • OEM: 12191019
  • Core/Insulation Crimp: N/A
  • Description: Ring Terminal

Generator Battery 1 X1 (HP7)

Pin

Wire

Circuit

Function

-

19 RD

--

Generator Battery Ground

0.5 D-GN

--

Generator Battery 1 Voltage Sensor Ground

Generator Battery 1 X2 (HP7)

Connector Part Information

  • OEM: 12191019
  • Core/Insulation Crimp: N/A
  • Description: Ring Terminal

Generator Battery 1 X2 (HP7)

Pin

Wire

Circuit

Function

+

D-GN

--

Generator Battery 1 Voltage Sensor Voltage

19 BK

--

Generator Battery Voltage

Generator Battery 2 X1 (HP7)

Connector Part Information

  • OEM: 12191019
  • Core/Insulation Crimp: N/A
  • Description: Ring Terminal

Generator Battery 2 X1 (HP7)

Pin

Wire

Circuit

Function

-

19 RD

--

Generator Battery Voltage

0.5 WH

--

Generator Battery Voltage

Generator Battery 2 X2 (HP7)

Connector Part Information

  • OEM: 12191019
  • Core/Insulation Crimp: N/A
  • Description: Ring Terminal

Generator Battery 2 X2 (HP7)

Pin

Wire

Circuit

Function

+

0.5 WH

--

Generator Battery Voltage Sensor Voltage

19 RD

--

Generator Battery Voltage

Generator Battery 3 X1 (HP7)

Connector Part Information

  • OEM: 12191019
  • Core/Insulation Crimp: N/A
  • Description: Ring Terminal

Generator Battery 3 X1 (HP7)

Pin

Wire

Circuit

Function

-

19 RD

--

Generator Battery Voltage

0.5 RD

--

Generator Battery Voltage

Generator Battery 3 X2 (HP7)

Connector Part Information

  • OEM: 12191019
  • Core/Insulation Crimp: N/A
  • Description: Ring Terminal

Generator Battery 3 X2 (HP7)

Pin

Wire

Circuit

Function

+

0.5 RD

--

Generator Battery VoltageSensor Voltage

19 RD

--

Generator Battery Voltage

Generator Battery Assembly Disconnect Switch (HP7)

Connector Part Information

  • OEM: 12191019
  • Core/Insulation Crimp: N/A
  • Description: Ring Terminal

Generator Battery Assembly Disconnect Switch (HP7)

Pin

Wire

Circuit

Function

COM

WH/RD

--

36 Volt Battery Positive

COM

YE

--

Main Contactor Relay Control

NO

BN

--

Generator Battery Disconnect Signal

NC

WH/BK

--

Ground

NC

YE/WH

--

Main Contactor Relay Ground

NO

RD

--

Main Contactor Relay Switch

Generator Battery Disconnect Control Module X1 (HP7)


Object Number: 603062  Size: CH

Connector Part Information

  • OEM: 15324448
  • Service: 15324448
  • Description: 20-Way F Micro-Fit (BK)

Terminal Part Information

  • Terminal/Tray: See Terminal Repair Kit
  • Core/Insulation Crimp: See Terminal Repair Kit
  • Release Tool/Test Probe: See Terminal Repair Kit

Generator Battery Disconnect Control Module X1 (HP7)

Pin

Wire

Circuit

Function

1

0.5 BK

--

Battery Ground

2

0.5 WH

--

Battery 2 Voltage

3

0.5 BN

--

Generator Battery Temperature Sensor 1A Control

4

0.5 WH/BN

--

Low Reference

5

0.5 GY

--

Generator Battery Temperature Sensor 1B Control

6

0.5 WH/GY

--

Low Reference

7

0.5 PU

--

Generator Battery Temperature Sensor 2A Control

8

0.5 WH/PU

--

Low Reference

9

0.5 WH/RD

--

5-Volt Reference

10

0.5 BK/RD

--

Current Sensor Signal (Low Range)

11

0.5 D-GN

--

Battery 1 Voltage

12

0.5 RD

--

Battery 3 Voltage

13

0.5 YE

--

Generator Battery Temperature Sensor 2B Control

14

0.5 WH/YE

--

Low Reference

15

0.5 OG

--

Generator Battery Temperature Sensor 3A Control

16

0.5 WH/OG

--

Low Reference

17

0.5 D-BU

--

Generator Battery Temperature Sensor 3B Control

18

0.5 WH/BU

--

Low Reference

19

0.5 BK/WH

--

Low Reference

20

0.5 WH/GN

--

Current Sensor Signal (Low Range)

Generator Battery Disconnect Control Module X2 (HP7)


Object Number: 1911014  Size: CH

Connector Part Information

  • OEM: 43025-1600
  • Service: See Catalog
  • Description: 16-Way F Micro-Fit 3.0 Series BK)

Terminal Part Information

  • Terminal/Tray: See Terminal Repair Kit
  • Core/Insulation Crimp: See Terminal Repair Kit
  • Release Tool/Test Probe: See Terminal Repair Kit

Generator Battery Disconnect Control Module X2 (HP7)

Pin

Wire

Circuit

Function

1

0.5 WH/RD

--

Link Voltage

2

0.5 RD

--

Power

3

0.5 TN

--

Fan Control

4

0.5 BK

--

Ground

5

0.5 BN

--

Contactor Low Side PWM

6

0.5 D-BU

2500

High Speed GMLAN Serial Data Bus +

7

0.5 GY

2500

High Speed GMLAN Serial Data Bus +

8

0.5 RD

1540

Battery Positive Voltage

9

0.5 WH/YE

--

Disconnect Switch Control

10

0.5 RD

--

Contactor Supply Voltage

11

0.5 OG

--

Fan Tach Feedback

12

0.5 D-GN

1250

Ground

13

0.5 WH/GN

1250

Ground

14

0.5 WH/BU

2501

High Speed GMLAN Serial Data Bus -

15

0.5 WH/GY

2501

High Speed GMLAN Serial Data Bus -

16

0.5 PU

239

Ignition 1 Voltage

Generator Battery Main Contactor Relay X1 (HP7)

Connector Part Information

  • OEM: 12191019
  • Core/Insulation Crimp: N/A
  • Description: Ring Terminal

Generator Battery Main Contactor Relay X1 (HP7)

Pin

Wire

Circuit

Function

+

WH/RD

--

Main Contactor Relay Switch Voltage

Generator Battery Main Contactor Relay X2 (HP7)

Connector Part Information

  • OEM: 12191019
  • Core/Insulation Crimp: N/A
  • Description: Ring Terminal

Generator Battery Main Contactor Relay X2 (HP7)

Pin

Wire

Circuit

Function

+

WH/RD

--

Main Contactor Relay Switch Voltage

Generator Battery Main Contactor Relay X3 (HP7)

Connector Part Information

  • OEM: 12191019
  • Core/Insulation Crimp: N/A
  • Description: Ring Terminal

Generator Battery Main Contactor Relay X3 (HP7)

Pin

Wire

Circuit

Function

A

RD

--

Main Contactor Relay Supply Voltage

B

YE

--

Main Contactor Relay Ground

Generator Battery Temperature Sensor 1A/B (HP7)


Object Number: 287981  Size: CH

Connector Part Information

  • OEM: 12092162
  • Service: See Catalog
  • Description: 4-Way F Metri-Pack 150 Series (BK)

Terminal Part Information

  • Terminal/Tray: See Terminal Repair Kit
  • Core/Insulation Crimp: See Terminal Repair Kit
  • Release Tool/Test Probe: See Terminal Repair Kit

Generator Battery Temperature Sensor 1A/B (HP7)

Pin

Wire

Circuit

Function

A

0.5 BN

--

Generator Battery Temperature Sensor 1A Control

B

0.5 TN/WH

--

Low Reference

C

0.5 GY

--

Generator Battery Temperature Sensor 1B Control

D

0.5 WH/GY

--

Low Reference

Generator Battery Temperature Sensor 2A/B (HP7)


Object Number: 287981  Size: CH

Connector Part Information

  • OEM: 12092162
  • Service: See Catalog
  • Description: 4-Way F Metri-Pack 150 Series (BK)

Terminal Part Information

  • Terminal/Tray: See Terminal Repair Kit
  • Core/Insulation Crimp: See Terminal Repair Kit
  • Release Tool/Test Probe: See Terminal Repair Kit

Generator Battery Temperature Sensor 2A/B (HP7)

Pin

Wire

Circuit

Function

A

0.5 PU

--

Generator Battery Temperature Sensor 2A Control

B

0.5 WH/PU

--

Low Reference

C

0.5 YE

--

Generator Battery Temperature Sensor 2B Control

D

0.5 WH/YE

--

Low Reference

Generator Battery Temperature Sensor 3A/B (HP7)


Object Number: 287981  Size: CH

Connector Part Information

  • OEM: 12092162
  • Service: See Catalog
  • Description: 4-Way F Metri-Pack 150 Series (BK)

Terminal Part Information

  • Terminal/Tray: See Terminal Repair Kit
  • Core/Insulation Crimp: See Terminal Repair Kit
  • Release Tool/Test Probe: See Terminal Repair Kit

Generator Battery Temperature Sensor 3A/B (HP7)

Pin

Wire

Circuit

Function

A

0.5 OG

--

Generator Battery Temperature Sensor 3A Control

B

0.5 WH/OG

--

Low Reference

C

0.5 D-BU

--

Generator Battery Temperature Sensor 3B Control

D

0.5 WH/BU

--

Low Reference

Generator Battery Vent Fan (HP7)


Object Number: 1911012  Size: CH

Connector Part Information

  • OEM: 43025-0400
  • Service: See Catalog
  • Description: 4-Way F Micro-Fit 3.0 Series (WH)

Terminal Part Information

  • Terminal/Tray: See Terminal Repair Kit
  • Core/Insulation Crimp: See Terminal Repair Kit
  • Release Tool/Test Probe: See Terminal Repair Kit

Generator Battery Vent Fan (HP7)

Pin

Wire

Circuit

Function

1

0.5 RD

--

Power

2

0.5 BK

--

Fan Tachometer

3

0.5 TN

--

Fan Control

4

0.5 OG

--

Ground

Headlamp - Left High Beam


Object Number: 684797  Size: CH

Connector Part Information

  • OEM: 12059183
  • Service: 12109898
  • Description: 2-Way F Metri-Pack 280 Series Sealed (BK)

Terminal Part Information

  • Pins: See Terminal Repair Kit
  • Terminal/Tray: See Terminal Repair Kit
  • Core/Insulation Crimp: See Terminal Repair Kit
  • Release Tool/Test Probe: See Terminal Repair Kit

Headlamp - Left High Beam

Pin

Wire

Circuit

Function

A

0.5 BK/WH

711

Left Headlamp High Beam Supply Voltage

B

OG

150

Ground

Headlamp - Left Low Beam


Object Number: 1528375  Size: CH

Connector Part Information

  • OEM: 15393198
  • Service: See Catalog
  • Description: 2-Way F Metri-Pack 280 Series Sealed (GY)

Terminal Part Information

  • Pins: See Terminal Repair Kit
  • Terminal/Tray: See Terminal Repair Kit
  • Core/Insulation Crimp: See Terminal Repair Kit
  • Release Tool/Test Probe: See Terminal Repair Kit

Headlamp - Left Low Beam

Pin

Wire

Circuit

Function

A

0.5 BK/WH

711

Left Headlamp Low Beam Supply Voltage

B

0.5 L-GN

150

Ground

Headlamp - Right High Beam


Object Number: 684797  Size: CH

Connector Part Information

  • OEM: 12059183
  • Service: 12109898
  • Description: 2-Way F Metri-Pack 280 Series Sealed (BK)

Terminal Part Information

  • Pins: See Terminal Repair Kit
  • Terminal/Tray: See Terminal Repair Kit
  • Core/Insulation Crimp: See Terminal Repair Kit
  • Release Tool/Test Probe: See Terminal Repair Kit

Headlamp - Right High Beam

Pin

Wire

Circuit

Function

A

0.5 BK/WH

311

Right Headlamp High Beam Supply Voltage

B

0.5 OG

151

Ground

Headlamp - Right Low Beam


Object Number: 1528375  Size: CH

Connector Part Information

  • OEM: 15393198
  • Service: See Catalog
  • Description: 2-Way F Metri-Pack 280 Series Sealed (GY)

Terminal Part Information

  • Pins: See Terminal Repair Kit
  • Terminal/Tray: See Terminal Repair Kit
  • Core/Insulation Crimp: See Terminal Repair Kit
  • Release Tool/Test Probe: See Terminal Repair Kit

Headlamp - Right Low Beam

Pin

Wire

Circuit

Function

A

0.5 BK/WH

312

Right Headlamp Low Beam Supply Voltage

B

0.5 L-GN

151

Ground

Headlamp Switch


Object Number: 850856  Size: CH

Connector Part Information

  • OEM: 15394150
  • Service: 15394150
  • Description: 16-Way F Micro-Pack 064 Series (BK)

Terminal Part Information

  • Pins: 1, 4-9, 12-16
  • Terminal/Tray: 15359541/4
  • Core/Insulation Crimp: M/M
  • Release Tool/Test Probe: 15381651-2/J-35616-64B (L-BU)

Headlamp Switch

Pin

Wire

Circuit

Function

1

0.35 OG

192

Front Fog Lamp Switch Signal/Fog Lamps Enable (T37/T96)

2-3

--

--

Not Used

4

0.5 BK

350

Ground

5

0.5 BN

41

Ignition 3 Voltage (-HP5)

6

0.35 WH

103

Headlamp Switch Headlamps On Signal

7

0.35 L-BU

13

Headlamp Switch Park Lamps Signal

8

0.35 D-GN

306

Headlamp Switch Headlamps Off Signal

9

0.35 PU/WH

1491

LED Dimming Signal/LED Dimming Supply

10-11

--

--

Not Used

12

0.5 OG/WH

812

I/P Dimming Voltage Reference

13

0.5 D-GN

44

I/P Lamps Dimmer Switch Signal

14

0.35 YE

1491

Backlight Lamps Control

15

0.5 PK

1501

Underseat Amber Light Supply Voltage (C2B)

16

0.5 L-BU

1462

Underseat Blue Light Supply Voltage (C2B)

Heated Oxygen Sensor (HO2S) 1 (LAT/LE5)


Object Number: 518981  Size: CH

Connector Part Information

  • OEM: 12160482
  • Service: 12160482
  • Description: 4-Way F Metri-Pack 150 Series, Sealed (BK)

Terminal Part Information

  • Terminal/Tray: 12048074/2
  • Core/Insulation Crimp: E/1
  • Release Tool/Test Probe: 12094429/J-35616-14 (GN)

Heated Oxygen Sensor (HO2S) 1 (LAT/LE5)

Pin

Wire

Circuit

Function

A

0.5 TN/WH

3111

HO2S Low Reference Bank 1 Sensor 1

B

0.5 PU/WH

3110

HO2S Reference Voltage Bank 1 Sensor 1

C

0.5 GY/WH

3113

HO2S Heater Low Control - Bank 1 Sensor 1

D

0.8 PK/BK

5293

Powertrain Main Relay Fused Supply (3)

Heated Oxygen Sensor (HO2S) 2 (LAT/LE5)


Object Number: 628099  Size: CH

Connector Part Information

  • OEM: 12092840
  • Service: 12092840
  • Description: 4-Way M Metri-Pack 150 Series, Sealed (GY)

Terminal Part Information

  • Terminal/Tray: 12045773/2
  • Core/Insulation Crimp: E/1
  • Release Tool/Test Probe: 12094429/J-35616-3 (GY)

Heated Oxygen Sensor (HO2S) 2 (LAT/LE5)

Pin

Wire

Circuit

Function

A

0.5 TN/WH

3121

HO2S Low Signal Bank 1 Sensor 2

B

0.5 PU

3120

HO2S High Signal Bank 1 Sensor 2

C

--

--

Not Available

D

0.8 PK/BK

5293

Powertrain Main Relay Fused Supply (3)

E

0.5 GY/WH

3122

HO2S Heater Low Control - Bank 2 Sensor 1

Heated Oxygen Sensor (HO2S) Bank 1 Sensor 1 (LCS)


Object Number: 1523693  Size: CH

Connector Part Information

  • OEM: 1928404900
  • Service: 12176897
  • Description: 6-Way F Sealed (GY)

Terminal Part Information

  • Terminal/Tray: 12048074/2
  • Core/Insulation Crimp: E/1
  • Release Tool/Test Probe: 12094429/J-35616-14 (GN)

Heated Oxygen Sensor (HO2S) Bank 1 Sensor 1 (LCS)

Pin

Wire

Circuit

Function

1

0.5 WH

5279

Heated Oxygen Sensor Pump Current Bank 1 Sensor (1)

2

0.5 TN/WH

3111

Heated Oxygen Sensor Low Signal Bank 1 Sensor (1)

3

0.8 GY

3113

Heated Oxygen Sensor Heater Low Control Bank 1 Sensor (1)

4

0.8 PK/BK

5293

Powertrain Main Relay Fused Supply

5

0.5 L-GN

5278

Heated Oxygen Sensor Input Pump Current Bank 1 Sensor (1)

6

0.5 PU/WH

3110

Heated Oxygen Sensor High Signal Bank 1 Sensor (1)

Heated Oxygen Sensor (HO2S) Bank 1 Sensor 1 (LY7/LZ4)


Object Number: 474210  Size: CH

Connector Part Information

  • OEM: 12176897
  • Service: 12176897
  • Description: 4-Way F Metri-Pack 150 Sealed (GY)

Terminal Part Information

  • Terminal/Tray: 12048074/2
  • Core/Insulation Crimp: E/1
  • Release Tool/Test Probe: 12094429/J-35616-14 (GN)

Heated Oxygen Sensor (HO2S) Bank 1 Sensor 1 (LY7/LZ4)

Pin

Wire

Circuit

Function

A

0.5 TN/WH

3111

HO2S Low Reference Bank 1 Sensor 1

B

0.5 PU/WH

3110

HO2S Reference Voltage Bank 1 Sensor 1

C

0.5 GY/WH

3113

HO2S Heater Low Control - Bank 1 Sensor 1

D

0.8 PK/BK

5293

Powertrain Main Relay Fused Supply (3)

Heated Oxygen Sensor (HO2S) Bank 1 Sensor 2 (LCS/LY7)


Object Number: 628099  Size: CH

Connector Part Information

  • OEM: 12092840
  • Service: 12092840
  • Description: 4-Way M Metri-Pack 150 Series, Sealed (GY)

Terminal Part Information

  • Terminal/Tray: 12045773/2
  • Core/Insulation Crimp: E/1
  • Release Tool/Test Probe: 12094429/J-35616-3 (GY)

Heated Oxygen Sensor (HO2S) Bank 1 Sensor 2 (LCS/LY7)

Pin

Wire

Circuit

Function

A

0.5 TN/WH

3121

HO2S Low Signal Bank 1 Sensor 2

B

0.5 PU

3120

HO2S High Signal Bank 1 Sensor 2

C

--

--

Not Available

D

0.5 PK/BK

5293

Powertrain Main Relay Fused Supply (3)

E

0.5 GY/WH

3122

HO2S Heater Low Control - Bank 2 Sensor 1

Heated Oxygen Sensor (HO2S) Bank 1 Sensor 2 (LZ4)


Object Number: 806613  Size: CH

Connector Part Information

  • OEM: 15326423
  • Service: 15326423
  • Description: 4-Way M Metri-Pack 150 Series, Sealed (BK)

Terminal Part Information

  • Terminal/Tray: 12045773/2
  • Core/Insulation Crimp: E/1
  • Release Tool/Test Probe: 12094429/J-35616-3 (GY)

Heated Oxygen Sensor (HO2S) Bank 1 Sensor 2 (LZ4)

Pin

Wire

Circuit

Function

A

0.5 TN/WH

3121

HO2S Low Signal Bank 1 Sensor 2

B

0.5 PU

3120

HO2S High Signal Bank 1 Sensor 2

C

0.5 GY/WH

3122

HO2S Heater Low Control - Bank 2 Sensor 1

D

0.5 PK/BK

5293

Powertrain Main Relay Fused Supply (3)

Heated Oxygen Sensor (HO2S) Bank 2 Sensor 1 (LCS)


Object Number: 1523693  Size: CH

Connector Part Information

  • OEM: 1928404900
  • Service: 12176897
  • Description: 6-Way F Sealed (GY)

Terminal Part Information

  • Terminal/Tray: 12048074/2
  • Core/Insulation Crimp: E/1
  • Release Tool/Test Probe: 12094429/J-35616-14 (GN)

Heated Oxygen Sensor (HO2S) Bank 2 Sensor 1 (LCS)

Pin

Wire

Circuit

Function

1

0.5 PU/WH

5281

HO2S Low Reference Bank 2 Sensor 1

2

0.5 TN/WH

3211

HO2S Low Reference Bank 2 Sensor 1

3

0.5 L-GN

3212

HO2S Heater Low Control - Bank 2 Sensor 1

4

0.5 PK/BK

5293

Powertrain Main Relay Fused Supply

5

0.5 OG

5280

HO2S Input Pump Current Bank 2 Sensor 1

6

0.5 PU/WH

3210

HO2S Reference Voltage Bank 2 Sensor 1

Heated Oxygen Sensor (HO2S) Bank 2 Sensor 1 (LY7/LZ4)


Object Number: 474210  Size: CH

Connector Part Information

  • OEM: 12176897
  • Service: 12176897
  • Description: 4-Way F Metri-Pack 150 Sealed (GY)

Terminal Part Information

  • Terminal/Tray: 12048074/2
  • Core/Insulation Crimp: E/1
  • Release Tool/Test Probe: 12094429/J-35616-14 (GN)

Heated Oxygen Sensor (HO2S) Bank 2 Sensor 1 (LY7/LZ4)

Pin

Wire

Circuit

Function

A

0.5 TN/WH

3211

HO2S Low Reference Bank 2 Sensor 1

B

0.5 PU/WH

3210

HO2S Reference Voltage Bank 2 Sensor 1

C

0.5 L-GN

3212

HO2S Heater Low Control - Bank 2 Sensor 1

D

0.5 PK/BK

5293

Powertrain Main Relay Fused Supply (3)

Heated Oxygen Sensor (HO2S) Bank 2 Sensor 2 (LCS/LY7)


Object Number: 628099  Size: CH

Connector Part Information

  • OEM: 12092839 (LCS)
  • OEM: 12092840 (LY7)
  • Service: 12092840
  • Description: 4-Way M Metri-Pack 150 Series, Sealed (GY)

Terminal Part Information

  • Terminal/Tray: 12045773/2
  • Core/Insulation Crimp: E/1
  • Release Tool/Test Probe: 12094429/J-35616-3 (GY)

Heated Oxygen Sensor (HO2S) Bank 2 Sensor 2 (LCS/LY7)

Pin

Wire

Circuit

Function

A

0.5 TN

3221

HO2S Low Signal Bank 2 Sensor 2

B

0.5 PU

3220

HO2S High Signal Bank 2 Sensor 2

C

--

--

Not Available

D

0.5 PK/BK

5293

Powertrain Main Relay Fused Supply

E

0.5 OG/WH

3223

HO2S Heater Low Control Bank 2 Sensor 2

Heated Oxygen Sensor (HO2S) Bank 2 Sensor 2 (LZ4)


Object Number: 806613  Size: CH

Connector Part Information

  • OEM: 15326423
  • Service: 15326423
  • Description: 4-Way M Metri-Pack 150 Series, Sealed (BK)

Terminal Part Information

  • Terminal/Tray: 12045773/2
  • Core/Insulation Crimp: E/1
  • Release Tool/Test Probe: 12094429/J-35616-3 (GY)

Heated Oxygen Sensor (HO2S) Bank 2 Sensor 2 (LZ4)

Pin

Wire

Circuit

Function

A

0.5 TN

3221

HO2S Low Signal Bank 2 Sensor 2

B

0.5 PU

3220

HO2S High Signal Bank 2 Sensor 2

C

0.5 OG/WH

3223

HO2S Heater Low Control Bank 2 Sensor 2

D

0.8 PK/BK

5293

Powertrain Main Relay Fused Supply (3)

Heated Seat Control Module - Driver (KA1)


Object Number: 1962072  Size: CH

Connector Part Information

  • OEM: MG651056
  • Service: 88952443
  • Description: 10-Way F 090 II Series (BK)

Terminal Part Information

  • Terminal/Tray: See Terminal Repair Kit
  • Core/Insulation Crimp: See Terminal Repair Kit
  • Release Tool/Test Probe: See Terminal Repair Kit

Heated Seat Control Module - Driver (KA1)

Pin

Wire

Circuit

Function

1

0.35 YE

2079

Heated Seat Cushion Temperature Sensor Signal

2

0.35 D-BU

6172

Driver Heated Seat Switch Signal

3

1 RD

2077

Heated Seat Cushion Element control

4

1 RD/WH

640

Battery Positive Voltage

5

1 BK

450

Ground

6

0.35 PK

2080

Low Reference

7

0.35 D-GN

1661

Driver Heated Seat High Temperature Indicator Control

8

0.35 WH/BK

6177

Driver Heated Seat Medium Temperature Indicator Control

9

0.35 L-GN

1662

Driver Heated Seat Low Temperature Indicator Control

10

0.35 BN

41

Ignition 3 Voltage

Heated Seat Control Module - Passenger (KA1)


Object Number: 1962072  Size: CH

Connector Part Information

  • OEM: MG651056
  • Service: 88952443
  • Description: 10-Way F 090 II Series (BK)

Terminal Part Information

  • Terminal/Tray: See Terminal Repair Kit
  • Core/Insulation Crimp: See Terminal Repair Kit
  • Release Tool/Test Probe: See Terminal Repair Kit

Heated Seat Control Module - Passenger (KA1)

Pin

Wire

Circuit

Function

1

0.35 YE

2434

Heated Seat Element - Passenger Cushion Temperature Sensor Signal

2

0.35 L-BU

6180

Passenger Heated Seat Switch Signal

3

1 RD

2479

Heated Seat Cushion Element Control

4

1 RD/WH

640

Battery Positive Voltage

5

1 BK

650

Ground

6

0.35 PK

2435

Low Reference

7

0.35 D-GN

1685

Passenger Heated Seat High Temperature Indicator Control

8

0.35 WH/BK

6185

Passenger Heated Seat Medium Temperature Indicator Control

9

0.35 L-BU

1686

Passenger Heated Seat Low Temperature Indicator Control

10

0.35BN

41

Ignition 3 Voltage

Heated Seat Element - Driver X1 (KA1)


Object Number: 1701011  Size: CH

Connector Part Information

  • OEM: MG620397
  • Service: See Catalog
  • Description: 4-Way F Micro-64 Unsealed (WH)

Terminal Part Information

  • Terminal/Tray: 15359541/4
  • Core/Insulation Crimp: M/M
  • Release Tool/Test Probe: 15381651-2/J-35616-64B (L-BU)

Heated Seat Element - Driver X1 (KA1)

Pin

Wire

Circuit

Function

1

1 YE

2077

Heated Seat Cushion Element Supply Voltage

2

1 BK

450

Ground

2

0.35 BK/RD

2079

Heated Seat Cushion Temperature Sensor Signal

4

0.35 BK/RD

2080

Low Reference

Heated Seat Element - Driver Back X2 (KA1)


Object Number: 1701011  Size: CH

Connector Part Information

  • OEM: MG620397
  • Service: See Catalog
  • Description: 4-Way F Micro-64 Unsealed (GN)

Terminal Part Information

  • Terminal/Tray: 15359541/4
  • Core/Insulation Crimp: M/M
  • Release Tool/Test Probe: 15381651-2/J-35616-64B (L-BU)

Heated Seat Back Element - Driver X2 (KA1)

Pin

Wire

Circuit

Function

1

1 PK

2078

Heated Seat Cushion Element Control

2

0.35 BK/RD

2080

Low Reference

3

0.35 BK/RD

2079

Heated Seat Cushion Temperature Sensor Signal

4

1 YE

2077

Heated Seat Cushion Element Supply Voltage

Heated Seat Element - Passenger X1 (KA1)


Object Number: 1701011  Size: CH

Connector Part Information

  • OEM: MG620397
  • Service: See Catalog
  • Description: 4-Way F Micro-64 Unsealed (WH)

Terminal Part Information

  • Terminal/Tray: 15359541/4
  • Core/Insulation Crimp: M/M
  • Release Tool/Test Probe: 15381651-2/J-35616-64B (L-BU)

Heated Seat Element - Passenger X1 (KA1)

Pin

Wire

Circuit

Function

1

1 YE

2479

Passenger Heated Seat Back Element Supply Voltage

2

1 BK

450

Ground

3

0.35 BK/RD

2434

Heated Seat Cushion Temperature Sensor Signal

4

0.35 BK/RD

2435

Low Reference

Heated Seat Back Element - Passenger X2 (KA1)


Object Number: 1701011  Size: CH

Connector Part Information

  • OEM: MG620397
  • Service: See Catalog
  • Description: 4-Way F Micro-64 Unsealed (GN)

Terminal Part Information

  • Terminal/Tray: 15359541/4
  • Core/Insulation Crimp: M/M
  • Release Tool/Test Probe: 15381651-2/J-35616-64B (L-BU)

Heated Seat Back Element - Passenger X2 (KA1)

Pin

Wire

Circuit

Function

1

1 RD

2481

Passenger Heated Seat Element Supply Voltage

2

0.35 BK/RD

2435

Low Reference

3

0.35 BK/RD

2434

Heated Seat Cushion Temperature Sensor Signal

4

1 YE

2479

Passenger Heated Seat Back Element Supply Voltage

Heated Seat Switch - Driver (KA1)


Object Number: 1376707  Size: CH

Connector Part Information

  • OEM: 15406141
  • Service: 88988315
  • Description: 8-Way F Micro-64 Unsealed (BK)

Terminal Part Information

  • Terminal/Tray: 15359541/4
  • Core/Insulation Crimp: M/M
  • Release Tool/Test Probe: 15381651-2/J-35616-64B (L-BU)

Heated Seat Switch - Driver (KA1)

Pin

Wire

Circuit

Function

1

0.35 YE

1491

Backlight Lamps Control

2

0.35 BK

450

Ground

3

0.35 BN

41

Ignition 3 Voltage

4

0.35 D-BU

6172

Driver Heated Seat Switch Back Cushion Signal

5

0.35 PU/WH

1382

LED Dimming Signal/LED Dimming Supply

6

0.35 L-BU

1662

Driver Heated Seat Low Temperature Indicator Control

7

0.35 WH/BK

6177

Driver Heated Seat Medium Indicator Control

8

0.35 D-GN

1661

Driver Heated Seat High Temperature Indicator Control

Heated Seat Switch - Passenger (KA1)


Object Number: 1376707  Size: CH

Connector Part Information

  • OEM: 15406141
  • Service: 88988315
  • Description: 8-Way F Micro-64 Unsealed (BK)

Terminal Part Information

  • Terminal/Tray: 15359541/4
  • Core/Insulation Crimp: M/M
  • Release Tool/Test Probe: 15381651-2/J-35616-64B (L-BU)

Heated Seat Switch - Passenger (KA1)

Pin

Wire

Circuit

Function

1

0.35 YE

1491

Backlight Lamps Control

2

0.35 BK

450

Ground

3

0.35 BN

41

Ignition 3 Voltage

4

0.35 D-BU

6180

Passenger Heated Seat Switch Back Cushion Signal

5

0.35 PU/WH

1382

LED Dimming Signal/LED Dimming Supply

6

0.35 YE

1685

Passenger Heated Seat HighTemperature Indicator Control

7

0.35 WH/BK

6185

Passenger Heated Seat Medium Indicator Control

8

0.35 TN

1686

Passenger Heated Seat Low Temperature Indicator Control

Heated Washer Nozzle - Left (XA7)


Object Number: 1962074  Size: CH

Connector Part Information

  • OEM: 1-963658-4
  • Service: See Catalog
  • Description: 2-Way F Sealed (BK)

Terminal Part Information

  • Terminal/Tray: See Terminal Repair Kit
  • Core/Insulation Crimp: See Terminal Repair Kit
  • Release Tool/Test Probe: See Terminal Repair Kit

Heated Washer Nozzle - Left (XA7)

Pin

Wire

Circuit

Function

1

0.5 OG

267

Heated Washer Nozzle Supply Voltage

2

0.5 BK

450

Ground

Heated Washer Nozzle - Right (XA7)


Object Number: 1962074  Size: CH

Connector Part Information

  • OEM: 1-963658-4
  • Service: See Catalog
  • Description: 2-Way F Sealed (BK)

Terminal Part Information

  • Terminal/Tray: See Terminal Repair Kit
  • Core/Insulation Crimp: See Terminal Repair Kit
  • Release Tool/Test Probe: See Terminal Repair Kit

Heated Washer Nozzle - Right (XA7)

Pin

Wire

Circuit

Function

1

0.5 OG

267

Heated Washer Nozzle Supply Voltage

2

0.5 BK

450

Ground

Heater Coolant Pump (HP5)


Object Number: 1527729  Size: CH

Connector Part Information

  • OEM: 15419715
  • Service: 88988313
  • Description: 2-Way F GT 150 Series Sealed (GY)

Terminal Part Information

  • Terminal/Tray: 12191819/8
  • Core/Insulation Crimp: 2/A
  • Release Tool/Test Probe: 15315247/J-35616-2A (GY)

Heater Coolant Pump (HP5

Pin

Wire

Circuit

Function

A

0.5 L-GN/BK

6554

Water Pump Supply Voltage

B

0.5 BK

250

Ground

Heater Coolant Pump (HP7)


Object Number: 1527729  Size: CH

Connector Part Information

  • OEM: 15419715
  • Service: 88988313
  • Description: 2-Way F GT 150 Series Sealed (GY)

Terminal Part Information

  • Terminal/Tray: 12191819/8
  • Core/Insulation Crimp: 2/A
  • Release Tool/Test Probe: 15315247/J-35616-2A (GY)

Heater Coolant Pump (HP7)

Pin

Wire

Circuit

Function

A

0.5 RD/WH

2940

Battery Positive Voltage

B

0.8 TN

2022

Coolant Pump Control

High Pressure Fuel Pump (LCS)


Object Number: 784092  Size: CH

Connector Part Information

  • OEM: 15339756
  • Service: See Catalog
  • Description: 2-Way F Kompakt 2.8 Series, Sealed (BK)

Terminal Part Information

  • Terminal/Tray: 962885-5/15
  • Core/Insulation Crimp: N/A
  • Release Tool/Test Probe: 12094429/J-35616-64B (L-BU)

High Pressure Fuel Pump (LCS)

Pin

Wire Color

Circuit

Function

1

1 PU

7300

High Pressure Fuel Pump Actuator Low Control

2

1 YE

7301

High Pressure Fuel Pump Actuator High Control

High Voltage Circuit Impact Detection Sensor - Front (HP5)


Object Number: 1974976  Size: CH

Connector Part Information

  • OEM: 1241905-8
  • Service: See Catalog
  • Description: 2-Way F 0.64 MQS Series, Sealed (BK)

Terminal Part Information

  • Terminal/Tray: 962885-5/15
  • Core/Insulation Crimp: N/A
  • Release Tool/Test Probe: 12094429/J-35616-64B (L-BU)

High Voltage Circuit Impact Detection Sensor - Front (HP5)

Pin

Wire Color

Circuit

Function

1

0.5 D-BU

3427

High Voltage Circuit Impact Detection Sensor Signal

2

0.5 L-BU

3426

Low Reference

High Voltage Circuit Impact Detection Sensor - Rear (HP5)


Object Number: 1974976  Size: CH

Connector Part Information

  • OEM: 1241905-8
  • Service: See Catalog
  • Description: 2-Way F 0.64 MQS Series, Sealed (BK)

Terminal Part Information

  • Terminal/Tray: 962885-5/15
  • Core/Insulation Crimp: N/A
  • Release Tool/Test Probe: 12094429/J-35616-64B (L-BU)

High Voltage Circuit Impact Detection Sensor - Rear (HP5)

Pin

Wire Color

Circuit

Function

1

0.5 D-GN

3423

High Voltage Circuit Impact Detection Sensor Signal

2

0.5 YE/BK

3422

Low Reference

Hill Hold Brake Delay Valve (HP7)


Object Number: 1566796  Size: CH

Connector Part Information

  • OEM: 13580064
  • Service: 88988644
  • Description: 4-Way F Sealed (BK)

Terminal Part Information

  • Terminal/Tray: See Terminal Repair Kit
  • Core/Insulation Crimp: See Terminal Repair Kit
  • Release Tool/Test Probe: See Terminal Repair Kit

Hill Hold Brake Delay Valve (HP7)

Pin

Wire

Circuit

Function

1

0.5 BN

909

Hill Hold Valve Brake Relay Contact Output Voltage

2

0.35 PU

910

Hill Hold Valve Number 1 Control

3

0.5 BN

909

Hill Hold Valve Brake Relay Contact Output Voltage

4

0.35 L-GN

911

Hill Hold Valve Number 2 Control

Hood Ajar Switch (AP3/HP5/HP7)


Object Number: 646415  Size: CH

Connector Part Information

  • OEM: 15326808
  • Service: 15326808
  • Description: 3-Way F GT 150 Series, Sealed (BK)

Terminal Part Information

  • Terminal/Tray: 12191819/8
  • Core/Insulation Crimp: E/A
  • Release Tool/Test Probe: 15315247/J-35616-2A (GY)

Hood Ajar Switch (AP3)

Pin

Wire

Circuit

Function

A

0.35 BK

150

Ground

B

0.35 YE

5530

Hood Open Switch Signal

C

0.35 PU

5531

Hood Closed Switch Signal

Horn - Left


Object Number: 1527729  Size: CH

Connector Part Information

  • OEM: 15419715
  • Service: 88988313
  • Description: 2-Way F GT 150 Series Sealed (GY)

Terminal Part Information

  • Terminal/Tray: 12191819/8
  • Core/Insulation Crimp: E/A
  • Release Tool/Test Probe: 15315247/J-35616-2A (GY)

Horn - Left

Pin

Wire

Circuit

Function

A

0.5 BK

150

Ground

B

0.5 D-GN

29

Horn Control

Horn - Right


Object Number: 1527729  Size: CH

Connector Part Information

  • OEM: 15419715
  • Service: 88988313
  • Description: 2-Way F GT 150 Series Sealed (GY)

Terminal Part Information

  • Terminal/Tray: 12191819/8
  • Core/Insulation Crimp: E/A
  • Release Tool/Test Probe: 15315247/J-35616-2A (GY)

Horn - Right

Pin

Wire

Circuit

Function

A

0.5 BK/WH

151

Ground

B

0.5 D-GN

29

Horn Control

Horn Switch X1


Object Number: 1862161  Size: CH

Connector Part Information

  • OEM: 2-520128-2
  • Service: See Catalog
  • Description: 1-Way F 6.35 series (RD)

Terminal Part Information

  • Terminal/Tray: 12191819/8
  • Core/Insulation Crimp: 2/A
  • Release Tool/Test Probe: 15315247/J-35616-2A (GY)

Horn Switch X1

Pin

Wire

Circuit

Function

1

0.35 RD

28

Horn Relay Control

Horn Switch X2


Object Number: 1862161  Size: CH

Connector Part Information

  • OEM: 2-520128-2
  • Service: See Catalog
  • Description: 1-Way F 6.35 series (RD)

Terminal Part Information

  • Terminal/Tray: 12191819/8
  • Core/Insulation Crimp: 2/A
  • Release Tool/Test Probe: 15315247/J-35616-2A (GY)

Horn Switch X2

Pin

Wire

Circuit

Function

1

0.35 BK

350

Ground

HVAC Control Module X1 (C67)


Object Number: 1715226  Size: CH

Connector Part Information

  • OEM: 31323-1208
  • Service: See Catalog
  • Description: 20-Way F USCAR ASSY 0.64 RCPT (BN)

Terminal Part Information

  • Terminal/Tray: See Terminal Repair Kit
  • Core/Insulation Crimp: See Terminal Repair Kit
  • Release Tool/Test Probe: See Terminal Repair Kit

HVAC Control Module X1 (C67)

Pin

Wire

Circuit

Function

1

--

--

Not Used

2

0.35 D-GN

734

Inside Air Temperature Sensor Signal

3

0.35 L-BU/BK

590

Driver Sunload Sensor Signal

4

0.35 GY

1548

Passenger Sunload Sensor Signal

5-14

--

--

Not Used

15

0.5 GY

5954

Motor Supply Voltage

16

0.35 TN

516

Upper Left Air Temperature Sensor Signal

17-20

--

--

Not Used

HVAC Control Module X1 (C68)


Object Number: 1664553  Size: CH

Connector Part Information

  • OEM: 31410-1202
  • Service: See Catalog
  • Description: 20-Way F 0.64 Series, Sealed (BN)

Terminal Part Information

  • Terminal/Tray: 7116-4618-02/14
  • Core/Insulation Crimp: P/P
  • Release Tool/Test Probe: J-38125-215/J-35616-64B (L-BU)

HVAC Control Module X1 (C68)

Pin

Wire

Circuit

Function

1

--

--

Not Used

2

0.35 D-GN

734

Inside Air Temperature Sensor Signal

3

0.35 L-BU/BK

590

Driver Sunload Sensor Signal

4

0.35 GY

1548

Passenger Sunload Sensor Signal

5-14

--

--

Not Used

15

0.35 BN

516

Upper Left Air Temperature Sensor Signal

16

--

--

Not Used

17

0.5 GY

5954

Motor Supply Voltage

18-19

--

--

Not Used

20

0.35 PK

2014

Heater Coolant Pump Relay Control (HP5)

HVAC Control Module X2


Object Number: 1715229  Size: CH

Connector Part Information

  • OEM: 7283-9080-90
  • Service: See Catalog
  • Description: 16-Way F 0.64 (BU)

Terminal Part Information

  • Terminal/Tray: 7116-4618-02/14
  • Core/Insulation Crimp: P/P
  • Release Tool/Test Probe: J-38125-215/J-35616-64B (BU)

HVAC Control Module X2

Pin

Wire

Circuit

Function

1

0.35 YE

1491

Backlight Lamps Control

2

0.35 BN

41

Ignition 3 Voltage

3

0.5 BK

350

Ground

4

0.5 RD/WH

1840

Battery Positive Voltage

5

0.35 D-GN

5060

Low Speed GMLAN Serial Data

6-7

--

--

Not Used

8

0.35 WH

193

Rear Defog Relay Control

9

0.35 D-GN/WH

636

Ambient Air Temperature Sensor Signal (C68)

10

0.35 BK

350

Ground

11

--

--

Not Used

12

0.5 YE

61

Low Reference

13-16

--

--

Not Used

HVAC Control Module X3 (C67)


Object Number: 1715226  Size: CH

Connector Part Information

  • OEM: 31323-1207
  • Service: See Catalog
  • Description: 20-Way F (GY)

Terminal Part Information

  • Terminal/Tray: See Terminal Repair Kit
  • Core/Insulation Crimp: See Terminal Repair Kit
  • Release Tool/Test Probe: See Terminal Repair Kit

HVAC Control Module X3 (C67)

Pin

Wire

Circuit

Function

1

0.35 TN

520

Lower Right Air Temperature Sensor Signal

2

0.35 L-GN

2275

Mode Door Position Signal

3

0.35 PU

1838

Recirculation Door Position Signal

4

0.35 GY/BK

754

Blower Motor Speed Control

5

0.5 TN

2273

Mode Door Control

6

--

--

Not Used

7

0.5 D-GN

1614

Recirculation Door Control

8

0.5 BN

1199

Air Temperature Door Control

9

--

--

Not Used

10

0.35 GY

598

5-Volt Reference

11-12

--

--

Not Used

13

0.35 L-GN

2275

Mode Door Position Signal

14

0.35 WH

2622

5-Volt Reference

15

0.5 WH

119

Mode Door Control

16

--

--

Not Used

17

0.5 TN/BK

2274

Recirculation Door Control

18

0.5 L-BU

1316

Air Temperature Door Control

19

0.35 TN

552

Low Reference

20

0.35 YE

1791

Low Reference

HVAC Control Module X3 (C68)


Object Number: 1664552  Size: CH

Connector Part Information

  • OEM: 31410-1201
  • Service: See Catalog
  • Description: 20-Way F 0.64 Series Sealed (GY)

Terminal Part Information

  • Terminal/Tray: 7116-4618-02/14
  • Core/Insulation Crimp: P/P
  • Release Tool/Test Probe: J-38125-215/J-35616-64B (L-BU)

HVAC Control Module X3 (C68)

Pin

Wire

Circuit

Function

1

0.35 BN

520

Lower Right Air Temperature Sensor Signal

2

0.35 L-GN

2275

Mode Door Position Signal

3

0.35 PU

1838

Recirculation Door Position Signal

4

0.35 GY/BK

754

Blower Motor Speed Control

5

0.5 BN

2273

Mode Door Control

6

--

--

Not Used

7

0.5 D-GN

1614

Recirculation Door Control

8

0.5 BN

1199

Left Air Temperature Door Control

9

--

--

Not Used

10

0.35 GY

598

5-Volt Reference

11-12

--

--

Not Used

13

0.35 L-GN

2275

Mode Door Position Signal

14

0.35 WH

2622

Air Temperature Sensor Signal

15

0.5 D-GN

119

Mode Door Control

16

--

--

Not Used

17

0.5 D-GN

2274

Recirculation Door Control

18

0.5 D-GN

1316

Air Temperature Door Control

19

0.35 TN

552

Low Reference

20

0.35 YE

1791

Low Reference

Ignition Coil 1 (LAT/LE5)


Object Number: 1590069  Size: CH

Connector Part Information

  • OEM: 15466325 (LAT)
  • OEM: 13579069 (LE5)
  • Service: See Catalog
  • Description: 4-Way F USCAR 150 Series Sealed (BK)

Terminal Part Information

  • Terminal/Tray: 7116-4102-08/9
  • Core/Insulation Crimp: E/1
  • Release Tool/Test Probe: 12094430/J-35616-2A (GY)

Ignition Coil 1 (LAT/LE5)

Pin

Wire

Circuit

Function

1

0.8 BK

250

Ground

2

0.5 BN

2129

Low Reference

3

0.5 PU

2121

IC 1 Control

4

0.5 PK/BK

5292

Ignition 1 Voltage

Ignition Coil 1 (LCS)


Object Number: 1331446  Size: CH

Connector Part Information

  • OEM: 13605838
  • Service: See Catalog
  • Description: 4-Way F Junior Power Times Series, Sealed (BK)

Terminal Part Information

  • Terminal/Tray: 7116-4102-08/9
  • Core/Insulation Crimp: E/1
  • Release Tool/Test Probe: 12094430/J-35616-2A (GY)

Ignition Coil 1 (LCS)

Pin

Wire

Circuit

Function

1

0.5 PU

2121

IC 1 Control

2

1 PK/BK

5291

Ign 1 Voltage

3

0.5 BK

250

Ground

4

0.5 BK

250

Ground

Ignition Coil 1 (LY7)


Object Number: 1653384  Size: CH

Connector Part Information

  • OEM: 15466325
  • Service: 88988737
  • Description: 4-Way F GT 150 Series Sealed (BK)

Terminal Part Information

  • Pins: A-D
  • Terminal/Tray: 12191819/8
  • Core/Insulation Crimp: Pins A, D - 2/A
  • Core/Insulation Crimp: Pins B, C - E/A
  • Release Tool/Test Probe: 15315247/J-35616-2A (GY)

Ignition Coil 1 (LY7)

Pin

Wire

Circuit

Function

A

0.8 BK

2950

Ground

B

0.5 BN

2129

Low Reference

C

0.5 PU

2121

IC 1 Control

D

1 PK/BK

5291

Ignition 1 Voltage

Ignition Coil 2 (LAT/LE5)


Object Number: 1590069  Size: CH

Connector Part Information

  • OEM: 15466325 (LAT)
  • OEM: 13579069 (LE5)
  • Service: See Catalog
  • Description: 4-Way F USCAR 150 Series Sealed (BK)

Terminal Part Information

  • Terminal/Tray: 7116-4102-08/9
  • Core/Insulation Crimp: E/1
  • Release Tool/Test Probe: 12094430/J-35616-2A (GY)

Ignition Coil 2 (LAT/LE5)

Pin

Wire

Circuit

Function

1

0.8 BK

250

Ground

2

0.5 BN

2129

Low Reference

3

0.5 OG/WH

2122

IC 2 Control

4

0.5 PK/BK

5292

Ignition 1 Voltage

Ignition Coil 2 (LCS)


Object Number: 1331446  Size: CH

Connector Part Information

  • OEM: 13605838
  • Service: See Catalog
  • Description: 4-Way F Junior Power Times Series, Sealed (BK)

Terminal Part Information

  • Terminal/Tray: 7116-4102-08/9
  • Core/Insulation Crimp: E/1
  • Release Tool/Test Probe: 12094430/J-35616-2A (GY)

Ignition Coil 2 (LCS)

Pin

Wire

Circuit

Function

1

0.5 OG/WH

2122

IC 2 Control

2

1 PK/BK

5292

Ign 1 Voltage

3

0.5 BK

250

Ground

4

0.5 BK

250

Ground

Ignition Coil 2 (LY7)


Object Number: 1653384  Size: CH

Connector Part Information

  • OEM: 15466325
  • Service: 88988737
  • Description: 4-Way F GT 150 Series Sealed (BK)

Terminal Part Information

  • Pins: A-D
  • Terminal/Tray: 12191819/8
  • Core/Insulation Crimp: Pins A, D - 2/A
  • Core/Insulation Crimp: Pins B, C - E/A
  • Release Tool/Test Probe: 15315247/J-35616-2A (GY)

Ignition Coil 2 (LY7)

Pin

Wire

Circuit

Function

A

0.8 BK

250

Ground

B

0.5 BN/WH

2130

Low Reference

C

0.5 OG/WH

2122

IC 2 Control

D

1 PK/BK

5292

Ignition 1 Voltage

Ignition Coil 3 (LAT/LE5)


Object Number: 1590069  Size: CH

Connector Part Information

  • OEM: 15466325 (LAT)
  • OEM: 13579069 (LE5)
  • Service: See Catalog
  • Description: 4-Way F USCAR 150 Series Sealed (BK)

Terminal Part Information

  • Terminal/Tray: 7116-4102-08/9
  • Core/Insulation Crimp: E/1
  • Release Tool/Test Probe: 12094430/J-35616-2A (GY)

Ignition Coil 3 (LAT/LE5)

Pin

Wire

Circuit

Function

1

0.8 BK

250

Ground

2

0.5 BN

2129

Low Reference

3

0.5 L-BU

2123

IC 3 Control

4

0.5 PK/BK

5292

Ignition 1 Voltage

Ignition Coil 3 (LCS)


Object Number: 1331446  Size: CH

Connector Part Information

  • OEM: 13605838
  • Service: See Catalog
  • Description: 4-Way F Junior Power Times Series, Sealed (BK)

Terminal Part Information

  • Terminal/Tray: 7116-4102-08/9
  • Core/Insulation Crimp: E/1
  • Release Tool/Test Probe: 12094430/J-35616-2A (GY)

Ignition Coil 3 (LCS)

Pin

Wire

Circuit

Function

1

0.5 L-BU

2123

IC 3 Control

2

1 PK/BK

5291

Ign 1 Voltage

3

0.5 BK

250

Ground

4

0.5 BK

250

Ground

Ignition Coil 3 (LY7)


Object Number: 1653384  Size: CH

Connector Part Information

  • OEM: 15466325
  • Service: 88988737
  • Description: 4-Way F GT 150 Series Sealed (BK)

Terminal Part Information

  • Pins: A-D
  • Terminal/Tray: 12191819/8
  • Core/Insulation Crimp: Pins A, D - 2/A
  • Core/Insulation Crimp: Pins B, C - E/A
  • Release Tool/Test Probe: 15315247/J-35616-2A (GY)

Ignition Coil 3 (LY7)

Pin

Wire

Circuit

Function

A

0.8 BK

2950

Ground

B

0.5 BN

2129

Low Reference

C

0.5 L-BU

2123

IC 3 Control

D

1 PK/BK

5291

Ignition 1 Voltage

Ignition Coil 4 (LAT/LE5)


Object Number: 1590069  Size: CH

Connector Part Information

  • OEM: 15466325 (LAT)
  • OEM: 13579069 (LE5)
  • Service: See Catalog
  • Description: 4-Way F USCAR 150 Series Sealed (BK)

Terminal Part Information

  • Terminal/Tray: 7116-4102-08/9
  • Core/Insulation Crimp: E/1
  • Release Tool/Test Probe: 12094430/J-35616-2A (GY)

Ignition Coil 4 (LAT/LE5)

Pin

Wire

Circuit

Function

1

0.8 BK

250

Ground

2

0.5 BN

2129

Low Reference

3

0.5 D-GN/WH

2124

IC 4 Control

4

0.5 PK/BK

5292

Ignition 1 Voltage

Ignition Coil 4 (LCS)


Object Number: 1331446  Size: CH

Connector Part Information

  • OEM: 13605838
  • Service: See Catalog
  • Description: 4-Way F Junior Power Times Series, Sealed (BK)

Terminal Part Information

  • Terminal/Tray: 7116-4102-08/9
  • Core/Insulation Crimp: E/1
  • Release Tool/Test Probe: 12094430/J-35616-2A (GY)

Ignition Coil 4 (LCS)

Pin

Wire

Circuit

Function

1

0.5 D-GN/WH

2124

IC 4 Control

2

1 PK/BK

5292

Ign 1 Voltage

3

0.5 BK

250

Ground

4

0.5 BK

250

Ground

Ignition Coil 4 (LY7)


Object Number: 1653384  Size: CH

Connector Part Information

  • OEM: 15466325
  • Service: 88988737
  • Description: 4-Way F GT 150 Series Sealed (BK)

Terminal Part Information

  • Pins: A- D
  • Terminal/Tray: 12191819/8
  • Core/Insulation Crimp: Pins A, D - 2/A
  • Core/Insulation Crimp: Pins B, C - E/A
  • Release Tool/Test Probe: 15315247/J-35616-2A (GY)

Ignition Coil 4 (LY7)

Pin

Wire

Circuit

Function

A

0.8 BK

250

Ground

B

0.5 BN/WH

2130

Low Reference

C

0.5 D-GN/WH

2124

IC 4 Control

D

1 PK/BK

5292

Ignition 1 Voltage

Ignition Coil 5 (LCS)


Object Number: 1331446  Size: CH

Connector Part Information

  • OEM: 13605838
  • Service: See Catalog
  • Description: 4-Way F Junior Power Times Series, Sealed (BK)

Terminal Part Information

  • Terminal/Tray: 7116-4102-08/9
  • Core/Insulation Crimp: E/1
  • Release Tool/Test Probe: 12094430/J-35616-2A (GY)

Ignition Coil 5 (LCS)

Pin

Wire

Circuit

Function

1

0.5 D-GN

2125

IC 5 Control

2

1 PK/BK

5291

Ign 1 Voltage

3

0.5 BK

250

Ground

4

0.5 BK

250

Ground

Ignition Coil 5 (LY7)


Object Number: 1653384  Size: CH

Connector Part Information

  • OEM: 15466325
  • Service: 88988737
  • Description: 4-Way F GT 150 Series Sealed (BK)

Terminal Part Information

  • Pins: A-D
  • Terminal/Tray: 12191819/8
  • Core/Insulation Crimp: Pins A, D - 2/A
  • Core/Insulation Crimp: Pins B, C - E/A
  • Release Tool/Test Probe: 15315247/J-35616-2A (GY)

Ignition Coil 5 (LY7)

Pin

Wire

Circuit

Function

A

0.8 BK

2950

Ground

B

0.5 BN

2129

Low Reference

C

0.5 D-GN

2125

IC 5 Control

D

1 PK/BK

5291

Ignition 1 Voltage

Ignition Coil 6 (LCS)


Object Number: 1331446  Size: CH

Connector Part Information

  • OEM: 13605838
  • Service: See Catalog
  • Description: 4-Way F Junior Power Times Series, Sealed (BK)

Terminal Part Information

  • Terminal/Tray: 7116-4102-08/9
  • Core/Insulation Crimp: E/1
  • Release Tool/Test Probe: 12094430/J-35616-2A (GY)

Ignition Coil 6 (LCS)

Pin

Wire

Circuit

Function

1

0.5 L-BU/WH

2126

IC 6 Control

2

1 PK/BK

5292

Ign 1 Voltage

3

0.5 BK

250

Ground

4

0.5 BK

250

Ground

Ignition Coil 6 (LY7)


Object Number: 1653384  Size: CH

Connector Part Information

  • OEM: 15466325
  • Service: 88988737
  • Description: 4-Way F GT 150 Series Sealed (BK)

Terminal Part Information

  • Pins: A-D
  • Terminal/Tray: 12191819/8
  • Core/Insulation Crimp: Pins A, D - 2/A
  • Core/Insulation Crimp: Pins B, C - E/A
  • Release Tool/Test Probe: 15315247/J-35616-2A (GY)

Ignition Coil 6 (LY7)

Pin

Wire

Circuit

Function

A

0.8 BK

250

Ground

B

0.5 BN/WH

2130

Low Reference

C

0.5 L-BU/WH

2126

IC 6 Control

D

1 PK/BK

5292

Ignition 1 Voltage

Ignition Control Module (ICM) (LZ4)


Object Number: 632357  Size: CH

Connector Part Information

  • OEM: 15326829
  • Service: 15326829
  • Description: 6-Way F GT 150 Series Sealed (BK)

Terminal Part Information

  • Pins: A-F
  • Terminal/Tray: 12191819/8
  • Core/Insulation Crimp: Pins A-D - E/A
  • Core/Insulation Crimp: Pins E- F - 2/A
  • Release Tool/Test Probe: 15315247/J-35616-2A (GY)

Ignition Control Module (LZ4)

Pin

Wire

Circuit

Function

A

0.5 OG/WH

2122

IC 2 Control

B

0.5 PU

2121

IC 1 Control

C

0.5 L-BU

2123

IC 3 Control

D

0.5 BN

2129

Low Reference

E

1 BK

250

Ground

F

1 PK/BK

5292

Ignition 1 Voltage

Ignition Lock Cylinder Control Solenoid (LAT/LE5)


Object Number: 280768  Size: CH

Connector Part Information

  • OEM: 12052832
  • Service: 12101825
  • Description: 2-Way F Metri-Pack 150 Series (BK)

Terminal Part Information

  • Terminal/Tray: 12064971/5
  • Core/Insulation Crimp: E/C
  • Release Tool/Test Probe: 12094429/J-35616-14 (GN)

Ignition Lock Cylinder Control Solenoid (LAT/LE5)

Pin

Wire

Circuit

Function

A

0.35 BK

350

Ground

B

0.35 PU/WH

5905

Key Capture/Column Lock Signal

Ignition Switch (LAT/LE5)


Object Number: 1664590  Size: CH

Connector Part Information

  • OEM: 15484551
  • Service: See Catalog
  • Description: 6-Way F 1.2 HCM (BK)

Terminal Part Information

  • Terminal/Tray: SHCM-A03T-P025/20
  • Core/Insulation Crimp: J/J
  • Release Tool/Test Probe: 12094429/J-35616-64B (L-BU)

Ignition Switch (LAT/LE5)

Pin

Wire

Circuit

Function

1

0.35 PK

39

Ignition 1 Voltage

2

0.35 YE

43

Accessory Voltage

3

0.35 RD/WH

1740

Battery Positive Voltage

4

0.35 WH

530

Ignition 0 Voltage

5

0.35 WH/BK

1073

Ignition Key Resistor Signal

6

--

--

Not Used

Ignition Switch (LCS/LY7/LZ4)


Object Number: 307727  Size: CH

Connector Part Information

  • OEM: 15324806
  • Service: 88987854
  • Description: 6-Way F ILAG5 Series (GN)

Terminal Part Information

  • Terminal/Tray: IL-AG5-C1-5000/20
  • Core/Insulation Crimp: K/K
  • Release Tool/Test Probe: J-38125-211/J-35616-64B (L-BU)

Ignition Switch (LCS/LY7/LZ4)

Pin

Wire

Circuit

Function

1

0.35 YE

43

Accessory Voltage

2

0.35 RD/WH

1740

Battery Positive Voltage

3

0.35 PK

39

Ignition 1 Voltage

4

0.35 WH/BK

1073

Ignition Key Resistor Signal

5

0.35 WH

530

Ignition 0 Voltage

6

--

--

Not Used

Ignition Switch Lamp (LCS/LY7/LZ4)


Object Number: 1860067  Size: CH

Connector Part Information

  • OEM: 1356111
  • Service: See Catalog
  • Description: 2-Way F

Terminal Part Information

  • Terminal/Tray: N/A
  • Core/Insulation Crimp: N/A
  • Release Tool/Test Probe: N/A

Ignition Switch Lamp (LY7/LZ4)

Pin

Wire

Circuit

Function

1

0.35 TN

690

Accessory Voltage

2

0.35 GY

350

Ground

Inflatable Restraint Front End Sensor - Left


Object Number: 744046  Size: CH

Connector Part Information

  • OEM: 15356723
  • Service: 15356723
  • Description: 2-Way F GT 150 Series Sealed 4.0 (YE)

Terminal Part Information

  • Terminal/Tray: Service with Pigtail
  • Core/Insulation Crimp: N/A
  • Release Tool/Test Probe: 15315247/J-35616-2A (GY)

Inflatable Restraint Front End Sensor - Left

Pin

Wire

Circuit

Function

A

0.5 YE/BK

6169

Middle Front Impact Sensing Module Signal

B

0.5 YE

6168

Middle Front Impact Sensing Module Supply Voltage

Inflatable Restraint Front End Sensor - Right


Object Number: 744046  Size: CH

Connector Part Information

  • OEM: 15356723
  • Service: 15356723
  • Description: 2-Way F GT 150 Series Sealed 4.0 (YE)

Terminal Part Information

  • Terminal/Tray: Service with Pigtail
  • Core/Insulation Crimp: N/A
  • Release Tool/Test Probe: 15315247/J-35616-2A (GY)

Inflatable Restraint Front End Sensor - Right

Pin

Wire

Circuit

Function

A

0.5 L-GN

6777

Middle Front Impact Sensing Module (2) Signal

B

0.5 YE/GY

6776

Middle Front Impact Sensing Module (2) Supply Voltage

Inflatable Restraint I/P Module


Object Number: 1879122  Size: CH

Connector Part Information

  • OEM: 15422521
  • Service: See Catalog
  • Description: 4-Way F 2.8 Apex, Sealed (YE)

Terminal Part Information

  • Terminal/Tray: See Terminal Repair Kit
  • Core/Insulation Crimp: See Terminal Repair Kit
  • Release Tool/Test Probe: See Terminal Repair Kit

Inflatable Restraint I/P Module

Pin

Wire

Circuit

Function

1

0.5 PU

3026

I/P Module - Stage 2 - Low Control

2

0.5 GY

3027

I/P Module - Stage 2 - High Control

3

0.5 OG

3024

I/P Module - Stage 1 - Low Control

4

0.5 YE

3025

I/P Module - Stage 1 - High Control

Inflatable Restraint Passenger Presence System (PPS) Module (-APL)


Object Number: 831380  Size: CH

Connector Part Information

  • OEM: 15332141
  • Service: 15332141
  • Description: 6-Way F GT 150 Series (BK)

Terminal Part Information

  • Terminal/Tray: Service with Pigtail
  • Core/Insulation Crimp: N/A
  • Release Tool/Test Probe: 15315247/J-35616-2A (GY)

Inflatable Restraint Passenger Presence System (PPS) Module (-APL)

Pin

Wire

Circuit

Function

A

0.5 RD/WH

740

Battery Positive Voltage

B

0.5 D-GN

5060

Low Speed GMLAN Serial Data

C

--

--

Not Used

D

0.5 BK/WH

851

Ground

0.5 BK/WH

851

Ground

E

0.5 PU

5611

BTS Sensor Signal

F

0.5 L-BU

5612

5-Volt Reference

Inflatable Restraint Roof Rail Module - Left


Object Number: 646194  Size: CH

Connector Part Information

  • OEM: 12186799
  • Service: 12186799
  • Description: 2-Way M 280 Series (YE)

Terminal Part Information

  • Terminal/Tray: Service with Pigtail
  • Core/Insulation Crimp: N/A
  • Release Tool/Test Probe: 12094429/J-35616-5 (PU)

Inflatable Restraint Roof Rail Module - Left

Pin

Wire

Circuit

Function

A

0.5 PK

5020

Roof Rail Module - Left - Low Control

B

0.5 PU/WH

5019

Roof Rail Module - Left - High Control

Inflatable Restraint Roof Rail Module - Right


Object Number: 646194  Size: CH

Connector Part Information

  • OEM: 12186799
  • Service: 12186799
  • Description: 2-Way M 280 Series (YE)

Terminal Part Information

  • Terminal/Tray: Service with Pigtail
  • Core/Insulation Crimp: N/A
  • Release Tool/Test Probe: 12094429/J-35616-5 (PU)

Inflatable Restraint Roof Rail Module - Right

Pin

Wire

Circuit

Function

A

0.5 WH/BK

5022

Roof Rail Module - Right - Low Control

B

0.5 YE/BK

5021

Roof Rail Module - Right - High Control

Inflatable Restraint Sensing and Diagnostic Module (SDM) (with APL/ATY)


Object Number: 1468532  Size: CH

Connector Part Information

  • OEM: 13660253
  • Service: See Catalog
  • Description: 60-Way F 0.64 GET, Sealed Base 60 (YE)
  • Lock Color (BK)

Terminal Part Information

  • Pins: 1-2, 4-15, 20, 21-28, 31-32, 36-43, 58-60
  • Terminal/Tray: Service with Terminated Lead
  • Core/Insulation Crimp: N/A
  • Release Tool/Test Probe: 15315247/J-35616-64B (L-BU)

Inflatable Restraint Sensing and Diagnostic Module (SDM) (with APL/ATY)

Pin

Wire

Circuit

Function

1

0.5 BK/WH

851

Ground

2

0.5 D-GN

5060

Low Speed GMLAN Serial Data

3

--

--

Not Used

4

0.5 PK

3022

Steering Wheel Module - Stage 2 - Low Control

5

0.5 WH

3023

Steering Wheel Module - Stage 2 - High Control

6

0.5 GY

3027

I/P Module - Stage 2 - High Control

7

0.5 PU

3026

I/P Module - Stage 2 - Low Control

8

0.5 BN

3020

Steering Wheel Module - Stage 1 - Low Control

9

0.5 TN

3021

Steering Wheel Module - Stage 1 - High Control

10

0.5 YE

3025

I/P Module - Stage 1 - High Control

11

0.5 OG

3024

I/P Module - Stage 1 - Low Control

12

0.5 YE/BK

2138

Side Impact Module - Left Front- Low Control

13

0.5 BN

2137

Side Impact Module - Left Front - High Control

14-15

--

--

Not Used

16

0.5 OG/BK

2119

Seat Belt Pretensioner - Left - Low Control (HP5)

17

0.5 TN

2118

Seat Belt Pretensioner - Left - High Control (HP5)

18-19

--

--

Not Used

20

0.5 PK

5020

Roof Rail Module - Left - Low Control

21

0.5 PU/WH

5019

Roof Rail Module - Left - High Control

22

0.5 YE/BK

5021

Roof Rail Module - Right - High Control

23

0.5 WH/BK

5022

Roof Rail Module - Right - Low Control

24

0.5 PU

7380

Driver Retractor Pretensioner Low Signal (HP5)

25

0.5 PU/OG

7379

Driver Retractor Pretensioner High Signal (HP5)

26-27

--

--

Not Used

28

0.35 PK

5057

Seat Position Sensor - Low Reference

29-30

--

--

Not Used

31

0.35 RD/WH

740

Battery Positive Voltage

32

0.35 PK

439

Ignition 1 Voltage

33-35

--

--

Not Used

36

0.5 YE

6168

Middle Front Impact Sensing Module Supply Voltage

37

0.5 YE/GN

6776

Middle Front Impact Sensing Module (2) Supply Voltage

38

0.5 YE/BK

6169

Middle Front Impact Sensing Module Signal

39

0.5 L-GN

6777

Middle Front Impact Sensing Module (2) Signal

40

0.35 GY/BK

6621

Left Middle Side Impact Sensing Module Low Reference

41

0.35 L-GN/WH

6625

Right Middle Side Impact Sensing Module Low Reference

42

0.35 D-GN/WH

6620

Left Middle Side Impact Sensing Module Signal

43

0.35 L-BU/BK

6624

Right Middle Side Impact Sensing Module Signal

44-57

--

--

Not Used

58

0.5 YE/BK

5229

Roll Over Sensor High Signal

59

0.35 TN/WH

238

Seat Belt Switch - Left - Signal

60

--

--

Not Used

Inflatable Restraint Sensing and Diagnostic Module (SDM) (without APL/ATY)


Object Number: 1468532  Size: CH

Connector Part Information

  • OEM: 13609690 (HP7)
  • OEM: 13596215 (-HP7)
  • Service: See Catalog
  • Description: 60-Way F 0.64 GET, Sealed Base 60 (YE)
  • Lock Color (BK)

Terminal Part Information

  • Pins: 1-2, 4-15, 20, 21-28, 31-32, 36-43, 58-60
  • Terminal/Tray: Service with Terminated Lead
  • Core/Insulation Crimp: N/A
  • Release Tool/Test Probe: 15315247/J-35616-64B (L-BU)

Inflatable Restraint Sensing and Diagnostic Module (SDM) (without APL/ATY)

Pin

Wire

Circuit

Function

1

0.5 BK/WH

851

Ground

2

0.5 D-GN

5060

Low Speed GMLAN Serial Data

3

--

--

Not Used

4

0.5 PK

3022

Steering Wheel Module - Stage 2 - Low Control

5

0.5 WH

3023

Steering Wheel Module - Stage 2 - High Control

6

0.5 GY

3027

I/P Module - Stage 2 - High Control

7

0.5 PU

3026

I/P Module - Stage 2 - Low Control

8

0.5 BN

3020

Steering Wheel Module - Stage 1 - Low Control

9

0.5 TN

3021

Steering Wheel Module - Stage 1 - High Control

10

0.5 YE

3025

I/P Module - Stage 1 - High Control

11

0.5 OG

3024

I/P Module - Stage 1 - Low Control

12

0.5 YE/BK

2138

Side Impact Module - Left Front- Low Control

13

0.5 BN

2137

Side Impact Module - Left Front - High Control

14

0.5 TN/WH

2135

Side Impact Module - Right Front - High Control

15

0.5 L-GN

2136

Side Impact Module - Right Front - Low Control

16

0.5 OG/BK

2119

Seat Belt Pretensioner - Left - Low Control (-HP7)

16

0.5 PU

7380

Driver Retractor Pretensioner Low Signal (HP7)

17

0.5 TN/WH

2118

Seat Belt Pretensioner - Left - High Control (-HP7)

17

0.5 PU/OG

7379

Driver Retractor Pretensioner High Signal (HP7)

18

0.5 L-GN

2116

Seat Belt Pretensioner - Right - High Control (-HP7)

18

0.5 OG/GN

7377

Passenger Retractor Pretensioner High Signal (HP7)

19

0.5 OG

2117

Seat Belt Pretensioner - Right - Low Control (-HP7)

19

0.5 D-GN

7378

Passenger Retractor Pretensioner Low Signal (HP7)

20

0.5 PK

5020

Roof Rail Module - Left - Low Control

21

0.5 PU/WH

5019

Roof Rail Module - Left - High Control

22

0.5 YE/BK

5021

Roof Rail Module - Right - High Control

23

0.5 WH/BK

5022

Roof Rail Module - Right - Low Control

24

0.5 OG/BK

2119

Seat Belt Pretensioner - Left - Low Control (HP7)

24

0.5 PU

7380

Driver Retractor Pretensioner Low Signal (-HP7)

25

0.5 TN/WH

2118

Seat Belt Pretensioner - Left - High Control (HP7)

25

0.5 PU/OG

7379

Driver Retractor Pretensioner High Signal (-HP7)

26

0.5 L-GN

2116

Seat Belt Pretensioner - Right - High Control (HP7)

26

0.5 OG/GN

7377

Passenger Retractor Pretensioner High Signal (-HP7)

27

0.5 OG

2117

Seat Belt Pretensioner - Right - Low Control (HP7)

27

0.5 D-GN

7378

Passenger Retractor Pretensioner Low Signal (-HP7)

28

0.35 PK

5057

Seat Position Sensor - Low Reference

29-30

--

--

Not Used

31

0.35 RD/WH

740

Battery Positive Voltage

32

0.35 PK

439

Ignition 1 Voltage

33-35

--

--

Not Used

36

0.5 YE

6168

Middle Front Impact Sensing Module Supply Voltage

37

0.5 YE/GN

6776

Middle Front Impact Sensing Module (2) Supply Voltage

38

0.5 YE/BK

6169

Middle Front Impact Sensing Module Signal

39

0.5 L-GN

6777

Middle Front Impact Sensing Module (2) Signal

40

0.35 GY/BK

6621

Left Middle Side Impact Sensing Module Low Reference

41

0.35 L-GN/WH

6625

Right Middle Side Impact Sensing Module Low Reference

42

0.35 D-GN/WH

6620

Left Middle Side Impact Sensing Module Signal

43

0.35 L-BU/BK

6624

Right Middle Side Impact Sensing Module Signal

44-57

--

--

Not Used

58

0.5 YE/BK

5229

Roll Over Sensor High Signal

59

0.35 TN/WH

238

Seat Belt Switch - Left - Signal

60

0.35 OG

1362

Seat Belt Switch - Right - Signal (-APL)

Inflatable Restraint Side Impact Module - Left


Object Number: 646194  Size: CH

Connector Part Information

  • OEM: 12186799
  • Service: 12186799
  • Description: 2-Way M 280 Series (YE)

Terminal Part Information

  • Terminal/Tray: Service with Pigtail
  • Core/Insulation Crimp: N/A
  • Release Tool/Test Probe: 12094429/J-35616-5 (PU)

Inflatable Restraint Side Impact Module - Left

Pin

Wire

Circuit

Function

A

0.5 YE/BK

2138

Side Impact Module - Left Front - Low Control

B

0.5 BN

2137

Side Impact Module - Left Front - High Control

Inflatable Restraint Side Impact Module - Right (-APL)


Object Number: 646194  Size: CH

Connector Part Information

  • OEM: 12186799
  • Service: 12186799
  • Description: 2-Way M 280 Series (YE)

Terminal Part Information

  • Terminal/Tray: Service with Pigtail
  • Core/Insulation Crimp: N/A
  • Release Tool/Test Probe: 12094429/J-35616-5 (PU)

Inflatable Restraint Side Impact Module - Right (-APL)

Pin

Wire

Circuit

Function

A

0.5 L-GN

2136

Side Impact Module - Right Front - Low Control

B

0.5 TN/WH

2135

Side Impact Module - Right Front - High Control

Inflatable Restraint Side Impact Sensor (SIS) - Left


Object Number: 744046  Size: CH

Connector Part Information

  • OEM: 15356723
  • Service: 15356723
  • Description: 2-Way F GT 150 Series Sealed 4.0 (YE)

Terminal Part Information

  • Terminal/Tray: Service with Pigtail
  • Core/Insulation Crimp: N/A
  • Release Tool/Test Probe: 15315247/J-35616-2A (GY)

Inflatable Restraint Side Impact Sensor (SIS) - Left

Pin

Wire

Circuit

Function

A

0.35 GY/BK

6621

Left Middle Side Impact Sensing Module Low Reference

B

0.35 D-GN/WH

6620

Left Middle Side Impact Sensing Module Signal

Inflatable Restraint Side Impact Sensor (SIS) - Right


Object Number: 744046  Size: CH

Connector Part Information

  • OEM: 15356723
  • Service: 15356723
  • Description: 2-Way F GT 150 Series Sealed 4.0 (YE)

Terminal Part Information

  • Terminal/Tray: Service with Pigtail
  • Core/Insulation Crimp: N/A
  • Release Tool/Test Probe: 15315247/J-35616-2A (GY)

Inflatable Restraint Side Impact Sensor (SIS) - Right

Pin

Wire

Circuit

Function

A

0.35 L-GN/WH

6625

Right Middle Side Impact Sensing Module Low Reference

B

0.35 L-BU/BK

6624

Right Middle Side Impact Sensing Module Signal

Inflatable Restraint Steering Wheel Module X1


Object Number: 966360  Size: CH

Connector Part Information

  • OEM: 54560236
  • Service: See Catalog
  • Description: 2-Way F ABX-3 Code B (L-GY)

Terminal Part Information

  • Terminal/Tray: Service with Pigtail
  • Core/Insulation Crimp: N/A
  • Release Tool/Test Probe: See Terminal Repair Kit

Inflatable Restraint Steering Wheel Module X1

Pin

Wire

Circuit

Function

A

0.5 TN

3021

Steering Wheel Module - Stage 1 - High Control

B

0.5 BN

3020

Steering Wheel Module - Stage 1 - Low Control

Inflatable Restraint Steering Wheel Module X2


Object Number: 966368  Size: CH

Connector Part Information

  • OEM: 54560222
  • Service: See Catalog
  • Description: 2-Way F ABX-3 Code G (PK)

Terminal Part Information

  • Terminal/Tray: Service with Pigtail
  • Core/Insulation Crimp: N/A
  • Release Tool/Test Probe: See Terminal Repair Kit

Inflatable Restraint Steering Wheel Module X2

Pin

Wire

Circuit

Function

A

0.5 WH

3023

Steering Wheel Module - Stage 2 - High Control

B

0.5 PK

3022

Steering Wheel Module - Stage 2 - Low Control

Inflatable Restraint Steering Wheel Module Coil X1


Object Number: 1593397  Size: CH

Connector Part Information

  • OEM: 15393433
  • Service: 22710638
  • Description: 10-Way F Micro-Pack 64 Series (BK)

Terminal Part Information

  • Terminal/Tray: Service with Terminated Lead
  • Core/Insulation Crimp: N/A
  • Release Tool/Test Probe: 12180559-1/J-35616-64B (L-BU)

Inflatable Restraint Steering Wheel Module Coil X1

Pin

Wire

Circuit

Function

A

--

--

Not Used

B

0.35 L-GN

1011

Remote Radio Control Signal

C

0.35 BK

350

Ground

D

0.35 GY

1884

Cruise Controls Switch Signal

E

0.35 PK

1444

12-Volt Reference

F

0.35 YE/BK

9088

I/P Lamp Supply Voltage

G

0.35 D-GN/WH

7158

Cruise Control Switch Signal

H

--

--

Not Used

J

0.35 BK

350

Ground

K

0.35 TN

28

Horn Relay Control

Inflatable Restraint Steering Wheel Module Coil X2


Object Number: 1593397  Size: CH

Connector Part Information

  • OEM: 15393433
  • Service: 22710638
  • Description: 10-Way F Micro-Pack 64 Series (BK)

Terminal Part Information

  • Terminal/Tray: Service with Terminated Lead
  • Core/Insulation Crimp: N/A
  • Release Tool/Test Probe: 12180559-1/J-35616-64B (L-BU)

Inflatable Restraint Steering Wheel Module Coil X2

Pin

Wire

Circuit

Function

A

--

--

Not Used

B

0.35 BN

1011

Remote Radio Control Signal

C

0.35 PK/BK

350

Ground

D

0.35 GY

1884

Cruise Control Switch Signal

E

0.35 D-BU

1444

12-Volt Reference

F

0.35 PU/BK

7005

I/P Lamp Supply Voltage

G

0.35 D-GN

7158

Cruise Control Switch Signal

H

--

--

Not Used

J

0.35 BK

350

Ground

K

0.35 RD

28

Horn Relay Control

Inflatable Restraint Steering Wheel Module Coil X3


Object Number: 1399226  Size: CH

Connector Part Information

  • OEM: 15393421
  • Service: 88987853
  • Description: 4-Way F Micro-Pack 64 Series (YE)

Terminal Part Information

  • Terminal/Tray: Service with Pigtail
  • Core/Insulation Crimp: N/A
  • Release Tool/Test Probe: 12180559-1/J-35616-64B (L-BU)

Inflatable Restraint Steering Wheel Module Coil X3

Pin

Wire

Circuit

Function

1

0.5 TN

3021

Steering Wheel Module - Stage 1 - High Control

2

0.5 BN

3020

Steering Wheel Module - Stage 1 - Low Control

3

0.5 WH

3023

Steering Wheel Module - Stage 2 - High Control

4

0.5 PK

3022

Steering Wheel Module - Stage 2 - Low Control

Inflatable Restraint Vehicle Rollover Sensor


Object Number: 1845399  Size: CH

Connector Part Information

  • OEM: 13551672
  • Service: 19149297
  • Description: 6-Way F 0.64 Series, Sealed (YE)

Terminal Part Information

  • Terminal/Tray: Service with Pigtail
  • Core/Insulation Crimp: N/A
  • Release Tool/Test Probe: 15315247/J-35616-64B (L-BU)

Inflatable Restraint Vehicle Rollover Sensor

Pin

Wire

Circuit

Function

1

0.5 RD/WH

740

Battery Positive Voltage

2

--

--

Not Used

3

0.5 D-GN

5060

Low Speed GMLAN Serial Data

4

--

--

Not Used

5

0.5 YE/BK

5229

Roll Over Sensor High Signal

6

0.5 BK/WH

851

Ground

Inside Rearview Mirror (ISRVM)


Object Number: 1711009  Size: CH

Connector Part Information

  • OEM: 15441350
  • Service: See Catalog
  • Description: 16-Way FMicro Pack 100A (BK)

Terminal Part Information

  • Terminal/Tray: 928999-5/15
  • Core/Insulation Crimp: H/H
  • Release Tool/Test Probe: 12094429/J-35616-64B (L-BU)

Inside Rearview Mirror (ISRVM)

Pin

Wire

Circuit

Function

1-7

--

--

Not Used

8

0.35 BK

650

Ground

9

0.35 L-GN

24

Backup Lamp Supply Voltage

10-12

--

--

Not Used

13

0.35 PK

239

Ignition 1 Voltage

14-16

--

--

Not Used

Instrument Panel Cluster (IPC)


Object Number: 850856  Size: CH

Connector Part Information

  • OEM: 15394150
  • Service: 15394150
  • Description: 16-Way F Micro-Pack 064 Series (BK)

Terminal Part Information

  • Terminal/Tray: 15359541/4
  • Core/Insulation Crimp: M/M
  • Release Tool/Test Probe: 15381651-2/J-35616-64B (L-BU)

Instrument Panel Cluster (IPC)

Pin

Wire

Circuit

Function

1

0.35 PK

139

Ignition 1 Voltage

2

0.5 RD/WH

2540

Battery Positive Voltage

3

--

--

Not Used

4

0.35 PU

5234

Passenger Seat Belt Indicator

5

0.35 PK

893

Driver Information Center Select Menu Switch Signal

6

0.35 D-GN/WH

1358

Driver Information Center Switch Signal

7

0.35 BN

897

Low Reference

8

0.35 TN/WH

99

Windshield Washer Fluid Level Signal

9

0.35 D-BU

2307

Passenger Air Bag On Indicator Control

10

0.35 D-GN

2308

Passenger Air Bag Off Indicator Control

11

--

--

Not Used

12

0.35 BN/WH

419

MIL Control

13

0.5 BK

350

Ground

14

0.5 D-GN

5060

Low Speed GMLAN Serial Data

15

--

--

Not Used

16

0.35 PU

333

Brake Fluid Level Sensor Signal

I/P Compartment Lamp


Object Number: 1892155  Size: CH

Connector Part Information

  • OEM: 13593820
  • Service: See Catalog
  • Description: 2-Way F 250 (GY)

Terminal Part Information

  • Terminal/Tray: See Terminal Repair Kit
  • Core/Insulation Crimp: See Terminal Repair Kit
  • Release Tool/Test Probe: See Terminal Repair Kit

I/P Compartment Lamp

Pin

Wire

Circuit

Function

1

0.35 OG

1732

Courtesy Lamps Supply Voltage

2

0.35 PU

175

Glove Box Lamp Control

I/P Compartment Lamp Switch


Object Number: 1282874  Size: CH

Connector Part Information

  • OEM: 12186713
  • Service: See Catalog
  • Description: 2-Way F CONN (BK)

Terminal Part Information

  • Terminal/Tray: See Terminal Repair Kit
  • Core/Insulation Crimp: See Terminal Repair Kit
  • Release Tool/Test Probe: See Terminal Repair Kit

I/P Compartment Lamp Switch

Pin

Wire

Circuit

Function

1

0.5 BK

350

Ground

2

0.35 PU

175

Glove Box Lamp Control

Knock Sensor (KS) (LAT/LE5)


Object Number: 684799  Size: CH

Connector Part Information

  • OEM: 12077900
  • Service: 12116247
  • Description: 2-Way F Metri-Pack 280 Series, Sealed (BK)

Terminal Part Information

  • Terminal/Tray: 12077411/2
  • Core/Insulation Crimp: 2/5
  • Release Tool/Test Probe: 12094430/J-35616-4A (PU)

Knock Sensor (KS) (LAT/LE5)

Pin

Wire

Circuit

Function

A

0.5 D-BU

496

Knock Sensor 1 Signal

B

0.5 GY

1716

Low Reference

Knock Sensor 1 (LCS/LZ4)


Object Number: 1232999  Size: CH

Connector Part Information

  • OEM: 15374222
  • Service: See Catalog
  • Description: 2-Way F 2.8, Sealed (BK)

Terminal Part Information

  • Terminal/Tray: See Terminal Repair Kit
  • Core/Insulation Crimp: See Terminal Repair Kit
  • Release Tool/Test Probe: See Terminal Repair Kit

Knock Sensor 1 (LCS/LZ4)

Pin

Wire

Circuit

Function

A

0.5 D-BU

496

Knock Sensor 1 Signal

B

0.5 GY

1716

Low Reference

Knock Sensor 1 (LY7)


Object Number: 784092  Size: CH

Connector Part Information

  • OEM: 15339756
  • Service: 88988963
  • Description: 2-Way F 2.8, Sealed (BK)

Terminal Part Information

  • Terminal/Tray: 1928498054/8
  • Core/Insulation Crimp: E/1
  • Release Tool/Test Probe: J-38125-561/J-35616-35 (VT)

Knock Sensor 1 (LY7)

Pin

Wire

Circuit

Function

1

0.5 D-BU

496

Knock Sensor 1 Signal

2

0.5 GY

1716

Low Reference

Knock Sensor 2 (LCS/LZ4)


Object Number: 1232999  Size: CH

Connector Part Information

  • OEM: 15374222
  • Service: See Catalog
  • Description: 2-Way F 2.8, Sealed (BK)

Terminal Part Information

  • Terminal/Tray: See Terminal Repair Kit
  • Core/Insulation Crimp: See Terminal Repair Kit
  • Release Tool/Test Probe: See Terminal Repair Kit

Knock Sensor 2 (LCS/LZ4)

Pin

Wire

Circuit

Function

A

0.5 L-BU

1876

Knock Sensor 2 Signal

B

0.5 GY

2303

Low Reference

Knock Sensor 2 (LY7)


Object Number: 784092  Size: CH

Connector Part Information

  • OEM: 15339756
  • Service: 88988963
  • Description: 2-Way F 2.8, Sealed (BK)

Terminal Part Information

  • Terminal/Tray: 1928498054/8
  • Core/Insulation Crimp: E/1
  • Release Tool/Test Probe: J-38125-561/J-35616-35 (VT)

Knock Sensor 2 (LY7)

Pin

Wire

Circuit

Function

1

0.5 L-BU

1876

Knock Sensor 2 Signal

2

0.5 GY

2303

Low Reference

License Lamp - Left


Object Number: 1847568  Size: CH

Connector Part Information

  • OEM: 15450289
  • Service: See Catalog
  • Description: 2-Way F 090 II (WH)

Terminal Part Information

  • Pins: 1- 2
  • Terminal/Tray: 368083-1/26
  • Core/Insulation Crimp: Pins 1-2
  • Release Tool/Test Probe: 15315247/J-35616-18 (BK)

License Lamp - Left

Pin

Wire

Circuit

Function

1

0.5 WH

709

Park Lamp Supply Voltage

2

0.5 BK

650

Ground

License Lamp - Right


Object Number: 1847568  Size: CH

Connector Part Information

  • OEM: 15450289
  • Service: See Catalog
  • Description: 2-Way F 090 II (WH)

Terminal Part Information

  • Pins: 1- 2
  • Terminal/Tray: 368083-1/26
  • Core/Insulation Crimp: Pins 1-2
  • Release Tool/Test Probe: 15315247/J-35616-18 (BK)

License Lamp - Right

Pin

Wire

Circuit

Function

1

0.5 WH

709

Park Lamp Supply Voltage

2

0.5 BK

650

Ground

Liftgate Latch Assembly


Object Number: 1626671  Size: CH

Connector Part Information

  • OEM: 15476199
  • Service: 88988358
  • Description: 6-Way F GT 280 Series, Sealed (GN)

Terminal Part Information

  • Terminal/Tray: 15304719/19
  • Core/Insulation Crimp: E/5
  • Release Tool/Test Probe: 15315247/J-35616-4A (PU)

Liftgate Latch Assembly

Pin

Wire

Circuit

Function

1

0.5 L-BU

6128

Rear Closure Unlatch Motor Unlatch Control

2

--

--

Not Used

3

0.5 BK

650

Ground

4

--

--

Not Used

5

0.5 BK

650

Ground

6

0.35 PK/BK

1303

Liftgate Ajar Switch Signal

Liftgate Release Switch


Object Number: 35441  Size: CH

Connector Part Information

  • OEM: 12047663
  • Service: 12085481
  • Description: 2-Way M Metri-Pack 150 Series (BK)

Terminal Part Information

  • Terminal/Tray: 12047581/2
  • Core/Insulation Crimp: E/C
  • Release Tool/Test Probe: 12094429/J-35616-3 (GY)

Liftgate Release Switch

Pin

Wire

Circuit

Function

A

0.35 BK

650

Ground

B

0.35 D-GN

6127

Liftgate Unlatch Switch Signal

Manifold Absolute Pressure (MAP) Sensor (without LCS)


Object Number: 1331443  Size: CH

Connector Part Information

  • OEM: 15365614
  • Service: 88988583
  • Description: 3-Way F Compact 2.8 Series, Sealed (BK)

Terminal Part Information

  • Terminal/Tray: 1928498056/8
  • Core/Insulation Crimp: E/1
  • Release Tool/Test Probe: J-38125-561/J-35616-35 (VT)

Manifold Absolute Pressure (MAP) Sensor

Pin

Wire

Circuit

Function

1

0.5 GY

2704

5-Volt Reference

2

0.5 OG/BK

469

Low Reference

3

0.5 L-GN

432

MAP Sensor Signal

Marker Lamp - Left Front


Object Number: 1527729  Size: CH

Connector Part Information

  • OEM: 15419715
  • Service: 88988313
  • Description: 2-Way F GT 150 Series Sealed (GY)

Terminal Part Information

  • Terminal/Tray: 12191819/8
  • Core/Insulation Crimp: E/A
  • Release Tool/Test Probe: 15315247/J-35616-2A (GY)

Marker Lamp - Left Front

Pin

Wire

Circuit

Function

A

0.5 PU

709

Left Park Lamp Supply Voltage

B

0.5 BK

150

Ground

Marker Lamp - Left Rear


Object Number: 1527729  Size: CH

Connector Part Information

  • OEM: 15419715
  • Service: 88988313
  • Description: 2-Way F GT 150 Series Sealed (GY)

Terminal Part Information

  • Terminal/Tray: 12191819/8
  • Core/Insulation Crimp: E/A
  • Release Tool/Test Probe: 15315247/J-35616-2A (GY)

Marker Lamp - Left Rear

Pin

Wire

Circuit

Function

A

0.5 PU

709

Left Park Lamp Supply Voltage

B

0.5 BK

550

Ground

Marker Lamp - Right Front


Object Number: 1527729  Size: CH

Connector Part Information

  • OEM: 15419715
  • Service: 88988313
  • Description: 2-Way F GT 150 Series Sealed (GY)

Terminal Part Information

  • Terminal/Tray: 12191819/8
  • Core/Insulation Crimp: E/A
  • Release Tool/Test Probe: 15315247/J-35616-2A (GY)

Marker Lamp - Right Front

Pin

Wire

Circuit

Function

A

0.5 BN/WH

309

Right Park Lamp Supply Voltage

B

0.5 BK

150

Ground

Marker Lamp - Right Rear


Object Number: 1527729  Size: CH

Connector Part Information

  • OEM: 15419715
  • Service: 88988313
  • Description: 2-Way F GT 150 Series Sealed (GY)

Terminal Part Information

  • Terminal/Tray: 12191819/8
  • Core/Insulation Crimp: E/A
  • Release Tool/Test Probe: 15315247/J-35616-2A (GY)

Marker Lamp - Right Rear

Pin

Wire

Circuit

Function

A

0.5 BN/WH

309

Right Park Lamp Supply Voltage

B

0.5 BK

550

Ground

Mass Air Flow (MAF)/Intake Air Temperature (IAT) Sensor (LAT/LE5)


Object Number: 647974  Size: CH

Connector Part Information

  • OEM: 15326822
  • Service: 19151498
  • Description: 5-Way F GT 150 Series Sealed 4.0 (BK)

Terminal Part Information

  • Terminal/Tray: 12191819/8
  • Core/Insulation Crimp: E/A
  • Release Tool/Test Probe: 15315247/J-35616-2A (GY)

Mass Air Flow (MAF)/Intake Air Temperature (IAT) Sensor (LAT/LE5)

Pin

Wire

Circuit

Function

A

0.5 YE

492

MAF Sensor Signal

B

0.5 BK/WH

251

Ground

C

0.5 PK/BK

5293

Powertrain Main Relay Fused Supply (3)

D

0.5 TN

2760

Low Reference

E

0.5 L-BU

6289

Induction Air Temperature Sensor Signal

Mass Air Flow (MAF)/Intake Air Temperature (IAT) Sensor (LCS/LY7/LZ4)


Object Number: 684983  Size: CH

Connector Part Information

  • OEM: 13520906
  • Service: 19151493
  • Description: 5-Way F GT 150 Series, Sealed 4.0 (BK)

Terminal Part Information

  • Terminal/Tray: 12191819/8
  • Core/Insulation Crimp: E/A
  • Release Tool/Test Probe: 15315247/J-35616-2A (GY)

Mass Air Flow (MAF)/Intake Air Temperature (IAT) Sensor (LCS/LY7/LZ4)

Pin

Wire

Circuit

Function

A

0.5 YE

492

MAF Sensor Signal

B

0.5 PK/BK

5293

Powertrain Main Relay Fused Supply (3)

C

0.5 BK/WH

251

Ground

D

0.5 L-BU

6289

Induction Air Temperature Sensor Signal

E

0.5 TN

2760

Low Reference

Mode Actuator


Object Number: 258172  Size: CH

Connector Part Information

  • OEM: 12064982
  • Service: 12064982
  • Description: 5-Way F Micro-Pack 150 Series (BK)

Terminal Part Information

  • Terminal/Tray: 12146447/3
  • Core/Insulation Crimp: E/C
  • Release Tool/Test Probe: 12031876-1/J35616-6 (BN)

Mode Actuator

Pin

Wire

Circuit

Function

1

0.35 YE

1791

Low Reference

2

0.35 L-GN

2275

Mode Door Position Signal

3

0.35 GY

598

5-Volt Reference

4

0.5 D-GN

119

Ignition 3 Voltage

5

0.5 BN

2273

Mode Door Control

Multifunction Switch - I/P


Object Number: 850856  Size: CH

Connector Part Information

  • OEM: 15394150
  • Service: 15394150
  • Description: 16-Way F Micro-Pack 064 Series (BK)

Terminal Part Information

  • Terminal/Tray: 15359541/4
  • Core/Insulation Crimp: M/M
  • Release Tool/Test Probe: 15381651-2/J-35616-64B (L-BU)

Multifunction Switch - I/P

Pin

Wire

Circuit

Function

1

0.35 PU/WH

1491

LED Dimming Signal/LED Dimming Supply

2

0.5 RD/WH

1940

Battery Positive Voltage

3

0.35 YE

1491

Backlight Lamps Control

4

--

--

Not Used

5

0.35 L-BU

1788

Traction Control Switch Signal

6

--

--

Not Used

7

0.35 TN

2144

Hazard Switch Signal

8

0.35 YE

18

Left Rear Stop/Turn Lamp Supply Voltage

9

0.35 PK

139

Ignition 1 Voltage

10

0.35 YE

749

Security Indicator Control

11

0.35 BN

4

Accessory Voltage

12

0.35 D-GN

2308

Passenger Air Bag Off Indicator Control

13

0.35 D-BU

2307

Passenger Air Bag On Indicator Control

14

0.35 PU

5234

Passenger Seat Belt Indicator

15

0.35 GY

391

Rear Window Wiper Switch Signal

16

0.35 BK

350

Ground

Onstar Button Assembly (UE1)


Object Number: 62439  Size: CH

Connector Part Information

  • OEM: 12047886
  • Service: 12101822
  • Description: 8-Way F Metri-Pack 150 Series (BK)

Terminal Part Information

  • Terminal/Tray: 12064971/5
  • Core/Insulation Crimp: E/C
  • Release Tool/Test Probe: 12094429/J-35616-14 (GN)

Onstar Button Assembly (UE1)

Pin

Wire

Circuit

Function

A

0.35 L-GN/BK

2515

5-Volt Reference

B

0.35 D-GN/WH

2514

Keypad Signal

C-D

--

--

Not Used

E

0.35 BK

650

Ground

F

0.35 YE/BK

2516

Keypad Green LED Signal

G

0.35 BN/WH

2517

Keypad Red LED Signal

H

--

--

Not Used

Outside Rearview Mirror - Driver (DG7)


Object Number: 1471691  Size: CH

Connector Part Information

  • OEM: 10722617
  • Service: 15775804
  • Description: 12-Way F 040 Multi-Lock (BK)

Terminal Part Information

  • Pins: 4-6, 10-11
  • Terminal/Tray: 173681-2/17
  • Core/Insulation Crimp: E/4
  • Release Tool/Test Probe: 15315247/J-35616-16 (L-GN)

Outside Rearview Mirror - Driver (DG7)

Pin

Wire

Circuit

Function

1-3

--

--

Not Used

4

0.35 WH

81

Driver Mirror Motor Right Control

5

0.35 YE

1496

Mirror Motor Right/Up Control

6

0.35 L-GN

89

Driver Mirror Motor Down Control

7-9

--

--

Not Used

10

0.35 OG

267

Heated Mirror

11

0.35 BK

450

Ground

12

--

--

Not Used

Outside Rearview Mirror - Passenger (DG7)


Object Number: 1471691  Size: CH

Connector Part Information

  • OEM: 10722617
  • Service: 15775804
  • Description: 12-Way F 040 Multi-Lock (BK)

Terminal Part Information

  • Terminal/Tray: 173681-2/17
  • Core/Insulation Crimp: E/4
  • Release Tool/Test Probe: 15315247/J-35616-16 (L-GN)

Outside Rearview Mirror - Passenger (DG7)

Pin

Wire

Circuit

Function

1-3

--

--

Not Used

4

0.35 OG/WH

881

Passenger Mirror Motor Right Control

5

0.35 L-GN

1499

Driver Mirror Motor Left/Up Control

6

0.35 PU/WH

889

Passenger Mirror Motor Down Control

7-9

--

--

Not Used

10

0.35 BK

450

Ground

9

0.35 OG

267

Heated Mirror

12

--

--

Not Used

Outside Rearview Mirror Switch (DG7)


Object Number: 1835132  Size: CH

Connector Part Information

  • OEM: 13513470
  • Service: See Catalog
  • Description: 8-Way F Micro-Pack HVT Series (BK)

Terminal Part Information

  • Terminal/Tray: 15445905/23
  • Core/Insulation Crimp: J/J
  • Release Tool/Test Probe: 12180559/J-35616-16 (L-GN)

Outside Rearview Mirror Switch (DG7)

Pin

Wire

Circuit

Function

1

0.5 BK

450

Ground

2

0.35 YE

1491

Backlight Lamps Control

3

0.5 YE

343

Accessory Voltage

4

0.35 YE

1496

Mirror Motor Right/Up Control

5

0.35 WH

81

Driver Mirror Motor Right Control

6

0.35 PU/WH

889

Passenger Mirror Motor Down Control

7

0.35 L-GN

89

Driver Mirror Motor Down Control

8

0.35 OG/WH

881

Passenger Mirror Motor Right Control

Park Brake Switch


Object Number: 1385747  Size: CH

Connector Part Information

  • OEM: 15326871
  • Service: See Catalog
  • Description: 2-Way F GT 280 Series (BK)

Terminal Part Information

  • Terminal/Tray: 15304711/8
  • Core/Insulation Crimp: E/A
  • Release Tool/Test Probe: 15315247/J-35616-4A (PU)

Park Brake Switch

Pin

Wire

Circuit

Function

A

0.35 BK

450

Ground

B

0.35 L-BU

1134

Park Brake Switch Signal (Park Brake Systems Only)

Park/Neutral Position (PNP) Switch (ME7)


Object Number: 1256394  Size: CH

Connector Part Information

  • OEM: 15419116
  • Service: See Catalog
  • Description: 12-Way F GT 150 Series Sealed (N/A)

Terminal Part Information

  • Terminal/Tray: 12191819/8
  • Core/Insulation Crimp: E/A
  • Release Tool/Test Probe: 15315247/J-35616-2A (GY)

Park/Neutral Position (PNP) Switch (ME7)

Pin

Wire

Circuit

Function

1

0.35 BK/WH

251

Ground

2

0.35 WH

776

Transmission Range Switch Signal P

3-7

--

--

Not Used

8

0.35 YE

772

Transmission Range Switch Signal B

9

0.35 TN/WH

771

Transmission Range Switch Signal A

10

0.35 GY

773

Transmission Range Switch Signal C

11

0.35 BK/WH

251

Ground

12

0.5 OG/BK

1786

Ignition Lock Cylinder Control Actuator Signal

Park/Neutral Position (PNP) Switch (MN5)


Object Number: 1256394  Size: CH

Connector Part Information

  • OEM: 15416724
  • Service: See Catalog
  • Description: 12-Way F GT 150 Series Sealed (N/A)

Terminal Part Information

  • Terminal/Tray: 12191819/8
  • Core/Insulation Crimp: E/A
  • Release Tool/Test Probe: 15315247/J-35616-2A (GY)

Park/Neutral Position (PNP) Switch (MN5)

Pin

Wire

Circuit

Function

1

--

--

Not Used

2

0.35 WH

776

Transmission Range Switch Signal P

3-6

--

--

Not Used

7

0.5 OG/BK

1786

Ignition Lock Cylinder Control Actuator Signal

8

0.35 YE

772

Transmission Range Switch Signal B

9

0.35 TN/WH

771

Transmission Range Switch Signal A

10

0.35 GY

773

Transmission Range Switch Signal C

11

0.35 BK/WH

251

Ground

12

--

--

Not Used

Park/Turn Signal Lamp - Left Front


Object Number: 1860942  Size: CH

Connector Part Information

  • OEM: 13511131
  • Service: See Catalog
  • Description: 3-Way F GT 150 Series, Sealed (BK)

Terminal Part Information

  • Terminal/Tray: 12191819/8
  • Core/Insulation Crimp: E/A
  • Release Tool/Test Probe: 15315247/J-35616-2A (GY)

Park/Turn Signal Lamp - Left Front

Pin

Wire

Circuit

Function

1

0.5 BK/WH

150

Ground

2

0.5 BN/WH

709

Left Park Lamp Supply Voltage

3

0.5 D-BU/WH

1314

Left Front Turn Signal Lamp Supply Voltage

Park/Turn Signal Lamp - Right Front


Object Number: 1860942  Size: CH

Connector Part Information

  • OEM: 13511131
  • Service: See Catalog
  • Description: 3-Way F GT 150 Series, Sealed (BK)

Terminal Part Information

  • Terminal/Tray: 12191819/8
  • Core/Insulation Crimp: E/A
  • Release Tool/Test Probe: 15315247/J-35616-2A (GY)

Park/Turn Signal Lamp - Right Front

Pin

Wire

Circuit

Function

1

0.5 BK

151

Ground

2

0.5 PU

309

Right Park Lamp Supply Voltage

3

0.5 L-BU/WH

1315

Right Front Turn Signal Lamp Supply Voltage

Pressure Control (PC) Solenoid Valve


Object Number: 1910666  Size: CH

Connector Part Information

  • OEM: 15466861
  • Service: See Catalog
  • Description: 2-Way F Metri-Pack 150.2 Series (GY)

Terminal Part Information

  • Terminal/Tray: See Terminal Repair Kit
  • Core/Insulation Crimp: See Terminal Repair Kit
  • Release Tool/Test Probe: See Terminal Repair Kit

Pressure Control (PC) Solenoid Valve

Pin

Wire

Circuit

Function

A

0.5 PU

1228

PC Solenoid Valve High Control (Sol. A)

B

0.5 L-BU

1229

PC Solenoid Valve Low Control (Sol. A)

Radio Antenna


Object Number: 1850607  Size: CH

Connector Part Information

  • OEM: GT13GM-1/1S-HU
  • Service: See Catalog
  • Description: 3-Way M GT13 Coaxial Series (WH)

Terminal Part Information

  • Terminal/Tray: See Terminal Repair Kit
  • Core/Insulation Crimp: See Terminal Repair Kit
  • Release Tool/Test Probe: See Terminal Repair Kit

Radio Antenna

Pin

Wire

Circuit

Function

1

0.35 RD

7066

Entertainment Remote Enable Signal

C

--

--

Coax

S

--

--

Not Used

Radio X1


Object Number: 1673491  Size: CH

Connector Part Information

  • OEM: 15488568
  • Service: 88988743
  • Description: 14-Way F GT 150 Micro 64 Series (BK)

Terminal Part Information

  • Pins: 1, 8
  • Terminal/Tray: 12191812/19
  • Core/Insulation Crimp: C/A
  • Release Tool/Test Probe: 15315247/J-35616-2A (GY)
  • Pins: 2-7, 9-11, 13
  • Terminal/Tray: 15359541/4
  • Core/Insulation Crimp: M/M
  • Release Tool/Test Probe: 15381651-2/J-35616-64B (L-BU)

Radio X1

Pin

Wire

Circuit

Function

1

1 RD/WH

2540

Battery Positive Voltage

2

0.8 TN

201

Left Front Speaker Output (+) (UW6)

2

0.8 TN

511

Left Front Speaker Output (+) (U61)

3

0.8 L-GN

200

Right Front Speaker Output (+) (UW6)

3

0.8 L-GN

512

Right Front Speaker Output (+) (U61)

4

0.35 PK

5149

Voice Recognition Audio Signal (U3U)

5

0.35 PK/BK

5152

Voice Recognition Audio Low Reference (U3U)

6

0.35 WH

7066

Entertainment Remote Enable Signal (U61)

7

0.35 YE

1491

Backlight Lamps Control

8

1 BK/WH

451

Ground

9

0.8 GY

118

Left Front Speaker Output (-) (UW6)

9

0.5 D-GN

1947

Left Front Low Level Audio Signal (-) (U61)

10

0.8 D-GN

117

Right Front Speaker Output (-) (UW6)

10

0.5 L-GN

1948

Right Front Low Level Audio Signal (-) (U61)

11

0.5 Bare

2011

Shield (U61)

12

--

--

Not Used

13

0.5 D-GN

5060

Low Speed GMLAN Serial Data

14

--

--

Not Used

Radio X2


Object Number: 1962086  Size: CH

Connector Part Information

  • OEM: 15486792
  • Service: See Catalog
  • Description: 16-Way F Micro-Pack HVT Series (BK)

Terminal Part Information

  • Pins: 1-3, 5-10, 13-15
  • Terminal/Tray: 15445905/23
  • Core/Insulation Crimp: Pins 1-3, 5-10, 13-15 - J/J
  • Core/Insulation Crimp: Pins 5-6, 13-14 - K/K
  • Release Tool/Test Probe: 12180559/J-35616-16 (L-GN)

Radio X2

Pin

Wire

Circuit

Function

1

0.35 BN/WH

367

Left Audio Signal (+) (U2K)

2

0.35 D-GN/WH

368

Right Audio Signal (+) (U2K)

3

0.35 Bare

2099

Drain Wire (U61)

4

--

--

Not Used

5

0.8 BN

199

Left Rear Speaker Output (+) (UW6)

5

0.5 BN/WH

599

Left Rear Speaker Output (+) (U61)

6

0.8 D-BU

46

Right Rear Speaker Output (+) (UW6)

6

0.5 D-BU

546

Right Rear Speaker Output (+) (U61)

7

0.35 D-BU

658

Cellular Telephone Voice Signal (UE1)

8

0.35 OG

6978

Audio Amplifier Enable (U61)

9

0.35 TN/WH

372

Remote Radio Audio Output (-) (U2K)

10

0.35 GY

388

Remote Radio Right Audio Signal (U2K)

11-12

--

--

Not Used

13

0.8 YE

116

Left Rear Speaker Output (-) (UW6)

13

0.5 BN

1999

Left Rear Speaker Output (-) (U61)

14

0.8 L-BU

115

Right Rear Speaker Output (-) (UW6)

14

0.5 TN

1946

Right Rear Speaker Output (-) (U61)

15

0.35 L-BU/BK

659

Cellular Telephone Voice Low Reference (UE1)

16

--

--

Not Used

Radio X4 (U3U)


Object Number: 1962089  Size: CH

Connector Part Information

  • OEM: 15486794
  • Service: See Catalog
  • Description: 16-Way F Micro-Pack HVT Series (BN)

Terminal Part Information

  • Terminal/Tray: 15445905/23
  • Core/Insulation Crimp: J/J
  • Release Tool/Test Probe: 12180559/J-35616-16 (L-GN)

Radio X4 (U3U)

Pin

Wire

Circuit

Function

1-4

--

--

Not Used

5

0.5 D-GN/WH

817

Vehicle Speed Signal

6-16

--

--

Not Used

Rear Compartment Courtesy Lamp - Left


Object Number: 1892155  Size: CH

Connector Part Information

  • OEM: 13593045
  • Service: See Catalog
  • Description: 2-Way F 250 (GY)

Terminal Part Information

  • Terminal/Tray: See Terminal Repair Kit
  • Core/Insulation Crimp: See Terminal Repair Kit
  • Release Tool/Test Probe: See Terminal Repair Kit

Rear Compartment Courtesy Lamp - Left

Pin

Wire

Circuit

Function

1

0.5 BK

650

Ground

2

0.5 GY/BK

690

Courtesy Lamp Supply Voltage

Rear Compartment Courtesy Lamp - Right


Object Number: 1892155  Size: CH

Connector Part Information

  • OEM: 13593045
  • Service: See Catalog
  • Description: 2-Way F 250 (GY)

Terminal Part Information

  • Terminal/Tray: See Terminal Repair Kit
  • Core/Insulation Crimp: See Terminal Repair Kit
  • Release Tool/Test Probe: See Terminal Repair Kit

Rear Compartment Courtesy Lamp - Right

Pin

Wire

Circuit

Function

1

0.5 BK

550

Ground

2

0.5 GY/BK

690

Courtesy Lamp Supply Voltage

Rear Differential Clutch Control Module X1 (AWD)


Object Number: 1845114  Size: CH

Connector Part Information

  • OEM: 13509360
  • Service: See Catalog
  • Description: 10-Way F Kaizen 0.64 Series, Sealed (BK)

Terminal Part Information

  • Pins: 3, 5-6, 8-9
  • Terminal/Tray: 7116-4618-02/14
  • Core/Insulation Crimp: P/P
  • Release Tool/Test Probe: J-38125-215A/J-35616-64B (L-BU)

Rear Differential Clutch Control Module X1 (AWD)

Pin

Wire

Circuit

Function

1-2

--

--

Not Used

3

0.5 BK

550

Ground

4

--

--

Not Used

5

0.5 L-BU

5986

Serial Data Communication Enable

6

0.5 RD/WH

2140

Battery Positive Voltage

7

--

--

Not Used

8

0.5 TN

2501

High Speed GMLAN Serial Data Bus-

9

0.5 TN/BK

2500

High Speed GMLAN Serial Data Bus+

10

--

--

Not Used

Rear Differential Clutch Control Module X2 (AWD)


Object Number: 1861930  Size: CH

Connector Part Information

  • OEM: PE130414
  • Service: See Catalog
  • Description: 5-Way F Kaizen 0.64 Series, Sealed (BK)

Terminal Part Information

  • Terminal/Tray: See Terminal Repair Kit
  • Core/Insulation Crimp: See Terminal Repair Kit
  • Release Tool/Test Probe: See Terminal Repair Kit

Rear Differential Clutch Control Module X2 (AWD)

Pin

Wire

Circuit

Function

1

--

--

Not Used

2

0.5 L-BU

5095

Coil Temperature Sensor Signal

3

0.5 TN

1569

Lock Solenoid Control

4

0.5 D-BU

5094

Low Reference

5

0.5 OG

1568

Diagnostic Enable

Rear Wheel Drive Module Clutch (AWD)


Object Number: 2002691  Size: CH

Connector Part Information

  • OEM: 10756588
  • Service: See Catalog
  • Description: 4-Way F 5.8 Timer 9.5 Series Sealed(WH)

Terminal Part Information

  • Terminal/Tray: See Terminal Repair Kit
  • Core/Insulation Crimp: See Terminal Repair Kit
  • Release Tool/Test Probe: See Terminal Repair Kit

Rear Wheel Drive Module Clutch (AWD)

Pin

Wire

Circuit

Function

1

0.5 TN

1569

Lock Solenoid Control

2

0.5 OG

1568

Diagnostic Enable

3

0.5 D-BU

5094

Low Reference

4

0.5 L-BU

5095

Coil Temperature Sensor Signal

Rear Window Defogger Grid X1


Object Number: 365953  Size: CH

Connector Part Information

  • OEM: 12092133
  • Service: 12167133
  • Description: 1-Way F Metri-Pack 630 Series Self Lock (BK)

Terminal Part Information

  • Terminal/Tray: 12034110/18
  • Core/Insulation Crimp: B/G
  • Release Tool/Test Probe: 12094430/J-35616-42 (RD)

Rear Window Defogger Grid X1

Pin

Wire

Circuit

Function

A

2 PU

293

Rear Defog Element Supply Voltage

Rear Window Defogger Grid X2


Object Number: 365953  Size: CH

Connector Part Information

  • OEM: 12092133
  • Service: 12167133
  • Description: 1-Way F Metri-Pack 630 Series Self Lock (BK)

Terminal Part Information

  • Terminal/Tray: 12034110/18
  • Core/Insulation Crimp: B/G
  • Release Tool/Test Probe: 12094430/J-35616-42 (RD)

Rear Window Defogger Grid X2

Pin

Wire

Circuit

Function

A

2 BK

650

Ground

Rear Window Wiper/Washer Module


Object Number: 1962081  Size: CH

Connector Part Information

  • OEM: 936230-1
  • Service: See Catalog
  • Description: 6-Way F 090 II Series (NA)

Terminal Part Information

  • Terminal/Tray: See Terminal Repair Kit
  • Core/Insulation Crimp: See Terminal Repair Kit
  • Release Tool/Test Probe: See Terminal Repair Kit

Rear Window Wiper/Washer Module

Pin

Wire

Circuit

Function

1

0.35 GY

391

Rear Window Wiper Switch Signal

2

--

--

Not Used

3

0.35 PK/BK

1303

Liftgate Ajar Switch Signal

4

1 BK

650

Ground

5

1 RD/WH

2240

Battery Positive Voltage

6

0.8 D-GN

392

Rear Window Washer Pump Control

Recirculation Actuator


Object Number: 258172  Size: CH

Connector Part Information

  • OEM: 12064982
  • Service: 12064982
  • Description: 5-Way F Micro-Pack 100 Series (BK)

Terminal Part Information

  • Terminal/Tray: 12146447/3
  • Core/Insulation Crimp: E/C
  • Release Tool/Test Probe: 12031876-1/J-35616-6 (BN)

Recirculation Actuator

Pin

Wire

Circuit

Function

1

0.35 YE

1791

Low Reference

2

0.35 PU

1838

Recirculation Door Position Signal

3

0.35 GY

598

5-Volt Reference

4

0.5 D-GN

2274

Recirculation Door Control A

5

0.5 D-GN

1614

Recirculation Door Control B

Remote Control Door Lock Receiver (RCDLR) (AP3)


Object Number: 1673483  Size: CH

Connector Part Information

  • OEM: 15462684
  • Service: 88988745
  • Description: 4-Way F ILAG5 Series (GN)

Terminal Part Information

  • Terminal/Tray: IL-AG5-C1-5000/20
  • Core/Insulation Crimp: J/J
  • Release Tool/Test Probe: J-38125-211/J-35616-64B (L-BU)

Remote Control Door Lock Receiver (RCDLR) (AP3)

Pin

Wire

Circuit

Function

1

0.5 RD/WH

1940

Battery Positive Voltage

2

0.5 D-GN

5060

Low Speed GMLAN Serial Data

3

--

--

Not Used

4

0.5 BK

350

Ground

Seat Adjuster Motor Assembly - Driver (AE8)


Object Number: 1519696  Size: CH

Connector Part Information

  • OEM: 15326924
  • Service: See Catalog
  • Description: 6-Way F GT 280 Series (BK)

Seat Adjuster Motor Assembly - Driver (AE8)

Pin

Wire

Circuit

Function

1

3 PU

285

Seat Horizontal Forward Control

2

3 L-GN

284

Seat Horizontal Rearward Control

3

3 L-BU

286

Seat Front Vertical Up Control

4

3 L-GN

287

Seat Front Vertical Down Control

5

3 BN

282

Seat Rear Vertical Up Control

6

3 GY

283

Seat Rear Vertical Down Control

Seat Adjuster Switch - Driver (AE8)


Object Number: 623046  Size: CH

Connector Part Information

  • OEM: 15326931
  • Service: See Catalog
  • Description: 10-Way F GT 280 Series (BK)

Seat Adjuster Switch - Driver (AE8)

Pin

Wire

Circuit

Function

A

3 BN

440

Battery Positive Voltage

B

3 BK/WH

650

Ground

C

3 GY

283

Seat Rear Vertical Down Control

D

3 L-BU

284

Seat Horizontal Rearward Control

E

3 RD/WH

285

Seat Horizontal Forward Control

F

3 PU

286

Seat Front Vertical Up Control

G

3 BN/BK

287

Seat Front Vertical Down Control

H

2 L-GN/RD

450

Ground

J

3 D-GN/WH

277

Seat Recline Down Control

K

3 L-GN

276

Seat Recline Up Control

Seat Belt Buckle Pretensioner - Driver


Object Number: 878490  Size: CH

Connector Part Information

  • OEM: 54550266
  • Service: See Catalog
  • Description: 2-Way F 1.5 (BK)

Terminal Part Information

  • Terminal/Tray: 1411560-2/25
  • Core/Insulation Crimp: E/C
  • Release Tool/Test Probe: 12094429/J-35616-64B (L-BU)

Seat Belt Buckle Pretensioner - Driver

Pin

Wire

Circuit

Function

1

0.5 OG/BK

2119

Seat Belt Pretensioner - Left - Low Control

2

0.5 TN/WH

2118

Seat Belt Pretensioner - Left - High Control

Seat Belt Buckle Pretensioner - Passenger (-APL)


Object Number: 878490  Size: CH

Connector Part Information

  • OEM: 54550266
  • Service: See Catalog
  • Description: 2-Way F 1.5 (BK)

Terminal Part Information

  • Terminal/Tray: 1411560-2/25
  • Core/Insulation Crimp: E/C
  • Release Tool/Test Probe: 12094429/J-35616-64B (L-BU)

Seat Belt Buckle Pretensioner - Passenger (-APL)

Pin

Wire

Circuit

Function

1

0.5 OG

2117

Seat Belt Pretensioner - Right - Low Control

2

0.5 L-GN

2116

Seat Belt Pretensioner - Right - High Control

Seat Belt Retractor Pretensioner - Driver


Object Number: 2177025  Size: CH

Connector Part Information

  • OEM: 1393429-3
  • Service: See Catalog
  • Description: 2-Way F 1.5 (BK)

Terminal Part Information

  • Terminal/Tray: 1411560-2/25
  • Core/Insulation Crimp: E/C
  • Release Tool/Test Probe: 12094429/J-35616-64B (L-BU)

Seat Belt Retractor Pretensioner - Driver

Pin

Wire

Circuit

Function

1

0.5 PU/OG

7379

Seat Belt Retractor Pretensioner - Left - Low Control

2

0.5 PU

7380

Seat Belt Retractor Pretensioner - Right - High Control

Seat Belt Retractor Pretensioner - Passenger (-APL)


Object Number: 2177025  Size: CH

Connector Part Information

  • OEM: 1393429-3
  • Service: See Catalog
  • Description: 2-Way F 1.5 (BK)

Terminal Part Information

  • Terminal/Tray: 1411560-2/25
  • Core/Insulation Crimp: E/C
  • Release Tool/Test Probe: 12094429/J-35616-64B (L-BU)

Seat Belt Retractor Pretensioner - Passenger (-APL)

Pin

Wire

Circuit

Function

1

0.5 OG/GN

7377

Seat Belt Retractor Pretensioner - Right - Low Control

2

0.5 GN

7378

Seat Belt Retractor Pretensioner - Right - High Control

Seat Belt Switch - Driver


Object Number: 1664592  Size: CH

Connector Part Information

  • OEM: 13517842
  • Service: 12117275
  • Description: 2-Way M Metri-Pack 150 Series (GN)

Terminal Part Information

  • Terminal/Tray: 12047581/2
  • Core/Insulation Crimp: E/C
  • Release Tool/Test Probe: 12094429/J-35616-3 (GY)

Seat Belt Switch - Driver

Pin

Wire

Circuit

Function

1

0.5 TN/WH

238

Seat Belt Switch - Left - Signal

2

0.5 PK

5057

Low Reference

Seat Belt Switch - Passenger (without APL)


Object Number: 2177025  Size: CH

Connector Part Information

  • OEM: 1393429-3
  • Service: 12117275
  • Description: 2-Way M Metri-Pack 150 Series (BK)

Terminal Part Information

  • Terminal/Tray: 12047581/2
  • Core/Insulation Crimp: E/C
  • Release Tool/Test Probe: 12094429/J-35616-3 (GY)

Seat Belt Switch - Passenger (without APL)

Pin

Wire

Circuit

Function

1

0.5 OG

1362

Seat Belt Switch - Right - Signal

2

0.5 PK

5057

Low Reference

Seat Belt Tension Sensor (without APL)


Object Number: 2177024  Size: CH

Connector Part Information

  • OEM: 13612233
  • Service: See Catalog
  • Description: 4-Way M (WH)

Terminal Part Information

  • Terminal/Tray: 1411560-2/25
  • Core/Insulation Crimp: E/C
  • Release Tool/Test Probe: 12094429/J-35616-64B (L-BU)

Seat Belt Tension Sensor (without APL)

Pin

Wire

Circuit

Function

1

0.5 BK/WH

851

Ground

2

0.5 PU

5611

Seat Belt Tension Sensor Signal

3

0.5 L-BU

5612

5-Volt

4

--

--

Not Used

Seat Recline Motor - Driver (AE8)


Object Number: 797847  Size: CH

Connector Part Information

  • OEM: MG610043
  • Service: See Catalog
  • Description: 2-Way F GT 280 Series (BK)

Seat Recline Motor - Driver (AE8)

Pin

Wire

Circuit

Function

1

2 L-GN/RD

276

Seat Recline Up Control

2

2 BN/BK

277

Seat Recline Down Control

Secondary Air Injection (AIR) Pump (LE5 with NU6)


Object Number: 603213  Size: CH

Connector Part Information

  • OEM: 15326679
  • Service: 88953351
  • Description: 2-Way F GT 280 Series Sealed (BK)

Terminal Part Information

  • Terminal/Tray: 15392777/23
  • Core/Insulation Crimp: B/5
  • Release Tool/Test Probe: J-38125-553/J-35616-4A (PU)

Secondary Air Injection (AIR) Pump (LE5 with NU6)

Pin

Wire

Circuit

Function

A

5 RD

78

Air Pump Supply Voltage

B

5 BK

250

Ground

Secondary Air Injection (AIR) Pump Relay (LE5 with NU6)


Object Number: 603108  Size: CH

Connector Part Information

  • OEM: 15336745
  • Service: 15306331
  • Description: 4-Way F GR 280 Series, Metri-Pack 800 Series, Sealed (GY)

Terminal Part Information

  • Pins: 30, 87
  • Terminal/Tray: 15336748/20
  • Core/Insulation Crimp: F/3
  • Release Tool/Test Probe: 12150860/J-35616-44 (YE)
  • Pins: 85, 86
  • Terminal/Tray: 15304719/19
  • Core/Insulation Crimp: E/5
  • Release Tool/Test Probe: 15315247/J-35616-4A (PU)

Secondary Air Injection (AIR) Pump Relay (LE5 with NU6)

Pin

Wire

Circuit

Function

30

5 OG

1540

Battery Positive Voltage

85

0.35 PK

339

Ignition Voltage

86

0.35 BN

436

Air Pump Relay Control

87

0.35 RD

78

Air Pump Supply Voltage

Secondary Air Injection (AIR) Pump Solenoid Relay (LE5 with NU6)


Object Number: 535912  Size: CH

Connector Part Information

  • OEM: 12129716
  • Service: 15306045
  • Description: 4-Way F Metri-Pack 280 Series, Flexlock Sealed (GY)

Terminal Part Information

  • Terminal/Tray: 12110847/4
  • Core/Insulation Crimp: See Terminal Repair Kit
  • Release Tool/Test Probe: 15315247/J-35616-4A (PU)

Secondary Air Injection (AIR) Pump Solenoid Relay (LE5 with NU6)

Pin

Wire

Circuit

Function

30

0.35 PK

2140

Battery Positive Voltage

85

0.35 PK

2140

Battery Positive Voltage

86

0.35 PU

421

Air Injection Reaction Solenoid Relay Coil Control

87

0.35 PK/BK

415

Air Injection Reaction Solenoid Control

Secondary Air Injection (AIR) Shutoff Valve (LE5 with NU6)


Object Number: 1399241  Size: CH

Connector Part Information

  • OEM: 15443141
  • Service: 88988601
  • Description: 5-Way F GT 150 Series Sealed (BK)

Terminal Part Information

  • Pins: 1-4, 6
  • Terminal/Tray: 12191819/8
  • Core/Insulation Crimp: E/A
  • Release Tool/Test Probe: 15315247/J-35616-2A (GY)

Secondary Air Injection (AIR) Shutoff Valve (LE5 with NU6)

Pin

Wire

Circuit

Function

1

0.5 BK

6452

Low Reference

2

0.5 WH

6331

Air Pressure Sensor Signal

3

0.5 GY

407

5-Volt Reference 1

4

0.35 BK/WH

250

Ground

5

0.5 PU

415

Air Injection Reaction Solenoid Relay Coil Control

Serial Data Gateway (SDG) Module X1 (HP5)


Object Number: 1715223  Size: CH

Connector Part Information

  • OEM: 15126711
  • Service: See Catalog
  • Description: 20-Way F 0.64 Series (BK)

Terminal Part Information

  • Terminal/Tray: 7116-4618-02/14
  • Core/Insulation Crimp: P/P
  • Release Tool/Test Probe: J-38125-215A/J-35616-64B (L-BU)

Serial Data Gateway (SDG) Module X1 (HP5)

Pin

Wire Color

Circuit

Function

1

0.5 D-BU

3424

APM Wake-Up Signal

2

0.5 TN

3425

Wake Up Signal

3-10

--

--

Not Used

11

0.5 L-BU

6106

High Speed GMLAN Serial Data (-) (2)

12

0.5 L-BU

6106

High Speed GMLAN Serial Data (-) (2)

13

0.5 D-BU

6105

High Speed GMLAN Serial Data (+) (2)

14

0.5 D-BU

6105

High Speed GMLAN Serial Data (+) (2)

15

0.5 TN

2501

High Speed GMLAN Serial Data Bus -

16

0.5 TN

2501

High Speed GMLAN Serial Data Bus -

17

0.5 TN/BK

2500

High Speed GMLAN Serial Data Bus +

18

0.5 TN/BK

2500

High Speed GMLAN Serial Data Bus +

19

0.35 D-GN

5060

Low Speed GMLAN Serial Data

20

--

--

Not Used

Serial Data Gateway (SDG) Module X2 (HP5)


Object Number: 1715228  Size: CH

Connector Part Information

  • OEM: 15126710
  • Service: See Catalog
  • Description: 20-Way F USCAR 0.64 Series (GY)

Terminal Part Information

  • Terminal/Tray: 7116-4618-02/14
  • Core/Insulation Crimp: P/P
  • Release Tool/Test Probe: J-38125-215A/J-35616-64B (L-BU)

Serial Data Gateway (SDG) Module X2 (HP5)

Pin

Wire Color

Circuit

Function

1

--

--

Not Used

2

0.35 D-GN

3423

HVCID Sensor Signal - Rear

3

--

--

Not Used

4

0.35 D-BU

3427

HVCID Sensor Signal - Front

5-7

--

--

Not Used

8

0.5 RD/WH

5340

Battery Positive Voltage

9-12

--

--

Not Used

13

0.35 YE/BK

3422

HVCID Sensor Low Reference- Rear

14

--

--

Not Used

15

0.35 L-BU

3426

HVCID Sensor Low Reference - Front

16

0.35 L-BU

5986

Serial Data Communication Enable

17

--

--

Not Used

18

0.5 BK

350

Ground

19

0.35 D-BU

5985

Serial Data Wake-Up Signal

20

0.35 PK

339

Ignition Voltage

Speaker - Center I/P (U61)


Object Number: 280768  Size: CH

Connector Part Information

  • OEM: 12052832
  • Service: 12101825
  • Description: 2-Way F Metri-Pack 150 Series (BK)

Terminal Part Information

  • Terminal/Tray: 12047767/2
  • Core/Insulation Crimp: E/A
  • Release Tool/Test Probe: 12094429/J-35616-14 (GN)

Speaker - Center I/P (U61)

Pin

Wire

Circuit

Function

A

0.8 L-BU

1960

Front Center Speaker Output (-)

B

0.8 YE

1860

Front Center Speaker Output (+)

Speaker - Left Front


Object Number: 280768  Size: CH

Connector Part Information

  • OEM: 12052832
  • Service: 12101825
  • Description: 2-Way F Metri-Pack 150 Series (BK)

Terminal Part Information

  • Terminal/Tray: 12047767/2
  • Core/Insulation Crimp: E/A
  • Release Tool/Test Probe: 12094429/J-35616-14 (GN)

Speaker - Left Front

Pin

Wire

Circuit

Function

A

0.8 GY

118

Left Front Speaker Output (-)

B

0.8 TN

201

Left Front Speaker Output (+)

Speaker - Left Front Tweeter


Object Number: 280768  Size: CH

Connector Part Information

  • OEM: 12052832
  • Service: 12101825
  • Description: 2-Way F Metri-Pack 150 Series (BK)

Terminal Part Information

  • Terminal/Tray: 12047767/2
  • Core/Insulation Crimp: E/A
  • Release Tool/Test Probe: 12094429/J-35616-14 (GN)

Speaker - Left Front Tweeter

Pin

Wire

Circuit

Function

A

0.8 YE

1956

Left Front Tweeter Speaker Output (-)

B

0.8 TN

1856

Left Front Tweeter Speaker Output (+)

Speaker - Left Rear


Object Number: 280768  Size: CH

Connector Part Information

  • OEM: 12052832
  • Service: 12101825
  • Description: 2-Way F Metri-Pack 150 Series (BK)

Terminal Part Information

  • Terminal/Tray: 12047767/2
  • Core/Insulation Crimp: E/A
  • Release Tool/Test Probe: 12094429/J-35616-14 (GN)

Speaker - Left Rear

Pin

Wire

Circuit

Function

A

0.8 YE

116

Left Rear Speaker Output (-)

B

0.8 BN

199

Left Rear Speaker Output (+)

Speaker - Left Rear Tweeter (U61)


Object Number: 280768  Size: CH

Connector Part Information

  • OEM: 12052832
  • Service: 12101825
  • Description: 2-Way F Metri-Pack 150 Series (BK)

Terminal Part Information

  • Terminal/Tray: 12047767/2
  • Core/Insulation Crimp: E/A
  • Release Tool/Test Probe: 12094429/J-35616-14 (GN)

Speaker - Left Rear Tweeter (U61)

Pin

Wire

Circuit

Function

A

0.8 PU

1958

Left Rear Tweeter Speaker Output (-)

B

0.8 OG

1858

Left Rear Tweeter Speaker Output (+)

Speaker - Right Front


Object Number: 280768  Size: CH

Connector Part Information

  • OEM: 12052832
  • Service: 12101825
  • Description: 2-Way F Metri-Pack 150 Series (BK)

Terminal Part Information

  • Terminal/Tray: 12047767/2
  • Core/Insulation Crimp: E/A
  • Release Tool/Test Probe: 12094429/J-35616-14 (GN)

Speaker - Right Front

Pin

Wire

Circuit

Function

A

0.8 D-GN

117

Right Front Speaker Output (-)

B

0.8 L-GN

200

Right Front Speaker Output (+)

Speaker - Right Front Tweeter


Object Number: 280768  Size: CH

Connector Part Information

  • OEM: 12052832
  • Service: 12101825
  • Description: 2-Way F Metri-Pack 150 Series (BK)

Terminal Part Information

  • Terminal/Tray: 12047767/2
  • Core/Insulation Crimp: E/A
  • Release Tool/Test Probe: 12094429/J-35616-14 (GN)

Speaker - Right Front Tweeter

Pin

Wire

Circuit

Function

A

0.8 YE

1952

Right Front Tweeter Speaker Output (-)

B

0.8 TN

1852

Right Front Tweeter Speaker Output (+)

Speaker - Right Rear


Object Number: 280768  Size: CH

Connector Part Information

  • OEM: 12052832
  • Service: 12101825
  • Description: 2-Way F Metri-Pack 150 Series (BK)

Terminal Part Information

  • Terminal/Tray: 12047767/2
  • Core/Insulation Crimp: E/A
  • Release Tool/Test Probe: 12094429/J-35616-14 (GN)

Speaker - Right Rear

Pin

Wire

Circuit

Function

A

0.8 L-BU

115

Right Rear Speaker Output (-)

B

0.8 D-BU

46

Right Rear Speaker Output (+)

Speaker - Right Rear Tweeter (U61)


Object Number: 280768  Size: CH

Connector Part Information

  • OEM: 12052832
  • Service: 12101825
  • Description: 2-Way F Metri-Pack 150 Series (BK)

Terminal Part Information

  • Terminal/Tray: 12047767/2
  • Core/Insulation Crimp: E/A
  • Release Tool/Test Probe: 12094429/J-35616-14 (GN)

Speaker - Right Rear Tweeter (U61)

Pin

Wire

Circuit

Function

A

0.8 YE

1949

Right Rear Tweeter Speaker Output (-)

B

0.8 WH

1854

Right Rear Tweeter Speaker Output (+)

Speaker - Subwoofer (U61)


Object Number: 130637  Size: CH

Connector Part Information

  • OEM: 12064760
  • Service: 12085208
  • Description: 4-Way F Metri-Pack 150 Series (BK)

Terminal Part Information

  • Terminal/Tray: 12047767/2
  • Core/Insulation Crimp: E/A
  • Release Tool/Test Probe: 12094429/J-35616-14 (GN)

Speaker - Subwoofer (U61)

Pin

Wire

Circuit

Function

A

1 L-GN/BK

1794

Left or Rear Subwoofer Speaker Output (-)

B

1 D-BU/WH

346

Left or Rear Subwoofer Speaker Output (+)

C

1 L-BU/BK

315

Right Subwoofer Speaker Output (-)

D

1 D-GN

1795

Right Subwoofer Speaker Output (+)

Starter Generator X1 (HP7)


Object Number: 1847968  Size: CH

Connector Part Information

  • OEM: 12162836
  • Service: See Catalog
  • Description: 7-Way F (BK)

Terminal Part Information

  • Terminal/Tray: See Terminal Repair Kit
  • Core/Insulation Crimp: See Terminal Repair Kit
  • Release Tool/Test Probe: See Terminal Repair Kit

Starter Generator X1 (HP7)

Pin

Wire

Circuit

Function

A

0.8 OG

225

Generator Turn On Signal

B

--

--

Not Used

C

0.5 BN

7437

Generator Control

D-E

--

--

Not Used

F

0.5 L-BU

5095

Starter Generator Control Module Temperature Low Reference

G

0.5 D-BU

5094

Starter Generator Control Module Temperature Signal

Starter Generator X2 (HP7)


Object Number: 632344  Size: CH

Connector Part Information

  • OEM: 15326842
  • Service: See Catalog
  • Description: 10-Way F Sealed (BK)
  • Terminal/Tray: See Terminal Repair Kit
  • Core/Insulation Crimp: See Terminal Repair Kit
  • Release Tool/Test Probe: See Terminal Repair Kit

Starter Generator X2 (HP7)

Pin

Wire

Circuit

Function

A

--

--

Not Used

B

0.5 D-GN

9022

Resolver Signal Number 4

C

0.5 D-BU

9020

Resolver Signal Number 3

D

0.5 GY

9018

Resolver Motor Negative

E

0.35 RD

701

Drain Wire

F

0.5 L-GN

9075

Resolver Signal Number 2

G

0.5 L-BU

9019

Resolver Signal Number 1

H

0.5 WH

9017

Resolver Motor Positive

J-K

--

--

Not Used

Starter Generator X3 (HP7)

Connector Part Information

  • OEM: 7003-1171-02
  • Core/Insulation Crimp: N/A
  • Description: Ring Terminal

Starter Generator X3 (HP7)

Pin

Wire

Circuit

Function

U

30 L-BU

2U

3 Phase A/C

V

30 L-BU

2V

3 Phase A/C

W

30 L-BU

2W

3 Phase A/C

Starter Generator Control Module (SGCM) X1 (HP7)


Object Number: 1973170  Size: CH

Connector Part Information

  • OEM Connector Body: 12129225 (NA)
  • Service: 12129225
  • Retainer: 12129183 (BK)
  • Strain Relief: 12110155 (GY)
  • Description: 24-Way F Micro-Pack 100W Sealed

Terminal Part Information

  • Pins: 1, 16
  • Terminal/Tray: 7116-4142-02/10
  • Core/Insulation Crimp: Pins 1 - A/3
  • Core/Insulation Crimp: Pins 16 - D/3
  • Release Tool/Test Probe: 12094430/J-35616-42 (RD)
  • Pins: 3, 8, 11-14, 18-19, 22, 29, 33-34, 36-37, 42-43, 45-46
  • Terminal/Tray: 638551-1/16
  • Core/Insulation Crimp: Pins 3, 11-14, 18-19, 22, 29, 33-34, 36-37, 42-43, 45-46 - K/K
  • Core/Insulation Crimp: Pins 8 - J/J
  • Release Tool/Test Probe: 15315247/J-35616-64B (L-BU)

Starter Generator Control Module (SGCM) X1 (HP7)

Pin

Wire

Circuit

Function

1

0.35 GY/BK

7439

Starter Generator Control Module Pump Motor Voltage Reference

2

0.5 PK/WH

5537

Automatic Transmission Auxiliary Fluid Pump Relay Coil Control

3

--

--

Not Used

4

0.8 L-GN/BK

6554

Starter Generator Control Module (SGCM) Cooling Pump Supply Voltage

5

0.35 GY

990

Hill Hold Brake Delay Relay Control

6

0.8 TN

2022

Eng/Tran Cooling

7-10

--

--

Not Used

11

0.35 TN/BK

2500

High Speed GMLAN Serial Data (+)

12

0.35 TN/BK

2500

High Speed GMLAN Serial Data (+)

13

--

--

Not Used

14

0.35 D-GN/WH

7621

Automatic Transmission Auxiliary Fluid Pump Driver Error

15

0.5 BK/PU

7438

Starter Generator Control Module (SGCM) Cooling Pump Control

16

0.5 PU

5531

Hood Closed Switch Signal

17

0.5 YE

5530

Hood Ajar Switch Signal

18-22

--

--

Not Used

23

0.5 TN

2501

High Speed GMLAN Serial Data (-)

24

0.5 TN

2501

High Speed GMLAN Serial Data (-)

Starter Generator Control Module (SGCM) X2 (HP7)


Object Number: 1973174  Size: CH

Connector Part Information

  • OEM Connector Body: 12129225 (NA)
  • Service: 12199225
  • Retainer: 12191019 (CL)
  • Strain Relief: 12110155 (GY)
  • Description: 24-Way F Micro-Pack 100W Sealed

Terminal Part Information

  • Terminal/Tray: 16-02-1110/20
  • Core/Insulation Crimp: H/H
  • Release Tool/Test Probe: J-38125-213/J-35616-64B (L-BU)

Starter Generator Control Module (SGCM) X2 (HP7)

Pin

Wire

Circuit

Function

1

0.5 RD/WH

40

Battery Positive Voltage

2

0.5 D-BU

5094

Module Temperature Signal

3

0.35 L-BU

5986

Serial Data Communication Enable

4

0.5 GY

9018

Resolver Motor Negative

5

0.5 WH

9017

Resolver Motor Positive

6

0.5 D-BU

9020

Resolver Signal Number 3

7

0.5 D-GN

9022

Resolver Signal Number 4

8

0.8 PU

910

Hill Hold Brake Delay Valve 1 Control

9

0.5 BN

7437

Low Reference

10-11

--

--

Not Used

12

0.8 OG

225

Generator Turn On Signal

13

0.35 RD

701

Drain Wire

14

0.5 L-BU

5095

Module Temperature Low Reference

15

0.35 PU

5087

High Voltage Interlock Loop Signal

16

0.35 PU

5087

High Voltage Interlock Loop Signal

17

0.35 RD

701

Drain Wire

18

--

--

Not Used

19

0.5 L-BU

9019

Resolver Signal Number 1

20

0.5 L-GN

9075

Resolver Signal Number 2

21

0.8 L-GN

911

Hill Hold Brake Delay Valve 2 Control

22

0.35 RD

701

Drain Wire

23-24

--

--

Not Used

Starter Generator Control Module X3 (HP7)

Connector Part Information

  • OEM: 12191019
  • Core/Insulation Crimp: N/A
  • Description: Ring Terminal

Starter Generator Control Module X3 (HP7)

Pin

Wire

Circuit

Function

U

20 L-BU

4042

42 Volt Positive Voltage

Starter Generator Control Module X4 (HP7)

Connector Part Information

  • OEM: 12191019
  • Core/Insulation Crimp: N/A
  • Description: Ring Terminal

Starter Generator Control Module X4 (HP7)

Pin

Wire

Circuit

Function

U

30 L-BU

2U

3 Phase A/C

V

30 L-BU

2V

3 Phase A/C

W

30 L-BU

2W

3 Phase A/C

Starter Generator Control Module X5

Connector Part Information

  • OEM: 12160991
  • Core/Insulation Crimp: N/A
  • Description: Ring Terminal

Starter Generator Control Module X5

Pin

Wire

Circuit

Function

X

8.0 RD/BK

5040

Battery Positive Voltage

Starter Generator Control Module Coolant Pump (HP7)


Object Number: 1527729  Size: CH

Connector Part Information

  • OEM: 15419715
  • Service: 88988313
  • Description: 2-Way F GT Series, Sealed (GY)

Terminal Part Information

  • Terminal/Tray: 16-02-1110/20
  • Core/Insulation Crimp: H/H
  • Release Tool/Test Probe: J-38125-213/J-35616-64B (L-BU)

Starter Generator Control Module Coolant Pump (HP7)

Pin

Wire

Circuit

Function

A

0.5 RD/WH

2940

Battery Positive Voltage

B

0.8 L-GN/BK

6554

Water Pump Control Circuit

Starter Motor X1


Object Number: 696940  Size: CH

Connector Part Information

  • OEM: 12089916
  • Service: 12089916
  • Description: 1-Way F Metri-Pack 280 Series, Sealed (BK)

Terminal Part Information

  • Terminal/Tray: 12129493/2
  • Core/Insulation Crimp: 4/5
  • Release Tool/Test Probe: 12094430/J-35616-4A (PU)

Starter Motor X1

Pin

Wire

Circuit

Function

A

2 PU

6

Starter Solenoid Crank Voltage

Starter Motor X2

Connector Part Information

  • OEM: 12160991
  • Core/Insulation Crimp: N/A
  • Description: Ring Terminal

Starter Motor X2

Pin

Wire

Circuit

Function

X

8.0 RD/BK

2

Battery Positive Voltage

19 RD/BK

1

Battery Positive Voltage (-LE5)

Steering Angle Sensor (HP5)


Object Number: 280793  Size: CH

Connector Part Information

  • OEM: 12052444
  • Service: See Catalog
  • Description: 8-Way F Micro Pack 100 Series (BK)

Terminal Part Information

  • Terminal/Tray: 1393364-2/7
  • Core/Insulation Crimp: K/K
  • Release Tool/Test Probe: 15315247/J-35616-64B (L-BU)

Steering Angle Sensor (HP5)

Pin

Wire

Circuit

Function

1

0.5 GY

6044

5-Volt Reference

2

0.5 BN/WH

6045

Low Reference

3

0.5 TN/WH

6046

Steering Angle Sensor Phase A

4

0.5 L-GN/BK

6047

Steering Angle Sensor Phase B

5

0.5 WH/BK

6048

Steering Angle Sensor Phase C

6

0.5 OG/BK

6043

Steering Angle Sensor Signal

7-8

--

--

Not Used

Steering Angle Sensor (HP5)


Object Number: 280793  Size: CH

Connector Part Information

  • OEM: 12052444
  • Service: See Catalog
  • Description: 8-Way FMicro Pack 100 Series (BK)

Terminal Part Information

  • Terminal/Tray: 1393364-2/7
  • Core/Insulation Crimp: K/K
  • Release Tool/Test Probe: 15315247/J-35616-64B (L-BU)

Steering Angle Sensor (HP5)

Pin

Wire

Circuit

Function

1

0.5 GY

6044

Steering Angle Sensor 5-Volt Reference

2

0.5 OG/BK

6045

Steering Angle Sensor Low Reference

3

0.35 YE

6046

Steering Angle Sensor - Phase A

4

0.5 D-BU

6047

Steering Angle Sensor - Phase B

5

0.5 WH/BK

6048

Steering Angle Sensor - Index

6

0.35 L-GN

6043

Steering Angle Sensor Signal

7-8

--

--

Not Used

Steering Angle Sensor (LY7/LZ4)


Object Number: 1835137  Size: CH

Connector Part Information

  • OEM: 13547374
  • Service: See Catalog
  • Description: 6-Way F 064 GET Series (BK)

Terminal Part Information

  • Terminal/Tray: 1393364-2/7
  • Core/Insulation Crimp: K/K
  • Release Tool/Test Probe: 15315247/J-35616-64B (L-BU)

Steering Angle Sensor (LY7/LZ4)

Pin

Wire

Circuit

Function

1

0.5 GY

6044

Steering Angle Sensor 5-Volt Reference

2

0.5 BN/WH

6437

CAN Bus High Serial Data

3

0.5 TN/WH

6433

CAN Bus High Serial Data

4

0.5 L-GN/BK

6432

CAN Bus Low Serial Data

5

0.5 WH/BK

6436

CAN Bus Low Serial Data

6

0.5 OG/BK

6045

Steering Angle Sensor Low Reference

Steering Wheel Control Switch - Left (UK3)


Object Number: 1650407  Size: CH

Connector Part Information

  • OEM: 50-57-9407
  • Service: See Catalog
  • Description: 7-Way F (BK)

Terminal Part Information

  • Terminal/Tray: See Terminal Repair Kit
  • Core/Insulation Crimp: See Terminal Repair Kit
  • Release Tool/Test Probe: See Terminal Repair Kit

Steering Wheel Control Switch - Left (UK3)

Pin

Wire

Circuit

Function

1

0.35 PK

339

Ignition 1 Voltage

2

0.35 D-GN

1358

DIC Switch Signal

3

0.35 GY

7005

Instrument Panel Lamp Supply Voltage

4

0.35 D-BU

1444

12-Volt Reference

5

0.35 PU

1884

Cruise Control Switch Signal

6

--

--

Not Used

7

0.35 BK

651

Ground

8

--

--

Not Used

Steering Wheel Control Switch - Right (UK3)


Object Number: 1650407  Size: CH

Connector Part Information

  • OEM: 50-57-9404
  • Service: See Catalog
  • Description: 4-Way F Molex (BK)

Terminal Part Information

  • Terminal/Tray: See Terminal Repair Kit
  • Core/Insulation Crimp: See Terminal Repair Kit
  • Release Tool/Test Probe: See Terminal Repair Kit

Steering Wheel Control Switch - Right (UK3)

Pin

Wire

Circuit

Function

1

0.35 D-BU

651

Ground

2

0.35 D-BU

1444

12-Volt Reference

3

--

--

Not Used

4

0.35 L-GN

1011

Steering Wheel Controls Signal

5

0.35 GY

7005

Instrument Panel Lamp Supply Voltage

6 - 8

--

--

Not Used

Stop Lamp Switch (without HP5)


Object Number: 1333952  Size: CH

Connector Part Information

  • OEM: 12105252
  • Service: 12105252
  • Description: 4-Way F 250 58M (BK)

Terminal Part Information

  • Pins: 1
  • Terminal/Tray: 7116-2876/10
  • Core/Insulation Crimp: See Terminal Repair Kit
  • Release Tool/Test Probe: 12094430/J-35616-42 (RD)
  • Pins: 2
  • Terminal/Tray: 7116-2875/10
  • Core/Insulation Crimp: E/B
  • Release Tool/Test Probe: 12094430/J-35616-42 (RD)

Stop Lamp Switch (without HP5)

Pin

Wire

Circuit

Function

1

0.5 OG/WH

812

12-Volt Reference

0.5 OG/WH

812

12-Volt Reference

2

0.35 PU

7062

Brake Switch Signal

3-4

--

--

Not Used

Sunroof Control Module (CF5)


Object Number: 1469285  Size: CH

Connector Part Information

  • OEM: 7283-8398-40
  • Service: See Catalog
  • Description: 14-Way F 64 2.8 YESC Series (L-GY)

Sunroof Control Module (CF5)

Pin

Wire

Circuit

Function

1

0.8 RD

440

Battery Positive Voltage

2

0.8WH

143

Ignition Voltage

3

0.8 BK

650

Ground

4

0.35 PK

650

Ground

5

0.35 PK

650

Ground

6

0.35 D-BU

128

Low Reference

7

0.35 D-GN

2074

Sunroof Switch Express Signal

8

0.35 BN

100

Sunroof Switch Open Signal

9

0.35 OG/BK

144

Sunroof Switch Open Vent Signal

10-14

--

--

Not Used

Sunroof Motor (CF5)


Object Number: 1469285  Size: CH

Connector Part Information

  • OEM: 7283-8398-40
  • Service: See Catalog
  • Description: 14-Way F 64 2.8 YESC Series (L-GY)

Sunroof Motor (CF5)

Pin

Wire

Circuit

Function

1

0.8 RD

440

Battery Positive Voltage

2

--

--

Sunroof Motor Close Control

3

0.8 WH

143

Ignition Voltage

4

0.8 BK

650

Ground

5

0.35 OG

144

Sunroof Switch Open Vent Signal

6

0.35 YE

100

Sunroof Switch Open Signal

7

0.35 GN/BK

2074

Sunroof Switch Express Signal

8-10

--

--

Not Used

11

0.35 BU

128

Low Reference

12

0.8 PK

650

Ground

13

0.8 PK

650

Ground

14

--

--

Not Used

Sunroof Switch (CF5)


Object Number: 1962077  Size: CH

Connector Part Information

  • OEM: 13513469
  • Service: See Catalog
  • Description: 4-Way F Micro-Pack 100 Series (GY)

Sunroof Switch (CF5)

Pin

Wire

Circuit

Function

1

BN

100

Sunroof Switch Open Signal

2

OG/BK

144

Sunroof Switch Open Vent Signal

3

D-BU

128

Low Reference

4

D-GN

2074

Sunroof Switch Express Signal

Sunshade - Left (D61)


Object Number: 82383  Size: CH

Connector Part Information

  • OEM: 12059249
  • Service: 12085535
  • Description: 2-Way F Metri-Pack 150 Series (NA)

Terminal Part Information

  • Terminal/Tray: 12064971/5
  • Core/Insulation Crimp: E/C
  • Release Tool/Test Probe: 12094429/J-35616-14 (GN)

Sunshade - Left (D61)

Pin

Wire

Circuit

Function

A

0.5 OG

1732

Courtesy Lamps Supply Voltage

B

0.5 BK

650

Ground

Sunshade - Right (D61)


Object Number: 82383  Size: CH

Connector Part Information

  • OEM: 12059249
  • Service: 12085535
  • Description: 2-Way F Metri-Pack 150 Series (NA)

Terminal Part Information

  • Terminal/Tray: 12064971/5
  • Core/Insulation Crimp: E/C
  • Release Tool/Test Probe: 12094429/J-35616-14 (GN)

Sunshade - Right (D61)

Pin

Wire

Circuit

Function

A

0.5 OG

1732

Courtesy Lamps Supply Voltage

B

0.5 BK

650

Ground

Tail/Stop Lamp - Left


Object Number: 1290388  Size: CH

Connector Part Information

  • OEM: 021940459
  • Service: See Catalog
  • Description: 3-Way F Bulb 3057 Socket Sealed (BK)

Tail/Stop Lamp - Left

Pin

Wire

Circuit

Function

MAJ

0.5 RD

20

Stop Lamp Supply Voltage

MIN

0.5 D-BU

709

Park Lamp Supply Voltage

GND

0.5 BK

650

Ground

Tail/Stop Lamp - Right


Object Number: 1290388  Size: CH

Connector Part Information

  • OEM: 021940459
  • Service: See Catalog
  • Description: 3-Way F Bulb 3057 Socket Sealed (BK)

Tail/Stop Lamp - Right

Pin

Wire

Circuit

Function

MAJ

0.5 RD

20

Stop Lamp Supply Voltage

MIN

0.5 D-BU

309

Park Lamp Supply Voltage

GND

0.5 BK

550

Ground

Theft Deterrent Module (TDM)


Object Number: 1593355  Size: CH

Connector Part Information

  • OEM: 15383337
  • Service: 88988353
  • Description: 5-Way F SL Series, Unsealed (BK)

Terminal Part Information

  • Pins: 1-4
  • Terminal/Tray: 16-02-1110/20
  • Core/Insulation Crimp: Pins 1-2 - H/H
  • Core/Insulation Crimp: Pins 3-4 - See Terminal Repair Kit
  • Release Tool/Test Probe: J-38125-213/J-35616-64B (L-BU)

Theft Deterrent Module (TDM)

Pin

Wire

Circuit

Function

1

0.35 RD/WH

1740

Battery Positive Voltage

2

0.35 YE

43

Accessory Voltage

3

0.5 BK

350

Ground

4

0.5 D-GN

5060

Low Speed GMLAN Serial Data

5

--

--

Not Used

Throttle Actuator Control (TAC) Module


Object Number: 1664617  Size: CH

Connector Part Information

  • OEM: 15355297
  • Service: 19115594
  • Description: 6-Way F GT 150 Series, Sealed (BK)

Terminal Part Information

  • Pins: A-F
  • Terminal/Tray: 15326427/5
  • Core/Insulation Crimp: Pins A-B - See Terminal Repair Kit
  • Core/Insulation Crimp: Pins C-F - E/A
  • Release Tool/Test Probe: 15315247/J-35616-2A (GY)

Throttle Actuator Control (TAC) Module

Pin

Wire

Circuit

Function

A

0.75 BN

582

TAC Motor Control - 2

B

0.75 YE

581

TAC Motor Control - 1

C

0.5 TN

2752

Low Reference

D

0.5 D-GN

485

TP Sensor 1 Signal

E

0.5 GY

2701

5-Volt Reference

F

0.5 PU

486

TP Sensor 2 Signal

Torque Converter Clutch (TCC) Pressure Control (PC) Solenoid Valve (ME7/MN5)


Object Number: 168428  Size: CH

Connector Part Information

  • OEM: 15473845
  • Service: See Catalog
  • Description: 2-Way F Metri-Pack 150.2 P2S Series (BU)

Terminal Part Information

  • Pins: See Terminal Repair Kit
  • Terminal/Tray: See Terminal Repair Kit
  • Core/Insulation Crimp: See Terminal Repair Kit
  • Release Tool/Test Probe: See Terminal Repair Kit

Torque Converter Clutch (TCC) Pressure Control (PC) Solenoid Valve (ME7/MN5)

Pin

Wire

Circuit

Function

A

0.5 RD

839

Ignition 1 Voltage

B

0.5 TN

418

TCC PWM Solenoid Valve Control

Torque Converter Clutch (TCC) Pulse Width Modulation (PWM) Solenoid Valve (ME7/MN5)


Object Number: 168428  Size: CH

Connector Part Information

  • OEM: 15473845
  • Service: See Catalog
  • Description: 2-Way F Metri-Pack 150.2 P2S Series (BU)

Terminal Part Information

  • Pins: See Terminal Repair Kit
  • Terminal/Tray: See Terminal Repair Kit
  • Core/Insulation Crimp: See Terminal Repair Kit
  • Release Tool/Test Probe: See Terminal Repair Kit

Torque Converter Clutch (TCC) Pulse Width Modulation (PWM) Solenoid Valve (ME7/MN5)

Pin

Wire

Circuit

Function

A

0.5 RD

839

Ignition 1 Voltage

B

0.5 TN

418

TCC PWM Solenoid Valve Control

Trailer Connector Adapter (V92)


Object Number: 1962091  Size: CH

Connector Part Information

  • OEM: 13598967
  • Service: See Catalog
  • Description: 16-Way F CONN (BK)

Terminal Part Information

  • Pins: 5, 8-14
  • Terminal/Tray: See Terminal Repair Kit
  • Core/Insulation Crimp: See Terminal Repair Kit
  • Release Tool/Test Probe: See Terminal Repair Kit

Trailer Connector Adapter (V92)

Pin

Wire

Circuit

Function

1-4

--

--

Not Used

5

0.5 RD/WH

3140

Battery Positive Voltage

6-7

--

--

Not Used

8

0.5 RD/WH

3140

Battery Positive Voltage

9

0.5 RD/WH

3140

Battery Positive Voltage

10

0.35 YE

5187

Right Trailer Turn Signal Lamp

11

0.8 D-GN

1619

Trailer Right Rear Turn/Stop Lamp Supply Voltage

12

0.5 RD/WH

3140

Battery Positive Voltage

13

0.35 OG

5186

Left Trailer Turn Signal Lamp

14

0.8 YE

1618

Trailer Left Rear Turn/Stop Lamp Supply Voltage

15-16

--

--

Not Used

Trailer Connector (V92)


Object Number: 1479634  Size: CH

Connector Part Information

  • OEM: 13569721
  • Service: See Catalog
  • Description: 4-Way M 1.5, Sealed Base 4 (BK)

Terminal Part Information

  • Pins: 1-2, 4
  • Terminal/Tray: 7114-4103-08/9
  • Core/Insulation Crimp: E/1
  • Release Tool/Test Probe: 12094430/J-35616-3 (GY)
  • Pins: 3
  • Terminal/Tray: 7114-4102-08/9
  • Core/Insulation Crimp: E/1
  • Release Tool/Test Probe: 12094430/J-35616-3 (GY)

Trailer Connector (V92)

Pin

Wire

Circuit

Function

1

0.8 YE

1618

Trailer Left Rear Turn/Stop Lamp Supply Voltage

2

0.8 D-GN

1619

Trailer Right Rear Turn/Stop Lamp Supply Voltage

3

0.5 BN

5184

Left Trailer Park Lamp

4

0.8 BK

550

Ground

Transmission Control Module (TCM) (ME7/MN5)


Object Number: 1544228  Size: CH

Connector Part Information

  • OEM: 15463921
  • Service: 88987979
  • Description: 49-Way F GT 280 Micro-Pack 64 Sealed (BK)

Terminal Part Information

  • Pins: 1-3, 6-7, 9, 11, 14, 16-17, 20, 23, 26, 29-33, 35, 37-42, 44, 46
  • Terminal/Tray: 15359541/4
  • Core/Insulation Crimp: M/M
  • Release Tool/Test Probe: 15381651-2/J-35616-64B (L-BU)
  • Pins: 49
  • Terminal/Tray: 15304719/19
  • Core/Insulation Crimp: E/5
  • Release Tool/Test Probe: 15315247/J-35616-4A (PU)

Transmission Control Module (TCM) (ME7/MN5)

Pin

Wire

Circuit

Function

1

0.35 TN/BK

422

TCC Solenoid Valve Control

2

0.35 L-GN

1222

(1-2 Shift Solenoid or Shift Solenoid A) Valve Control

3

0.35 OG/BK

1230

AT ISS High Signal

4-5

--

--

Not Used

6

0.5 TN

2501

High Speed GMLAN Serial Data Bus-

7

0.5 TN/BK

2500

High Speed GMLAN Serial Data Bus+

8

--

--

Not Used

9

0.35 YE

657

TCC Release Switch Signal

10

--

--

Not Used

11

0.35 D-BU

5985

Accessory Wakeup Serial Data

12-13

--

--

Not Used

14

0.35 WH

1994

3-2 Shift Solenoid Valve Control (ME7)

15

--

--

Not Used

16

0.5 PU

401

Signal Low - Front/VSS Low Signal/OSS Low Signal

17

0.35 L-BU/WH

1229

PC Solenoid Valve Low Control (Sol. A)

18-19

--

--

Not Used

20

0.35 YE/BK

1223

(2-3 Shift Solenoid or Shift Solenoid B) Valve Control

21-22

--

--

Not Used

23

0.35 GY

773

Transmission Range Switch Signal C

24-25

--

--

Not Used

26

0.35 D-BU/WH

1231

AT ISS Low Signal

27-28

--

--

Not Used

29

0.35 TN/WH

771

Transmission Range Switch Signal A

30

0.35 TN

2762

Low Reference

31

0.5 PK

639

Ignition 1 Voltage

32

0.5 RD/WH

40

Battery Positive Voltage

33

0.35 OG

1226

Transmission Fluid Pressure Switch Signal C

34

--

--

Not Used

35

0.35 YE/BK

1227

TFT Sensor Signal

36

--

--

Not Used

37

0.5 TN

2501

High Speed GMLAN Serial Data Bus-

38

0.5 TN/BK

2500

High Speed GMLAN Serial Data Bus+

39

0.35 WH

776

Transmission Range Switch Signal P

40

0.35 OG/BK

1228

PC Solenoid Valve High Control (Sol. A)

41

0.5 YE

400

Signal High - Front/VSS High Signal/OSS High Signal

42

0.5 WH

17

Stop Lamp Switch Signal or Stop Lamp Supply Voltage

43

--

--

Not Used

44

0.35 D-BU

1225

Transmission Fluid Pressure Switch Signal B

45

--

--

Not Used

46

0.35 YE

772

Transmission Range Switch Signal B

47-48

--

--

Not Used

49

0.5 BK/WH

251

Ground

Transmission Control Module (MH2/MH4)


Object Number: 1910664  Size: CH

Connector Part Information

  • OEM: 15476346
  • Service: 19151494
  • Description: 20-Way F GT 150 Series, Sealed (L-GY)

Terminal Part Information

  • Terminal/Tray: 15326267/19
  • Core/Insulation Crimp: E/4
  • Release Tool/Test Probe: 15315247/J-35616-2A (GY)

Transmission Control Module (MH2/MH4)

Pin

Wire

Circuit

Function

1

0.5 BK/WH

251

Ground

2

0.5 TN/BK

2500

High Speed GMLAN Serial Data Bus+

3-4

--

--

Not Used

5

0.5 TN/BK

2500

High Speed GMLAN Serial Data Bus+

6-8

--

--

Not Used

9

0.5 BK/WH

251

Ground

10

0.5 RD/WH

40

Battery Positive Voltage

11

--

--

Not Used

12

0.5 TN

2501

High Speed GMLAN Serial Data Bus-

13

0.5 PK

639

Ignition 1 Voltage

14

0.5 TN

2501

High Speed GMLAN Serial Data Bus-

15

0.35 D-BU

5985

Accessory Wakeup Serial Data

16

0.5 WH

17

Stop Lamp Switch Signal

17

--

--

Not Used

18

0.5 BK/WH

251

Ground

19

0.5 RD/WH

40

Battery Positive Voltage

20

0.5 OG/BK

1786

Ignition Lock Cylinder Control Actuator Signal

Transmission Control Module X1 (MK3)


Object Number: 1910664  Size: CH

Connector Part Information

  • OEM: 15476346
  • Service: 19151494
  • Description: 20-Way F GT 150 Series, Sealed (L-GY)

Terminal Part Information

  • Terminal/Tray: 15326267/19
  • Core/Insulation Crimp: E/4
  • Release Tool/Test Probe: 15315247/J-35616-2A (GY)

Transmission Control Module X1 (MK3)

Pin

Wire

Circuit

Function

1

0.5 BK/WH

251

Ground

2

0.5 TN/BK

2500

High Speed GMLAN Serial Data Bus+

3-4

--

--

Not Used

5

0.5 TN/BK

2500

High Speed GMLAN Serial Data Bus+

6-11

--

--

Not Used

12

0.5 TN

2501

High Speed GMLAN Serial Data Bus-

13

0.5 PK

639

Ignition 1 Voltage

14

0.5 TN

2501

High Speed GMLAN Serial Data Bus-

15

0.35 D-BU

5985

Accessory Wakeup Serial Data

16

0.5 WH

17

Stop Lamp Switch Signal

17

--

--

Not Used

18

0.5 BK/WH

251

Ground

19

0.5 RD/WH

40

Battery Positive Voltage

20

--

--

Not Used

Transmission Control Module X2 (MK3)


Object Number: 347262  Size: CH

Connector Part Information

  • OEM: 15336500
  • Service: 19151494
  • Description: 6-Way F GT 150 Series, Sealed (GN)

Terminal Part Information

  • Terminal/Tray: 15326267/19
  • Core/Insulation Crimp: E/4
  • Release Tool/Test Probe: 15315247/J-35616-2A (GY)

Transmission Control Module X2 (MK3)

Pin

Wire

Circuit

Function

A

--

915

Low Reference

B

--

911

Transmission Fluid Pressure Release Signal

C

--

912

Transmission Fluid Pressure Switch Signal C

D

--

913

Transmission Fluid Pressure Switch Signal B

E

--

914

Transmission Fluid Pressure Switch Signal A

F

--

--

Not Used

Transmission Control Module X3 (MK3)


Object Number: 1910665  Size: CH

Connector Part Information

  • OEM: 15467085
  • Service: 19151494
  • Description: 2-Way F MetriPack 150.2 Series, Sealed (L-GY)

Terminal Part Information

  • Terminal/Tray: 15326267/19
  • Core/Insulation Crimp: E/4
  • Release Tool/Test Probe: 15315247/J-35616-2A (GY)

Transmission Control Module X3 (MK3)

Pin

Wire

Circuit

Function

A

--

910

Ignition Voltage

B

--

--

Not Used

Transmission Control Module X4 (MK3)


Object Number: 1910666  Size: CH

Connector Part Information

  • OEM: 15473844
  • Service: 19151494
  • Description: 2-Way F MetriPack 150.2 Series, Sealed (L-GY)

Terminal Part Information

  • Terminal/Tray: 15326267/19
  • Core/Insulation Crimp: E/4
  • Release Tool/Test Probe: 15315247/J-35616-2A (GY)

Transmission Control Module X4 (MK3)

Pin

Wire

Circuit

Function

A

--

908

OSS Supply

B

--

909

OSS Signal

Turn Signal Lamp - Left Rear


Object Number: 1290375  Size: CH

Connector Part Information

  • OEM: 021780959
  • Service: See Catalog
  • Description: 3-Way F Bulb 3057 Socket (BK)

Turn Signal Lamp - Left Rear

Pin

Wire

Circuit

Function

MAJ

0.5 YE

18

Left Rear Turn Lamp Supply Voltage

MIN

--

--

Not Used

GND

0.5 BK/WH

650

Ground

Turn Signal Lamp - Right Rear


Object Number: 1290375  Size: CH

Connector Part Information

  • OEM: 021780959
  • Service: See Catalog
  • Description: 3-Way F Bulb 3057 Socket (BK)

Turn Signal Lamp - Right Rear

Pin

Wire

Circuit

Function

MAJ

0.5 YE

19

Right Rear Turn Lamp Supply Voltage

MIN

--

--

Not Used

GND

0.5 BK/WH

550

Ground

Turn Signal Repeater Lamp - Left


Object Number: 1527729  Size: CH

Connector Part Information

  • OEM: 15419715
  • Service: 88988313
  • Description: 2-Way F GT 150 Series Sealed (GY)

Terminal Part Information

  • Terminal/Tray: 12191819/8
  • Core/Insulation Crimp: E/A
  • Release Tool/Test Probe: 15315247/J-35616-2A (GY)

Turn Signal Repeater Lamp - Left

Pin

Wire

Circuit

Function

A

0.5 L-BU/WH

1314

Left Front Turn Signal Lamp Supply Voltage

B

0.5 BK

450

Ground

Turn Signal Repeater Lamp - Right


Object Number: 1527729  Size: CH

Connector Part Information

  • OEM: 15419715
  • Service: 88988313
  • Description: 2-Way F GT 150 Series Sealed (GY)

Terminal Part Information

  • Terminal/Tray: 12191819/8
  • Core/Insulation Crimp: E/A
  • Release Tool/Test Probe: 15315247/J-35616-2A (GY)

Turn Signal Repeater Lamp - Right

Pin

Wire

Circuit

Function

A

0.5 D-BU/WH

1315

Right Front Turn Signal Lamp Supply Voltage

B

0.5 BK

450

Ground

Turn Signal/Multifunction Switch (LAT/LE5)


Object Number: 831380  Size: CH

Connector Part Information

  • OEM: 15332141
  • Service: 15332141
  • Description: 6-Way F GT 150 Series, Unsealed (BK)

Terminal Part Information

  • Terminal/Tray: 12191812/19
  • Core/Insulation Crimp: E/C
  • Release Tool/Test Probe: 15315247/J-35616-2A (GY)

Turn Signal/Multifunction Switch (LAT/LE5)

Pin

Wire

Circuit

Function

A

0.5 BK

350

Ground

B

0.35 PU

524

Headlamp Dimmer Switch High Beam Signal

C

0.35 YE

307

Headlamp Switch Flash to Pass Signal

D

0.35 L-BU/WH

1414

Left Turn Signal Switch Signal

E

0.35 D-BU/WH

1415

Right Turn Signal Switch Signal

F

0.35 BK

350

Ground

Turn Signal/Multifunction Switch (LCS/LY7/LZ4)


Object Number: 647976  Size: CH

Connector Part Information

  • OEM: 15332161
  • Service: 15306416
  • Description: 12-Way F GT 150 Series (BK)

Terminal Part Information

  • Terminal/Tray: 12191812/19
  • Core/Insulation Crimp: E/C
  • Release Tool/Test Probe: 15315247/J-35616-2A (GY)

Turn Signal/Multifunction Switch (LCS/LY7/LZ4)

Pin

Wire

Circuit

Function

A-F

--

--

Not Used

G

0.5 BK

350

Ground

H

0.35 PU

524

Headlamp Dimmer Switch High Beam Signal

J

0.35 YE

307

Headlamp Switch Flash to Pass Signal

K

0.35 L-BU/WH

1414

Left Turn Signal Switch Signal

L

0.35 D-BU/WH

1415

Right Turn Signal Switch Signal

M

0.35 BK

350

Ground

Vehicle Communication Interface Module (VCIM) Battery (UE1)


Object Number: 82383  Size: CH

Connector Part Information

  • OEM: 12047662 (HP7)
  • OEM: 15326802 (-HP7)
  • Service: 12085535
  • Description: 2-Way F 150 Series (BK)

Terminal Part Information

  • Terminal/Tray: 12047767/2
  • Core/Insulation Crimp: E/C
  • Release Tool/Test Probe: 12094429/J-35616-14 (GN)

Vehicle Communication Interface Module (VCIM) Battery (UE1)

Pin

Wire

Circuit

Function

A

0.35 RD/WH

5235

Battery Backup Supply Voltage

B

0.35 GY/BK

5167

Battery Backup Low Reference

Vehicle Communications Interface Module (VCIM) X1 (UE1)


Object Number: 1471689  Size: CH

Connector Part Information

  • OEM: 15431362
  • Service: 15306351
  • Description: 16-Way F Micro64 Unsealed (WH)

Terminal Part Information

  • Pins: 1-3, 6-7, 10-15
  • Terminal/Tray: 15445905/23
  • Core/Insulation Crimp: Pins 1-3, 6-7, 10-15 - J/J
  • Core/Insulation Crimp: Pins 7 - See Terminal Repair Kit
  • Release Tool/Test Probe: 12180559/J-35616-16 (L-GN)

Vehicle Communications Interface Module (VCIM) X1 (UE1)

Pin

Wire

Circuit

Function

1

0.5 D-GN

5060

Low Speed GMLAN Serial Data

2

0.35 BN/WH

2517

Keypad Red LED Signal

3

0.35 YE/BK

2516

Keypad Green LED Signal

4-5

--

--

Not Used

6

0.35 L-GN/BK

2515

Keypad Supply Voltage

7

0.5 BK/WH

451

Ground

8-9

--

--

Not Used

10

0.5 TN/BK

2500

High Speed GMLAN Serial Data Bus+

11

0.35 D-GN/WH

2514

Keypad Signal

12

0.5 TN

2501

High Speed GMLAN Serial Data Bus-

13

0.35 GY/BK

5167

Battery Backup Low Reference

14

0.35 RD/WH

5235

Battery Backup Supply Voltage

15

0.5 RD/WH

2540

Battery Positive Voltage

16

--

--

Not Used

Vehicle Communications Interface Module (VCIM) X2 (UE1)


Object Number: 1471691  Size: CH

Connector Part Information

  • OEM: 15431365
  • Service: 88952886
  • Description: 12-Way F Micro64 Series, Unsealed (NA)

Terminal Part Information

  • Terminal/Tray: 15445905/23
  • Core/Insulation Crimp: J/J
  • Release Tool/Test Probe: 12180559/J-35616-16 (L-GN)

Vehicle Communications Interface Module (VCIM) X2 (UE1)

Pin

Wire

Circuit

Function

1

0.35 D-BU

658

Cellular Telephone Voice Signal

2

0.35 L-BU/BK

659

Cellular Telephone Voice Low Reference

3

0.5 TN/BK

2500

High Speed GMLAN Serial Data Bus+

4

0.5 TN

2501

High Speed GMLAN Serial Data Bus-

5-7

--

--

Not Used

8

0.5 BARE

1782

Drain Wire

9

0.5 GY

655

Cellular Microphone Signal

10

0.5 D-GN

1489

Drain Wire

11-12

--

--

Not Used

Vehicle Communications Interface Module (VCIM) X3 (UE1)


Object Number: 1710974  Size: CH

Connector Part Information

  • OEM: 15431359
  • Service: See Catalog
  • Description: 16-Way F Micro-Pack 100A Series (GY)

Terminal Part Information

  • Pins: 2, 4-5
  • Terminal/Tray: 175266-5/15
  • Core/Insulation Crimp: Pins 2, 4 - J/J
  • Core/Insulation Crimp: Pins 5 - K/K
  • Release Tool/Test Probe: 15315247/J-35616-16 (L-GN)

Vehicle Communications Interface Module (VCIM) X3 (UE1)

Pin

Wire

Circuit

Function

1

--

--

Not Used

2

0.35 PK

5149

Voice Recognition Audio Signal

3

--

--

Not Used

4

0.35 PK/BK

5152

Voice Recognition Audio Low Reference

5

0.5 BARE

1792

Drain Wire

6-16

--

--

Not Used

Wheel Speed Sensor (WSS) - Left Front


Object Number: 537107  Size: CH

Connector Part Information

  • OEM: 12052644
  • Service: See Catalog
  • Description: 2-Way F Metri-Pack 150 Series Sealed (GY)

Terminal Part Information

  • Terminal/Tray: See Terminal Repair Kit
  • Core/Insulation Crimp: See Terminal Repair Kit
  • Release Tool/Test Probe: See Terminal Repair Kit

Wheel Speed Sensor (WSS) - Left Front

Pin

Wire

Circuit

Function

A

0.5 WH

830

Left Front Wheel Speed Sensor Signal

B

0.5 GY/WH

BK

Left Front Wheel Speed Sensor Supply Voltage

Wheel Speed Sensor (WSS) - Left Rear


Object Number: 605500  Size: CH

Connector Part Information

  • OEM: 12162343
  • Service: 12162343
  • Description: 2-Way M Metri-Pack 150 Series Sealed (GY)

Terminal Part Information

  • Terminal/Tray: 12045773/2
  • Core/Insulation Crimp: E/1
  • Release Tool/Test Probe: 12094429/J-35616-3 (GY)

Wheel Speed Sensor (WSS) - Left Rear

Pin

Wire

Circuit

Function

A

0.5 TN

884

Left Rear Wheel Speed Sensor Signal

B

0.5 GY/BK

7127

Wheel Speed Sensor Supply Voltage Left Rear

Wheel Speed Sensor (WSS) - Right Front


Object Number: 537107  Size: CH

Connector Part Information

  • OEM: 12052644
  • Service: See Catalog
  • Description: 2-Way F Metri-Pack 150 Series Sealed (GY)

Terminal Part Information

  • Terminal/Tray: See Terminal Repair Kit
  • Core/Insulation Crimp: See Terminal Repair Kit
  • Release Tool/Test Probe: See Terminal Repair Kit

Wheel Speed Sensor (WSS) - Right Front

Pin

Wire

Circuit

Function

A

0.5 WH

872

Right Front Wheel Speed Sensor Signal

B

0.5 BK

7065

Right Front Wheel Speed Sensor Supply Voltage

Wheel Speed Sensor (WSS) - Right Rear


Object Number: 605500  Size: CH

Connector Part Information

  • OEM: 12162343
  • Service: 12162343
  • Description: 2-Way M Metri-Pack 150 Series Sealed (GY)

Terminal Part Information

  • Terminal/Tray: 12045773/2
  • Core/Insulation Crimp: E/1
  • Release Tool/Test Probe: 12094429/J-35616-3 (GY)

Wheel Speed Sensor (WSS) - Right Rear

Pin

Wire

Circuit

Function

A

0.5 BN

882

Right Rear Wheel Speed Sensor Signal

B

0.5 GY/BK

7128

Wheel Speed Sensor Supply Voltage Right Rear

Window Motor - Driver


Object Number: 1891421  Size: CH

Connector Part Information

  • OEM: 15386517
  • Service: See Catalog
  • Description: 2-Way F 070 SWP Sealed (WH)

Terminal Part Information

  • Terminal/Tray: 7116-1472/12
  • Core/Insulation Crimp: 2/5
  • Release Tool/Test Probe: 12094429/J-35616-33 (YE)

Window Motor - Driver

Pin

Wire

Circuit

Function

1

1 D-BU

164

Power Window Motor Left Front Up Control

2

1 BN

165

Power Window Motor Left Front Down Control

Window Motor - Left Rear


Object Number: 1962074  Size: CH

Connector Part Information

  • OEM: 13524077
  • Service: See Catalog
  • Description: 2-Way F 250 Sealed (BK)

Terminal Part Information

  • Terminal/Tray: See Terminal Repair Kit
  • Core/Insulation Crimp: See Terminal Repair Kit
  • Release Tool/Test Probe: See Terminal Repair Kit

Window Motor - Left Rear

Pin

Wire

Circuit

Function

1

2 D-BU

668

Power Window Motor Left Rear Up Control

2

2 BN

669

Power Window Motor Left Rear Down Control

Window Motor - Passenger


Object Number: 1891421  Size: CH

Connector Part Information

  • OEM: 15386517
  • Service: See Catalog
  • Description: 2-Way F 070 SWP Sealed (WH)

Terminal Part Information

  • Terminal/Tray: 7116-1472/12
  • Core/Insulation Crimp: C/5
  • Release Tool/Test Probe: 12094429/J-35616-33 (YE)

Window Motor - Passenger

Pin

Wire

Circuit

Function

1

2 D-BU

666

Power Window Motor Right Front Up Control

2

2 BN

667

Power Window Motor Right Front Down Control

Window Motor - Right Rear


Object Number: 1962074  Size: CH

Connector Part Information

  • OEM: 13524077
  • Service: See Catalog
  • Description: 2-Way F 250 Sealed (BK)

Terminal Part Information

  • Terminal/Tray: See Terminal Repair Kit
  • Core/Insulation Crimp: See Terminal Repair Kit
  • Release Tool/Test Probe: See Terminal Repair Kit

Window Motor - Right Rear

Pin

Wire

Circuit

Function

1

2 D-BU

670

Power Window Motor Right Rear Up Control

2

2 BN

671

Power Window Motor Right Rear Down Control

Window Switch - Driver


Object Number: 1963314  Size: CH

Connector Part Information

  • OEM: 15326953
  • Service: See Catalog
  • Description: 16-Way F GT 280 (BK)

Terminal Part Information

  • Pins: B-D, F-H, P-S
  • Terminal/Tray: 15304713/19
  • Core/Insulation Crimp: 4/4
  • Release Tool/Test Probe: 15315247/J-35616-4A (PU)
  • Pins: J-M
  • Terminal/Tray: 15304711/8
  • Core/Insulation Crimp: 2/A
  • Release Tool/Test Probe: 15315247/J-35616-4A (PU)

Window Switch - Driver

Pin

Wire

Circuit

Function

A

--

--

Not Used

B

2 PU

169

Power Window Master Switch Left Rear Down Signal

C

2 D-GN

168

Power Window Master Switch Left Rear Up Signal

D

2 PU

171

Power Window Master Switch Right Rear Down Signal

E

--

--

Not Used

F

2 L-GN

170

Power Window Master Switch Right Rear Up Signal

G

2 YE

743

Accessory Voltage

H

2 D-BU

1307

Power Window Master Switch Lockout Signal

J

1 BN

165

Power Window Motor Left Front Down Control

K

1 YE

643

Accessory Voltage

L

--

--

Not Used

M

1 D-BU

164

Power Window Motor Left Front Up Control

N

--

--

Not Used

P

2 BK

450

Ground

R

2 TN

167

Power Window Master Switch Right Front Down Signal

S

2 L-BU

166

Power Window Master Switch Right Front Up Signal

Window Switch - Left Rear


Object Number: 655835  Size: CH

Connector Part Information

  • OEM: 15326925
  • Service: See Catalog
  • Description: 8-Way F GT 280 Series, Sealed (BK)

Terminal Part Information

  • Pins: A-B, D-E, H
  • Terminal/Tray: 15304713/19
  • Core/Insulation Crimp: 4/4
  • Release Tool/Test Probe: 15315247/J-35616-4A (PU)
  • Pins: C
  • Terminal/Tray: 15304711/8
  • Core/Insulation Crimp: E/A
  • Release Tool/Test Probe: 15315247/J-35616-4A (PU)

Window Switch - Left Rear

Pin

Wire

Circuit

Function

A

2 D-GN

168

Power Window Master Switch Left Rear Up Signal

B

2 D-BU

1307

Power Window Master Switch Lockout Signal

C

0.35 BK

650

Ground

D

2 PU

169

Power Window Master Switch Left Rear Down Signal

E

2 D-BU

668

Power Window Motor Left Rear Up Control

F-G

--

--

Not Used

H

2 BN

669

Power Window Motor Left Rear Down Control

Window Switch - Passenger


Object Number: 655835  Size: CH

Connector Part Information

  • OEM: 15326925
  • Service: See Catalog
  • Description: 8-Way F GT 280 Series, Sealed (BK)

Terminal Part Information

  • Pins: A-B, D-E, H
  • Terminal/Tray: 15304713/19
  • Core/Insulation Crimp: 4/4
  • Release Tool/Test Probe: 15315247/J-35616-4A (PU)
  • Pins: C
  • Terminal/Tray: 15304711/8
  • Core/Insulation Crimp: E/A
  • Release Tool/Test Probe: 15315247/J-35616-4A (PU)

Window Switch - Passenger

Pin

Wire

Circuit

Function

A

2 L-BU

166

Power Window Master Switch Right Front Up Signal

B

2 YE

743

Accessory Voltage

C

0.35 BK

450

Ground

D

2 TN

167

Power Window Master Switch Right Front Down Signal

E

2 D-BU

666

Power Window Motor Right Front Up Control

F-G

--

--

Not Used

H

2 BN

667

Power Window Motor Right Front Down Control

Window Switch - Right Rear


Object Number: 655835  Size: CH

Connector Part Information

  • OEM: 15326925
  • Service: See Catalog
  • Description: 8-Way F GT 280 Series, Sealed (BK)

Terminal Part Information

  • Pins: A-B, D-E, H
  • Terminal/Tray: 15304713/19
  • Core/Insulation Crimp: 4/4
  • Release Tool/Test Probe: 15315247/J-35616-4A (PU)
  • Pins: C
  • Terminal/Tray: 15304711/8
  • Core/Insulation Crimp: E/A
  • Release Tool/Test Probe: 15315247/J-35616-4A (PU)

Window Switch - Right Rear

Pin

Wire

Circuit

Function

A

2 L-GN

170

Power Window Master Switch Right Rear Up Signal

B

2 D-BU

1307

Power Window Master Switch Lockout Signal

C

0.35 BK

550

Ground

D

2 PU

171

Power Window Master Switch Right Rear Down Signal

E

2 D-BU

670

Power Window Motor Right Rear Up Control

F-G

--

--

Not Used

H

2 BN

671

Power Window Motor Right Rear Down Control

Windshield Outside Moisture Sensor (CE1)


Object Number: 722341  Size: CH

Connector Part Information

  • OEM: 15324252
  • Service: 15324252
  • Description: 4-Way F Micro-Fit Series (BK)

Terminal Part Information

  • Terminal/Tray: 43030-0010/23
  • Core/Insulation Crimp: H/H
  • Release Tool/Test Probe: J-38125-213/J-35616-64B (L-BU)

Windshield Outside Moisture Sensor (CE1)

Pin

Wire

Circuit

Function

1

0.35 L-GN

482

Outside Moisture Sensor Signal 2

2

0.35 TN

481

Outside Moisture Sensor Signal 1

3

0.35 BK

650

Ground

4

0.35 BN

4

Accessory Voltage

Windshield Washer Fluid Level Switch


Object Number: 1243632  Size: CH

Connector Part Information

  • OEM: 15336195
  • Service: 15336195
  • Description: 2-Way F GT 150 Series Sealed (BK)

Terminal Part Information

  • Terminal/Tray: 12191819/8
  • Core/Insulation Crimp: E/A
  • Release Tool/Test Probe: 15315247/J-35616-2A (GY)

Windshield Washer Fluid Level Switch

Pin

Wire

Circuit

Function

1

0.35 BK

150

Ground

2

0.35 TN/WH

99

Windshield Washer Fluid Level Signal

Windshield Washer Fluid Pump - Front


Object Number: 1977742  Size: CH

Connector Part Information

  • OEM: 15416991
  • Service: See Catalog
  • Description: 2-Way F 1.5, Sealed (BK)

Terminal Part Information

  • Terminal/Tray: 7116-4102-08/9
  • Core/Insulation Crimp: E/1
  • Release Tool/Test Probe: 12094430/J-35616-2A (GY)

Windshield Washer Fluid Pump - Front

Pin

Wire

Circuit

Function

1

0.5 OG

228

Windshield Washer Pump Control

2

0.5 BK

150

Ground

Windshield Washer Fluid Pump - Rear


Object Number: 1977742  Size: CH

Connector Part Information

  • OEM: 15416991
  • Service: See Catalog
  • Description: 2-Way F 1.5, Sealed (BK)

Terminal Part Information

  • Terminal/Tray: 7116-4103-08/9
  • Core/Insulation Crimp: E/1
  • Release Tool/Test Probe: 12094430/J-35616-2A (GY)

Windshield Washer Fluid Pump - Rear

Pin

Wire

Circuit

Function

1

0.8 D-GN

392

Rear Window Washer Pump Control

2

0.8 BK

150

Ground

Windshield Wiper Motor


Object Number: 1962092  Size: CH

Connector Part Information

  • OEM: 13579273
  • Service: See Catalog
  • Description: 4-Way F 2.8 MCP-E, Sealed (BK)

Terminal Part Information

  • Terminal/Tray: See Terminal Repair Kit
  • Core/Insulation Crimp: See Terminal Repair Kit
  • Release Tool/Test Probe: See Terminal Repair Kit

Windshield Wiper Motor

Pin

Wire

Circuit

Function

1

0.5 YE

196

Windshield Wiper Motor Park Switch Signal

2

1 BK

150

Ground

3

1 PU

92

Windshield Wiper Motor High Speed

4

1 D-GN

95

Windshield Washer Switch Signal

Windshield Wiper/Washer Switch - Front


Object Number: 646374  Size: CH

Connector Part Information

  • OEM: 15332145
  • Service: 15332145
  • Description: 8-Way F GT 150 Series (BK)

Terminal Part Information

  • Terminal/Tray: 12191812/19
  • Core/Insulation Crimp: E/C
  • Release Tool/Test Probe: 15315247/J-35616-2A (GY)

Windshield Wiper/Washer Switch - Front

Pin

Wire

Circuit

Function

A

0.35 PK

94

Windshield Washer Switch Signal

B

0.35 TN/BK

6009

Windshield Wiper Switch Low Reference

C

0.35 L-GN

1715

Windshield Wiper Switch High Signal

D

0.35 L-BU

1714

Windshield Wiper Switch Low Signal

E-H

--

--

Not Used

Yaw Rate and Lateral Accelerometer Sensor (HP5)


Object Number: 831393  Size: CH

Connector Part Information

  • OEM: 15355474
  • Service: 88953345
  • Description: 6-Way F 0.64 MQS, Sealed (BK)

Terminal Part Information

  • Terminal/Tray: 962885-5/15
  • Core/Insulation Crimp: 6/6
  • Release Tool/Test Probe: 12094429/J-35616-64B (L-BU)

Yaw Rate and Lateral Accelerometer Sensor (HP5)

Pin

Wire

Circuit

Function

1

0.5 TN

948

IGN Voltage

2

0.5 D-BU

6105

High Speed GMLAN Serial Data (+) (2)

3

0.5 L-BU

6106

High Speed GMLAN Serial Data (-) (2)

4

0.5 D-BU

6105

High Speed GMLAN Serial Data (+) (2)

5

0.5 L-BU

6106

High Speed GMLAN Serial Data (-) (2)

6

0.5 TN

950

Ground

Yaw Rate and Lateral Accelerometer Sensor (-HP5)


Object Number: 831393  Size: CH

Connector Part Information

  • OEM: 10750569
  • Service: 88953345
  • Description: 6-Way F 0.64 MQS, Sealed (GY)

Terminal Part Information

  • Terminal/Tray: 962885-5/15
  • Core/Insulation Crimp: 6/6
  • Release Tool/Test Probe: 12094429/J-35616-64B (L-BU)

Yaw Rate and Lateral Accelerometer Sensor (-HP5)

Pin

Wire

Circuit

Function

1

0.5 WH/BK

6436

CAN Bus Low Terminated Serial Data

1

0.5 L-GN/BK

6432

CAN Bus Low Serial Data (LE5)

2

0.5 BN/WH

6437

CAN Bus High Terminated Serial Data

2

0.5 TN/WH

6433

CAN Bus High Serial Data (LE5)

3

0.5 GY

6044

Steering Angle Sensor 5-Volt Reference

4

--

--

Not Used

5

0.5 OG/BK

6045

Steering Angle Sensor Low Reference

6

--

--

Not Used