GM Service Manual Online
For 1990-2009 cars only
Connector 1: X100 Front Marker Lamp Harness to Forward Lamp Harness
Connector 2: X102 Forward Lamp Harness to Body Harness (Early Production)
Connector 3: X102 Forward Lamp Harness to Body Harness (Late Production)
Connector 4: X103 Forward Lamp Harness to Headlamp Assembly Harness - Left
Connector 5: X105 Engine Harness to Body Harness (HP7)
Connector 6: X105 Engine Harness to Body Harness (without HP7)
Connector 7: X107 Forward Lamp Harness to Headlamp Assembly Harness - Right
Connector 8: X110 Engine Harness to Fuel Injector Harness (LAT/LE5)
Connector 9: X110 Engine Harness to Fuel Injector Harness (LY7)
Connector 10: X110 Engine Harness to Fuel Injector Harness (LZ4)
Connector 11: X112 Engine Harness to Transmission Harness (ME7/MN5)
Connector 12: X131 Body Harness to Left Front Wheel Speed Sensor Harness
Connector 13: X134 Body Harness to Right Front Wheel Speed Sensor Harness
Connector 14: X141 Body Harness to Heated Nozzle Harness (XA7)
Connector 15: X200 I/P Harness to Body Harness
Connector 16: X202 I/P Harness to HVAC Harness
Connector 17: X204 I/P Harness to Body Harness
Connector 18: X210 I/P Harness to Immobilizer Harness (LY7/LZ4)
Connector 19: X214 I/P Harness to Antenna Harness
Connector 20: X250 Inflatable Restraint Steering Wheel Module Coil Jumper Harness to Body Harness (SIR)
Connector 21: X260 Inflatable Restraint I/P Module Jumper Harness to Body Harness (SIR)
Connector 22: X262 Inflatable Restraint I/P Module Jumper Harness to Body Harness (SIR)
Connector 23: X310 Console Harness to Body Harness (KA1)
Connector 24: X350 Body Harness to Left Heated Seat Harness (AE8/KA1)
Connector 25: X351 Body Harness to Left Seat Belt Harness
Connector 26: X352 Body Harness to Right Heated Seat Harness (KA1)
Connector 27: X353 Body Harness to Right Seat Belt Harness
Connector 28: X400 Headliner Harness to Body Harness
Connector 29: X401 Headliner Harness to Body Harness (DD8)
Connector 30: X402 Liftgate Harness to Body Harness
Connector 31: X404 Center High Mounted Stop Lamp (CHMSL) Jumper Harness to Body Harness
Connector 32: X406 Fuel Sender Harness to Body Harness
Connector 33: X407 Body Harness to Generator Battery Assembly Harness (HP7)
Connector 34: X408 Rear Chassis Harness to Body Harness
Connector 35: X409 Rear Marker Lamp Harness to Body Harness
Connector 36: X410 Rear Tail Lamp Assembly Harness to Body Harness - Right
Connector 37: X411 Rear Tail Lamp Assembly Harness to Body Harness - Left
Connector 38: X414 Headliner Harness to Sunroof Module Harness (CF5)
Connector 39: X430 Trailer Jumper Harness to Body Harness (V92)
Connector 40: X500 Body Harness to Door Harness - Left Front
Connector 41: X505 Door Harness to Door Jumper Harness Left Front
Connector 42: X507 Door Harness to Door Jumper Harness - Left Front
Connector 43: X509 Left Front Door Trim Harness to Left Door Courtesy Lamp Harness
Connector 44: X600 Body Harness to Door Harness - Right Front
Connector 45: X605 Door Harness to Door Jumper Harness - Right Front
Connector 46: X609 Right Front Door Trim Harness to Right Door Courtesy Lamp Harness
Connector 47: X700 Body Harness to Door Harness - Left Rear
Connector 48: X701 Door Harness to Door Jumper Harness - Left Rear
Connector 49: X800 Body Harness to Door Harness - Right Rear
Connector 50: X801 Door Harness to Door Jumper Harness - Right Rear
Connector 51: X910 Liftgate Harness to Rear Defogger Jumper Harness
Connector 52: X912 Liftgate Harness to Liftgate Jumper Harness
Connector 53: X925 Liftgate Jumper Harness to License Lamp Harness

X100 Front Marker Lamp Harness to Forward Lamp Harness


Object Number: 646430  Size: CH

Object Number: 806431  Size: CH

Connector Part Information

  • OEM: 15487756
  • Service: 19180287
  • Description: 4-Way F GT 150 Series, Sealed (BK)

Connector Part Information

  • OEM: 15326820
  • Service: 15326820
  • Description: 4-Way M GT 150 Series, Sealed (BK)

Terminal Part Information

  • Terminal/Tray: 12191819/8
  • Core/Insulation Crimp: E/A
  • Release Tool/Test Probe: 15315247/J-35616-2A (GY)

Terminal Part Information

  • Terminal/Tray: 15326269/19
  • Core/Insulation Crimp: E/4
  • Release Tool/Test Probe: 15315247/J-35616-3 (GY)

X100 Front Marker Lamp Harness to Forward Lamp Harness

Pin

Wire

Circuit

Function

Pin

Wire

Circuit

Function

A

0.5 PU

34

Fog Lamps Supply Voltage (T37/T96)

A

0.5 PU

34

Fog Lamps Supply Voltage (T37/T96)

B

0.5 BN/WH

309

Right Park Lamp Supply Voltage

B

0.5 BN/WH

309

Right Park Lamp Supply Voltage

C

0.5 PU

709

Left Park Lamp Supply Voltage

C

0.5 PU

709

Left Park Lamp Supply Voltage

D

0.5 BK

150

Ground

D

0.5 BK

150

Ground

X102 Forward Lamp Harness to Body Harness (Early Production)


Object Number: 632357  Size: CH

Object Number: 646396  Size: CH

Connector Part Information

  • OEM: 15326829
  • Service: 88953153
  • Description: 6-Way F GT 150 Series, Sealed (BK)

Connector Part Information

  • OEM: 15326833
  • Service: 15326833
  • Description: 6-Way M GT 150 Series, Sealed (BK)

Terminal Part Information

  • Terminal/Tray: 12191819/8
  • Core/Insulation Crimp: E/A
  • Release Tool/Test Probe: 15315247/J-35616-2A (GY)

Terminal Part Information

  • Terminal/Tray: 15326269
  • Core/Insulation Crimp: E/4
  • Release Tool/Test Probe: 15315247/J-35616-3 (GY)

X102 Forward Lamp Harness to Body Harness (Early Production)

Pin

Wire

Circuit

Function

Pin

Wire

Circuit

Function

A

0.5 D-GN/WH

636

Ambient Air Temperature Sensor Signal

A

0.5 D-GN/WH

636

Ambient Air Temperature Sensor Signal

B

0.5 YE

61

Low Reference

B

0.5 YE

61

Low Reference

C

0.5 YE/BK

6169

Middle Front Impact Sensing Module Signal

C

0.5 YE/BK

6169

Middle Front Impact Sensing Module Signal

D

0.5 YE

6168

Middle Front Impact Sensing Module Supply Voltage

D

0.5 YE

6168

Middle Front Impact Sensing Module Supply Voltage

E

0.5 L-GN

6777

Middle Front Impact Sensing Module (2) Signal

E

0.5 L-GN

6777

Middle Front Impact Sensing Module (2) Signal

F

0.5 YE/GY

6776

Middle Front Impact Sensing Module (2) Supply Voltage

F

0.5 YE/GY

6776

Middle Front Impact Sensing Module (2) Supply Voltage

X102 Forward Lamp Harness to Body Harness (Late Production)


Object Number: 831368  Size: CH

Object Number: 684916  Size: CH

Connector Part Information

  • OEM: 15326835
  • Service: 88986255
  • Description: 8-Way F GT 150 Series, Sealed (BK)

Connector Part Information

  • OEM: 15326840
  • Service: 15326840
  • Description: 8-Way M GT 150 Series Sealed 4.0 (BK)

Terminal Part Information

  • Pins: A-H
  • Terminal/Tray: 12191819/8
  • Core/Insulation Crimp: Pins: A-D, F-H : E/A
  • Core/Insulation Crimp: Pins: E : 2/A
  • Release Tool/Test Probe: 15315247/J-35616-2A (GY)

Terminal Part Information

  • Terminal/Tray: See Terminal Repair Kit
  • Core/Insulation Crimp: See Terminal Repair Kit
  • Release Tool/Test Probe: See Terminal Repair Kit

X102 Forward Lamp Harness to Body Harness (Late Production)

Pin

Wire

Circuit

Function

Pin

Wire

Circuit

Function

A

0.5 YE

6168

Middle Front Impact Sensing Module Supply Voltage

A

0.5 YE

6168

Middle Front Impact Sensing Module Supply Voltage

B

0.5 YE/GY

6776

Middle Front Impact Sensing Module (2) Supply Voltage

B

0.5 YE/GY

6776

Middle Front Impact Sensing Module (2) Supply Voltage

C

0.5 D-GN/WH

636

Ambient Air Temperature Sensor Signal

C

0.5 D-GN/WH

636

Ambient Air Temperature Sensor Signal

D

--

--

Not Used

D

--

--

Not Used

E

0.5 YE/BK

6169

Middle Front Impact Sensing Module Signal

E

0.5 YE/BK

6169

Middle Front Impact Sensing Module Signal

F

0.5 L-GN

6777

Middle Front Impact Sensing Module (2) Signal

F

0.5 L-GN

6777

Middle Front Impact Sensing Module (2) Signal

G

0.5 YE

61

Low Reference

G

0.5 YE

61

Low Reference

H

1 BK

150

Ground

H

1 BK

150

Ground

X103 Forward Lamp Harness to Headlamp Assembly Harness - Left


Object Number: 646430  Size: CH

Object Number: 806431  Size: CH

Connector Part Information

  • OEM: 15326815
  • Service: 15306396
  • Description: 4-Way F GT 150 Sealed 4.0 (BK)

Connector Part Information

  • OEM: 15326820
  • Service: 15326820
  • Description: 4-Way M GT 150 Series, Sealed 4.0 (BK)

Terminal Part Information

  • Terminal/Tray: 12191819/8
  • Core/Insulation Crimp: E/A
  • Release Tool/Test Probe: 15315247/J-35616-2A (GY)

Terminal Part Information

  • Terminal/Tray: 15326269/19
  • Core/Insulation Crimp: E/4
  • Release Tool/Test Probe: 15315247/J-35613-3 (GY)

X103 Forward Lamp Harness to Headlamp Assembly Harness - Left

Pin

Wire

Circuit

Function

Pin

Wire

Circuit

Function

A

0.5 D-GN/WH

711

Left Headlamp High Beam Supply Voltage

A

0.5 OG

711

Left Headlamp High Beam Supply Voltage

B

0.5 BK

150

Ground

B

0.5 BK/WH

150

Ground

C

0.5 YE

712

Left Headlamp Low Beam Supply Voltage

C

0.5 L-GN

712

Left Headlamp Low Beam Supply Voltage

D

--

--

Not Used

D

--

--

Not Used

X105 Engine Harness to Body Harness (HP7)


Object Number: 1715240  Size: CH

Object Number: 655777  Size: CH

Connector Part Information

  • OEM: 15443822
  • Service: See Catalog
  • Description: 38-Way F GT 150, 280 Series (BK)

Connector Part Information

  • OEM: 15317380
  • Service: 88988307
  • Description: 38-Way M GT 150 280 Series (BK)

Terminal Part Information

  • Terminal/Tray: See Terminal Repair Kit
  • Core/Insulation Crimp: See Terminal Repair Kit
  • Release Tool/Test Probe: See Terminal Repair Kit

Terminal Part Information

  • Pins: A1-A2, A7-A8, B1-B12, C1-C12, D1-D2, D7-D8
  • Terminal/Tray: 15304702/19
  • Core/Insulation Crimp: Pins: A7-A8, D1-D2, D8 : 2/4
  • Core/Insulation Crimp: Pins: B5-B8, B11, C1, C5-C8, C10 : E/4
  • Core/Insulation Crimp: Pins: A1-A2, B1-B4, B9-B10, B12, C2-C4, C9, C11-C12, D7 : E/C
  • Release Tool/Test Probe: 15315247/J-35616-3 (GY)
  • Pins: A3, A5, D3-D6
  • Terminal/Tray: 15304722/8
  • Core/Insulation Crimp: E/C
  • Release Tool/Test Probe: 15315247/J-35616-5 (PU)
  • Pins: A4, A6
  • Terminal/Tray: 15304724/8
  • Core/Insulation Crimp: See Terminal Repair Kit
  • Release Tool/Test Probe: 15315247/J-35616-5 (PU)

X105 Engine Harness to Body Harness (HP7)

Pin

Wire

Circuit

Function

Pin

Wire

Circuit

Function

A1

0.35 L-BU

5986

Serial Data Communication Enable

A1

0.35 L-BU

5986

Serial Data Communication Enable

A2

0.35 BN/WH

6283

Fuel Tank Vapor Pressure Sensor Supply Voltage

A2

0.35 BN/WH

6283

Fuel Tank Vapor Pressure Sensor Supply Voltage

A3

0.35D-GN

890

Fuel Tank Pressure Sensor Signal

A3

0.35D-GN

890

Fuel Tank Pressure Sensor Signal

A4

0.5 RED/BK

42

Battery Positive Voltage

A4

0.5 RED/BK

42

Battery Positive Voltage

A5

--

--

Not Available

A5

--

--

Not Available

A6

0.35 D-BU

1936

Fuel Level Sensor Signal - Primary

A6

0.35 D-BU

1936

Fuel Level Sensor Signal - Primary

A7

0.35 L-BU

1937

Secondary Fuel Level Sensor Signal - Secondary

A7

0.35 L-BU

1937

Secondary Fuel Level Sensor Signal - Secondary

A8

0.5 BN/WH

6281

Fuel Level Sensor Low Reference

A8

0.5 BN/WH

6281

Fuel Level Sensor Low Reference

B1

--

--

Not Available

B1

--

--

Not Available

B2

0.5 PU

1272

Low Reference

B2

0.5 PU

1272

Low Reference

B3

0.5 TN

1274

5-Volt Reference

B3

0.5 TN

1274

5-Volt Reference

B4

0.5 L-BU

1162

APP Sensor 2 Signal

B4

0.5 L-BU

1162

APP Sensor 2 Signal

B5-B7

--

--

Not Available

B5

--

--

Not Available

B8

0.5 TN/BK

2500

High Speed GMLAN Serial Data Bus+

B8

0.5 TN/BK

2500

High Speed GMLAN Serial Data Bus+

B9

0.5 TN

2501

High Speed GMLAN Serial Data Bus-

B9

0.5 TN

2501

High Speed GMLAN Serial Data Bus-

B10

0.35 YE

5530

Hood Open Switch Signal

B10

0.35 YE

5530

Hood Open Switch Signal

B11

0.35 PU

5531

Hood Closed Switch Signal

B11

0.35 PU

5531

Hood Closed Switch Signal

B12

--

--

Not Available

B12

--

--

Not Available

C1

--

--

Not Available

C1

--

--

Not Available

C2

0.5 BN

1271

Low Reference

C2

0.5 BN

1271

Low Reference

C3

0.5 WH/BK

1164

5-Volt Reference

C3

0.5 WH/BK

1164

5-Volt Reference

C4

0.5 D-BU

1161

APP Sensor 1 Signal

C4

0.5 D-BU

1161

APP Sensor 1 Signal

C5-C8

--

--

Not Available

C5-C8

--

--

Not Available

C9

0.5 BN

909

Hill Hold Brake Delay Valves Relay Contact Output Voltage

C9

0.5 BN

909

Hill Hold Brake Delay Valves Relay Contact Output Voltage

C10

0.5 BN

909

Hill Hold Brake Delay Valves Relay Contact Output Voltage

C10

0.5 BN

909

Hill Hold Brake Delay Valves Relay Contact Output Voltage

C11

0.8 PU

910

Hill Hold Brake Delay Valve 1 Control

C11

0.8 PU

910

Hill Hold Brake Delay Valve 1 Control

C12

0.8 L-GN

911

Hill Hold Brake Delay Valve 2 Control

C12

0.8 L-GN

911

Hill Hold Brake Delay Valve 2 Control

D1

0.8 Gy

6034

Brake Fluid Pressure Sensor 5 Volt Reference

D1

0.8 Gy

6034

Brake Fluid Pressure Sensor 5 Volt Reference

D2

0.35 TN/BK

6033

Low Reference

D2

0.35 TN/BK

6033

Low Reference

D3

0.35 YE

2034

Brake Fluid Pressure Sensor Signal

D3

0.35 YE

2034

Brake Fluid Pressure Sensor Signal

D4-D5

--

--

Not Available

D4

--

--

Not Available

D6

0.5 GY

9905

Brake Booster Vacuum Sensor 5 Volt Reference

D6

0.5 GY

9905

Brake Booster Vacuum Sensor 5 Volt Reference

D7

0.8 TN/BK

9945

Low Reference

D7

0.8 TN/BK

9945

Low Reference

D8

0.8 YE

9914

Brake Booster Vacuum Sensor Signal

D8

0.8 YE

9914

Brake Booster Vacuum Sensor Signal

X105 Engine Harness to Body Harness (without HP7)


Object Number: 632346  Size: CH

Object Number: 632345  Size: CH

Connector Part Information

  • OEM: 15326864
  • Service: 15306381
  • Description: 16-Way F 150 Series, Sealed (BK)

Connector Part Information

  • OEM: 15326868
  • Service: 15306364
  • Description: 16-Way M 150 Series, Sealed (BK)

Terminal Part Information

  • Terminal/Tray: 12191819/8
  • Core/Insulation Crimp: E/A
  • Release Tool/Test Probe: 15315247/J-35616-2A (GY)

Terminal Part Information

  • Terminal/Tray: See Terminal Repair Kit
  • Core/Insulation Crimp: See Terminal Repair Kit
  • Release Tool/Test Probe: See Terminal Repair Kit

X105 Engine Harness to Body Harness (without HP7)

Pin

Wire

Circuit

Function

Pin

Wire

Circuit

Function

A

0.5 TN/BK

2500

High Speed GMLAN Serial Data Bus+

A

0.5 TN/BK

2500

High Speed GMLAN Serial Data Bus+

B

0.5 TN

2501

High Speed GMLAN Serial Data Bus-

B

0.5 TN

2501

High Speed GMLAN Serial Data Bus-

C

0.5 TN

1274

5-Volt Reference

C

0.35 TN

1274

5-Volt Reference

D

0.5 L-BU

1162

APP Sensor 2 Signal

D

0.35 L-BU

1162

APP Sensor 2 Signal

E

0.5 PU

1272

Low Reference

E

0.35 PU

1272

Low Reference

F

0.5 WH/BK

1164

5-Volt Reference

F

0.35 WH/BK

1164

5-Volt Reference

G

0.5 D-BU

1161

APP Sensor 1 Signal

G

0.35 D-BU

1161

APP Sensor 1 Signal

H

0.5 BN

1271

Low Reference

H

0.35 BN

1271

Low Reference

J

0.5 D-BU

1936

Fuel Level Sensor Signal - Secondary

J

0.5 D-BU

1936

Fuel Level Sensor Signal - Secondary

K

0.5 L-BU

1937

Secondary Fuel Level Sensor Signal

K

0.5 L-BU

1937

Secondary Fuel Level Sensor Signal

L

0.5 BN/WH

6281

Fuel Level Sensor Low Reference

L

0.5 BN/WH

6281

Fuel Level Sensor Low Reference

M

0.5 D-GN

890

Fuel Tank Pressure Sensor Signal

M

0.5 D-GN

890

Fuel Tank Pressure Sensor Signal

N

0.5 BN/WH

6283

Fuel Tank Vapor Pressure Sensor Supply Voltage

N

0.5 BN/WH

6283

Fuel Tank Vapor Pressure Sensor Supply Voltage

P

0.5 L-GN

6338

Manual Transmission Clutch Position Sensor Signal Position (LE5+MG3/MN5)

P

0.35 L-GN

6338

Manual Transmission Clutch Position Sensor Signal Position

R

0.5 D-GN

6293

Clutch Position Sensor Supply Voltage (LE5+MG3/MN5)

R

0.35 D-GN

6293

Clutch Position Sensor Supply Voltage

S

0.5 D-GN/WH

6294

Clutch Position Sensor Low Reference (LE5+MG3/MN5)

S

0.35 D-GN/WH

6294

Clutch Position Sensor Low Reference

X107 Forward Lamp Harness to Headlamp Assembly Harness - Right


Object Number: 646430  Size: CH

Object Number: 806431  Size: CH

Connector Part Information

  • OEM: 15326815
  • Service: 15306396
  • Description: 4-Way F GT 150 Sealed 4.0 (BK)

Connector Part Information

  • OEM: 15326820
  • Service: 15326820
  • Description: 4-Way M GT 150 Series, Sealed 4.0 (BK)

Terminal Part Information

  • Terminal/Tray: 12191819/8
  • Core/Insulation Crimp: E/A
  • Release Tool/Test Probe: 15315247/J-35616-2A (GY)

Terminal Part Information

  • Terminal/Tray: 15326269/19
  • Core/Insulation Crimp: E/4
  • Release Tool/Test Probe: 15315247/J-35613-3 (GY)

X107 Forward Lamp Harness to Headlamp Assembly Harness - Right

Pin

Wire

Circuit

Function

Pin

Wire

Circuit

Function

A

0.5 L-GN/BK

311

Right Headlamp High Beam Supply Voltage

A

0.5 OG

311

Right Headlamp High Beam Supply Voltage

B

0.5 BK/WH

151

Ground

B

0.5 BK/WH

151

Ground

C

0.5 TN/WH

312

Right Headlamp Low Beam Supply Voltage

C

0.5 L-GN

312

Right Headlamp Low Beam Supply Voltage

D

--

--

Not Used

D

--

--

Not Used

X110 Engine Harness to Fuel Injector Harness (LAT/LE5)


Object Number: 831368  Size: CH

Object Number: 684916  Size: CH

Connector Part Information

  • OEM: 15326836
  • Service: 88986255
  • Description: 8-Way F GT 150 Series, Sealed (BK)

Connector Part Information

  • OEM: 15326840
  • Service: 15326840
  • Description: 8-Way M GT 150 Series Sealed 4.0 (BK)

Terminal Part Information

  • Pins: A-H
  • Terminal/Tray: 12191819/8
  • Core/Insulation Crimp: Pins: A-D, F-H : E/A
  • Core/Insulation Crimp: Pins: E : 2/A
  • Release Tool/Test Probe: 15315247/J-35616-2A (GY)

Terminal Part Information

  • Terminal/Tray: See Terminal Repair Kit
  • Core/Insulation Crimp: See Terminal Repair Kit
  • Release Tool/Test Probe: See Terminal Repair Kit

X110 Engine Harness to Fuel Injector Harness (LAT/LE5)

Pin

Wire

Circuit

Function

Pin

Wire

Circuit

Function

A

0.5 TN

1744

Fuel Injector 1 Control

A

0.5 TN

1744

Fuel Injector 1 Control

B

0.5 L-GN/BK

1745

Fuel Injector 2 Control

B

0.5 L-GN/BK

1745

Fuel Injector 2 Control

C

0.5 PK/BK

1746

Fuel Injector 3 Control

C

0.5 PK/BK

1746

Fuel Injector 3 Control

D

0.5 L-BU/BK

844

Fuel Injector 4 Control

D

0.5 L-BU/BK

844

Fuel Injector 4 Control

E

0.5 PK/BK

5291

Ignition 1 Voltage

E

0.5 PK/BK

139

Ignition 1 Voltage

F

0.5 OG/BK

469

Low Reference

F

0.5 OG/BK

469

Low Reference

G

0.5 L-GN

432

MAP Sensor Signal

G

0.5 L-GN

432

MAP Sensor Signal

H

0.5 GY

2704

5-Volt Reference

H

0.5 GY

2704

5-Volt Reference

X110 Engine Harness to Fuel Injector Harness (LY7)


Object Number: 831368  Size: CH

Object Number: 684916  Size: CH

Connector Part Information

  • OEM: 15326836
  • Service: 88986255
  • Description: 8-Way F GT 150 Series, Sealed (BK)

Connector Part Information

  • OEM: 15326840
  • Service: 15326840
  • Description: 8-Way M GT 150 Series Sealed 4.0 (BK)

Terminal Part Information

  • Pins: A-H
  • Terminal/Tray: 12191819/8
  • Core/Insulation Crimp: Pins: A-D, F-H : E/A
  • Core/Insulation Crimp: Pins: E : 2/A
  • Release Tool/Test Probe: 15315247/J-35616-2A (GY)

Terminal Part Information

  • Terminal/Tray: See Terminal Repair Kit
  • Core/Insulation Crimp: See Terminal Repair Kit
  • Release Tool/Test Probe: See Terminal Repair Kit

X110 Engine Harness to Fuel Injector Harness (LY7)

Pin

Wire

Circuit

Function

Pin

Wire

Circuit

Function

A

0.5 PK/BK

5291

Ignition 1 Voltage

A

0.5 PK/BK

5291

Ignition 1 Voltage

B

0.5 TN

1744

Fuel Injector 1 Control

B

0.5 TN

1744

Fuel Injector 1 Control

C

0.5 PK/BK

1746

Fuel Injector 3 Control

C

0.5 PK/BK

1746

Fuel Injector 3 Control

D

0.5 TN/WH

845

Fuel Injector 5 Control

D

0.5 TN/WH

845

Fuel Injector 5 Control

E

1 PK/BK

5292

Ignition 1 Voltage

E

1 PK/BK

5292

Ignition 1 Voltage

F

0.5 L-GN/BK

1745

Fuel Injector 2 Control

F

0.5 L-GN/BK

1745

Fuel Injector 2 Control

G

0.5 L-BU/BK

844

Fuel Injector 4 Control

G

0.5 L-BU/BK

844

Fuel Injector 4 Control

H

0.5 YE/BK

846

Fuel Injector 6 Control

H

0.5 YE/BK

846

Fuel Injector 6 Control

X110 Engine Harness to Fuel Injector Harness (LZ4)


Object Number: 646383  Size: CH

Object Number: 632345  Size: CH

Connector Part Information

  • OEM: 15326863
  • Service: 15306410
  • Description: 16-Way F GT 150 Series, Sealed 4.0 (BK)

Connector Part Information

  • OEM: 15326867
  • Service: See Catalog
  • Description: 16-Way M GT 150 Series Sealed (BK)

Terminal Part Information

  • Pins: A-H, L
  • Terminal/Tray: 12191819/8
  • Core/Insulation Crimp: Pins: A : 2/A
  • Core/Insulation Crimp: Pins: B-H, L : E/A
  • Release Tool/Test Probe: 15315247/J-35616-2A (GY)
  • Pins: N-R
  • Terminal/Tray: 15326427/5
  • Core/Insulation Crimp: E/A
  • Release Tool/Test Probe: 15315247/J-35616-2A (GY)

Terminal Part Information

  • Terminal/Tray: 15326269/19
  • Core/Insulation Crimp: E/4
  • Release Tool/Test Probe: 15315247/J-35616-3 (GY)

X110 Engine Harness to Fuel Injector Harness (LZ4)

Pin

Wire

Circuit

Function

Pin

Wire

Circuit

Function

A

1 PK/BK

5291

Ignition 1 Voltage

A

1 PK/BK

5291

Ignition 1 Voltage

B

0.5 YE

410

ECT Sensor Signal

B

0.5 YE

410

ECT Sensor Signal

C

0.5 TN

1744

Fuel Injector 1 Control

C

0.5 TN

1744

Fuel Injector 1 Control

D

0.5 L-GN/BK

1745

Fuel Injector 2 Control

D

0.5 L-GN/BK

1745

Fuel Injector 2 Control

E

0.5 PK/BK

1746

Fuel Injector 3 Control

E

0.5 PK/BK

1746

Fuel Injector 3 Control

F

0.5 L-BU/BK

844

Fuel Injector 4 Control

F

0.5 L-BU/BK

844

Fuel Injector 4 Control

G

0.5 TN/WH

845

Fuel Injector 5 Control

G

0.5 TN/WH

845

Fuel Injector 5 Control

H

0.5 YE/BK

846

Fuel Injector 6 Control

H

0.5 YE/BK

846

Fuel Injector 6 Control

J-K

--

--

Not Used

J-K

--

--

Not Used

L

0.5 TN

2761

Low Reference

L

0.5 TN

2761

Low Reference

M

--

--

Not Used

M

--

--

Not Used

N

0.5 D-BU

6259

5-Volt Reference

N

0.5 D-BU

6259

5-Volt Reference

P

0.5 BN

6266

Low Reference

P

0.5 BN

6266

Low Reference

R

0.5 D-BU/WH

6265

Camshaft Position (CMP) Sensor Signal - Bank 1 Intake

R

0.5 D-BU/WH

6265

Camshaft Position (CMP) Sensor Signal - Bank 1 Intake

S

--

--

Not Used

S

--

--

Not Used

X112 Engine Harness to Transmission Harness (ME7/MN5)


Object Number: 1922568  Size: CH

Object Number: 1922569  Size: CH

Connector Part Information

  • OEM: 15472125
  • Service: 89047246
  • Description: 20-Way F Micro-Pack 100W Series Sealed (BK)

Connector Part Information

  • OEM: 15443076
  • Service: See Catalog
  • Description: 20-Way M Micro-Pack 100W Series Sealed (BK)

Terminal Part Information

  • Pins: See Terminal Repair Kit
  • Terminal/Tray: See Terminal Repair Kit
  • Core/Insulation Crimp: See Terminal Repair Kit
  • Release Tool/Test Probe: See Terminal Repair Kit

Terminal Part Information

  • Pins: See Terminal Repair Kit
  • Terminal/Tray: See Terminal Repair Kit
  • Core/Insulation Crimp: See Terminal Repair Kit
  • Release Tool/Test Probe: See Terminal Repair Kit

X112 Engine Harness to Transmission Harness (ME7/MN5)

Pin

Wire

Circuit

Function

Pin

Wire

Circuit

Function

A

0.35 L-GN

1222

1-2 Shift Solenoid Valve Control

A

0.5 L-GN

1222

1-2 Shift Solenoid Valve Control

B

0.35 YE/BK

1223

2-3 Shift Solenoid Valve Control

B

0.5 YE

1223

2-3 Shift Solenoid Valve Control

C

0.35 OG/BK

1228

PC Solenoid Valve High Control (Sol. A)

C

0.5 PU

1228

PC Solenoid Valve High Control (Sol. A)

D

0.35 L-BU/WH

1229

PC Solenoid Valve Low Control (Sol. A)

D

0.5 L-BU

1229

PC Solenoid Valve Low Control (Sol. A)

E

0.5 PK

639

Ignition 1 Voltage

E

0.5 RD

839

Ignition 1 Voltage

F-K

--

--

Not Available

F-K

--

--

Not Available

L

0.35 YE/BK

1227

TFT Sensor Signal

L

0.5 BN

1227

TFT Sensor Signal

M

0.35 TN

2762

Low Reference

M

0.5 GY

452

Low Reference

N

--

--

Not Used

N

--

--

Not Used

P

0.35 OG

1226

Transmission Fluid Pressure Switch Signal C

P

0.5 OG

1226

Transmission Fluid Pressure Switch Signal C

R

0.35 D-BU

1225

Transmission Fluid Pressure Switch Signal B

R

0.5 D-BU

1225

Transmission Fluid Pressure Switch Signal B

S

0.35 OG/BK

1230

AT ISS High Signal

S

0.5 BK

1230

AT ISS High Signal

T

0.35 TN/BK

422

TCC PWM Solenoid Valve Control

T

0.5 TN

418

TCC PWM Solenoid Valve Control

U

0.35 YE

657

TCC Release Switch Signal

U

0.5 WH

1804

TCC Release Switch Signal

V

0.35 D-BU/WH

1231

AT ISS Low Signal

V

0.5 D-GN

1231

AT ISS Low Signal

W

--

--

Not Available

W

--

--

Not Available

X131 Body Harness to Left Front Wheel Speed Sensor Harness


Object Number: 635009  Size: CH

Object Number: 333041  Size: CH

Connector Part Information

  • OEM: 12052641
  • Service: 12052641
  • Description: 2-Way F Metri-Pack 150 Series, Sealed (BK)

Connector Part Information

  • OEM: 12162000
  • Service: 12167120
  • Description: 2-Way M Metri-Pack 150 Series Sealed (BK)

Terminal Part Information

  • Terminal/Tray: 12048074/2
  • Core/Insulation Crimp: E/1
  • Release Tool/Test Probe: 12094429/J-35616-14 (GN)

Terminal Part Information

  • Terminal/Tray: 12045773/2
  • Core/Insulation Crimp: E/1
  • Release Tool/Test Probe: 12094429/J-35616-3 (GY)

X131 Body Harness to Left Front Wheel Speed Sensor Harness

Pin

Wire

Circuit

Function

Pin

Wire

Circuit

Function

A

0.5 L-BU

830

Left Front Wheel Speed Sensor Signal

A

0.5 WH

830

Left Front Wheel Speed Sensor Signal

B

0.5 GY/WH

7064

Wheel Speed Sensor Supply Voltage Left Front

B

0.5 BK

7064

Wheel Speed Sensor Supply Voltage Left Front

X134 Body Harness to Right Front Wheel Speed Sensor Harness


Object Number: 635009  Size: CH

Object Number: 333041  Size: CH

Connector Part Information

  • OEM: 12052641
  • Service: 12052641
  • Description: 2-Way F Metri-Pack 150 Series, Sealed (BK)

Connector Part Information

  • OEM: 12162000
  • Service: 12167120
  • Description: 2-Way M Metri-Pack 150 Series, Sealed (BK)

Terminal Part Information

  • Terminal/Tray: 12048074/2
  • Core/Insulation Crimp: E/1
  • Release Tool/Test Probe: 12094429/J-35616-14 (GN)

Terminal Part Information

  • Terminal/Tray: 12045773/2
  • Core/Insulation Crimp: E/1
  • Release Tool/Test Probe: 12094429/J-35616-3 (GY)

X134 Body Harness to Right Front Wheel Speed Sensor Harness

Pin

Wire

Circuit

Function

Pin

Wire

Circuit

Function

A

0.5 D-GN

872

Right Front Wheel Speed Sensor Signal

A

0.5 WH

872

Right Front Wheel Speed Sensor Signal

B

0.5 GY/WH

7065

Wheel Speed Sensor Supply Voltage Right Front

B

0.5 BK

7065

Wheel Speed Sensor Supply Voltage Right Front

X141 Body Harness to Heated Nozzle Harness (XA7)


Object Number: 888601  Size: CH

Object Number: 897985  Size: CH

Connector Part Information

  • OEM: 10723741
  • Service: 88953306
  • Description: 2-Way F 1.5 (BK)

Connector Part Information

  • OEM: 7282-5548-30
  • Service: 88953303
  • Description: 2-Way M 1.5 (BK)

Terminal Part Information

  • Terminal/Tray: 7116-4102-08/9
  • Core/Insulation Crimp: E/1
  • Release Tool/Test Probe: 12094430/J-35616-2A (GY)

Terminal Part Information

  • Terminal/Tray: See Terminal Repair Kit
  • Core/Insulation Crimp: See Terminal Repair Kit
  • Release Tool/Test Probe: See Terminal Repair Kit

X141 Body Harness to Heated Nozzle Harness (XA7)

Pin

Wire

Circuit

Function

Pin

Wire

Circuit

Function

1

0.5 OG

267

Heated Washers Supply Voltage

1

0.5 OG

267

Heated Washers Supply Voltage

2

0.5 BK

450

Ground

2

0.5 BK

450

Ground

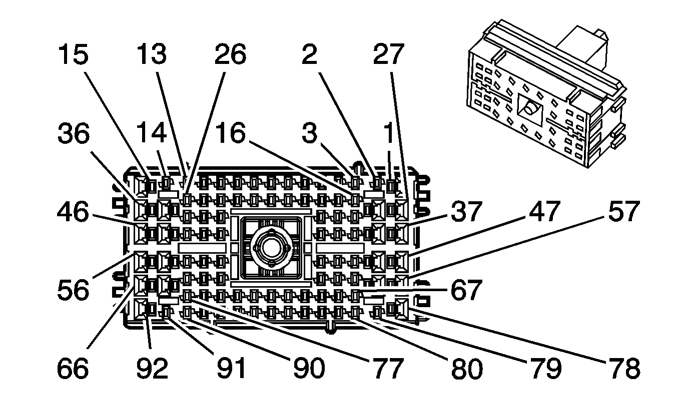
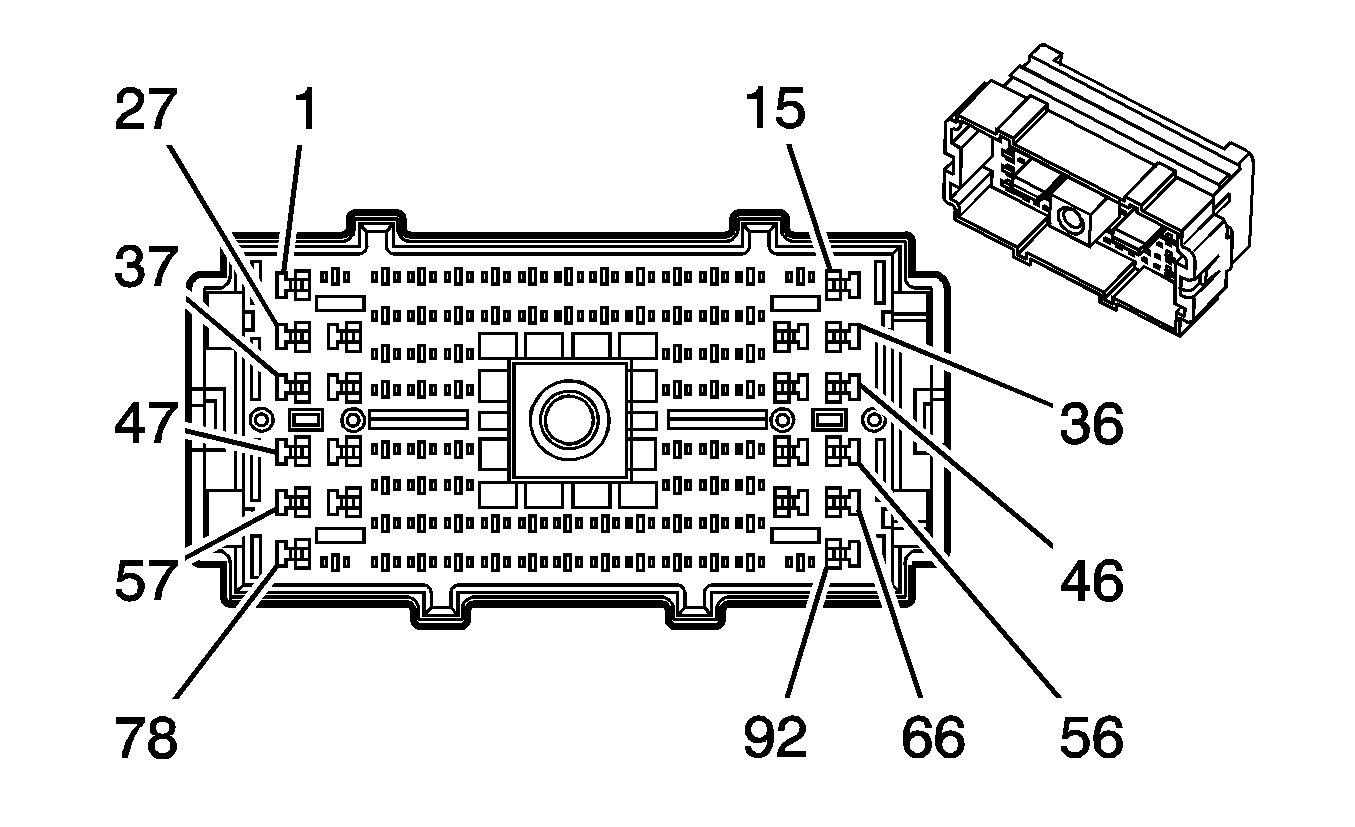
X200 I/P Harness to Body Harness


Object Number: 1830969  Size: CH

Object Number: 2001169  Size: CH

Connector Part Information

  • OEM: 13580434
  • Service: 19178162
  • Description: 92-Way F Hybrid Series, Unsealed (BK)

Connector Part Information

  • OEM: 13579289
  • Service: 19168038
  • Description: 92-Way M Hybrid Mixed (BK)

Terminal Part Information

  • Pins: 4-5, 8-8, 11-14, 20-23, 29, 33, 39, 41-44, 49-50, 52-54, 62-64, 70-72, 79-81, 83-84, 88-89, 91
  • Terminal/Tray: 1241374-1/17
  • Core/Insulation Crimp: Pins: 11-14 : E/C
  • Core/Insulation Crimp: Pins: 4-5, 7-8, 20, 23, 29, 33, 41-44, 49-50, 52-53, 62-63, 70-72, 79, 91 : See Terminal Repair Kit
  • Core/Insulation Crimp: Pins: 21-22, 54, 64, 80-81, 83-84, 88-89 : E/2
  • Core/Insulation Crimp: Pins: 39 : 2/C
  • Release Tool/Test Probe: J-38125-557/J-35616-14 (GN)
  • Pins: 27-28, 47, 78, 85-86, 92
  • Terminal/Tray: See Terminal Repair Kit
  • Core/Insulation Crimp: See Terminal Repair Kit
  • Release Tool/Test Probe: See Terminal Repair Kit

Terminal Part Information

  • Terminal/Tray: See Terminal Repair Kit
  • Core/Insulation Crimp: See Terminal Repair Kit
  • Release Tool/Test Probe: See Terminal Repair Kit

X200 I/P Harness to Body Harness

Pin

Wire

Circuit

Function

Pin

Wire

Circuit

Function

1-3

--

--

Not Used

1-3

--

--

Not Used

4

0.35 TN/WH

372

Remote Radio Audio Output (-) (U2K)

4

0.35 TN/WH

372

Remote Radio Audio Output (-) (U2K)

5

0.35 BN/WH

367

Left Audio Signal (+) (U2K)

5

0.35 BN/WH

367

Left Audio Signal (+) (U2K)

6

--

--

Not Used

6

--

--

Not Used

7

0.35 D-GN/WH

368

Right Audio Signal (+) (U2K)

7

0.35 D-GN/WH

368

Right Audio Signal (+) (U2K)

8

0.35 GY

388

Remote Radio Right Audio Signal (U2K)

8

0.35 GY

388

Remote Radio Right Audio Signal (U2K)

9-10

--

--

Not Used

9-10

--

--

Not Used

11

0.8 BN

199

Left Rear Speaker Output (+) (UW6)

11

0.8 BN

199

Left Rear Speaker Output (+) (UW6)

12

0.8 YE

116

Left Rear Speaker Output (-) (UW6)

12

0.8 YE

116

Left Rear Speaker Output (-) (UW6)

13

0.8 TN

201

Left Front Speaker Output (+) (UW6)

13

0.8 TN

201

Left Front Speaker Output (+) (UW6)

14

0.8 GY

118

Left Front Speaker Output (-) (UW6)

14

0.8 GY

118

Left Front Speaker Output (-) (UW6)

15-19

--

--

Not Used

15-19

--

--

Not Used

20

0.35 GY

391

Rear Window Wiper Switch Signal

20

0.35 GY

391

Rear Window Wiper Switch Signal

21

0.5 D-GN/WH

636

Ambient Air Temperature Sensor Signal

21

0.5 D-GN/WH

636

Ambient Air Temperature Sensor Signal

22

0.5 YE

61

Low Reference

22

0.5 YE

61

Low Reference

23

0.35 WH

193

Rear Defog Relay Control

23

0.35 WH

193

Rear Defog Relay Control

24-26

--

--

Not Used

24-26

--

--

Not Used

27

0.5 OG

1732

Courtesy Lamps Supply Voltage

27

0.5 OG

1732

Courtesy Lamps Supply Voltage

28

0.35 BARE

1573

Drain Wire

28

0.35 BARE

1573

Drain Wire

29

0.35 YE

18

Left Rear Stop/Turn Lamp Supply Voltage

29

0.5 YE

18

Left Rear Stop/Turn Lamp Supply Voltage

30-32

--

--

Not Used

30-32

--

--

Not Used

33

0.35 PU

333

Brake Fluid Level Sensor Signal

33

0.35 PU

333

Brake Fluid Level Sensor Signal

34-38

--

--

Not Used

34-38

--

--

Not Used

39

1 BK/WH

451

Ground

39

1 BK/WH

451

Ground

40

--

--

Not Used

40

--

--

Not Used

41

0.35 BN

1271

Low Reference

41

0.35 BN

1271

Low Reference

42

0.35 WH/BK

1164

5-Volt Reference

42

0.35 WH/BK

1164

5-Volt Reference

43

0.35 L-BU

1162

APP Sensor 2 Signal

43

0.35 L-BU

1162

APP Sensor 2 Signal

44

0.35 TN

1274

5-Volt Reference

44

0.35 TN

1274

5-Volt Reference

45-46

--

--

Not Used

45-46

--

--

Not Used

47

3 RD/WH

3040

Battery Positive Voltage

47

3 RD/WH

3040

Battery Positive Voltage

48

--

--

Not Used

48

--

--

Not Used

49

0.35 PU

1272

Low Reference

49

0.35 PU

1272

Low Reference

50

0.35 D-BU

1161

APP Sensor 1 Signal

50

0.35 D-BU

1161

APP Sensor 1 Signal

51

--

--

Not Used

51

--

--

Not Used

52

0.35 TN/WH

99

Windshield Washer Fluid Level Signal

52

0.35 TN/WH

99

Windshield Washer Fluid Level Signal

53

0.35 RD/WH

740

Battery Positive Voltage

53

0.35 RD/WH

740

Battery Positive Voltage

54

0.5 RD/WH

740

Battery Positive Voltage

54

0.5 RD/WH

740

Battery Positive Voltage

0.5 RD/WH

740

Battery Positive Voltage

55-61

--

--

Not Used

55-61

--

--

Not Used

62

0.35 PU

328

Interior Lamp Switch Voltage Supply Circuit

62

0.35 PU

328

Interior Lamp Switch Voltage Supply Circuit

63

0.35 BN

4

Accessory Voltage

63

0.35 BN

4

Accessory Voltage

0.35 BN

4

Accessory Voltage

64

0.5 D-GN/WH

817

Vehicle Speed Signal (U3U)

64

0.35 D-GN/WH

817

Vehicle Speed Signal (U3U)

65-69

--

--

Not Used

65-69

--

--

Not Used

70

0.35 D-GN/WH

6294

Clutch Position Sensor Low Reference (MG3)

70

0.35 D-GN/WH

6294

Clutch Position Sensor Low Reference (MG3)

71

0.35 L-GN

6338

Manual Transmission Clutch Position Sensor Signal Position (MG3)

71

0.35 L-GN

6338

Manual Transmission Clutch Position Sensor Signal Position (MG3)

72

0.35 D-GN

6293

Clutch Position Sensor Supply Voltage (MG3)

72

0.35 D-GN

6293

Clutch Position Sensor Supply Voltage (MG3)

73-77

--

--

Not Used

73-77

--

--

Not Used

78

0.35 GY/BK

690

Courtesy Lamp Supply Voltage (LY7/LZ4)

78

0.35 GY/BK

690

Courtesy Lamp Supply Voltage (LY7/LZ4)

79

0.35 BN/WH

419

MIL Control

79

0.35 BN/WH

419

MIL Control

80

0.5 WH/BK

6436

CAN Bus Low Terminated Serial Data (LY7/LZ4)

80

0.5 WH/BK

6436

CAN Bus Low Terminated Serial Data (LY7/LZ4)

81

0.5 BN/WH

6437

CAN Bus High Terminated Serial Data (LY7/LZ4)

81

0.5 BN/WH

6437

CAN Bus High Terminated Serial Data (LY7/LZ4)

82

--

--

Not Used

82

--

--

Not Used

83

0.5 OG/BK

6045

Steering Angle Sensor Low Reference (LY7/LZ4)

83

0.5 OG/BK

6045

Steering Angle Sensor Low Reference (LY7/LZ4)

84

0.5 GY

6044

Steering Angle Sensor 5-Volt Reference (LY7/LZ4)

84

0.5 GY

6044

Steering Angle Sensor 5-Volt Reference (LY7/LZ4)

85

0.5 TN/BK

2500

High Speed GMLAN Serial Data Bus+

85

0.5 TN/BK

2500

High Speed GMLAN Serial Data Bus+

0.5 TN/BK

2500

High Speed GMLAN Serial Data Bus+

86

0.5 TN

2501

High Speed GMLAN Serial Data Bus-

86

0.5 TN

2501

High Speed GMLAN Serial Data Bus-

0.5 TN

2501

High Speed GMLAN Serial Data Bus-

87

--

--

Not Used

87

--

--

Not Used

88

0.5 TN/WH

6433

CAN Bus High Serial Data (LY7/LZ4)

88

0.5 TN/WH

6433

CAN Bus High Serial Data (LY7/LZ4)

89

0.5 L-GN/BK

6432

CAN Bus Low Serial Data (LY7/LZ4)

89

0.5 L-GN/BK

6432

CAN Bus Low Serial Data (LY7/LZ4)

90

--

--

Not Used

90

--

--

Not Used

91

0.35 PK

439

Ignition 1 Voltage

91

0.35 PK

439

Ignition 1 Voltage

92

0.35 L-BU

5986

Serial Data Communication Enable

92

0.35 L-BU

5986

Serial Data Communication Enable

0.35 L-BU

5986

Serial Data Communication Enable (LAT)

92

0.35 L-BU

5986

Serial Data Communication Enable (LAT)

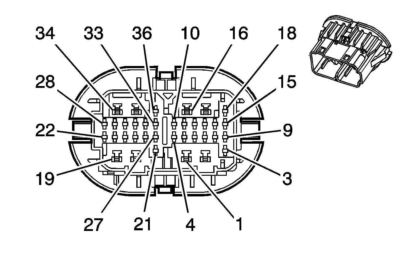
X202 I/P Harness to HVAC Harness


Object Number: 1963314  Size: CH

Object Number: 823318  Size: CH

Connector Part Information

  • OEM: 15326953
  • Service: 89046978
  • Description: 16-Way F GT 280 Series (BK)

Connector Part Information

  • OEM: 15326956
  • Service: 15326956
  • Description: 16-Way F GT 280 Series (BK)

Terminal Part Information

  • Pins: B-F, H-P, S
  • Terminal/Tray: 15304711/8
  • Core/Insulation Crimp: E/A
  • Release Tool/Test Probe: 15315247/J-35616-4A (PU)
  • Pins: G
  • Terminal/Tray: 15304713/19
  • Core/Insulation Crimp: F/D
  • Release Tool/Test Probe: 15315247/J-35616-4A (PU)

Terminal Part Information

  • Terminal/Tray: See Terminal Repair Kit
  • Core/Insulation Crimp: See Terminal Repair Kit
  • Release Tool/Test Probe: See Terminal Repair Kit

X202 I/P Harness to HVAC Harness

Pin

Wire

Circuit

Function

Pin

Wire

Circuit

Function

A

--

--

Not Used

A

--

--

Not Used

B

0.35 D-GN

734

Inside Air Temperature Sensor Signal (C68)

B

0.35 D-GN

734

Inside Air Temperature Sensor Signal (C68)

C

0.5 D-GN/WH

636

Ambient Air Temperature Sensor Signal

C

0.5 D-GN/WH

636

Ambient Air Temperature Sensor Signal

D

0.5 D-GN

5060

Low Speed GMLAN Serial Data

D

0.5 D-GN

5060

Low Speed GMLAN Serial Data

E

0.35 YE

1491

Backlight Lamps Control

E

0.35 YE

1491

Backlight Lamps Control

F

0.5 BN

41

Ignition 3 Voltage

F

0.5 BN

41

Ignition 3 Voltage

G

3 RD/WH

3040

Battery Positive Voltage

G

3 RD/WH

3040

Battery Positive Voltage

H

0.5 RD/WH

1840

Battery Positive Voltage

H

0.5 RD/WH

1840

Battery Positive Voltage

J

--

--

Not Used

J

--

--

Not Used

K

0.5 GY

5954

Inside Air Temperature Sensor Motor Control (C68)

K

0.5 GY

5954

Inside Air Temperature Sensor Motor Control (C68)

L

0.5 YE

61

Low Reference (C68)

L

0.5 YE

61

Low Reference (C68)

M

0.35 WH

193

Rear Defog Relay Control

M

0.35 WH

193

Rear Defog Relay Control

N

0.35 GY

1548

Passenger Sunload Sensor Signal (C68)

N

0.35 GY

1548

Passenger Sunload Sensor Signal (C68)

P

0.35 L-BU/BK

590

Driver Sunload Sensor Signal (C68)

P

0.35 L-BU/BK

590

Driver Sunload Sensor Signal (C68)

R

--

--

Not Used

R

--

--

Not Used

S

0.5 BK

350

Ground

S

0.5 BK

350

Ground

X204 I/P Harness to Body Harness


Object Number: 1538788  Size: CH

Object Number: 1715230  Size: CH

Connector Part Information

  • OEM: 15448129
  • Service: See Catalog
  • Description: 40-Way F GT 150, 280 Series (BK)

Connector Part Information

  • OEM: 15475869
  • Service: 88988307
  • Description: 40-Way M GT 150 280 Series (BK)

Terminal Part Information

  • Terminal/Tray: See Terminal Repair Kit
  • Core/Insulation Crimp: See Terminal Repair Kit
  • Release Tool/Test Probe: See Terminal Repair Kit

Terminal Part Information

  • Pins: A1-A2, A7-A8, B1-B12, C1-C12, D1-D2, D7-D8
  • Terminal/Tray: 15304702/19
  • Core/Insulation Crimp: Pins: A7-A8, D1-D2, D8 : 2/4
  • Core/Insulation Crimp: Pins: B5-B8, B11, C1, C5-C8, C10 : E/4
  • Core/Insulation Crimp: Pins: A1-A2, B1-B4, B9-B10, B12, C2-C4, C9, C11-C12, D7 : E/C
  • Release Tool/Test Probe: 15315247/J-35616-3 (GY)
  • Pins: A3, A5, D3-D6
  • Terminal/Tray: 15304722/8
  • Core/Insulation Crimp: E/C
  • Release Tool/Test Probe: 15315247/J-35616-5 (PU)
  • Pins: A4, A6
  • Terminal/Tray: 15304724/8
  • Core/Insulation Crimp: See Terminal Repair Kit
  • Release Tool/Test Probe: 15315247/J-35616-5 (PU)

X204 I/P Harness to Body Harness

Pin

Wire

Circuit

Function

Pin

Wire

Circuit

Function

A1-A3

--

--

Not Used

A1-A3

--

--

Not Used

A4

0.5 PK

1501

Driver Heated Seat High/Low Signal (C2B)

A4

0.5 PK

1501

Driver Heated Seat High/Low Signal (C2B)

0.5 PK

1501

Driver Heated Seat High/Low Signal (C2B)

A5

--

--

Not Used

A5

--

--

Not Used

A6

0.5 L-BU

1462

Heated Seat Switch Signal (C2B)

A6

0.5 L-BU

1462

Heated Seat Switch Signal (C2B)

0.5 L-BU

1462

Heated Seat Switch Signal (C2B)

A7-A8

--

--

Not Used

A7-A8

--

--

Not Used

B1-B12

--

--

Not Used

B1-B12

--

--

Not Used

C1-C2

--

--

Not Used

C1

--

--

Not Used

C3

0.35 D-BU

658

Cellular Telephone Voice Signal (UE1)

C3

0.35 D-BU

658

Cellular Telephone Voice Signal (UE1)

C4

0.35 L-BU/BK

659

Cellular Telephone Voice Low Reference (UE1)

C4

0.35 L-BU/BK

659

Cellular Telephone Voice Low Reference (UE1)

C5-C12

--

--

Not Used

C5

--

--

Not Used

D1

0.8 L-GN

200

Right Front Speaker Output (+) (UW6)

D1

0.8 L-GN

200

Right Front Speaker Output (+) (UW6)

D2

0.8 D-GN

117

Right Front Speaker Output (-) (UW6)

D2

0.8 D-GN

117

Right Front Speaker Output (-) (UW6)

D3

0.5 BARE

1782

Drain Wire

D3

0.5 BARE

1782

Drain Wire

D4

--

--

Not Used

D4

--

--

Not Used

D5

0.5 TN/BK

2500

High Speed GMLAN Serial Data Bus+

D5

0.5 TN/BK

2500

High Speed GMLAN Serial Data Bus+

D6

0.5 TN

2501

High Speed GMLAN Serial Data Bus-

D6

0.5 TN

2501

High Speed GMLAN Serial Data Bus-

D7

0.8 D-BU

46

Right Rear Speaker Output (+) (UW6)

D7

0.8 D-BU

46

Right Rear Speaker Output (+) (UW6)

D8

0.8 L-BU

115

Right Rear Speaker Output (-) (UW6)

D8

0.8 L-BU

115

Right Rear Speaker Output (-) (UW6)

X210 I/P Harness to Immobilizer Harness (LY7/LZ4)


Object Number: 1644506  Size: CH

Object Number: 2074860  Size: CH

Connector Part Information

  • OEM: 15480081
  • Service: 88988315
  • Description: 8-Way F Micro-Pack 64 (BK)

Connector Part Information

  • OEM: 7282-9022-30
  • Service: 89047353
  • Description: 8-Way M YESC Kaizen Series (BK)

Terminal Part Information

  • Terminal/Tray: 15359541/4
  • Core/Insulation Crimp: M/M
  • Release Tool/Test Probe: 15381651-2/J-35616-64B (L-BU)

Terminal Part Information

  • Terminal/Tray: See Terminal Repair Kit
  • Core/Insulation Crimp: See Terminal Repair Kit
  • Release Tool/Test Probe: See Terminal Repair Kit

X210 I/P Harness to Immobilizer Harness (LY7/LZ4)

Pin

Wire

Circuit

Function

Pin

Wire

Circuit

Function

A1

0.5 D-GN

5060

Low Speed GMLAN Serial Data

A1

0.5 D-GN

5060

Low Speed GMLAN Serial Data

A2

0.5 BK

350

Ground

A2

0.5 TN

350

Ground

A3

0.35 YE

43

Accessory Voltage

A3

0.35 YE

43

Accessory Voltage

A4

0.35 RD/WH

1740

Battery Positive Voltage

A4

0.35 RD/WH

1740

Battery Positive Voltage

A5

0.35 BK

350

Ground

A5

0.35 BK

350

Ground

A6

0.35 PU/WH

5905

Key Capture/Column Lock Shift Position Signal

A6

0.35 PU/WH

5905

Key Capture/Column Lock Shift Position Signal

A7

0.35 BK

350

Ground

A7

0.35 BK

350

Ground

A8

0.35 GY/BK

690

Courtesy Lamp Supply Voltage

A8

0.35 GY/BK

690

Courtesy Lamp Supply Voltage

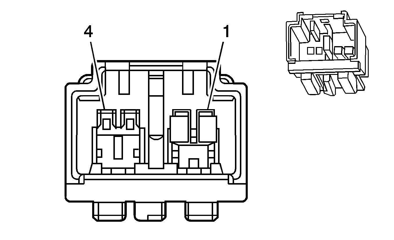
X214 I/P Harness to Antenna Harness


Object Number: 1850604  Size: CH

Object Number: 1850607  Size: CH

Connector Part Information

  • OEM: GT13-1/1PP-HU
  • Service: 15306425
  • Description: 2-Way F GT 150 Series (BK)

Connector Part Information

  • OEM: 15332130
  • Service: 88986459
  • Description: 2-Way M GT 150 Series (BK)

Terminal Part Information

  • Terminal/Tray: See Terminal Repair Kit
  • Core/Insulation Crimp: See Terminal Repair Kit
  • Release Tool/Test Probe: See Terminal Repair Kit

Terminal Part Information

  • Terminal/Tray: See Terminal Repair Kit
  • Core/Insulation Crimp: See Terminal Repair Kit
  • Release Tool/Test Probe: See Terminal Repair Kit

X214 I/P Harness to Antenna Harness

Pin

Wire

Circuit

Function

Pin

Wire

Circuit

Function

1

0.35 RD

7066

Entertainment Remote Enable Signal

A

0.35 WH

7066

Entertainment Remote Enable Signal

0.35 RD

7066

EntertainmentRemote Enable Signal (U61)

C

--

--

Coax

C

--

--

Coax

S

--

--

Not Used

S

--

--

Not Used

X250 Inflatable Restraint Steering Wheel Module Coil Jumper Harness to Body Harness (SIR)


Object Number: 1879122  Size: CH

Object Number: 2003895  Size: CH

Connector Part Information

  • OEM: 15422521
  • Service: 19178186
  • Description: 4-Way F 2.8 Apex, Sealed (YE)

Connector Part Information

  • OEM: 15336476
  • Service: 19178178
  • Description: 4-Way M 2.8 Apex, Sealed (YE)

Terminal Part Information

  • Terminal/Tray: See Terminal Repair Kit
  • Core/Insulation Crimp: See Terminal Repair Kit
  • Release Tool/Test Probe: See Terminal Repair Kit

Terminal Part Information

  • Terminal/Tray: See Terminal Repair Kit
  • Core/Insulation Crimp: See Terminal Repair Kit
  • Release Tool/Test Probe: See Terminal Repair Kit

X250 Inflatable Restraint Steering Wheel Module Coil Jumper Harness to Body Harness (SIR)

Pin

Wire

Circuit

Function

Pin

Wire

Circuit

Function

1

0.5 PK

3022

Steering Wheel Module - Stage 2 - Low Control

1

0.5 PK

3022

Steering Wheel Module - Stage 2 - Low Control

2

0.5 WH

3023

Steering Wheel Module - Stage 2 - High Control

2

0.5 WH

3023

Steering Wheel Module - Stage 2 - High Control

3

0.5 BN

3020

Steering Wheel Module - Stage 1 - Low Control

3

0.5 BN

3020

Steering Wheel Module - Stage 1 - Low Control

4

0.5 TN

3021

Steering Wheel Module - Stage 1- High Control

4

0.5 TN

3021

Steering Wheel Module - Stage 1 - High Control

X260 Inflatable Restraint I/P Module Jumper Harness to Body Harness (SIR)


Object Number: 1963315  Size: CH

Object Number: 1963316  Size: CH

Connector Part Information

  • OEM: 13579293
  • Service: See Catalog
  • Description: 4-Way F (YE)

Connector Part Information

  • OEM: 13592114
  • Service: 19178177
  • Description: 4-Way M (YE)

Terminal Part Information

  • Terminal/Tray: 1411560-2/25
  • Core/Insulation Crimp: E/C
  • Release Tool/Test Probe: 12094429/J-35616-64B (L-BU)

Terminal Part Information

  • Terminal/Tray: See Terminal Repair Kit
  • Core/Insulation Crimp: See Terminal Repair Kit
  • Release Tool/Test Probe: See Terminal Repair Kit

X260 Inflatable Restraint I/P Module Jumper Harness to Body Harness (SIR)

Pin

Wire

Circuit

Function

Pin

Wire

Circuit

Function

1

0.5 GY

3027

I/P Module - Stage 2 - High Control

1

0.5 GY

3027

I/P Module - Stage 2 - High Control

2

0.5 PU

3026

I/P Module - Stage 2 - Low Control

2

0.5 PU

3026

I/P Module - Stage 2 - Low Control

3

0.5 YE

3025

I/P Module - Stage 1 - High Control

3

0.5 YE

3025

I/P Module - Stage 1 - High Control

4

0.5 OG

3024

I/P Module - Stage 1 - Low Control

4

0.5 OG

3024

I/P Module - Stage 1 - Low Control

X262 Inflatable Restraint I/P Module Jumper Harness to Body Harness (SIR)


Object Number: 1879122  Size: CH

Object Number: 2003895  Size: CH

Connector Part Information

  • OEM: 15422521
  • Service: See Catalog
  • Description: 4-Way F 2.8 Apex, Sealed (YE)

Connector Part Information

  • OEM: 15336476
  • Service: 19178177
  • Description: 4-Way M 2.8 Apex, Sealed (YE)

Terminal Part Information

  • Terminal/Tray: See Terminal Repair Kit
  • Core/Insulation Crimp: See Terminal Repair Kit
  • Release Tool/Test Probe: See Terminal Repair Kit

Terminal Part Information

  • Terminal/Tray: See Terminal Repair Kit
  • Core/Insulation Crimp: See Terminal Repair Kit
  • Release Tool/Test Probe: See Terminal Repair Kit

X262 Inflatable Restraint I/P Module Jumper Harness to Body Harness (SIR)

Pin

Wire

Circuit

Function

Pin

Wire

Circuit

Function

1

0.5 YE

3025

I/P Module - Stage 1 - High Control

1

0.5 YE

3025

I/P Module - Stage 1 - High Control

2

0.5 OG

3024

I/P Module - Stage 1 - Low Control

2

0.5 OG

3024

I/P Module - Stage 1 - Low Control

3

0.5 GY

3027

I/P Module - Stage 2 - High Control

3

0.5 GY

3027

I/P Module - Stage 2 - High Control

4

0.5 PU

3026

I/P Module - Stage 2 - Low Control

4

0.5 PU

3026

I/P Module - Stage 2 - Low Control

X310 Console Harness to Body Harness (KA1)


Object Number: 1963314  Size: CH

Object Number: 823318  Size: CH

Connector Part Information

  • OEM: 15332169
  • Service: 88986447
  • Description: 14-Way F GT 150 Series (BK)

Connector Part Information

  • OEM: 15332174
  • Service: 88986449
  • Description: 14-Way M GT Mixed Series Sealed (BK)

Terminal Part Information

  • Terminal/Tray: 12191812/19
  • Core/Insulation Crimp: E/C
  • Release Tool/Test Probe: 15315247/J-35616-2A (GY)

Terminal Part Information

  • Pins: A-P
  • Terminal/Tray: 15304702/19
  • Core/Insulation Crimp: Pins: E-G : 2/4
  • Core/Insulation Crimp: Pins: A-D, H-P : E/C
  • Release Tool/Test Probe: 15315247/J-35616-3 (GY)

X310 Console Harness to Body Harness (KA1)

Pin

Wire

Circuit

Function

Pin

Wire

Circuit

Function

A

0.8 RD/WH

2740

Battery Positive Voltage

A

0.8 RD/WH

2740

Battery Positive Voltage

B

0.35 D-BU

6172

Driver Heated Seat Switch Back Cushion Signal (KA1)

B

0.35 D-BU

6172

Driver Heated Seat Switch Back Cushion Signal (KA1)

C

0.35 D-GN

1661

Driver Heated Seat High Temperature Indicator Control (KA1)

C

0.35 D-GN

1661

Driver Heated Seat High Temperature Indicator Control (KA1)

D

0.35 WH/BK

6177

Driver Heated Seat Medium Indicator Control (KA1)

D

0.35 WH/BK

6177

Driver Heated Seat Medium Indicator Control (KA1)

E

0.35 L-BU

1662

Driver Heated Seat Low Temperature Indicator Control (KA1)

E

0.35 L-BU

1662

Driver Heated Seat Low Temperature Indicator Control (KA1)

F

0.35 BN

41

Ignition 3 Voltage (KA1)

F

0.35 BN

41

Ignition 3 Voltage (KA1)

G

--

--

Not Used

G

--

--

Not Used

H

0.8 RD/WH

2640

Battery Positive Voltage

H

0.8 RD/WH

2640

Battery Positive Voltage

J

0.8 BK

450

Ground

J

0.8 BK

450

Ground

K

0.35 D-BU

6180

Passenger Heated Seat Switch Back Cushion Signal (KA1)

K

0.35 D-BU

6180

Passenger Heated Seat Switch Back Cushion Signal (KA1)

L

0.35 YE

1685

Passenger Heated Seat High Temperature Indicator Control (KA1)

L

0.35 YE

1685

Passenger Heated Seat High Temperature Indicator Control (KA1)

M

0.35 WH/BK

6185

Passenger Heated Seat Medium Indicator Control (KA1)

M

0.35 WH/BK

6185

Passenger Heated Seat Medium Indicator Control (KA1)

N

0.35 TN

1686

Passenger Heated Seat Low Temperature Indicator Control (KA1)

N

0.35 TN

1686

Passenger Heated Seat Low Temperature Indicator Control (KA1)

P

0.35 YE

1491

Backlight Lamps Control (KA1)

P

0.35 YE

1491

Backlight Lamps Control (KA1)

0.35 YE

1491

Backlight Lamps Control (KA1)

0.35 YE

1491

Backlight Lamps Control (KA1)

R

0.35 PU/WH

1382

LED Dimming Signal/LED Dimming Supply (KA1)

R

0.35 PU/WH

1382

LED Dimming Signal/LED Dimming Supply (KA1)

0.35 PU/WH

1382

LED Dimming Signal/LED Dimming Supply (KA1)

S

0.8 BK

450

Ground

S

0.8 BK

450

Ground

X350 Body Harness to Left Heated Seat Harness (AE8/KA1)


Object Number: 542307  Size: CH

Object Number: 655835  Size: CH

Connector Part Information

  • OEM: 15326925
  • Service: 19178181
  • Description: 8-Way F GT 280 Series (BK)

Connector Part Information

  • OEM: 15326928
  • Service: 15306176
  • Description: 8-Way M GT 280 Series (BK)

Terminal Part Information

  • Terminal/Tray: See Terminal Repair Kit
  • Core/Insulation Crimp: See Terminal Repair Kit
  • Release Tool/Test Probe: See Terminal Repair Kit

Terminal Part Information

  • Terminal/Tray: See Terminal Repair Kit
  • Core/Insulation Crimp: See Terminal Repair Kit
  • Release Tool/Test Probe: See Terminal Repair Kit

X350 Body Harness to Left Heated Seat Harness (AE8/KA1)

Pin

Wire

Circuit

Function

Pin

Wire

Circuit

Function

A

2 RD/WH

440

Battery Positive Voltage (AE8)

A

2 RD/WH

440

Battery Positive Voltage (AE8)

B

2 BK

450

Ground (AE8/KA1)

B

2 BK

450

Ground (AE8/KA1)

C

1.25 RD/WH

640

Battery Positive Voltage (KA1)

C

1 RD/WH

640

Battery Positive Voltage (KA1)

D

1.25 BN

41

Ignition 3 Voltage (KA1)

D

0.35 BN

41

Ignition 3 Voltage (KA1)

E

1.25 L-BU

1662

Driver Heated/Cool Seat Low Temperature Indicator Control (KA1)

E

0.35 L-BU

1662

Driver Heated/Cool Seat Low Temperature Indicator Control (KA1)

F

1.25 WH/BK

6177

Driver Heated/Cool Seat Medium Temperature Indicator Control (KA1)

F

0.35 WH/BK

6177

Driver Heated/Cool Seat Medium Temperature Indicator Control (KA1)

G

1.25 D-GN

1661

Driver Heated/Cool Seat High Temperature Indicator Control (KA1)

G

0.35 D-GN

1661

Driver Heated/Cool Seat High Temperature Indicator Control (KA1)

H

1.25 D-BU

6172

Driver Heated/Cool Seat Cushion and Back Heat (KA1)

H

0.35 D-BU

6172

Driver Heated/Cool Seat Cushion and Back Heat (KA1)

X351 Body Harness to Left Seat Belt Harness


Object Number: 1963315  Size: CH

Object Number: 1963316  Size: CH

Connector Part Information

  • OEM: 13579293
  • Service: 19178181
  • Description: 4-Way F (YE)

Connector Part Information

  • OEM: 13592114
  • Service: 15306176
  • Description: 4-Way M (YE)

Terminal Part Information

  • Terminal/Tray: See Terminal Repair Kit
  • Core/Insulation Crimp: See Terminal Repair Kit
  • Release Tool/Test Probe: See Terminal Repair Kit

Terminal Part Information

  • Terminal/Tray: See Terminal Repair Kit
  • Core/Insulation Crimp: See Terminal Repair Kit
  • Release Tool/Test Probe: See Terminal Repair Kit

X351 Body Harness to Left Seat Belt Harness

Pin

Wire

Circuit

Function

Pin

Wire

Circuit

Function

1

0.5 OG/BK

2119

Seat Belt Pretensioner - Left - Low Control

1

0.5 OG/BK

2119

Seat Belt Pretensioner - Left - Low Control

2

0.5 TN/WH

2118

Seat Belt Pretensioner - Left - High Control

2

0.5 BN/WH

2118

Seat Belt Pretensioner - Left - High Control

3

0.35 PK

5057

Seat Belt Switch - Low Reference

3

0.35 PK

5057

Seat Belt Switch - Low Reference

4

0.35 TN/WH

238

Seat Belt Switch - Left - Signal

4

0.35 BN/WH

238

Seat Belt Switch - Left - Signal

X352 Body Harness to Right Heated Seat Harness (KA1)


Object Number: 542307  Size: CH

Object Number: 655835  Size: CH

Connector Part Information

  • OEM: 15326925
  • Service: 19178181
  • Description: 8-Way F GT 280 Series (BK)

Connector Part Information

  • OEM: 15326928
  • Service: 15306176
  • Description: 8-Way M GT 280 Series (BK)

Terminal Part Information

  • Terminal/Tray: See Terminal Repair Kit
  • Core/Insulation Crimp: See Terminal Repair Kit
  • Release Tool/Test Probe: See Terminal Repair Kit

Terminal Part Information

  • Terminal/Tray: See Terminal Repair Kit
  • Core/Insulation Crimp: See Terminal Repair Kit
  • Release Tool/Test Probe: See Terminal Repair Kit

X352 Body Harness to Right Heated Seat Harness (KA1)

Pin

Wire

Circuit

Function

Pin

Wire

Circuit

Function

A

--

--

Not Used

A

--

--

Not Used

B

2 BK

450

Ground

B

2 BK

450

Ground

C

1.25 RD/WH

640

Battery Positive Voltage

C

1 RD/WH

640

Battery Positive Voltage

D

1.25 BN

41

Ignition 3 Voltage

D

0.35 BN

41

Ignition 3 Voltage

E

1.25 L-BU

1686

Passenger Heated/Cool Seat Low Temperature Indicator Control

E

0.35 TN

1686

Passenger Heated/Cool Seat Low Temperature Indicator Control

F

1.25 WH/BK

6185

Passenger Heated/Cool Seat Medium Temperature Indicator Control

F

0.35 WH/BK

6185

Passenger Heated/Cool Seat Medium Temperature Indicator Control

G

1.25 D-GN

1685

Passenger Heated/Cool Seat High Temperature Indicator Control

G

0.35 YE

1685

Passenger Heated/Cool Seat High Temperature Indicator Control

H

1.25 D-BU

6180

Passenger Heated/Cool Seat Cushion and Back Heat

H

0.35 D-BU

6180

Passenger Heated/Cool Seat Cushion and Back Heat

X353 Body Harness to Right Seat Belt Harness


Object Number: 1963315  Size: CH

Object Number: 1963316  Size: CH

Connector Part Information

  • OEM: 13579293
  • Service: 19178181
  • Description: 4-Way F (YE)

Connector Part Information

  • OEM: 13592114
  • Service: 15306176
  • Description: 4-Way M (YE)

Terminal Part Information

  • Terminal/Tray: See Terminal Repair Kit
  • Core/Insulation Crimp: See Terminal Repair Kit
  • Release Tool/Test Probe: See Terminal Repair Kit

Terminal Part Information

  • Terminal/Tray: See Terminal Repair Kit
  • Core/Insulation Crimp: See Terminal Repair Kit
  • Release Tool/Test Probe: See Terminal Repair Kit

X353 Body Harness to Right Seat Belt Harness

Pin

Wire

Circuit

Function

Pin

Wire

Circuit

Function

1

0.5 OG

2117

Seat Belt Pretensioner - Right - Low Control

1

0.5 OG

2117

Seat Belt Pretensioner - Right - Low Control

2

0.5 L-GN

2116

Seat Belt Pretensioner - Right - High Control

2

0.5 D-GN

2116

Seat Belt Pretensioner - Right - High Control

3

0.35 PK

5057

Seat Belt Switch - Low Reference

3

0.35 PK

5057

Seat Belt Switch - Low Reference

4

0.35 OG

1362

Seat Belt Switch - Right - Signal

4

0.35 OG

1362

Seat Belt Switch - Right - Signal

X400 Headliner Harness to Body Harness


Object Number: 1993746  Size: CH

Object Number: 1993747  Size: CH

Graphic SIO does not exist


Connector Part Information

  • OEM: 13589898
  • Service: 19178209
  • Description: 20-Way F 090 III (WH)

Connector Part Information

  • OEM: 13591087
  • Service: 19178210
  • Description: 20-Way M 090 III (WH)

Terminal Part Information

  • Terminal/Tray: See Terminal Repair Kit
  • Core/Insulation Crimp: See Terminal Repair Kit
  • Release Tool/Test Probe: See Terminal Repair Kit

Terminal Part Information

  • Terminal/Tray: See Terminal Repair Kit
  • Core/Insulation Crimp: See Terminal Repair Kit
  • Release Tool/Test Probe: See Terminal Repair Kit

X400 Headliner Harness to Body Harness

Pin

Wire

Circuit

Function

Pin

Wire

Circuit

Function

1

0.35 L-GN/BK

2515

Keypad Supply Voltage (UE1)

1

0.35 L-GN/BK

2515

Keypad Supply Voltage (UE1)

2

0.35 PU

328

Interior Lamp Switch Voltage Supply Circuit

2

0.35 PU

328

Interior Lamp Switch Voltage Supply Circuit

3

0.35 D-GN/WH

2514

Keypad Signal (UE1)

3

0.35 D-GN/WH

2514

Keypad Signal (UE1)

4

2 BK

650

Ground

4

2 BK

650

Ground

5

0.35 BN

6132

Linear Interconnect Network Bus 1

5

0.35 BN

6132

Linear Interconnect Network Bus 1

6

0.35 BN

4

Accessory Voltage (CE1)

6

0.35 BN

4

Accessory Voltage (CE1)

7

0.35 L-GN

482

Outside Moisture Sensor Signal 2 (CE1)

7

0.35 L-GN

482

Outside Moisture Sensor Signal 2 (CE1)

8

0.8 BN/WH

230

I/P Lamps Dimming Control (CE1)

8

0.8 BN/WH

230

I/P Lamps Dimming Control (CE1)

9

0.35 YE

143

Accessory Voltage (CF5)

9

0.35 YE

143

Accessory Voltage (CF5)

10

0.5 BK

650

Ground

10

0.5 BK

650

Ground

11

0.35 BN/WH

2517

Keypad Red LED Signal (UE1)

11

0.35 BN/WH

2517

Keypad Red LED Signal (UE1)

12

0.35 YE/BK

2516

Keypad Green LED Signal (UE1)

12

0.35 YE/BK

2516

Keypad Green LED Signal (UE1)

13

0.5 RD/WH

1940

Battery Positive Voltage (CE1)

13

0.5 RD/WH

1940

Battery Positive Voltage (CE1)

14

0.35 PK

239

Ignition 1 Voltage

14

0.35 PK

239

Ignition 1 Voltage

14

0.35 PK

239

Ignition 1 Voltage (CE1/CF5)

15

0.5 OG

1732

Courtesy Lamps Supply Voltage

15

0.5 OG

1732

Courtesy Lamps Supply Voltage

16

0.5 GY/BK

690

Courtesy Lamp Supply Voltage

16

0.5 GY/BK

690

Courtesy Lamp Supply Voltage

17

0.35 TN

481

Outside Moisture Sensor Signal 1 (CE1)

17

0.35 TN

481

Outside Moisture Sensor Signal 1 (CE1)

18

0.5 BARE

1489

Drain Wire (UE1)

18

0.5 D-GN

1489

Drain Wire (UE1)

19

0.5 GY

655

Cellular Microphone Signal (UE1)

19

0.5 GY

655

Cellular Microphone Signal (UE1)

20

1 RD/WH

440

Battery Positive Voltage (CF5)

20

1 RD/WH

440

Battery Positive Voltage

X401 Headliner Harness to Body Harness (DD8)


Object Number: 439818  Size: CH

Object Number: 611495  Size: CH

Connector Part Information

  • OEM: 12047682
  • Service: 21019410
  • Description:1-Way F Metri-Pack 150 Series (BK)

Connector Part Information

  • OEM: 12047683
  • Service: 89046851
  • Description: 1-Way M Metri-Pack 150 Series (BK)

Terminal Part Information

  • Terminal/Tray: 12034046/2
  • Core/Insulation Crimp: E/A
  • Release Tool/Test Probe: 12094430/J-35616-4A (PU)

Terminal Part Information

  • Terminal/Tray: 12034047/2
  • Core/Insulation Crimp: E/A
  • Release Tool/Test Probe: 12094430/J-35616-5 (PU)

X401 Headliner Harness to Body Harness (DD8)

Pin

Wire

Circuit

Function

Pin

Wire

Circuit

Function

A

0.35L-GN

24

Backup Lamp Supply Voltage

A

0.35L-GN

24

Backup Lamp Supply Voltage

X402 Liftgate Harness to Body Harness


Object Number: 1830992  Size: CH

Object Number: 1830993  Size: CH

Connector Part Information

  • OEM: 13589328
  • Service: See Catalog
  • Description: 20-Way F 35896 Series (WH)

Connector Part Information

  • OEM: 13579299
  • Service: 19178201
  • Description: 20-Way M 35897 Series (WH)

Terminal Part Information

  • Pins: 2, 5
  • Terminal/Tray: 35421-6302/28
  • Core/Insulation Crimp: C/A
  • Release Tool/Test Probe: 12094429/J-35616-18 (BK)
  • Pins: 3-4
  • Terminal/Tray: 35421-6202/28
  • Core/Insulation Crimp: E/A
  • Release Tool/Test Probe: 12094429/J-35616-18 (BK)
  • Pins: 9-11, 13-14
  • Terminal/Tray: 50654-1001/28
  • Core/Insulation Crimp: J/J
  • Release Tool/Test Probe: 12094429/J-35616-16 (L-GN)

Terminal Part Information

  • Terminal/Tray: See Terminal Repair Kit
  • Core/Insulation Crimp: See Terminal Repair Kit
  • Release Tool/Test Probe: See Terminal Repair Kit

X402 Liftgate Harness to Body Harness

Pin

Wire

Circuit

Function

Pin

Wire

Circuit

Function

1

--

--

Not Used

1

--

--

Not Used

2

2 BK

650

Ground

2

2 BK

650

Ground

3

0.8 D-GN

392

Rear Window Washer Pump Control

3

0.8 D-GN

392

Rear Window Washer Pump Control

4

1 RD/WH

2240

Battery Positive Voltage

4

1 RD/WH

2240

Battery Positive Voltage

5

2 PU

293

Rear Defog Element Supply Voltage

5

2 PU

293

Rear Defog Element Supply Voltage

6-8

--

--

Not Used

6-8

--

--

Not Used

9

0.35 GY

391

Rear Window Wiper Switch Signal

9

0.35 GY

391

Rear Window Wiper Switch Signal

10

0.5 PU

709

Left Park Lamp Supply Voltage

10

0.5 PU

709

Left Park Lamp Supply Voltage

11

0.5 L-BU

6128

Rear Closure Unlatch Motor Unlatch Control

11

0.5 L-BU

6128

Rear Closure Unlatch Motor Unlatch Control

12

--

--

Not Used

12

--

--

Not Used

13

0.35 D-GN

6127

Liftgate Unlatch Switch Signal

13

0.35 D-GN

6127

Liftgate Unlatch Switch Signal

14

0.35 PK/BK

1303

Liftgate Ajar Switch Signal

14

0.35 PK/BK

1303

Liftgate Ajar Switch Signal

15-20

--

--

Not Used

15-20

--

--

Not Used

X404 Center High Mounted Stop Lamp (CHMSL) Jumper Harness to Body Harness


Object Number: 1283895  Size: CH

Object Number: 1409646  Size: CH

Connector Part Information

  • OEM: 15318080
  • Service: 21019410
  • Description: 2-Way F Metri-Pack 280 Series (BK)

Connector Part Information

  • OEM: 12147517
  • Service: 89046851
  • Description: 2-Way M Metri-Pack 280 Series (BK)

Terminal Part Information

  • Terminal/Tray: 12034046/2
  • Core/Insulation Crimp: E/A
  • Release Tool/Test Probe: 12094430/J-35616-4A (PU)

Terminal Part Information

  • Terminal/Tray: 12034047/2
  • Core/Insulation Crimp: E/A
  • Release Tool/Test Probe: 12094430/J-35616-5 (PU)

X404 Center High Mounted Stop Lamp (CHMSL) Jumper Harness to Body Harness

Pin

Wire

Circuit

Function

Pin

Wire

Circuit

Function

1

0.5 L-BU

5065

Stop Lamp Relay Coil Supply Voltage

1

0.5 L-BU

5065

Stop Lamp Relay Coil Supply Voltage

2

0.5 BK

550

Ground

2

0.5 BK

550

Ground

X406 Fuel Sender Harness to Body Harness


Object Number: 831375  Size: CH

Object Number: 1394019  Size: CH

Connector Part Information

  • OEM: 15326939
  • Service: 88988440
  • Description: 12-Way F GT 150 280 Series, Sealed (BK)

Connector Part Information

  • OEM: 15336034
  • Service: 19168032
  • Description: 12-Way M GT 150/280 Series, Sealed (BK)

Terminal Part Information

  • Pins: B-E, H-L
  • Terminal/Tray: 12191819/8
  • Core/Insulation Crimp: E/A
  • Release Tool/Test Probe: 15315247/J-35616-2A (GY)
  • Pins: F, M
  • Terminal/Tray: 15304720/19
  • Core/Insulation Crimp: 4/5
  • Release Tool/Test Probe: 15315247/J-35616-4A (PU)

Terminal Part Information

  • Terminal/Tray: See Terminal Repair Kit
  • Core/Insulation Crimp: See Terminal Repair Kit
  • Release Tool/Test Probe: See Terminal Repair Kit

X406 Fuel Sender Harness to Body Harness

Pin

Wire

Circuit

Function

Pin

Wire

Circuit

Function

A

--

--

Not Used

A

--

--

Not Used

B

0.5 BN/WH

6283

Fuel Tank Vapor Pressure Sensor Supply Voltage

B

0.5 BN/WH

6283

Fuel Tank Vapor Pressure Sensor Supply Voltage

C

0.5 D-GN

890

Fuel Tank Pressure Sensor Signal

C

0.5 D-GN

890

Fuel Tank Pressure Sensor Signal

D

0.5 BN/WH

6281

Fuel Level Sensor Low Reference

D

0.5 BN/WH

6281

Fuel Level Sensor Low Reference

E

0.5 D-BU

1936

Fuel Level Sensor Signal - Primary

E

0.5 D-BU

1936

Fuel Level Sensor Signal - Primary

F

2 PK

1580

Fuel Pump Motor Low Reference

F

2 PK

1580

Fuel Pump Motor Low Reference

G

--

--

Not Used

G

--

--

Not Used

H

0.5 WH

1310

EVAP Canister Vent Solenoid Control

H

0.5 WH

1310

EVAP Canister Vent Solenoid Control

J

0.5 WH

701

Drain Wire

J

0.5 BK

701

Drain Wire

K

0.5 RD/WH

2140

Battery Positive Voltage

K

0.5 RD/WH

2140

Battery Positive Voltage

L

0.5 L-BU

1937

Fuel Level Sensor Signal - Secondary

L

0.5 L-BU

1937

Fuel Level Sensor Signal - Secondary

M

2 GY

120

Fuel Pump Supply Voltage

M

2 GY

120

Fuel Pump Supply Voltage

X407 Body Harness to Generator Battery Assembly Harness (HP7)


Object Number: 62439  Size: CH

Object Number: 62434  Size: CH

Connector Part Information

  • OEM: 12047886
  • Service: 12101822
  • Description: 8-Way F Metri-Pack 150 Series (BK)

Connector Part Information

  • OEM: 12045688
  • Service: 12101827
  • Description: 8-Way M Metri-Pack 150 Series (BK)

Terminal Part Information

  • Pins: A-E
  • Terminal/Tray: 12064971/5
  • Core/Insulation Crimp: E/C
  • Release Tool/Test Probe: 12094429/J-35616-14 (GN)
  • Pins: F-G
  • Terminal/Tray: 12047767/2
  • Core/Insulation Crimp: E/A
  • Release Tool/Test Probe: 12094429/J-35616-14 (GN)

Terminal Part Information

  • Pins: A-C, F-H
  • Terminal/Tray: 12047581/2
  • Core/Insulation Crimp: Pins: A-B, G : E/C
  • Core/Insulation Crimp: Pins: C, F, H : E/A
  • Release Tool/Test Probe: 12094429/J-35616-3 (GY)

X407 Body Harness to Generator Battery Assembly Harness (HP7)

Pin

Wire

Circuit

Function

Pin

Wire

Circuit

Function

A

0.8 RD/WH

2140

Link Voltage

A

0.8 RD

2140

Link Voltage

B

0.35 L-BU

5986

Serial Data Communication Enable

B

0.35 PU

5986

Serial Data Communication Enable

C

0.35 BK

650

Ground

C

0.35 GN/WH

650

Ground

D

0.35 BK

650

Ground

D

0.35 GN

650

Ground

E

0.35 TN/BK

2500

High Speed GMLAN Serial Data Bus +

E

0.35 BL

2500

High Speed GMLAN Serial Data Bus +

F

0.35 TN

2501

High Speed GMLAN Serial Data Bus -

F

0.35 BL/WH

2501

High Speed GMLAN Serial Data Bus -

G

0.35 TN/BK

2500

High Speed GMLAN Serial Data Bus +

G

0.35 GY

2500

High Speed GMLAN Serial Data Bus

H

0.35 TN

2501

High Speed GMLAN Serial Data Bus -

H

0.35 GY/WH

2501

High Speed GMLAN Serial Data Bus -

X408 Rear Chassis Harness to Body Harness


Object Number: 1963318  Size: CH

Object Number: 823302  Size: CH

Connector Part Information

  • OEM: 15416081
  • Service: 19178167
  • Description: 10-Way F 1.5 Sealed (BK)

Connector Part Information

  • OEM: 10890594
  • Service: 88952440
  • Description: 10-Way M 1.5, Sealed (BK)

Terminal Part Information

  • Terminal/Tray: 7116-4102-08/9
  • Core/Insulation Crimp: E/1
  • Release Tool/Test Probe: 12094430/J-35616-2A (GY)

Terminal Part Information

  • Terminal/Tray: See Terminal Repair Kit
  • Core/Insulation Crimp: See Terminal Repair Kit
  • Release Tool/Test Probe: See Terminal Repair Kit

X408 Rear Chassis Harness to Body Harness

Pin

Wire

Circuit

Function

Pin

Wire

Circuit

Function

1

0.5 BK

550

Ground (LE5/LY7/LZ4)

1

0.8 BK

550

Ground (LE5/LY7/LZ4)

2

0.5 L-BU

5986

Serial Data Communication Enable (LE5/LY7/LZ4)

2

0.35 L-BU

5986

Serial Data Communication Enable (LE5/LY7/LZ4)

3

0.5 GY/BK

7127

Wheel Speed Sensor Supply Voltage Left Rear

3

0.5 GY/BK

7127

Wheel Speed Sensor Supply Voltage Left Rear

4

0.5 TN

884

Left Rear Wheel Speed Sensor Signal

4

0.5 TN

884

Left Rear Wheel Speed Sensor Signal

5

--

--

Not Used

5

--

--

Not Used

6

0.5 TN/BK

2500

High Speed GMLAN Serial Data Bus+

6

0.5 TN/BK

2500

High Speed GMLAN Serial Data Bus+

7

0.5 TN

2501

High Speed GMLAN Serial Data Bus-

7

0.5 TN

2501

High Speed GMLAN Serial Data Bus-

8

0.5 GY/BK

7128

Wheel Speed Sensor Supply Voltage Right Rear

8

0.5 GY/BK

7128

Wheel Speed Sensor Supply Voltage Right Rear

9

0.5 BN

882

Right Rear Wheel Speed Sensor Signal

9

0.5 BN

882

Right Rear Wheel Speed Sensor Signal

10

0.5 RD/WH

2140

Battery Positive Voltage (LE5/LY7/LZ4)

10

0.8 RD/WH

2140

Battery Positive Voltage (LE5/LY7/LZ4)

X409 Rear Marker Lamp Harness to Body Harness


Object Number: 1963319  Size: CH

Object Number: 806431  Size: CH

Connector Part Information

  • OEM: 15487756
  • Service: See Catalog
  • Description: 4-Way F GT 150 Series, Sealed (BK)

Connector Part Information

  • OEM: 15326820
  • Service: 15326820
  • Description: 4-Way M GT 150 Series, Sealed (BK)

Terminal Part Information

  • Terminal/Tray: 12191819/8
  • Core/Insulation Crimp: E/A
  • Release Tool/Test Probe: 15315247/J-35616-2A (GY)

Terminal Part Information

  • Terminal/Tray: 15326269/19
  • Core/Insulation Crimp: E/4
  • Release Tool/Test Probe: 15315247/J-35616-3 (GY)

X409 Rear Marker Lamp Harness to Body Harness

Pin

Wire

Circuit

Function

Pin

Wire

Circuit

Function

A

0.5 BK

550

Ground

A

0.5 BK

550

Ground

B

0.5 BN/WH

309

Right Park Lamp Supply Voltage

B

0.5 BN/WH

309

Right Park Lamp Supply Voltage

C

0.5 BK

550

Ground

C

0.5 BK

550

Ground

D

0.5 PU

709

Left Park Lamp Supply Voltage

D

0.5 PU

709

Left Park Lamp Supply Voltage

X410 Rear Tail Lamp Assembly Harness to Body Harness - Right


Object Number: 62439  Size: CH

Object Number: 62434  Size: CH

Connector Part Information

  • OEM: 12047886
  • Service: 12101822
  • Description: 8-Way F Metri-Pack 150 Series (BK)

Connector Part Information

  • OEM: 12045688
  • Service: 12101827
  • Description: 8-Way M Metri-Pack 150 Series (BK)

Terminal Part Information

  • Pins: A-C, F-H
  • Terminal/Tray: 12047767/2
  • Core/Insulation Crimp: Pins: A-B, G : E/C
  • Core/Insulation Crimp: Pins: C, F, H : E/A
  • Release Tool/Test Probe: 12094429/J-35616-14 (GN)

Terminal Part Information

  • Pins: A-C, F-H
  • Terminal/Tray: 12047581/2
  • Core/Insulation Crimp: Pins: A-B, G : E/C
  • Core/Insulation Crimp: Pins: C, F, H : E/A
  • Release Tool/Test Probe: 12094429/J-35616-3 (GY)

X410 Rear Tail Lamp Assembly Harness to Body Harness - Right

Pin

Wire

Circuit

Function

Pin

Wire

Circuit

Function

A

0.5 WH

24

Backup Lamp Supply Voltage

A

0.5 L-GN

24

Backup Lamp Supply Voltage

B

0.5 BK/WH

550

Ground

B

0.5 BK

550

Ground

C

0.8 BK

550

Ground

C

0.8 BK

550

Ground

D-E

--

--

Not Used

D-E

--

--

Not Used

F

0.8 RD

20

Stop Lamp Supply Voltage

F

0.8 L-BU

20

Stop Lamp Supply Voltage

G

0.5 D-BU

309

Right Park Lamp Supply Voltage

G

0.5 BN/WH

309

Right Park Lamp Supply Voltage

H

0.8 YE

19

Right Rear Stop/Turn Lamp Supply Voltage

H

0.8 D-GN

19

Right Rear Stop/Turn Lamp Supply Voltage

X411 Rear Tail Lamp Assembly Harness to Body Harness - Left


Object Number: 62439  Size: CH

Object Number: 62434  Size: CH

Connector Part Information

  • OEM: 12047886
  • Service: 12101822
  • Description: 8-Way F Metri-Pack 150 Series (BK)

Connector Part Information

  • OEM: 12045688
  • Service: 12101827
  • Description: 8-Way M Metri-Pack 150 Series (BK)

Terminal Part Information

  • Pins: A-C, F-H
  • Terminal/Tray: 12047767/2
  • Core/Insulation Crimp: Pins: A-B, G : E/C
  • Core/Insulation Crimp: Pins: C, F, H : E/A
  • Release Tool/Test Probe: 12094429/J-35616-14 (GN)

Terminal Part Information

  • Pins: A-C, F-H
  • Terminal/Tray: 12047581/2
  • Core/Insulation Crimp: Pins: A-B, G : E/C
  • Core/Insulation Crimp: Pins: C, F, H : E/A
  • Release Tool/Test Probe: 12094429/J-35616-3 (GY)

X411 Rear Tail Lamp Assembly Harness to Body Harness - Left

Pin

Wire

Circuit

Function

Pin

Wire

Circuit

Function

A

0.5 WH

24

Backup Lamp Supply Voltage

A

0.5 L-GN

24

Backup Lamp Supply Voltage

B

0.5 BK/WH

650

Ground

B

0.5 BK

650

Ground

C

0.8 BK

650

Ground

C

0.8 BK

650

Ground

D-E

--

--

Not Used

D-E

--

--

Not Used

F

0.8 RD

20

Stop Lamp Supply Voltage

F

0.8 L-BU

20

Stop Lamp Supply Voltage

G

0.5 D-BU

709

Left Park Lamp Supply Voltage

G

0.5 PU

709

Left Park Lamp Supply Voltage

H

0.5 YE

18

Left Rear Stop/Turn Lamp Supply Voltage

H

0.5 YE

18

Left Rear Stop/Turn Lamp Supply Voltage

X414 Headliner Harness to Sunroof Module Harness (CF5)


Object Number: 62439  Size: CH

Object Number: 62434  Size: CH

Connector Part Information

  • OEM: 12047886
  • Service: 12101822
  • Description: 8-Way F Metri-Pack 150 Series (BK)

Connector Part Information

  • OEM: 12045688
  • Service: 12101827
  • Description: 8-Way M Metri-Pack 150 Series (BK)

Terminal Part Information

  • Pins: A-E
  • Terminal/Tray: 12064971/5
  • Core/Insulation Crimp: E/C
  • Release Tool/Test Probe: 12094429/J-35616-14 (GN)
  • Pins: F-G
  • Terminal/Tray: 12047767/2
  • Core/Insulation Crimp: E/A
  • Release Tool/Test Probe: 12094429/J-35616-14 (GN)

Terminal Part Information

  • Pins: A-C, F-H
  • Terminal/Tray: 12047581/2
  • Core/Insulation Crimp: Pins: A-B, G : E/C
  • Core/Insulation Crimp: Pins: C, F, H : E/A
  • Release Tool/Test Probe: 12094429/J-35616-3 (GY)

X414 Headliner Harness to Sunroof Module Harness (CF5)

Pin

Wire

Circuit

Function

Pin

Wire

Circuit

Function

A

0.35 BN

100

Sunroof Switch Open Signal

A

0.35 BN

100

Sunroof Switch Open Signal

B

0.35 D-GN

2074

Sunroof Switch Express Signal

B

0.35 D-GN

2074

Sunroof Switch Express Signal

C

0.35 OG/BK

144

Sunroof Switch Open Vent Signal

C

0.35 OG/BK

144

Sunroof Switch Open Vent Signal

D

0.35 D-BU

128

Sunroof Switch Low Reference

D

0.35 D-BU

128

Sunroof Switch Low Reference

E

0.35 YE

143

Accessory Voltage

E

0.35 YE

143

Accessory Voltage

F

1 BK

650

Ground

F

1 BK

650

Ground

G

1 RD/WH

440

Battery Positive Voltage

G

1 RD/WH

440

Battery Positive Voltage

H

--

--

Not Used

H

--

--

Not Used

X430 Trailer Jumper Harness to Body Harness (V92)


Object Number: 831380  Size: CH

Object Number: 1464340  Size: CH

Connector Part Information

  • OEM: 15332141
  • Service: 88986249
  • Description: 6-Way F GT 150 Series, Sealed (BK)

Connector Part Information

  • OEM: 15332142
  • Service: 89046638
  • Description: 6-Way M GT 150/280 Series, Sealed (BK)

Terminal Part Information

  • Pins: A-E
  • Terminal/Tray: 12191812/19
  • Core/Insulation Crimp: Pins: A, C-D: E/C
  • Core/Insulation Crimp: Pins: B, E : C/A
  • Release Tool/Test Probe: 15315247/J-35616-2A (GY)

Terminal Part Information

  • Pins: A-E
  • Terminal/Tray: 15304702/19
  • Core/Insulation Crimp: Pins: A : E/4
  • Core/Insulation Crimp: Pins: B, E : 2/4
  • Core/Insulation Crimp: Pins: C-D : E/C
  • Release Tool/Test Probe: 15315247/J-35616-3 (GY)

X430 Trailer Jumper Harness to Body Harness (V92)

Pin

Wire

Circuit

Function

Pin

Wire

Circuit

Function

A

0.5 BN

5184

Left Trailer Park Lamp

A

0.5 BN

5184

Left Trailer Park Lamp

B

0.8 RD/WH

3140

Battery Positive Voltage

B

0.8 RD/WH

3140

Battery Positive Voltage

C

0.35 YE

5187

Right Trailer Turn Signal Lamp

C

0.35 YE

5187

Right Trailer Turn Signal Lamp

D

0.35 OG

5186

Left Trailer Turn Signal Lamp

D

0.35 OG

5186

Left Trailer Turn Signal Lamp

E

0.8 BK

550

Ground

E

0.8 BK

550

Ground

F

--

--

Not Used

F

--

--

Not Used

X500 Body Harness to Door Harness - Left Front


Object Number: 1964278  Size: CH

Object Number: 1964276  Size: CH

Connector Part Information

  • OEM: 13583879
  • Service: 19178207
  • Description: 18-Way F 1.5 Timer 2.8 Mixed Series (BK)

Connector Part Information

  • OEM: 13583878
  • Service: See Catalog
  • Description: 36-Way M Timer 2.8 MCP (WH)

Terminal Part Information

  • Terminal/Tray: See Terminal Repair Kit
  • Core/Insulation Crimp: See Terminal Repair Kit
  • Release Tool/Test Probe: See Terminal Repair Kit

Connector Part Information

  • OEM: 13583880
  • Service: 19178208
  • Description: 18-Way F 1.5 Timer 2.8 Mixed Series (BK)

Terminal Part Information

  • Terminal/Tray: See Terminal Repair Kit
  • Core/Insulation Crimp: See Terminal Repair Kit
  • Release Tool/Test Probe: See Terminal Repair Kit

Terminal Part Information

  • Pins: 1-2, 16-17, 20-21, 35
  • Terminal/Tray: See Terminal Repair Kit
  • Core/Insulation Crimp: See Terminal Repair Kit
  • Release Tool/Test Probe: See Terminal Repair Kit
  • Pins: 3, 5-8, 10-14, 23-26, 28-34
  • Terminal/Tray: 964265-2/28
  • Core/Insulation Crimp: Pins: 11-12 : E/C
  • Core/Insulation Crimp: Pins: 23-26 : C/A
  • Core/Insulation Crimp: Pins: 3, 5-8, 10, 13-14, 28-34 : E/2
  • Release Tool/Test Probe: J-38125-560/J-35616-34 (YE)
  • Pins: 36
  • Terminal/Tray: 1743423-1/28
  • Core/Insulation Crimp: C/A
  • Release Tool/Test Probe: 12093647/J-35616-5 (PU)

X500 Body Harness to Door Harness - Left Front

Pin

Wire

Circuit

Function

Pin

Wire

Circuit

Function

1

0.35 GY/BK

745

Left Front Door Ajar Switch Signal

3

0.35 GY/BK

745

Left Front Door Ajar Switch Signal

2

2 BK

450

Ground

2

2 BK

450

Ground

3

2 YE

743

Accessory Voltage

1

2 YE

743

Accessory Voltage

4

--

--

Not Used

4

--

--

Not Used

5

0.35 OG/WH

881

Passenger Mirror Motor Right Control

8

0.35 OG/WH

881

Passenger Mirror Motor Right Control

6

0.35 PU/WH

889

Passenger Mirror Motor Down Control

7

0.35 PU/WH

889

Passenger Mirror Motor Down Control

7

0.35 YE

1496

Mirror Motor Right/Up Control

6

0.35 YE

1496

Mirror Motor Right/Up Control

0.35 YE

1496

Mirror Motor Right/Up Control

8

0.35 OG

267

Heated Mirror (DL8)

5

0.35 OG

267

Heated Mirror (DL8)

9

--

--

Not Used

9

--

--

Not Used

10

--

--

Not Used

15

--

--

Not Used

11

0.35 GY/BK

690

Courtesy Lamp Supply Voltage

14

0.35 GY/BK

690

Courtesy Lamp Supply Voltage

12

0.35 YE

1491

Backlight Lamps Control

13

0.35 YE

1491

Backlight Lamps Control

0.35 YE

1491

Backlight Lamps Control

13

0.8 GY

118

Left Front Speaker Output (-) (UW6)

12

0.8 GY

118

Left Front Speaker Output (-) (UW6)

14

0.8 TN

201

Left Front Speaker Output (+) (UW6)

11

0.8 TN

201

Left Front Speaker Output (+) (UW6)

15

0.5 YE

343

Accessory Voltage

10

0.5 YE

343

Accessory Voltage

16

--

--

Not Used

16

--

--

Not Used

17

2 D-GN

168

Power Window Master Switch Left Rear Up Signal

17

2 D-GN

168

Power Window Master Switch Left Rear Up Signal

18

2 PU

169

Power Window Master Switch Left Rear Down Signal

18

2 PU

169

Power Window Master Switch Left Rear Down Signal

1

--

--

Not Used

19

--

--

Not Used

2

2 TN

167

Power Window Master Switch Right Front Down Signal

20

2 TN

167

Power Window Master Switch Right Front Down Signal

3

2 L-BU

166

Power Window Master Switch Right Front Up Signal

21

2 L-BU

166

Power Window Master Switch Right Front Up Signal

4

--

--

Not Used

22

--

--

Not Used

5

1 L-GN

170

Power Window Master Switch Right Rear Up Signal

23

1 L-GN

170

Power Window Master Switch Right Rear Up Signal

6

1 L-GN

170

Power Window Master Switch Right Rear Up Signal

24

1 L-GN

170

Power Window Master Switch Right Rear Up Signal

7

1 PU

171

Power Window Master Switch Right Rear Down Signal

25

1 PU

171

Power Window Master Switch Right Rear Down Signal

8

1 PU

171

Power Window Master Switch Right Rear Down Signal

26

1 PU

171

Power Window Master Switch Right Rear Down Signal

9

--

--

Not Used

27

--

--

Not Used

10

0.35 TN

126

Left Front Door Open Switch Signal (-HP7)

28

0.35 TN

126

Left Front Door Open Switch Signal (-HP7)

11

0.35 L-GN

1123

Door Lock Key Switch Lock Signal

29

0.35 L-GN

1123

Door Lock Key Switch Lock Signal

12

0.35 PU

1124

Door Lock Key Switch Unlock Signal

30

0.35 PU

1124

Door Lock Key Switch Unlock Signal

13

0.35 PK/BK

780

Driver Door Lock Switch Lock Signal

31

0.35 PK/BK

780

Driver Door Lock Switch Lock Signal

14

0.35 OG/BK

781

Driver Door Lock Switch Unlock Signal

32

0.35 OG/BK

781

Driver Door Lock Switch Unlock Signal

15

0.5 TN

694

Driver Door Lock Actuator Unlock Control

33

0.5 TN

694

Driver Door Lock Actuator Unlock Control

16

0.5 GY

295

Door Lock Actuator Lock Control

34

0.5 GY

295

Door Lock Actuator Lock Control

17

2 D-BU

1307

Power Window Master Switch Lockout Signal

35

2 D-BU

1307

Power Window Master Switch Lockout Signal

18

2 YE

643

Accessory Voltage

36

1 YE

643

Accessory Voltage

X505 Door Harness to Door Jumper Harness Left Front


Object Number: 476149  Size: CH

Object Number: 847281  Size: CH

Connector Part Information

  • OEM: 15326110
  • Service: 15306171
  • Description: 12-Way F GT 280 Series (BK)

Connector Part Information

  • OEM: 15326942
  • Service: 15326942
  • Description: 12-Way M GT 280 Series (BK)

Terminal Part Information

  • Pins: A-J
  • Terminal/Tray: 15304713/19
  • Core/Insulation Crimp: 4/4
  • Release Tool/Test Probe: 15315247/J-35616-4A (PU)
  • Pins: K-M
  • Terminal/Tray: 15304711/8
  • Core/Insulation Crimp: 2/A
  • Release Tool/Test Probe: 15315247/J-35616-4A (PU)

Terminal Part Information

  • Terminal/Tray: See Terminal Repair Kit
  • Core/Insulation Crimp: See Terminal Repair Kit
  • Release Tool/Test Probe: See Terminal Repair Kit

X505 Door Harness to Door Jumper Harness Left Front

Pin

Wire

Circuit

Function

Pin

Wire

Circuit

Function

A

2 L-BU

166

Power Window Master Switch Right Front Up Signal

A

2 L-BU

166

Power Window Master Switch Right Front Up Signal

B

2 TN

167

Power Window Master Switch Right Front Down Signal

B

2 TN

167

Power Window Master Switch Right Front Down Signal

C

2 D-GN

168

Power Window Master Switch Left Rear Up Signal

C

2 D-GN

168

Power Window Master Switch Left Rear Up Signal

D

2 PU

169

Power Window Master Switch Left Rear Down Signal

D

2 PU

169

Power Window Master Switch Left Rear Down Signal

E

2 L-GN

170

Power Window Master Switch Right Rear Up Signal

E

2 L-GN

170

Power Window Master Switch Right Rear Up Signal

F

2 PU

171

Power Window Master Switch Right Rear Down Signal

F

2 PU

171

Power Window Master Switch Right Rear Down Signal

G

2 BK

450

Ground

G

2 BK

450

Ground

H

2 YE

743

Accessory Voltage

H

2 YE

743

Accessory Voltage

J

2 D-BU

1307

Power Window Master Switch Lockout Signal

J

2 D-BU

1307

Power Window Master Switch Lockout Signal

K

1 D-BU

164

Power Window Motor Left Front Up Control

K

1 D-BU

164

Power Window Motor Left Front Up Control

L

1 BN

165

Power Window Motor Left Front Down Control

L

1 BN

165

Power Window Motor Left Front Down Control

M

1 YE

643

Accessory Voltage

M

1 YE

643

Accessory Voltage

X507 Door Harness to Door Jumper Harness - Left Front


Object Number: 1962089  Size: CH

Object Number: 1707495  Size: CH

Connector Part Information

  • OEM: 15486794
  • Service: 19178169
  • Description: 16-Way F Micro-Pack HVT Series (BN)

Connector Part Information

  • OEM: 13592732
  • Service: 89047490
  • Description: 16-Way M Kaizen 0.64 (BN)

Terminal Part Information

  • Pins: 1-2, 4, 6-15
  • Terminal/Tray: 15445905/23
  • Core/Insulation Crimp: Pins: 1-2, 4, 6, 8-14 : J/J
  • Core/Insulation Crimp: Pins: 7, 15 : K/K
  • Release Tool/Test Probe: 12180559/J-35616-16 (L-GN)

Terminal Part Information

  • Terminal/Tray: See Terminal Repair Kit
  • Core/Insulation Crimp: See Terminal Repair Kit
  • Release Tool/Test Probe: See Terminal Repair Kit

X507 Door Harness to Door Jumper Harness - Left Front

Pin

Wire

Circuit

Function

Pin

Wire

Circuit

Function

1

0.35 OG/WH

881

Passenger Mirror Motor Right Control

1

0.35 OG/WH

881

Passenger Mirror Motor Right Control

2

0.35 L-GN

89

Driver Mirror Motor Down Control

2

0.35 L-GN

89

Driver Mirror Motor Down Control

3

--

--

Not Used

3

--

--

Not Used

4

0.5 YE

343

Accessory Voltage

4

0.5 YE

343

Accessory Voltage

5

--

--

Not Used

5

--

--

Not Used

6

0.35 OG/BK

781

Driver Door Lock Switch Unlock Signal

6

0.35 OG/BK

781

Driver Door Lock Switch Unlock Signal

7

0.8 YE

1956

Left Front Tweeter Speaker Output (-)

7

0.8 YE

1956

Left Front Tweeter Speaker Output (-)

8

0.35 GY/BK

690

Courtesy Lamp Supply Voltage

8

0.35 GY/BK

690

Courtesy Lamp Supply Voltage

9

0.35 PU/WH

889

Passenger Mirror Motor Down Control

9

0.35 PU/WH

889

Passenger Mirror Motor Down Control

10

0.35 WH

81

Driver Mirror Motor Right Control

10

0.35 WH

81

Driver Mirror Motor Right Control

11

0.35 YE

1496

Mirror Motor Right/Up Control

11

0.35 YE

1496

Mirror Motor Right/Up Control

12

0.35 YE

1491

Backlight Lamps Control

12

0.35 YE

1491

Backlight Lamps Control

13

0.35 PK/BK

780

Driver Door Lock Switch Lock Signal

13

0.35 PK/BK

780

Driver Door Lock Switch Lock Signal

14

0.35 YE

1491

Backlight Lamps Control

14

0.35 YE

1491

Backlight Lamps Control

15

0.8 TN

1856

Left Front Tweeter Speaker Output (+)

15

0.8 TN

1856

Left Front Tweeter Speaker Output (+)

16

--

--

Not Used

16

--

--

Not Used

X509 Left Front Door Trim Harness to Left Door Courtesy Lamp Harness


Object Number: 1962074  Size: CH

Object Number: 1830936  Size: CH

Connector Part Information

  • OEM: 13583214
  • Service: 21019410
  • Description: 2-Way F 090 Series (WH)

Connector Part Information

  • OEM: 49228-0210
  • Service: See Catalog
  • Description: 2-Way M 090 Series (WH)

Terminal Part Information

  • Terminal/Tray: 12015858/4
  • Core/Insulation Crimp: F/G
  • Release Tool/Test Probe: 12094430/J-35616-4A (PU)

Terminal Part Information

  • Terminal/Tray: 12020116/2
  • Core/Insulation Crimp: A/D
  • Release Tool/Test Probe: 12094430/J-35616-5 (PU)

X509 Left Front Door Trim Harness to Left Door Courtesy Lamp Harness

Pin

Wire

Circuit

Function

Pin

Wire

Circuit

Function

1

0.35 GY/BK

690

Courtesy Lamp Supply Voltage

1

0.35 BK

690

Courtesy Lamp Supply Voltage

2

0.35 BK

450

Ground

2

0.35BK

450

Ground

X600 Body Harness to Door Harness - Right Front


Object Number: 1964278  Size: CH

Object Number: 1964276  Size: CH

Connector Part Information

  • OEM: 13583879
  • Service: 19178207
  • Description: 18-Way F 1.5 Timer 2.8 Mixed Series (BK)

Connector Part Information

  • OEM: 13583878
  • Service: See Catalog
  • Description: 36-Way M Timer 2.8 MCP (WH)

Terminal Part Information

  • Terminal/Tray: See Terminal Repair Kit
  • Core/Insulation Crimp: See Terminal Repair Kit
  • Release Tool/Test Probe: See Terminal Repair Kit

Connector Part Information

  • OEM: 13583880
  • Service: 19178208
  • Description: 18-Way F 1.5 Timer 2.8 Mixed Series (BK)

Terminal Part Information

  • Terminal/Tray: See Terminal Repair Kit
  • Core/Insulation Crimp: See Terminal Repair Kit
  • Release Tool/Test Probe: See Terminal Repair Kit

Terminal Part Information

  • Pins: 2, 16-17
  • Terminal/Tray: 1743423-1/28
  • Core/Insulation Crimp: Pins: 2 : E/2
  • Core/Insulation Crimp: Pins: 16-17 : E/A
  • Release Tool/Test Probe: 12093647/J-35616-5 (PU)
  • Pins: 3, 5-8, 14, 33-34
  • Terminal/Tray: 964265-2/28
  • Core/Insulation Crimp: E/2
  • Release Tool/Test Probe: J-38125-560/J-35616-34 (YE)
  • Pins: 20-21, 35
  • Terminal/Tray: See Terminal Repair Kit
  • Core/Insulation Crimp: See Terminal Repair Kit
  • Release Tool/Test Probe: See Terminal Repair Kit

X600 Body Harness to Door Harness - Right Front

Pin

Wire

Circuit

Function

Pin

Wire

Circuit

Function

1

0.35 TN/WH

746

Right Front Door Ajar Switch Signal

3

0.35 TN/WH

746

Right Front Door Ajar Switch Signal

2

0.5 BK

450

Ground

2

0.5 BK

450

Ground

3

--

--

Not Used

1

--

--

Not Used

4

--

--

Not Used

4

--

--

Not Used

5

0.35 OG/WH

881

Passenger Mirror Motor Right Control

8

0.35 OG/WH

881

Passenger Mirror Motor Right Control

6

0.35 PU/WH

889

Passenger Mirror Motor Down Control

7

0.35 PU/WH

889

Passenger Mirror Motor Down Control

7

0.35 L-GN

1496

Mirror Motor Right/Up Control

6

0.35 L-GN

1496

Mirror Motor Right/Up Control

8

0.35 OG

267

Heated Mirror

5

0.35 OG

267

Heated Mirror

9

--

--

Not Used

9

--

--

Not Used

10

--

--

Not Used

15

--

--

Not Used

11

0.35 GY/BK

690

Courtesy Lamp Supply Voltage

14

0.35 GY/BK

690

Courtesy Lamp Supply Voltage

12

--

--

Not Used

13

--

--

Not Used

13

--

--

Not Used

12

--

--

Not Used

14

--

--

Not Used

11

--

--

Not Used

15

--

--

Not Used

10

--

--

Not Used

16

--

--

Not Used

16

--

--

Not Used

17

0.8 PU

1952

Right Front Tweeter Speaker Output (-) (U61)

17

0.8 PU

1952

Right Front Tweeter Speaker Output (-) (U61)

0.8 D-GN

117

Right Front Speaker Output (-) (UW6)

0.8 D-GN

117

Right Front Speaker Output (-) (UW6)

18

0.8 L-GN

1852

Right Front Tweeter Speaker Output (+) (U61)

18

0.8 L-GN

1852

Right Front Tweeter Speaker Output (+) (U61)

0.8 L-GN

200

Right Front Speaker Output (+) (UW6)

0.8 L-GN

200

Right Front Speaker Output (+) (UW6)

1

--

--

Not Used

19

--

--

Not Used

2

2 TN

167

Power Window Master Switch Right Front Down Signal

20

2 TN

167

Power Window Master Switch Right Front Down Signal

3

2 L-BU

166

Power Window Master Switch Right Front Up Signal

21

2 L-BU

166

Power Window Master Switch Right Front Up Signal

4-14

--

--

Not Used

22-32

--

--

Not Used

15

0.5 TN

294

Door Lock Actuator Unlock Control

33

0.5 TN

294

Door Lock Actuator Unlock Control

16

0.5 GY

295

Door Lock Actuator Lock Control

34

0.5 GY

295

Door Lock Actuator Lock Control

17

2 YE

743

Accessory Voltage

35

2 YE

743

Accessory Voltage

18

--

--

Not Used

36

--

--

Not Used

X605 Door Harness to Door Jumper Harness - Right Front


Object Number: 476149  Size: CH

Object Number: 847281  Size: CH

Connector Part Information

  • OEM: 15326110
  • Service: 15306171
  • Description: 12-Way F GT 280 Series (BK)

Connector Part Information

  • OEM: 15326942
  • Service: 15326942
  • Description: 12-Way M GT 280 Series (BK)

Terminal Part Information

  • Pins: A-C, G-H
  • Terminal/Tray: 15304713/19
  • Core/Insulation Crimp: 4/4
  • Release Tool/Test Probe: 15315247/J-35616-4A (PU)
  • Pins: D-E, J-K
  • Terminal/Tray: 15304711/8
  • Core/Insulation Crimp: Pins: J-K : 2/A
  • Core/Insulation Crimp: Pins: D-E : E/A
  • Release Tool/Test Probe: 15315247/J-35616-4A (PU)

Terminal Part Information

  • Terminal/Tray: See Terminal Repair Kit
  • Core/Insulation Crimp: See Terminal Repair Kit
  • Release Tool/Test Probe: See Terminal Repair Kit

X605 Door Harness to Door Jumper Harness - Right Front

Pin

Wire

Circuit

Function

Pin

Wire

Circuit

Function

A

2 L-BU

166

Power Window Master Switch Right Front Up Signal

A

2 L-BU

166

Power Window Master Switch Right Front Up Signal

B

2 TN

167

Power Window Master Switch Right Front Down Signal

B

2 TN

167

Power Window Master Switch Right Front Down Signal

C

2 YE

743

Accessory Voltage

C

2 YE

743

Accessory Voltage

D

0.5 BK

450

Ground

D

0.5 BK

450

Ground

E

0.35 GY/BK

690

Courtesy Lamp Supply Voltage

E

0.35 GY/BK

690

Courtesy Lamp Supply Voltage

F

--

--

Not Used

F

--

--

Not Used

G

2 BN

667

Power Window Motor Right Front Down Control

G

2 BN

667

Power Window Motor Right Front Down Control

H

2 D-BU

666

Power Window Motor Right Front Up Control

H

2 D-BU

666

Power Window Motor Right Front Up Control

J

0.8 L-GN

1852

Right Front Tweeter Speaker Output (+)

J

0.8 L-GN

1852

Right Front Tweeter Speaker Output (+)

K

0.8 PU

1952

Right Front Tweeter Speaker Output (-)

K

0.8 PU

1952

Right Front Tweeter Speaker Output (-)

L-M

--

--

Not Used

L-M

--

--

Not Used

X609 Right Front Door Trim Harness to Right Door Courtesy Lamp Harness


Object Number: 1962074  Size: CH

Object Number: 1830936  Size: CH

Connector Part Information

  • OEM: 13583214
  • Service: 21019410
  • Description: 2-Way F 090 Series (N/A)

Connector Part Information

  • OEM: 49228-0210
  • Service: See Catalog
  • Description: 2-Way M 090 Series (N/A)

Terminal Part Information

  • Terminal/Tray: 12015858/4
  • Core/Insulation Crimp: F/G
  • Release Tool/Test Probe: 12094430/J-35616-4A (PU)

Terminal Part Information

  • Terminal/Tray: 12020116/2
  • Core/Insulation Crimp: A/D
  • Release Tool/Test Probe: 12094430/J-35616-5 (PU)

X609 Right Front Door Trim Harness to Right Door Courtesy Lamp Harness

Pin

Wire

Circuit

Function

Pin

Wire

Circuit

Function

1

0.35 GY/BK

690

Courtesy Lamp Supply Voltage

1

0.35 BK

690

Courtesy Lamp Supply Voltage

2

0.35 BK

450

Ground

2

0.35BK

450

Ground

X700 Body Harness to Door Harness - Left Rear


Object Number: 1963323  Size: CH

Object Number: 1963324  Size: CH

Connector Part Information

  • OEM: 13579291
  • Service: 19178199
  • Description: 15-Way F Hybrid (WH)

Connector Part Information

  • OEM: 13579647
  • Service: See Catalog
  • Description: 15-Way M Mixed Series (WH)

Terminal Part Information

  • Pins: 1-2, 4
  • Terminal/Tray: See Terminal Repair Kit
  • Core/Insulation Crimp: See Terminal Repair Kit
  • Release Tool/Test Probe: See Terminal Repair Kit
  • Pins: 6-8, 10, 14-15
  • Terminal/Tray: 964274-2/16
  • Core/Insulation Crimp: Pins: 6-8, 10, 15 : E/1
  • Core/Insulation Crimp: Pins: 14 : See Terminal Repair Kit
  • Release Tool/Test Probe: J-38125-560/J-35616-33 (YE)

Terminal Part Information

  • Terminal/Tray: See Terminal Repair Kit
  • Core/Insulation Crimp: See Terminal Repair Kit
  • Release Tool/Test Probe: See Terminal Repair Kit

X700 Body Harness to Door Harness - Left Rear

Pin

Wire

Circuit

Function

Pin

Wire

Circuit

Function

1

2 D-GN

168

Power Window Master Switch Left Rear Up Signal

1

2 D-GN

168

Power Window Master Switch Left Rear Up Signal

2

2 PU

169

Power Window Master Switch Left Rear Down Signal

2

2 PU

169

Power Window Master Switch Left Rear Down Signal

3

--

--

Not Used

3

--

--

Not Used

4

2 D-BU

1307

Power Window Master Switch Lockout Signal

4

2 D-BU

1307

Power Window Master Switch Lockout Signal

5

--

--

Not Used

5

--

--

Not Used

6

0.5 TN

294

Door Lock Actuator Unlock Control

6

0.5 TN

294

Door Lock Actuator Unlock Control

7

0.8 BN

199

Left Rear Speaker Output (+)

7

0.8 BN

199

Left Rear Speaker Output (+)

0.8 BN

199

Left Rear Speaker Output (+) (U61)

8

0.8 YE

116

Left Rear Speaker Output (-)

8

0.8 YE

116

Left Rear Speaker Output (-)

0.8 YE

116

Left Rear Speaker Output (-) (U61)

9

--

--

Not Used

9

--

--

Not Used

10

0.5 GY

295

Door Lock Actuator Lock Control

10

0.5 GY

295

Door Lock Actuator Lock Control

11-13

--

--

Not Used

11-13

--

--

Not Used

14

0.35 TN/WH

746

Left Rear Door Ajar Switch Signal

14

0.35 TN/WH

746

Left Rear Door Ajar Switch Signal

15

0.5 BK

650

Ground

15

0.5 BK

650

Ground

X701 Door Harness to Door Jumper Harness - Left Rear


Object Number: 1356281  Size: CH

Object Number: 1356280  Size: CH

Connector Part Information

  • OEM: 172130-2
  • Service: See Catalog
  • Description: 2-Way F 250 Sealed (BK)

Connector Part Information

  • OEM: 172129-2
  • Service: See Catalog
  • Description: 2-Way F 250 Sealed (BK)

Terminal Part Information

  • Terminal/Tray: See Terminal Repair Kit
  • Core/Insulation Crimp: See Terminal Repair Kit
  • Release Tool/Test Probe: See Terminal Repair Kit

Terminal Part Information

  • Terminal/Tray: See Terminal Repair Kit
  • Core/Insulation Crimp: See Terminal Repair Kit
  • Release Tool/Test Probe: See Terminal Repair Kit

X701 Door Harness to Door Jumper Harness - Left Rear

Pin

Wire

Circuit

Function

Pin

Wire

Circuit

Function

A

2 D-BU

668

Power Window Motor Left Rear Up Control

A

2 D-BU

668

Power Window Motor Left Rear Up Control

B

2 BN

669

Power Window Motor Left Rear Down Control

B

2 BN

669

Power Window Motor Left Rear Down Control

X800 Body Harness to Door Harness - Right Rear


Object Number: 1963323  Size: CH

Object Number: 1963324  Size: CH

Connector Part Information

  • OEM: 13579291
  • Service: 19178199
  • Description: 15-Way F Hybrid (WH)

Connector Part Information

  • OEM: 13579647
  • Service: See Catalog
  • Description: 15-Way M Mixed Series (WH)

Terminal Part Information

  • Pins: 1-2, 4
  • Terminal/Tray: See Terminal Repair Kit
  • Core/Insulation Crimp: See Terminal Repair Kit
  • Release Tool/Test Probe: See Terminal Repair Kit
  • Pins: 6-8, 10, 14-15
  • Terminal/Tray: 964274-2/16
  • Core/Insulation Crimp: Pins: 6-8, 10, 15 : E/1
  • Core/Insulation Crimp: Pins: 14 : See Terminal Repair Kit
  • Release Tool/Test Probe: J-38125-560/J-35616-33 (YE)

Terminal Part Information

  • Terminal/Tray: See Terminal Repair Kit
  • Core/Insulation Crimp: See Terminal Repair Kit
  • Release Tool/Test Probe: See Terminal Repair Kit

X800 Body Harness to Door Harness - Right Rear

Pin

Wire

Circuit

Function

Pin

Wire

Circuit

Function

1

2 L-GN

170

Power Window Master Switch Right Rear Up Signal

1

2 L-GN

170

Power Window Master Switch Right Rear Up Signal

2

2 PU

171

Power Window Master Switch Right Rear Down Signal

2

2 PU

171

Power Window Master Switch Right Rear Down Signal

3

--

--

Not Used

3

--

--

Not Used

4

2 D-BU

1307

Power Window Master Switch Lockout Signal

4

2 D-BU

1307

Power Window Master Switch Lockout Signal

5

--

--

Not Used

5

--

--

Not Used

6

0.5 TN

294

Door Lock Actuator Unlock Control

6

0.5 TN

294

Door Lock Actuator Unlock Control

7

0.8 D-BU

46

Right Rear Speaker Output (+) (U61)

7

0.8 D-BU

46

Right Rear Speaker Output (+)

0.8 D-BU

46

Right Rear Speaker Output (+) (U61)

8

0.8 L-BU

115

Right Rear Speaker Output (-) (U61)

8

0.8 L-BU

115

Right Rear Speaker Output (-)

0.8 L-BU

115

Right Rear Speaker Output (-) (U61)

9

--

--

Not Used

9

--

--

Not Used

10

0.5 GY

295

Door Lock Actuator Lock Control

10

0.5 GY

295

Door Lock Actuator Lock Control

11-13

--

--

Not Used

11-13

--

--

Not Used

14

0.35 TN/WH

746

Right Rear Door Ajar Switch Signal

14

0.35 TN/WH

746

Right Rear Door Ajar Switch Signal

15

0.5 BK

550

Ground

15

0.5 BK

550

Ground

X801 Door Harness to Door Jumper Harness - Right Rear


Object Number: 1356281  Size: CH

Object Number: 1356280  Size: CH

Connector Part Information

  • OEM: 172130-2
  • Service: See Catalog
  • Description: 2-Way F 250 Sealed (BK)

Connector Part Information

  • OEM: 172129-2
  • Service: See Catalog
  • Description: 2-Way F 250 Sealed (BK)

Terminal Part Information

  • Terminal/Tray: See Terminal Repair Kit
  • Core/Insulation Crimp: See Terminal Repair Kit
  • Release Tool/Test Probe: See Terminal Repair Kit

Terminal Part Information

  • Terminal/Tray: See Terminal Repair Kit
  • Core/Insulation Crimp: See Terminal Repair Kit
  • Release Tool/Test Probe: See Terminal Repair Kit

X801 Door Harness to Door Jumper Harness - Right Rear

Pin

Wire

Circuit

Function

Pin

Wire

Circuit

Function

A

2 D-BU

670

Power Window Motor Right Rear Up Control

A

2 D-BU

670

Power Window Motor Right Rear Up Control

B

2 BN

671

Power Window Motor Right Rear Down Control

B

2 BN

671

Power Window Motor Right Rear Down Control

X910 Liftgate Harness to Rear Defogger Jumper Harness


Object Number: 1283895  Size: CH

Object Number: 1409646  Size: CH

Connector Part Information

  • OEM: 15318080
  • Service: 21019410
  • Description: 2-Way F Metri-Pack 280 Series (BK)

Connector Part Information

  • OEM: 12147517
  • Service: 89046851
  • Description: 2-Way M Metri-Pack 280 Series (BK)

Terminal Part Information

  • Terminal/Tray: 12015858/4
  • Core/Insulation Crimp: F/G
  • Release Tool/Test Probe: 12094430/J-35616-4A (PU)

Terminal Part Information

  • Terminal/Tray: 12020116/2
  • Core/Insulation Crimp: A/D
  • Release Tool/Test Probe: 12094430/J-35616-5 (PU)

X910 Liftgate Harness to Rear Defogger Jumper Harness

Pin

Wire

Circuit

Function

Pin

Wire

Circuit

Function

1

2 PU

293

Rear Defog Element Supply Voltage

1

2 PU

293

Rear Defog Element Supply Voltage

2

--

--

Not Used

2

--

--

Not Used

X912 Liftgate Harness to Liftgate Jumper Harness


Object Number: 1963320  Size: CH

Object Number: 1963321  Size: CH

Connector Part Information

  • OEM: 13584549
  • Service: See Catalog
  • Description: 18-Way F (BK)

Connector Part Information

  • OEM: 13584548
  • Service: See Catalog
  • Description: 18-Way M (BK)

Terminal Part Information

  • Pins: 1, 8, 18
  • Terminal/Tray: See Terminal Repair Kit
  • Core/Insulation Crimp: See Terminal Repair Kit
  • Release Tool/Test Probe: See Terminal Repair Kit
  • Pins: 3, 5-7, 13
  • Terminal/Tray: SNAC3-A021T-M0.64/20
  • Core/Insulation Crimp: J/J
  • Release Tool/Test Probe: 15315247/J-35616-64B (L-BU)

Terminal Part Information

  • Terminal/Tray: See Terminal Repair Kit
  • Core/Insulation Crimp: See Terminal Repair Kit
  • Release Tool/Test Probe: See Terminal Repair Kit

X912 Liftgate Harness to Liftgate Jumper Harness

Pin

Wire

Circuit

Function

Pin

Wire

Circuit

Function

1

0.8 D-GN

392

Rear Window Washer Pump Control

1

0.8 D-GN

392

Rear Window Washer Pump Control

2

--

--

Not Used

2

--

--

Not Used

3

0.35 GY

391

Rear Window Wiper Switch Signal

3

0.35 GY

391

Rear Window Wiper Switch Signal

4

--

--

Not Used

4

--

--

Not Used

5

0.5 PU

709

Left Park Lamp Supply Voltage

5

0.5 PU

709

Left Park Lamp Supply Voltage

6

0.5 L-BU

6128

Rear Closure Unlatch Motor Unlatch Control

6

0.5 L-BU

6128

Rear Closure Unlatch Motor Unlatch Control

7

0.35 PK/BK

1303

Liftgate Ajar Switch Signal

7

0.35 PK/BK

1303

Liftgate Ajar Switch Signal

8

1 RD/WH

2240

Battery Positive Voltage

8

1 RD/WH

2240

Battery Positive Voltage

9-12

--

--

Not Used

9-12

--

--

Not Used

13

0.35 D-GN

6127

Liftgate Unlatch Switch Signal

13

0.35 D-GN

6127

Liftgate Unlatch Switch Signal

14-17

--

--

Not Used

14-17

--

--

Not Used

18

2 BK

650

Ground

18

2 BK

650

Ground

X925 Liftgate Jumper Harness to License Lamp Harness


Object Number: 1283830  Size: CH

Object Number: 1334462  Size: CH

Connector Part Information

  • OEM: 15337961
  • Service: 21019410
  • Description: 2-Way F Metri-Pack 280 Series (N/A)

Connector Part Information

  • OEM: 12147517
  • Service: 89046851
  • Description: 2-Way M Metri-Pack 280 Series (BK)

Terminal Part Information

  • Terminal/Tray: 12015858/4
  • Core/Insulation Crimp: F/G
  • Release Tool/Test Probe: 12094430/J-35616-4A (PU)

Terminal Part Information

  • Terminal/Tray: 12020116/2
  • Core/Insulation Crimp: A/D
  • Release Tool/Test Probe: 12094430/J-35616-5 (PU)

X925 Liftgate Jumper Harness to License Lamp Harness

Pin

Wire

Circuit

Function

Pin

Wire

Circuit

Function

1

0.5 PU

709

Park Lamp Supply Voltage

1

0.5 WH

709

Park Lamp Supply Voltage

2

0.5 BK

650

Ground

2

0.5 BK

650

Ground

Connector 1: X100 Front Marker Lamp Harness to Forward Lamp Harness
Connector 2: X102 Body Harness to Forward Lamp Harness (HP5)
Connector 3: X102 Forward Lamp Harness to Body Harness (-HP5)
Connector 4: X103 Forward Lamp Harness to Headlamp Assembly Harness - Left
Connector 5: X105 Engine Harness to Body Harness (HP7)
Connector 6: X105 Engine Harness to Body Harness (without HP7/HP5)
Connector 7: X107 Forward Lamp Harness to Headlamp Assembly Harness - Right
Connector 8: X110 Engine Harness to Fuel Injector Harness (LAT/LE5)
Connector 9: X110 Engine Harness to Fuel Injector Harness (LCS)
Connector 10: X110 Engine Harness to Fuel Injector Harness (LY7)
Connector 11: X110 Engine Harness to Fuel Injector Harness (LZ4)
Connector 12: X111 Engine Harness to Fuel Injector Harness (LCS)
Connector 13: X112 Engine Harness to Transmission Harness (ME7/MN5)
Connector 14: X131 Left Front Wheel Speed Sensor Harness to Body Harness
Connector 15: X134 Right Front Wheel Speed Sensor Harness to Body Harness
Connector 16: X141 Body Harness to Heated Nozzle Harness (XA7)
Connector 17: X152 Engine Harness to Body Harness (HP5)
Connector 18: X176 Engine Harness to Transmission Harness (MK3) (HP5)
Connector 19: X178 Engine Harness to Accessory DC Power Control Module Jumper Harness (HP5)
Connector 20: X179 Engine Harness to Automatic Transmission Drive Motor Generator Assembly 2nd Positionn Harness (HP5)
Connector 21: X180 Engine Harness to Automatic Transmission Drive Motor Generator Assembly 2nd Positionn Harness (HP5)
Connector 22: X200 I/P Harness to Body Harness
Connector 23: X202 I/P Harness to HVAC Harness
Connector 24: X204 I/P Harness to Body Harness
Connector 25: X210 I/P Harness to Immobilizer Harness (LY7/LZ4)
Connector 26: X214 I/P Harness to Antenna Harness
Connector 27: X250 Inflatable Restraint Steering Wheel Module Coil Jumper Harness to Body Harness (SIR)
Connector 28: X260 Inflatable Restraint I/P Module Jumper Harness to Body Harness (SIR)
Connector 29: X262 Inflatable Restraint I/P Module Jumper Harness to Body Harness (SIR)
Connector 30: X310 Console Harness to Body Harness (KA1)
Connector 31: X350 Body Harness to Left Heated Seat Harness (AE8/KA1)
Connector 32: X351 Body Harness to Left Seat Belt Harness
Connector 33: X352 Body Harness to Right Heated Seat Harness (KA1)
Connector 34: X353 Body Harness to Right Seat Belt Harness
Connector 35: X400 Headliner Harness to Body Harness
Connector 36: X401 Headliner Harness to Body Harness (DD8)
Connector 37: X402 Liftgate Harness to Body Harness
Connector 38: X404 Center High Mounted Stop Lamp (CHMSL) Jumper Harness to Body Harness
Connector 39: X406 Fuel Sender Harness to Body Harness
Connector 40: X407 Body Harness to Generator Battery Assembly Harness (HP7)
Connector 41: X408 Rear Chassis Harness to Body Harness
Connector 42: X409 Rear Marker Lamp Harness to Body Harness
Connector 43: X410 Rear Tail Lamp Assembly Harness to Body Harness - Right
Connector 44: X411 Rear Tail Lamp Assembly Harness to Body Harness - Left
Connector 45: X414 Headliner Harness to Sunroof Module Harness (CF5)
Connector 46: X430 Trailer Jumper Harness to Body Harness (V92)
Connector 47: X450 Body Harness to Drive Motor Generator Battery Control Harness (HP5)
Connector 48: X452 Body Harness to 110Volt Jumper Harness (V92)
Connector 49: X456 Drive Motor Generator Battery Control Harness to Drive Motor Generator Battery Cooling System (HP5)
Connector 50: X460 Drive Motor Generator Battery Control Harness to Battery Temperature Sensor 1 Harness (HP5)
Connector 51: X461 Drive Motor Generator Battery Control Harness to Battery Temperature Sensor 2 Harness (HP5)
Connector 52: X463 Drive Motor Generator Battery Control Harness to Battery Voltage Sensor Harness (HP5)
Connector 53: X500 Body Harness to Door Harness - Left Front
Connector 54: X505 Door Harness to Door Jumper Harness Left Front
Connector 55: X507 Door Harness to Door Jumper Harness - Left Front
Connector 56: X509 Left Front Door Trim Harness to Left Door Courtesy Lamp Harness
Connector 57: X600 Body Harness to Door Harness - Right Front
Connector 58: X605 Door Harness to Door Jumper Harness - Right Front
Connector 59: X609 Right Front Door Trim Harness to Right Door Courtesy Lamp Harness
Connector 60: X700 Body Harness to Door Harness - Left Rear
Connector 61: X701 Door Harness to Door Jumper Harness - Left Rear
Connector 62: X800 Body Harness to Door Harness - Right Rear
Connector 63: X801 Door Harness to Door Jumper Harness - Right Rear
Connector 64: X910 Liftgate Harness to Rear Defogger Jumper Harness
Connector 65: X912 Liftgate Harness to Liftgate Jumper Harness
Connector 66: X925 Liftgate Jumper Harness to License Lamp Harness

X100 Front Marker Lamp Harness to Forward Lamp Harness


Object Number: 646430  Size: CH

Object Number: 806431  Size: CH

Connector Part Information

  • OEM: 15487756
  • Service: 19180287
  • Description: 4-Way F GT 150 Series, Sealed (BK)

Connector Part Information

  • OEM: 15326820
  • Service: 15326820
  • Description: 4-Way M GT 150 Series, Sealed (BK)

Terminal Part Information

  • Terminal/Tray: 12191819/8
  • Core/Insulation Crimp: E/A
  • Release Tool/Test Probe: 15315247/J-35616-2A (GY)

Terminal Part Information

  • Terminal/Tray: 15326269/19
  • Core/Insulation Crimp: E/4
  • Release Tool/Test Probe: 15315247/J-35616-3 (GY)

X100 Front Marker Lamp Harness to Forward Lamp Harness

Pin

Wire

Circuit

Function

Pin

Wire

Circuit

Function

A

0.5 PU

34

Fog Lamps Supply Voltage (T37/T96)

A

0.5 PU

34

Fog Lamps Supply Voltage (T37/T96)

B

0.5 BN/WH

309

Right Park Lamp Supply Voltage

B

0.5 BN/WH

309

Right Park Lamp Supply Voltage

C

0.5 PU

709

Left Park Lamp Supply Voltage

C

0.5 PU

709

Left Park Lamp Supply Voltage

D

0.5 BK

150

Ground

D

0.5 BK

150

Ground

X102 Body Harness to Forward Lamp Harness (HP5)


Object Number: 831368  Size: CH

Object Number: 684916  Size: CH

Connector Part Information

  • OEM: 15326835
  • Service: 88986255
  • Description: 8-Way F GT 150 Series, Sealed (BK)

Connector Part Information

  • OEM: 15326840
  • Service: 15326840
  • Description: 8-Way M GT 150 Series Sealed 4.0 (BK)

Terminal Part Information

  • Pins: A-H
  • Terminal/Tray: 12191819/8
  • Core/Insulation Crimp: Pins: A-D, F-H : E/A
  • Core/Insulation Crimp: Pins: E : 2/A
  • Release Tool/Test Probe: 15315247/J-35616-2A (GY)

Terminal Part Information

  • Terminal/Tray: See Terminal Repair Kit
  • Core/Insulation Crimp: See Terminal Repair Kit
  • Release Tool/Test Probe: See Terminal Repair Kit

X102 Body Harness to Forward Lamp Harness (HP5)

Pin

Wire

Circuit

Function

Pin

Wire

Circuit

Function

A

0.5 YE

6168

Middle Front Impact Sensing Module Supply Voltage

A

0.5 YE

6168

Middle Front Impact Sensing Module Supply Voltage

B

0.5 YE/GY

6776

Middle Front Impact Sensing Module (2) Supply Voltage

B

0.5 YE/GY

6776

Middle Front Impact Sensing Module (2) Supply Voltage

C

0.5 D-GN/WH

636

Ambient Air Temperature Sensor Signal

C

0.5 D-GN/WH

636

Ambient Air Temperature Sensor Signal

D

--

--

Not Used

D

--

--

Not Used

E

0.5 YE/BK

6169

Middle Front Impact Sensing Module Signal

E

0.5 YE/BK

6169

Middle Front Impact Sensing Module Signal

F

0.5 L-GN

6777

Middle Front Impact Sensing Module (2) Signal

F

0.5 L-GN

6777

Middle Front Impact Sensing Module (2) Signal

G

0.5 YE

61

Low Reference

G

0.5 YE

61

Low Reference

H

1 BK

150

Ground

H

1 BK

150

Ground

X102 Forward Lamp Harness to Body Harness (-HP5)


Object Number: 831368  Size: CH

Object Number: 684916  Size: CH

Connector Part Information

  • OEM: 15326835
  • Service: 88986255
  • Description: 8-Way F GT 150 Series, Sealed (BK)

Connector Part Information

  • OEM: 15326840
  • Service: 15326840
  • Description: 8-Way M GT 150 Series Sealed 4.0 (BK)

Terminal Part Information

  • Pins: A-H
  • Terminal/Tray: 12191819/8
  • Core/Insulation Crimp: Pins: A-D, F-H : E/A
  • Core/Insulation Crimp: Pins: E : 2/A
  • Release Tool/Test Probe: 15315247/J-35616-2A (GY)

Terminal Part Information

  • Terminal/Tray: See Terminal Repair Kit
  • Core/Insulation Crimp: See Terminal Repair Kit
  • Release Tool/Test Probe: See Terminal Repair Kit

X102 Forward Lamp Harness to Body Harness (-HP5)

Pin

Wire

Circuit

Function

Pin

Wire

Circuit

Function

A

0.5 YE

6168

Middle Front Impact Sensing Module Supply Voltage

A

0.5 YE

6168

Middle Front Impact Sensing Module Supply Voltage

B

0.5 YE/GY

6776

Middle Front Impact Sensing Module (2) Supply Voltage

B

0.5 YE/GY

6776

Middle Front Impact Sensing Module (2) Supply Voltage

C

0.5 D-GN/WH

636

Ambient Air Temperature Sensor Signal

C

0.5 D-GN/WH

636

Ambient Air Temperature Sensor Signal

D

--

--

Not Used

D

--

--

Not Used

E

0.5 YE/BK

6169

Middle Front Impact Sensing Module Signal

E

0.5 YE/BK

6169

Middle Front Impact Sensing Module Signal

F

0.5 L-GN

6777

Middle Front Impact Sensing Module (2) Signal

F

0.5 L-GN

6777

Middle Front Impact Sensing Module (2) Signal

G

0.5 YE

61

Low Reference

G

0.5 YE

61

Low Reference

H

1 BK

150

Ground

H

1 BK

150

Ground

X103 Forward Lamp Harness to Headlamp Assembly Harness - Left


Object Number: 646430  Size: CH

Object Number: 806431  Size: CH

Connector Part Information

  • OEM: 15326815
  • Service: 15306396
  • Description: 4-Way F GT 150 Sealed 4.0 (BK)

Connector Part Information

  • OEM: 15326820
  • Service: 15326820
  • Description: 4-Way M GT 150 Series, Sealed 4.0 (BK)

Terminal Part Information

  • Terminal/Tray: 12191819/8
  • Core/Insulation Crimp: E/A
  • Release Tool/Test Probe: 15315247/J-35616-2A (GY)

Terminal Part Information

  • Terminal/Tray: 15326269/19
  • Core/Insulation Crimp: E/4
  • Release Tool/Test Probe: 15315247/J-35613-3 (GY)

X103 Forward Lamp Harness to Headlamp Assembly Harness - Left

Pin

Wire

Circuit

Function

Pin

Wire

Circuit

Function

A

0.5 D-GN/WH

711

Left Headlamp High Beam Supply Voltage

A

0.5 OG

711

Left Headlamp High Beam Supply Voltage

B

0.5 BK

150

Ground

B

0.5 BK/WH

150

Ground

C

0.5 YE

712

Left Headlamp Low Beam Supply Voltage

C

0.5 L-GN

712

Left Headlamp Low Beam Supply Voltage

D

--

--

Not Used

D

--

--

Not Used

X105 Engine Harness to Body Harness (HP7)


Object Number: 1715240  Size: CH

Object Number: 655777  Size: CH

Connector Part Information

  • OEM: 15443822
  • Service: See Catalog
  • Description: 38-Way F GT 150, 280 Series (BK)

Connector Part Information

  • OEM: 15317380
  • Service: 88988307
  • Description: 38-Way M GT 150 280 Series (BK)

Terminal Part Information

  • Terminal/Tray: See Terminal Repair Kit
  • Core/Insulation Crimp: See Terminal Repair Kit
  • Release Tool/Test Probe: See Terminal Repair Kit

Terminal Part Information

  • Pins: A1-A2, A7-A8, B1-B12, C1-C12, D1-D2, D7-D8
  • Terminal/Tray: 15304702/19
  • Core/Insulation Crimp: Pins: A7-A8, D1-D2, D8 : 2/4
  • Core/Insulation Crimp: Pins: B5-B8, B11, C1, C5-C8, C10 : E/4
  • Core/Insulation Crimp: Pins: A1-A2, B1-B4, B9-B10, B12, C2-C4, C9, C11-C12, D7 : E/C
  • Release Tool/Test Probe: 15315247/J-35616-3 (GY)
  • Pins: A3, A5, D3-D6
  • Terminal/Tray: 15304722/8
  • Core/Insulation Crimp: E/C
  • Release Tool/Test Probe: 15315247/J-35616-5 (PU)
  • Pins: A4, A6
  • Terminal/Tray: 15304724/8
  • Core/Insulation Crimp: See Terminal Repair Kit
  • Release Tool/Test Probe: 15315247/J-35616-5 (PU)

X105 Engine Harness to Body Harness (HP7)

Pin

Wire

Circuit

Function

Pin

Wire

Circuit

Function

A1

0.35 L-BU

5986

Serial Data Communication Enable

A1

0.35 L-BU

5986

Serial Data Communication Enable

A2

0.35 BN/WH

6283

Fuel Tank Vapor Pressure Sensor Supply Voltage

A2

0.35 BN/WH

6283

Fuel Tank Vapor Pressure Sensor Supply Voltage

A3

0.35D-GN

890

Fuel Tank Pressure Sensor Signal

A3

0.35D-GN

890

Fuel Tank Pressure Sensor Signal

A4

0.5 RED/BK

42

Battery Positive Voltage

A4

0.5 RED/BK

42

Battery Positive Voltage

A5

--

--

Not Available

A5

--

--

Not Available

A6

0.35 D-BU

1936

Fuel Level Sensor Signal - Primary

A6

0.35 D-BU

1936

Fuel Level Sensor Signal - Primary

A7

0.35 L-BU

1937

Secondary Fuel Level Sensor Signal - Secondary

A7

0.35 L-BU

1937

Secondary Fuel Level Sensor Signal - Secondary

A8

0.5 BN/WH

6281

Fuel Level Sensor Low Reference

A8

0.5 BN/WH

6281

Fuel Level Sensor Low Reference

B1

--

--

Not Available

B1

--

--

Not Available

B2

0.5 PU

1272

Low Reference

B2

0.5 PU

1272

Low Reference

B3

0.5 TN

1274

5-Volt Reference

B3

0.5 TN

1274

5-Volt Reference

B4

0.5 L-BU

1162

APP Sensor 2 Signal

B4

0.5 L-BU

1162

APP Sensor 2 Signal

B5-B7

--

--

Not Available

B5

--

--

Not Available

B8

0.5 TN/BK

2500

High Speed GMLAN Serial Data Bus+

B8

0.5 TN/BK

2500

High Speed GMLAN Serial Data Bus+

B9

0.5 TN

2501

High Speed GMLAN Serial Data Bus-

B9

0.5 TN

2501

High Speed GMLAN Serial Data Bus-

B10

0.35 YE

5530

Hood Open Switch Signal

B10

0.35 YE

5530

Hood Open Switch Signal

B11

0.35 PU

5531

Hood Closed Switch Signal

B11

0.35 PU

5531

Hood Closed Switch Signal

B12

--

--

Not Available

B12

--

--

Not Available

C1

--

--

Not Available

C1

--

--

Not Available

C2

0.5 BN

1271

Low Reference

C2

0.5 BN

1271

Low Reference

C3

0.5 WH/BK

1164

5-Volt Reference

C3

0.5 WH/BK

1164

5-Volt Reference

C4

0.5 D-BU

1161

APP Sensor 1 Signal

C4

0.5 D-BU

1161

APP Sensor 1 Signal

C5-C8

--

--

Not Available

C5-C8

--

--

Not Available

C9

0.5 BN

909

Hill Hold Brake Delay Valves Relay Contact Output Voltage

C9

0.5 BN

909

Hill Hold Brake Delay Valves Relay Contact Output Voltage

C10

0.5 BN

909

Hill Hold Brake Delay Valves Relay Contact Output Voltage

C10

0.5 BN

909

Hill Hold Brake Delay Valves Relay Contact Output Voltage

C11

0.8 PU

910

Hill Hold Brake Delay Valve 1 Control

C11

0.8 PU

910

Hill Hold Brake Delay Valve 1 Control

C12

0.8 L-GN

911

Hill Hold Brake Delay Valve 2 Control

C12

0.8 L-GN

911

Hill Hold Brake Delay Valve 2 Control

D1

0.8 Gy

6034

Brake Fluid Pressure Sensor 5 Volt Reference

D1

0.8 Gy

6034

Brake Fluid Pressure Sensor 5 Volt Reference

D2

0.35 TN/BK

6033

Low Reference

D2

0.35 TN/BK

6033

Low Reference

D3

0.35 YE

2034

Brake Fluid Pressure Sensor Signal

D3

0.35 YE

2034

Brake Fluid Pressure Sensor Signal

D4-D5

--

--

Not Available

D4

--

--

Not Available

D6

0.5 GY

9905

Brake Booster Vacuum Sensor 5 Volt Reference

D6

0.5 GY

9905

Brake Booster Vacuum Sensor 5 Volt Reference

D7

0.8 TN/BK

9945

Low Reference

D7

0.8 TN/BK

9945

Low Reference

D8

0.8 YE

9914

Brake Booster Vacuum Sensor Signal

D8

0.8 YE

9914

Brake Booster Vacuum Sensor Signal

X105 Engine Harness to Body Harness (without HP7/HP5)


Object Number: 632346  Size: CH

Object Number: 632345  Size: CH

Connector Part Information

  • OEM: 15326864
  • Service: 15306381
  • Description: 16-Way F 150 Series, Sealed (BK)

Connector Part Information

  • OEM: 15326868
  • Service: 15306364
  • Description: 16-Way M 150 Series, Sealed (BK)

Terminal Part Information

  • Terminal/Tray: 12191819/8
  • Core/Insulation Crimp: E/A
  • Release Tool/Test Probe: 15315247/J-35616-2A (GY)

Terminal Part Information

  • Terminal/Tray: See Terminal Repair Kit
  • Core/Insulation Crimp: See Terminal Repair Kit
  • Release Tool/Test Probe: See Terminal Repair Kit

X105 Engine Harness to Body Harness (without HP7/HP5)

Pin

Wire

Circuit

Function

Pin

Wire

Circuit

Function

A

0.5 TN/BK

2500

High Speed GMLAN Serial Data Bus+

A

0.5 TN/BK

2500

High Speed GMLAN Serial Data Bus+

B

0.5 TN

2501

High Speed GMLAN Serial Data Bus-

B

0.5 TN

2501

High Speed GMLAN Serial Data Bus-

C

0.5 TN

1274

5-Volt Reference

C

0.35 TN

1274

5-Volt Reference

D

0.5 L-BU

1162

APP Sensor 2 Signal

D

0.35 L-BU

1162

APP Sensor 2 Signal

E

0.5 PU

1272

Low Reference

E

0.35 PU

1272

Low Reference

F

0.5 WH/BK

1164

5-Volt Reference

F

0.35 WH/BK

1164

5-Volt Reference

G

0.5 D-BU

1161

APP Sensor 1 Signal

G

0.35 D-BU

1161

APP Sensor 1 Signal

H

0.5 BN

1271

Low Reference

H

0.35 BN

1271

Low Reference

J

0.5 D-BU

1936

Fuel Level Sensor Signal - Secondary

J

0.5 D-BU

1936

Fuel Level Sensor Signal - Secondary

K

0.5 L-BU

1937

Secondary Fuel Level Sensor Signal

K

0.5 L-BU

1937

Secondary Fuel Level Sensor Signal

L

0.5 BN/WH

6281

Fuel Level Sensor Low Reference

L

0.5 BN/WH

6281

Fuel Level Sensor Low Reference

M

0.5 D-GN

890

Fuel Tank Pressure Sensor Signal

M

0.5 D-GN

890

Fuel Tank Pressure Sensor Signal

N

0.5 BN/WH

6283

Fuel Tank Vapor Pressure Sensor Supply Voltage

N

0.5 BN/WH

6283

Fuel Tank Vapor Pressure Sensor Supply Voltage

P

0.5 L-GN

6338

Manual Transmission Clutch Position Sensor Signal Position (LE5+MG3/MN5)

P

0.35 L-GN

6338

Manual Transmission Clutch Position Sensor Signal Position

R

0.5 D-GN

6293

Clutch Position Sensor Supply Voltage (LE5+MG3/MN5)

R

0.35 D-GN

6293

Clutch Position Sensor Supply Voltage

S

0.5 D-GN/WH

6294

Clutch Position Sensor Low Reference (LE5+MG3/MN5)

S

0.35 D-GN/WH

6294

Clutch Position Sensor Low Reference

X107 Forward Lamp Harness to Headlamp Assembly Harness - Right


Object Number: 646430  Size: CH

Object Number: 806431  Size: CH

Connector Part Information

  • OEM: 15326815
  • Service: 15306396
  • Description: 4-Way F GT 150 Sealed 4.0 (BK)

Connector Part Information

  • OEM: 15326820
  • Service: 15326820
  • Description: 4-Way M GT 150 Series, Sealed 4.0 (BK)

Terminal Part Information

  • Terminal/Tray: 12191819/8
  • Core/Insulation Crimp: E/A
  • Release Tool/Test Probe: 15315247/J-35616-2A (GY)

Terminal Part Information

  • Terminal/Tray: 15326269/19
  • Core/Insulation Crimp: E/4
  • Release Tool/Test Probe: 15315247/J-35613-3 (GY)

X107 Forward Lamp Harness to Headlamp Assembly Harness - Right

Pin

Wire

Circuit

Function

Pin

Wire

Circuit

Function

A

0.5 L-GN/BK

311

Right Headlamp High Beam Supply Voltage

A

0.5 OG

311

Right Headlamp High Beam Supply Voltage

B

0.5 BK/WH

151

Ground

B

0.5 BK/WH

151

Ground

C

0.5 TN/WH

312

Right Headlamp Low Beam Supply Voltage

C

0.5 L-GN

312

Right Headlamp Low Beam Supply Voltage

D

--

--

Not Used

D

--

--

Not Used

X110 Engine Harness to Fuel Injector Harness (LAT/LE5)


Object Number: 831368  Size: CH

Object Number: 684916  Size: CH

Connector Part Information

  • OEM: 15326836
  • Service: 88986255
  • Description: 8-Way F GT 150 Series, Sealed (BK)

Connector Part Information

  • OEM: 15326840
  • Service: 15326840
  • Description: 8-Way M GT 150 Series Sealed 4.0 (BK)

Terminal Part Information

  • Pins: A-H
  • Terminal/Tray: 12191819/8
  • Core/Insulation Crimp: Pins: A-D, F-H : E/A
  • Core/Insulation Crimp: Pins: E : 2/A
  • Release Tool/Test Probe: 15315247/J-35616-2A (GY)

Terminal Part Information

  • Terminal/Tray: See Terminal Repair Kit
  • Core/Insulation Crimp: See Terminal Repair Kit
  • Release Tool/Test Probe: See Terminal Repair Kit

X110 Engine Harness to Fuel Injector Harness (LAT/LE5)

Pin

Wire

Circuit

Function

Pin

Wire

Circuit

Function

A

0.5 TN

1744

Fuel Injector 1 Control

A

0.5 TN

1744

Fuel Injector 1 Control

B

0.5 L-GN/BK

1745

Fuel Injector 2 Control

B

0.5 L-GN/BK

1745

Fuel Injector 2 Control

C

0.5 PK/BK

1746

Fuel Injector 3 Control

C

0.5 PK/BK

1746

Fuel Injector 3 Control

D

0.5 L-BU/BK

844

Fuel Injector 4 Control

D

0.5 L-BU/BK

844

Fuel Injector 4 Control

E

0.5 PK/BK

5291

Ignition 1 Voltage

E

0.5 PK/BK

139

Ignition 1 Voltage

F

0.5 OG/BK

469

Low Reference

F

0.5 OG/BK

469

Low Reference

G

0.5 L-GN

432

MAP Sensor Signal

G

0.5 L-GN

432

MAP Sensor Signal

H

0.5 GY

2704

5-Volt Reference

H

0.5 GY

2704

5-Volt Reference

X110 Engine Harness to Fuel Injector Harness (LCS)


Object Number: 1986157  Size: CH

Object Number: 1986159  Size: CH

Connector Part Information

  • OEM: 33472-0606
  • Service: 88986255
  • Description: 6-Way F MX 150 Series Sealed (BK)

Connector Part Information

  • OEM: 33482-0601
  • Service: 15326840
  • Description: 6-Way M MX 150 Series Sealed (BK)

Terminal Part Information

  • Pins: A-H
  • Terminal/Tray: 12191819/8
  • Core/Insulation Crimp: Pins:1-6 E/A
  • Release Tool/Test Probe: 15315247/J-35616-2A (GY)

Terminal Part Information

  • Terminal/Tray: See Terminal Repair Kit
  • Core/Insulation Crimp: See Terminal Repair Kit
  • Release Tool/Test Probe: See Terminal Repair Kit

X110 Engine Harness to Fuel Injector Harness (LCS)

Pin

Wire

Circuit

Function

Pin

Wire

Circuit

Function

1

1 D-BU

4802

Direct Fuel Injector (DFI) High Voltage Control Cylinder 2

1

1 D-BU

4802

Direct Fuel Injector (DFI) High Voltage Control Cylinder 2

2

1 D-BU/WH

4902

Direct Fuel Injector (DFI) High Voltage Supply Cylinder 2

2

1 D-BU/WH

4902

Direct Fuel Injector (DFI) High Voltage Supply Cylinder 2

3

1 L-BU

4804

Direct Fuel Injector (DFI) High Voltage Control Cylinder 4

3

1 L-BU

4804

Direct Fuel Injector (DFI) High Voltage Control Cylinder 4

4

1 L-BU/WH

4904

Direct Fuel Injector (DFI) High Voltage Supply Cylinder 4

4

1 L-BU/WH

4904

Direct Fuel Injector (DFI) High Voltage Supply Cylinder 4

5

1 PU

4806

Direct Fuel Injector (DFI) High Voltage Control Cylinder 6

5

1 PU

4806

Direct Fuel Injector (DFI) High Voltage Control Cylinder 6

6

1 PU/WH

4906

Direct Fuel Injector (DFI) High Voltage Supply Cylinder 6

6

1 PU/WH

4906

Direct Fuel Injector (DFI) High Voltage Supply Cylinder 6

X110 Engine Harness to Fuel Injector Harness (LY7)


Object Number: 831368  Size: CH

Object Number: 684916  Size: CH

Connector Part Information

  • OEM: 15326836
  • Service: 88986255
  • Description: 8-Way F GT 150 Series, Sealed (BK)

Connector Part Information

  • OEM: 15326840
  • Service: 15326840
  • Description: 8-Way M GT 150 Series Sealed 4.0 (BK)

Terminal Part Information

  • Pins: A-H
  • Terminal/Tray: 12191819/8
  • Core/Insulation Crimp: Pins: A-D, F-H : E/A
  • Core/Insulation Crimp: Pins: E : 2/A
  • Release Tool/Test Probe: 15315247/J-35616-2A (GY)

Terminal Part Information

  • Terminal/Tray: See Terminal Repair Kit
  • Core/Insulation Crimp: See Terminal Repair Kit
  • Release Tool/Test Probe: See Terminal Repair Kit

X110 Engine Harness to Fuel Injector Harness (LY7)

Pin

Wire

Circuit

Function

Pin

Wire

Circuit

Function

A

0.5 PK/BK

5291

Ignition 1 Voltage

A

0.5 PK/BK

5291

Ignition 1 Voltage

B

0.5 TN

1744

Fuel Injector 1 Control

B

0.5 TN

1744

Fuel Injector 1 Control

C

0.5 PK/BK

1746

Fuel Injector 3 Control

C

0.5 PK/BK

1746

Fuel Injector 3 Control

D

0.5 TN/WH

845

Fuel Injector 5 Control

D

0.5 TN/WH

845

Fuel Injector 5 Control

E

1 PK/BK

5292

Ignition 1 Voltage

E

1 PK/BK

5292

Ignition 1 Voltage

F

0.5 L-GN/BK

1745

Fuel Injector 2 Control

F

0.5 L-GN/BK

1745

Fuel Injector 2 Control

G

0.5 L-BU/BK

844

Fuel Injector 4 Control

G

0.5 L-BU/BK

844

Fuel Injector 4 Control

H

0.5 YE/BK

846

Fuel Injector 6 Control

H

0.5 YE/BK

846

Fuel Injector 6 Control

X110 Engine Harness to Fuel Injector Harness (LZ4)


Object Number: 646383  Size: CH

Object Number: 632345  Size: CH

Connector Part Information

  • OEM: 15326863
  • Service: 15306410
  • Description: 16-Way F GT 150 Series, Sealed 4.0 (BK)

Connector Part Information

  • OEM: 15326867
  • Service: See Catalog
  • Description: 16-Way M GT 150 Series Sealed (BK)

Terminal Part Information

  • Pins: A-H, L
  • Terminal/Tray: 12191819/8
  • Core/Insulation Crimp: Pins: A : 2/A
  • Core/Insulation Crimp: Pins: B-H, L : E/A
  • Release Tool/Test Probe: 15315247/J-35616-2A (GY)
  • Pins: N-R
  • Terminal/Tray: 15326427/5
  • Core/Insulation Crimp: E/A
  • Release Tool/Test Probe: 15315247/J-35616-2A (GY)

Terminal Part Information

  • Terminal/Tray: 15326269/19
  • Core/Insulation Crimp: E/4
  • Release Tool/Test Probe: 15315247/J-35616-3 (GY)

X110 Engine Harness to Fuel Injector Harness (LZ4)

Pin

Wire

Circuit

Function

Pin

Wire

Circuit

Function

A

1 PK/BK

5291

Ignition 1 Voltage

A

1 PK/BK

5291

Ignition 1 Voltage

B

0.5 YE

410

ECT Sensor Signal

B

0.5 YE

410

ECT Sensor Signal

C

0.5 TN

1744

Fuel Injector 1 Control

C

0.5 TN

1744

Fuel Injector 1 Control

D

0.5 L-GN/BK

1745

Fuel Injector 2 Control

D

0.5 L-GN/BK

1745

Fuel Injector 2 Control

E

0.5 PK/BK

1746

Fuel Injector 3 Control

E

0.5 PK/BK

1746

Fuel Injector 3 Control

F

0.5 L-BU/BK

844

Fuel Injector 4 Control

F

0.5 L-BU/BK

844

Fuel Injector 4 Control

G

0.5 TN/WH

845

Fuel Injector 5 Control

G

0.5 TN/WH

845

Fuel Injector 5 Control

H

0.5 YE/BK

846

Fuel Injector 6 Control

H

0.5 YE/BK

846

Fuel Injector 6 Control

J-K

--

--

Not Used

J-K

--

--

Not Used

L

0.5 TN

2761

Low Reference

L

0.5 TN

2761

Low Reference

M

--

--

Not Used

M

--

--

Not Used

N

0.5 D-BU

6259

5-Volt Reference

N

0.5 D-BU

6259

5-Volt Reference

P

0.5 BN

6266

Low Reference

P

0.5 BN

6266

Low Reference

R

0.5 D-BU/WH

6265

Camshaft Position (CMP) Sensor Signal - Bank 1 Intake

R

0.5 D-BU/WH

6265

Camshaft Position (CMP) Sensor Signal - Bank 1 Intake

S

--

--

Not Used

S

--

--

Not Used

X111 Engine Harness to Fuel Injector Harness (LCS)


Object Number: 1825165  Size: CH

Object Number: 1825167  Size: CH

Connector Part Information

  • OEM: 33472-1236
  • Service: 88986255
  • Description: 12-Way MX 150 Series Sealed (BK)

Connector Part Information

  • OEM: 33482-1216
  • Service: 15326840
  • Description: 12-Way MX 150 Series Sealed (BK)

Terminal Part Information

  • Pins: 1-12
  • Terminal/Tray: 12191819/8
  • Core/Insulation Crimp: Pins: E/A
  • Release Tool/Test Probe: 15315247/J-35616-2A (GY)

Terminal Part Information

  • Pins: 1-12
  • Terminal/Tray: 12191819/8
  • Core/Insulation Crimp: Pins: E/A
  • Release Tool/Test Probe: 15315247/J-35616-2A (GY)

X111 Engine Harness to Fuel Injector Harness (LCS)

Pin

Wire

Circuit

Function

Pin

Wire

Circuit

Function

1

--

--

Not Used

1

--

--

Not Used

2

1 BN

4801

Direct Fuel Injector (DFI) High Voltage Control Cylinder 1

2

1 BN

4801

Direct Fuel Injector (DFI) High Voltage Control Cylinder 1

3

1 D-GN

4803

Direct Fuel Injector (DFI) High Voltage Control Cylinder 3

3

1 D-GN

4803

Direct Fuel Injector (DFI) High Voltage Control Cylinder 3

4

1 L-GN

4805

Direct Fuel Injector (DFI) High Voltage Control Cylinder 5

4

1 L-GN

4805

Direct Fuel Injector (DFI) High Voltage Control Cylinder 5

5

0.5 TN

808

Low Reference

5

0.5 TN

808

Low Reference

6-7

--

--

Not Used

6-7

--

--

Not Used

8

1 BN/WH

4901

Direct Fuel Injector (DFI) High Voltage Supply Cylinder 1

8

1 BN/WH

4901

Direct Fuel Injector (DFI) High Voltage Supply Cylinder 1

9

1 D-GN/WH

4903

Direct Fuel Injector (DFI) High Voltage Supply Cylinder 3

9

1 D-GN/WH

4903

Direct Fuel Injector (DFI) High Voltage Supply Cylinder 3

10

1 L-GN/WH

4905

Direct Fuel Injector (DFI) High Voltage Supply Cylinder 5

10

1 L-GN/WH

4905

Direct Fuel Injector (DFI) High Voltage Supply Cylinder 5

11

0.5 GY

598

5 Volt Reference

11

0.5 GY

598

5 Volt Reference

12

0.5 YE

2918

Fuel Rail Pressure Sensor Signal

12

0.5 YE

2918

Fuel Rail Pressure Sensor Signal

X112 Engine Harness to Transmission Harness (ME7/MN5)


Object Number: 1922568  Size: CH

Object Number: 1922569  Size: CH

Connector Part Information

  • OEM: 13603424
  • Service: 89047246
  • Description: 20-Way F Micro-Pack 100W Series Sealed (BK)

Connector Part Information

  • OEM: 15443076
  • Service: See Catalog
  • Description: 20-Way M Micro-Pack 100W Series Sealed (BK)

Terminal Part Information

  • Pins: See Terminal Repair Kit
  • Terminal/Tray: See Terminal Repair Kit
  • Core/Insulation Crimp: See Terminal Repair Kit
  • Release Tool/Test Probe: See Terminal Repair Kit

Terminal Part Information

  • Pins: See Terminal Repair Kit
  • Terminal/Tray: See Terminal Repair Kit
  • Core/Insulation Crimp: See Terminal Repair Kit
  • Release Tool/Test Probe: See Terminal Repair Kit

X112 Engine Harness to Transmission Harness (ME7/MN5)

Pin

Wire

Circuit

Function

Pin

Wire

Circuit

Function

A

0.35 L-GN

1222

1-2 Shift Solenoid Valve Control

A

0.5 L-GN

1222

1-2 Shift Solenoid Valve Control

B

0.35 YE/BK

1223

2-3 Shift Solenoid Valve Control

B

0.5 YE

1223

2-3 Shift Solenoid Valve Control

C

0.35 OG/BK

1228

PC Solenoid Valve High Control (Sol. A)

C

0.5 PU

1228

PC Solenoid Valve High Control (Sol. A)

D

0.35 L-BU/WH

1229

PC Solenoid Valve Low Control (Sol. A)

D

0.5 L-BU

1229

PC Solenoid Valve Low Control (Sol. A)

E

0.5 PK

639

Ignition 1 Voltage

E

0.5 RD

839

Ignition 1 Voltage

F-K

--

--

Not Available

F-K

--

--

Not Available

L

0.35 YE/BK

1227

TFT Sensor Signal

L

0.5 BN

1227

TFT Sensor Signal

M

0.35 TN

2762

Low Reference

M

0.5 GY

452

Low Reference

N

--

--

Not Used

N

--

--

Not Used

P

0.35 OG

1226

Transmission Fluid Pressure Switch Signal C

P

0.5 OG

1226

Transmission Fluid Pressure Switch Signal C

R

0.35 D-BU

1225

Transmission Fluid Pressure Switch Signal B

R

0.5 D-BU

1225

Transmission Fluid Pressure Switch Signal B

S

0.35 OG/BK

1230

AT ISS High Signal

S

0.5 BK

1230

AT ISS High Signal

T

0.35 TN/BK

422

TCC PWM Solenoid Valve Control

T

0.5 TN

418

TCC PWM Solenoid Valve Control

U

0.35 YE

657

TCC Release Switch Signal

U

0.5 WH

1804

TCC Release Switch Signal

V

0.35 D-BU/WH

1231

AT ISS Low Signal

V

0.5 D-GN

1231

AT ISS Low Signal

W

--

--

Not Available

W

--

--

Not Available

X131 Left Front Wheel Speed Sensor Harness to Body Harness


Object Number: 635009  Size: CH

Object Number: 333041  Size: CH

Connector Part Information

  • OEM: 12052641
  • Service: 12052641
  • Description: 2-Way F Metri-Pack 150 Series, Sealed (BK)

Connector Part Information

  • OEM: 12162000
  • Service: 12167120
  • Description: 2-Way M Metri-Pack 150 Series Sealed (BK)

Terminal Part Information

  • Terminal/Tray: 12048074/2
  • Core/Insulation Crimp: E/1
  • Release Tool/Test Probe: 12094429/J-35616-14 (GN)

Terminal Part Information

  • Terminal/Tray: 12045773/2
  • Core/Insulation Crimp: E/1
  • Release Tool/Test Probe: 12094429/J-35616-3 (GY)

X131 Left Front Wheel Speed Sensor Harness to Body Harness

Pin

Wire

Circuit

Function

Pin

Wire

Circuit

Function

A

0.5 WH

830

Left Front Wheel Speed Sensor Signal

A

0.5 L-BU

830

Left Front Wheel Speed Sensor Signal

B

0.5 BK

7064

Wheel Speed Sensor Supply Voltage Left Front

B

0.5 GY/WH

7064

Wheel Speed Sensor Supply Voltage Left Front

X134 Right Front Wheel Speed Sensor Harness to Body Harness


Object Number: 635009  Size: CH

Object Number: 333041  Size: CH

Connector Part Information

  • OEM: 12052641
  • Service: 12052641
  • Description: 2-Way F Metri-Pack 150 Series, Sealed (BK)

Connector Part Information

  • OEM: 12162000
  • Service: 12167120
  • Description: 2-Way M Metri-Pack 150 Series, Sealed (BK)

Terminal Part Information

  • Terminal/Tray: 12048074/2
  • Core/Insulation Crimp: E/1
  • Release Tool/Test Probe: 12094429/J-35616-14 (GN)

Terminal Part Information

  • Terminal/Tray: 12045773/2
  • Core/Insulation Crimp: E/1
  • Release Tool/Test Probe: 12094429/J-35616-3 (GY)

X134 Right Front Wheel Speed Sensor Harness to Body Harness

Pin

Wire

Circuit

Function

Pin

Wire

Circuit

Function

A

0.5 WH

872

Right Front Wheel Speed Sensor Signal

A

0.5 D-GN

872

Right Front Wheel Speed Sensor Signal

B

0.5 BK

7065

Wheel Speed Sensor Supply Voltage Right Front

B

0.5 GY/WH

7065

Wheel Speed Sensor Supply Voltage Right Front

X141 Body Harness to Heated Nozzle Harness (XA7)


Object Number: 888601  Size: CH

Object Number: 897985  Size: CH

Connector Part Information

  • OEM: 10723741
  • Service: 88953306
  • Description: 2-Way F 1.5 (BK)

Connector Part Information

  • OEM: 7282-5548-30
  • Service: 88953303
  • Description: 2-Way M 1.5 (BK)

Terminal Part Information

  • Terminal/Tray: 7116-4102-08/9
  • Core/Insulation Crimp: E/1
  • Release Tool/Test Probe: 12094430/J-35616-2A (GY)

Terminal Part Information

  • Terminal/Tray: See Terminal Repair Kit
  • Core/Insulation Crimp: See Terminal Repair Kit
  • Release Tool/Test Probe: See Terminal Repair Kit

X141 Body Harness to Heated Nozzle Harness (XA7)

Pin

Wire

Circuit

Function

Pin

Wire

Circuit

Function

1

0.5 OG

267

Heated Washers Supply Voltage

1

0.5 OG

267

Heated Washers Supply Voltage

2

0.5 BK

450

Ground

2

0.5 BK

450

Ground

X152 Engine Harness to Body Harness (HP5)


Object Number: 1844787  Size: CH

Object Number: 1844783  Size: CH

Connector Part Information

  • OEM: 13586430
  • Service: 15306381
  • Description: 40-Way F 150 280 Series, Sealed (BK)

Connector Part Information

  • OEM: 13605375
  • Service: 15306364
  • Description: 40-Way M 150 280Series, Sealed (BK)

Terminal Part Information

  • Terminal/Tray: 12191819/8
  • Core/Insulation Crimp: E/A
  • Release Tool/Test Probe: 15315247/J-35616-2A (GY)

Terminal Part Information

  • Terminal/Tray: See Terminal Repair Kit
  • Core/Insulation Crimp: See Terminal Repair Kit
  • Release Tool/Test Probe: See Terminal Repair Kit

X152 Engine Harness to Body Harness (HP5)

Pin

Wire

Circuit

Function

Pin

Wire

Circuit

Function

1

--

--

Not Used

1

--

--

Not Used

2

1 RD/WH

5140

Battery Positive Voltage

2

1 RD/WH

5140

Battery Positive Voltage

3

--

--

Not Used

3

--

--

Not Used

4

0.5 D-GN

5060

Low Speed GMLAN Serial Data

4

0.5 D-GN

5060

Low Speed GMLAN Serial Data

5-7

--

--

Not Used

5-7

--

--

Not Used

8

0.5 TN

3425

Hybrid Controls Wakeup

8

0.5 TN

3425

Hybrid Controls Wakeup

9

0.5 D-GN

954

5 Volt Reference

9

0.5 D-GN

954

5 Volt Reference

10

0.5 BN/WH

6283

Fuel Tank Vapor Pressure Sensor Supply Voltage

10

0.5 BN/WH

6283

Fuel Tank Vapor Pressure Sensor Supply Voltage

11

0.5 D-GN

890

Fuel Tank Pressure Sensor Signal

11

0.5 D-GN

890

Fuel Tank Pressure Sensor Signal

12

0.5 D-BU

1936

Fuel Level Sensor Signal - Secondary

12

0.5 D-BU

1936

Fuel Level Sensor Signal - Secondary

13

0.5 L-BU

1937

Secondary Fuel Level Sensor Signal

13

0.5 L-BU

1937

Secondary Fuel Level Sensor Signal

14

0.5 BN/WH

6281

Fuel Level Sensor Low Reference

14

0.5 BN/WH

6281

Fuel Level Sensor Low Reference

15

0.5 PU

1272

Low Reference

15

0.5 PU

1272

Low Reference

16

0.5 TN

1274

5 Volt Reference

16

0.5 TN

1274

5 Volt Reference

17

0.5 L-BU

1162

APP Sensor 2 Signal

17

0.5 L-BU

1162

APP Sensor 2 Signal

18

0.5 TN/BK

2500

High Speed GMLAN Serial Data Bus+

18

0.5 TN/BK

2500

High Speed GMLAN Serial Data Bus+

19

0.5 TN

2501

High Speed GMLAN Serial Data Bus-

19

0.5 TN

2501

High Speed GMLAN Serial Data Bus-

20

0.35 YE

5530

Hood Open Switch Signal

20

0.35 YE

5530

Hood Open Switch Signal

21

0.35 PU

5531

Hood Closed Switch Signal

21

0.35 PU

5531

Hood Closed Switch Signal

22

0.5 BN

1271

Accelerator Pedal Position Low Reference (1)

22

0.5 BN

1271

Accelerator Pedal Position Low Reference (1)

23

0.5 WH/BK

1164

Accelerator Pedal Position 5 Volt Reference (1)

23

0.5 WH/BK

1164

Accelerator Pedal Position 5 Volt Reference (1)

24

0.5 D-BU

1161

Accelerator Pedal Position Signal (1)

24

0.5 D-BU

1161

Accelerator Pedal Position Signal (1)

25

0.5 PK

988

High Voltage Main Contactor Relay Control

25

0.5 PK

988

High Voltage Main Contactor Relay Control

26

0.5 D-BU

3424

Accessory Wakeup

26

0.5 D-BU

3424

Accessory Wakeup

27

0.5 OG

5595

High Voltage Interlock Loop Signal (2)

27

0.5 OG

5595

High Voltage Interlock Loop Signal (2)

28

0.5 PU

5087

High Voltage Interlock Loop Signal (1)

28

0.5 PU

5087

High Voltage Interlock Loop Signal (1)

29

0.35 YE

5530

Hood Open Switch Signal

29

0.35 YE

5530

Hood Open Switch Signal

30

0.35 PU

5531

Hood Closed Switch Signal

30

0.35 PU

5531

Hood Closed Switch Signal

31

0.5 D-BU

6105

High Speed GMLAN Serial Data (+) (2)

31

0.5 D-BU

6105

High Speed GMLAN Serial Data (+) (2)

32

0.5 L-BU

6106

High Speed GMLAN Serial Data (-) (2)

32

0.5 L-BU

6106

High Speed GMLAN Serial Data (-) (2)

33

--

--

Not Used

33

--

--

Not Used

34

0.5 RD/WH

5340

Battery Positive Voltage

34

0.5 RD/WH

5340

Battery Positive Voltage

35

1 RD/WH

4640

Battery Positive Voltage

35

1 RD/WH

4640

Battery Positive Voltage

36

0.5 RD/WH

5340

Battery Positive Voltage

36

0.5 RD/WH

5340

Battery Positive Voltage

37

0.5 PK

2014

Heater Coolant Pump Relay Control

37

0.5 PK

2014

Heater Coolant Pump Relay Control

38-40

--

--

38-40

--

--

X176 Engine Harness to Transmission Harness (MK3) (HP5)


Object Number: 1922568  Size: CH

Object Number: 1922569  Size: CH

Connector Part Information

  • OEM: 13483054
  • Service: 89047246
  • Description: 20-Way F Micro-Pack 100W Series Sealed (BK)

Connector Part Information

  • OEM: 15443076
  • Service: See Catalog
  • Description: 20-Way M Micro-Pack 100W Series Sealed (BK)

Terminal Part Information

  • Pins: See Terminal Repair Kit
  • Terminal/Tray: See Terminal Repair Kit
  • Core/Insulation Crimp: See Terminal Repair Kit
  • Release Tool/Test Probe: See Terminal Repair Kit

Terminal Part Information

  • Pins: See Terminal Repair Kit
  • Terminal/Tray: See Terminal Repair Kit
  • Core/Insulation Crimp: See Terminal Repair Kit
  • Release Tool/Test Probe: See Terminal Repair Kit

X176 Engine Harness to Transmission Harness (MK3) (HP5)

Pin

Wire

Circuit

Function

Pin

Wire

Circuit

Function

A

0.5 OG/WH

812

12-Volt Reference

A

0.5 OG/WH

812

12-Volt Reference

B

0.5 D-GN

1433

Clutch Start Switch Signal

B

0.5 D-GN

1433

Clutch Start Switch Signal

C

0.5 TN/WH

771

Transmission Range Switch Signal A

C

0.5 TN/WH

771

Transmission Range Switch Signal A

D

0.5 YE

772

Transmission Range Switch Signal B

D

0.5 YE

772

Transmission Range Switch Signal B

E

0.5 GY

773

Transmission Range Switch Signal C

E

0.5 GY

773

Transmission Range Switch Signal C

F

0.5 WH

776

Transmission Range Switch Signal P

F

0.5 WH

776

Transmission Range Switch Signal P

G

0.5 BK

906

Battery Positive Voltage

G

0.5 BK

906

Battery Positive Voltage

H

0.5 YE

9016

Traction Power Inverter Motor #2 Temperature Sensor Return

H

0.5 YE

9016

Traction Power Inverter Motor #2 Temperature Sensor Return

J

0.5 L-GN

9015

Traction Power Inverter Motor #2 Temperature Sensor Signal

J

0.5 L-GN

9015

Traction Power Inverter Motor #2 Temperature Sensor Signal

K

0.5 L-BU

7653

Traction Power Inverter Motor #1 Temperature Sensor Signal

K

0.5 L-BU

7653

Traction Power Inverter Motor #1 Temperature Sensor Signal

L

0.5 BN

7652

Traction Power Inverter Module Resolver #1 S3 Signal

L

0.5 BN

7652

Traction Power Inverter Module Resolver #1 S3 Signal

M

0.5 YE

7649

Traction Power Inverter Module Resolver #1 S1 Signal

M

0.5 YE

7649

Traction Power Inverter Module Resolver #1 S1 Signal

N-R

--

--

Not Available

N-R

--

--

Not Available

S

0.5 D-GN

7654

Traction Power Inverter Motor #1 Temperature Sensor Return

S

0.5 D-GN

7654

Traction Power Inverter Motor #1 Temperature Sensor Return

T

0.5 GY

7646

Transmission Traction Power Inverter Module Resolver #1 S4 Signal

T

0.5 GY

7646

Transmission Traction Power Inverter Module Resolver #1 S4 Signal

U

0.5 PU/L-GN

7647

Transmission Traction Power Inverter Module Resolver #1 S2 Signal

U

0.5 PU/L-GN

7647

Transmission Traction Power Inverter Module Resolver #1 S2 Signal

V

0.5 L-GN

7648

Traction Power Inverter Module Traction Power Inverter Module Resolver #1 Excitation Signal Negative

V

0.5 L-GN

7648

Traction Power Inverter Module Traction Power Inverter Module Resolver #1 Excitation Signal Negative

W

0.5 L-BU/WH

7645

Traction Power Inverter Module Resolver #1 Excitation Signal Positive

W

0.5 L-BU/WH

7645

Traction Power Inverter Module Resolver #1 Excitation Signal Positive

X178 Engine Harness to Accessory DC Power Control Module Jumper Harness (HP5)


Object Number: 646599  Size: CH

Object Number: 646600  Size: CH

Connector Part Information

  • OEM: 12162840
  • Service: 12101822
  • Description:6-Way F GT 150Series Sealed (BK)

Connector Part Information

  • OEM: 12064818
  • Service: 12101827
  • Description:6-Way M GT 150Series Sealed (BK)

Terminal Part Information

  • Pins: A-F
  • Terminal/Tray: 15304718
  • Core/Insulation Crimp: E/C
  • Release Tool/Test Probe: 12094429/J-35616-14 (GN)

Terminal Part Information

  • Pins: A-F
  • Terminal/Tray: 15304730
  • Core/Insulation Crimp: E/C
  • Release Tool/Test Probe: 12094429/J-35616-14 (GN)

X178 Engine Harness to Accessory DC Power Control Module Jumper Harness (HP5)

Pin

Wire

Circuit

Function

Pin

Wire

Circuit

Function

A

0.5 L-BU

6106

High Speed GMLAN Serial Data (-) (2)

A

0.5 L-BU

6106

High Speed GMLAN Serial Data (-) (2)

B

0.5 D-BU

6105

High Speed GMLAN Serial Data (+) (2)

B

0.5 D-BU

6105

High Speed GMLAN Serial Data (+) (2)

C

0.5 D-BU

3424

APM Wake-Up Signal

C

0.5 D-BU

3424

APM Wake-Up Signal

D

0.5 L-BU

6106

High Speed GMLAN Serial Data (-) (2)

D

0.5 L-BU

6106

High Speed GMLAN Serial Data (-) (2)

E

0.5 D-BU

6105

High Speed GMLAN Serial Data (+) (2)

E

0.5 D-BU

6105

High Speed GMLAN Serial Data (+) (2)

F

0.35 TN

904

Ground

F

0.35 TN

904

Ground

X179 Engine Harness to Automatic Transmission Drive Motor Generator Assembly 2nd Positionn Harness (HP5)


Object Number: 810084  Size: CH

Object Number: 2177017  Size: CH

Connector Part Information

  • OEM: 1-967640-1
  • Service: See Catalog
  • Description: 4-Way F MQS Series Sealed (BK)

Connector Part Information

  • OEM: 1-967584-1
  • Service: See Catalog
  • Description: 4-Way M MQS Series Sealed (BK)

Terminal Part Information

  • Pins: 1-4
  • Terminal/Tray: 15304718
  • Core/Insulation Crimp: E/C
  • Release Tool/Test Probe: 12094429/J-35616-14 (GN)

Terminal Part Information

  • Pins: A-F
  • Terminal/Tray: 15304730
  • Core/Insulation Crimp: E/C
  • Release Tool/Test Probe: 12094429/J-35616-14 (GN)

X179 Engine Harness to Automatic Transmission Drive Motor Generator Assembly 2nd Positionn Harness (HP5)

Pin

Wire

Circuit

Function

Pin

Wire

Circuit

Function

1

0.5 GY/D-BU

9009

Resolver Motor B S3 Signal

1

0.5 GY/D-BU

9009

Resolver Motor B S3 Signal

2

0.5 L-BU

9008

Resolver Motor B S1 Signal

2

0.5 L-BU

9008

Resolver Motor B S1 Signal

3

0.5 D-GN

9006

Resolver Motor B S2 Signal

3

0.5 D-GN

9006

Resolver Motor B S2 Signal

4

0.5 BN

9007

Resolver Motor B S4 Signal

4

0.5 BN

9007

Resolver Motor B S4 Signal

X180 Engine Harness to Automatic Transmission Drive Motor Generator Assembly 2nd Positionn Harness (HP5)


Object Number: 2177019  Size: CH

Object Number: 2177018  Size: CH

Connector Part Information

  • OEM: 1438454-1
  • Service: 13599849
  • Description: 3-Way F 0.64 Series Sealed (BK)

Connector Part Information

  • OEM: 776963-1
  • Service: See Catalog
  • Description: 3-Way M 0.64 Series Sealed (BK)

Terminal Part Information

  • Pins: 1-4
  • Terminal/Tray: 15304718
  • Core/Insulation Crimp: E/C
  • Release Tool/Test Probe: 12094429/J-35616-14 (GN)

Terminal Part Information

  • Pins: A-F
  • Terminal/Tray: 15304730
  • Core/Insulation Crimp: E/C
  • Release Tool/Test Probe: 12094429/J-35616-14 (GN)

X180 Engine Harness to Automatic Transmission Drive Motor Generator Assembly 2nd Positionn Harness (HP5)

Pin

Wire

Circuit

Function

Pin

Wire

Circuit

Function

1

0.5 GY/D-BU

9005

Resolver Motor B Excitation, Negative

1

0.5 GY/D-BU

9005

Resolver Motor B Excitation, Negative

2

0.5 L-BU

9004

Resolver Motor B Excitation, Positive

2

0.5 L-BU

9004

Resolver Motor B Excitation, Positive

3

0.5 BK

904

Shield

3

0.5 Bare

904

Shield

X200 I/P Harness to Body Harness


Object Number: 1830969  Size: CH

Object Number: 2001169  Size: CH

Connector Part Information

  • OEM: 13580434
  • Service: 19178162
  • Description: 92-Way F Hybrid Series, Unsealed (BK)

Connector Part Information

  • OEM: 13579289
  • Service: 19168038
  • Description: 92-Way M Hybrid Mixed (BK)

Terminal Part Information

  • Pins: 4-5, 8-8, 11-14, 20-23, 29, 33, 39, 41-44, 49-50, 52-54, 62-64, 70-72, 79-81, 83-84, 88-89, 91
  • Terminal/Tray: 1241374-1/17
  • Core/Insulation Crimp: Pins: 11-14 : E/C
  • Core/Insulation Crimp: Pins: 4-5, 7-8, 20, 23, 29, 33, 41-44, 49-50, 52-53, 62-63, 70-72, 79, 91 : See Terminal Repair Kit
  • Core/Insulation Crimp: Pins: 21-22, 54, 64, 80-81, 83-84, 88-89 : E/2
  • Core/Insulation Crimp: Pins: 39 : 2/C
  • Release Tool/Test Probe: J-38125-557/J-35616-14 (GN)
  • Pins: 27-28, 47, 78, 85-86, 92
  • Terminal/Tray: See Terminal Repair Kit
  • Core/Insulation Crimp: See Terminal Repair Kit
  • Release Tool/Test Probe: See Terminal Repair Kit

Terminal Part Information

  • Terminal/Tray: See Terminal Repair Kit
  • Core/Insulation Crimp: See Terminal Repair Kit
  • Release Tool/Test Probe: See Terminal Repair Kit

X200 I/P Harness to Body Harness

Pin

Wire

Circuit

Function

Pin

Wire

Circuit

Function

1-3

--

--

Not Used

1-3

--

--

Not Used

4

0.35 TN/WH

372

Remote Radio Audio Output (-) (U2K)

4

0.35 TN/WH

372

Remote Radio Audio Output (-) (U2K)

5

0.35 BN/WH

367

Left Audio Signal (+) (U2K)

5

0.35 BN/WH

367

Left Audio Signal (+) (U2K)

6

--

--

Not Used

6

--

--

Not Used

7

0.35 D-GN/WH

368

Right Audio Signal (+) (U2K)

7

0.35 D-GN/WH

368

Right Audio Signal (+) (U2K)

8

0.35 GY

388

Remote Radio Right Audio Signal (U2K)

8

0.35 GY

388

Remote Radio Right Audio Signal (U2K)

9-10

--

--

Not Used

9-10

--

--

Not Used

11

0.8 BN

199

Left Rear Speaker Output (+) (UW6)

11

0.8 BN

199

Left Rear Speaker Output (+) (UW6)

12

0.8 YE

116

Left Rear Speaker Output (-) (UW6)

12

0.8 YE

116

Left Rear Speaker Output (-) (UW6)

13

0.8 TN

201

Left Front Speaker Output (+) (UW6)

13

0.8 TN

201

Left Front Speaker Output (+) (UW6)

14

0.8 GY

118

Left Front Speaker Output (-) (UW6)

14

0.8 GY

118

Left Front Speaker Output (-) (UW6)

15-16

--

--

Not Used

15-16

--

--

Not Used

17

0.5 D-BU

3424

Accessory Wakeup (HP5)

17

0.5 D-BU

3424

Accessory Wakeup (HP5)

18

0.5 TN

3425

Hybrid Controls Wakeup (HP5)

18

0.5 TN

3425

Hybrid Controls Wakeup (HP5)

19

--

--

Not Used

19

--

--

Not Used

20

0.35 GY

391

Rear Window Wiper Switch Signal

20

0.35 GY

391

Rear Window Wiper Switch Signal

21

0.5 D-GN/WH

636

Ambient Air Temperature Sensor Signal

21

0.5 D-GN/WH

636

Ambient Air Temperature Sensor Signal

22

0.5 YE

61

Low Reference

22

0.5 YE

61

Low Reference

0.5 YE

61

Low Reference (HP5)

0.5 YE

61

Low Reference (HP5)

23

0.35 WH

193

Rear Defog Relay Control

23

0.35 WH

193

Rear Defog Relay Control

24

0.5 D-GN

3423

High Voltage Circuit Impact Detection Sensor Signal - Rear (HP5)

24

0.5 D-GN

3423

High Voltage Circuit Impact Detection Sensor Signal - Rear (HP5)

25

0.5 YE/BK

3422

Low Reference (HP5)

25

0.5 YE/BK

3422

Low Reference (HP5)

26

--

--

Not Used

26

--

--

Not Used

27

0.5 OG

1732

Courtesy Lamps Supply Voltage

27

0.5 OG

1732

Courtesy Lamps Supply Voltage

28

0.35 BARE

1573

Drain Wire

28

0.35 BARE

1573

Drain Wire

29

0.35 YE

18

Left Rear Stop/Turn Lamp Supply Voltage

29

0.5 YE

18

Left Rear Stop/Turn Lamp Supply Voltage

30

0.5 D-BU

3427

High Voltage Circuit Impact Detection Sensor Signal - Front (HP5)

30

0.5 D-BU

3427

High Voltage Circuit Impact Detection Sensor Signal - Front (HP5)

31

0.5L-BU

3426

Low Reference (HP5)

31

0.5L-BU

3426

Low Reference (HP5)

32

0.5 PK

2014

Heater Coolant Pump Relay Control (HP5)

32

0.5 PK

2014

Heater Coolant Pump Relay Control (HP5)

33

0.35 PU

333

Brake Fluid Level Sensor Signal

33

0.35 PU

333

Brake Fluid Level Sensor Signal

34-38

--

--

Not Used

34-38

--

--

Not Used

39

1 BK/WH

451

Ground

39

1 BK/WH

451

Ground

40

0.5 RD/WH

5340

Battery Positive Voltage (HP5)

40

0.5 RD/WH

5340

Battery Positive Voltage (HP5)

41

0.35 BN

1271

Low Reference

41

0.35 BN

1271

Low Reference

42

0.35 WH/BK

1164

5-Volt Reference

42

0.35 WH/BK

1164

5-Volt Reference

43

0.35 L-BU

1162

APP Sensor 2 Signal

43

0.35 L-BU

1162

APP Sensor 2 Signal

44

0.35 TN

1274

5-Volt Reference

44

0.35 TN

1274

5-Volt Reference

45-46

--

--

Not Used

45-46

--

--

Not Used

47

3 RD/WH

3040

Battery Positive Voltage

47

3 RD/WH

3040

Battery Positive Voltage

48

--

--

Not Used

48

--

--

Not Used

49

0.35 PU

1272

Low Reference

49

0.35 PU

1272

Low Reference

50

0.35 D-BU

1161

APP Sensor 1 Signal

50

0.35 D-BU

1161

APP Sensor 1 Signal

51

--

--

Not Used

51

--

--

Not Used

52

0.35 TN/WH

99

Windshield Washer Fluid Level Signal

52

0.35 TN/WH

99

Windshield Washer Fluid Level Signal

53

0.35 RD/WH

740

Battery Positive Voltage

53

0.35 RD/WH

740

Battery Positive Voltage

54

0.5 RD/WH

740

Battery Positive Voltage

54

0.5 RD/WH

740

Battery Positive Voltage

0.5 RD/WH

740

Battery Positive Voltage (-HP5)

55-59

--

--

Not Used

5559

--

--

Not Used

60

0.5 D-BU

6105

High Speed GMLAN Serial Data (+) (2) (HP5)

60

0.5 D-BU

6105

High Speed GMLAN Serial Data (+) (2) (HP5)

61

0.5 L-BU

6106

High Speed GMLAN Serial Data (-) (2) (HP5)

61

0.5 L-BU

6106

High Speed GMLAN Serial Data (-) (2) (HP5)

62

0.35 PU

328

Interior Lamp Switch Voltage Supply Circuit

62

0.35 PU

328

Interior Lamp Switch Voltage Supply Circuit

63

0.35 BN

4

Accessory Voltage

63

0.35 BN

4

Accessory Voltage

0.35 BN

4

Accessory Voltage (CE1) (-HP5)

64

0.5 D-GN/WH

817

Vehicle Speed Signal (U3U)

64

0.35 D-GN/WH

817

Vehicle Speed Signal (U3U)

65-67

--

--

Not Used

65-67

--

--

Not Used

68

0.5 D-BU

6105

High Speed GMLAN Serial Data (+) (2) (HP5)

68

0.5 D-BU

6105

High Speed GMLAN Serial Data (+) (2) (HP5)

69

0.5 L-BU

6106

High Speed GMLAN Serial Data (-) (2) (HP5)

69

0.5 L-BU

6106

High Speed GMLAN Serial Data (-) (2) (HP5)

70-73

--

--

Not Used

70-73

--

--

Not Used

74

0.5 BN

5382

Low Reference (HP5)

74

0.5 BN

5382

Low Reference (HP5)

75

0.5 GY

3335

5 V Reference (HP5)

75

0.5 GY

3335

5 V Reference (HP5)

76

0.5 L-BU

3334

Brake Master Cylinder Piston Position Sensor Signal A (HP5)

76

0.5 L-BU

3334

Brake Master Cylinder Piston Position Sensor Signal A (HP5)

77

0.5 PU

3333

Brake Master Cylinder Piston Position Sensor Signal B (HP5)

77

0.5 PU

3333

Brake Master Cylinder Piston Position Sensor Signal B (HP5)

78

0.35 GY/BK

690

Courtesy Lamp Supply Voltage (LCS/LY7/LZ4)

78

0.35 GY/BK

690

Courtesy Lamp Supply Voltage (LCS/LY7/LZ4)

79

0.35 BN/WH

419

MIL Control

79

0.35 BN/WH

419

MIL Control

80

0.5 WH/BK

6436

CAN Bus Low Terminated Serial Data (LY7/LZ4)

80

0.5 WH/BK

6436

CAN Bus Low Terminated Serial Data (LY7/LZ4)

80

0.35 TN

6048

Steering Angle Sensor - Index (HP5)

80

0.35 TN

6048

Steering Angle Sensor - Index (HP5)

81

0.5 BN/WH

6437

CAN Bus High Terminated Serial Data (LY7/LZ4)

81

0.5 BN/WH

6437

CAN Bus High Terminated Serial Data (LY7/LZ4)

81

0.5 D-BU

6047

Steering Angle Sensor - Phase B (HP5)

81

0.5 D-BU

6047

Steering Angle Sensor - Phase B (HP5)

82

0.35 YE

6046

Steering Angle Sensor - Phase A (HP5)

82

0.35 YE

6046

Steering Angle Sensor - Phase A (HP5)

83

0.5 OG/BK

6045

Steering Angle Sensor Low Reference (LCS/LY7/LZ4)

83

0.5 OG/BK

6045

Steering Angle Sensor Low Reference (LCS/LY7/LZ4)

84

0.5 GY

6044

Steering Angle Sensor 5-Volt Reference (LCS/LY7/LZ4)

84

0.5 GY

6044

Steering Angle Sensor 5-Volt Reference (LCS/LY7/LZ4)

85

0.5 TN/BK

2500

High Speed GMLAN Serial Data Bus+

85

0.5 TN/BK

2500

High Speed GMLAN Serial Data Bus+

0.5 TN/BK

2500

High Speed GMLAN Serial Data Bus+

86

0.5 TN

2501

High Speed GMLAN Serial Data Bus-

86

0.5 TN

2501

High Speed GMLAN Serial Data Bus-

0.5 TN

2501

High Speed GMLAN Serial Data Bus-

87

0.35 L-GN

6043

Steering Angle Sensor Signal (HP5)

87

0.35 L-GN

6043

Steering Angle Sensor Signal (HP5)

88

0.5 TN/WH

6433

CAN Bus High Serial Data (LY7/LZ4)

88

0.5 TN/WH

6433

CAN Bus High Serial Data (LY7/LZ4)

89

0.5 L-GN/BK

6432

CAN Bus Low Serial Data (LY7/LZ4)

89

0.5 L-GN/BK

6432

CAN Bus Low Serial Data (LY7/LZ4)

90

--

--

Not Used

90

--

--

Not Used

91

0.35 PK

439

Ignition 1 Voltage

91

0.35 PK

439

Ignition 1 Voltage

92

0.35 L-BU

5986

Serial Data Communication Enable

92

0.35 L-BU

5986

Serial Data Communication Enable

0.35 L-BU

5986

Serial Data Communication Enable (LAT/LCS)

92

0.35 L-BU

5986

Serial Data Communication Enable (LAT/LCS)

X202 I/P Harness to HVAC Harness


Object Number: 1963314  Size: CH

Object Number: 823318  Size: CH

Connector Part Information

  • OEM: 15326953
  • Service: 89046978
  • Description: 16-Way F GT 280 Series (BK)

Connector Part Information

  • OEM: 15326956
  • Service: 15326956
  • Description: 16-Way F GT 280 Series (BK)

Terminal Part Information

  • Pins: B-F, H-P, S
  • Terminal/Tray: 15304711/8
  • Core/Insulation Crimp: E/A
  • Release Tool/Test Probe: 15315247/J-35616-4A (PU)
  • Pins: G
  • Terminal/Tray: 15304713/19
  • Core/Insulation Crimp: F/D
  • Release Tool/Test Probe: 15315247/J-35616-4A (PU)

Terminal Part Information

  • Terminal/Tray: See Terminal Repair Kit
  • Core/Insulation Crimp: See Terminal Repair Kit
  • Release Tool/Test Probe: See Terminal Repair Kit

X202 I/P Harness to HVAC Harness

Pin

Wire

Circuit

Function

Pin

Wire

Circuit

Function

A

--

--

Not Used

A

--

--

Not Used

B

0.35 D-GN

734

Inside Air Temperature Sensor Signal (C68)

B

0.35 D-GN

734

Inside Air Temperature Sensor Signal (C68)

C

0.5 D-GN/WH

636

Ambient Air Temperature Sensor Signal

C

0.5 D-GN/WH

636

Ambient Air Temperature Sensor Signal

D

0.5 D-GN

5060

Low Speed GMLAN Serial Data

D

0.5 D-GN

5060

Low Speed GMLAN Serial Data

E

0.35 YE

1491

Backlight Lamps Control

E

0.35 YE

1491

Backlight Lamps Control

F

0.5 BN

41

Ignition 3 Voltage

F

0.5 BN

41

Ignition 3 Voltage

G

3 RD/WH

3040

Battery Positive Voltage

G

3 RD/WH

3040

Battery Positive Voltage

H

0.5 RD/WH

1840

Battery Positive Voltage

H

0.5 RD/WH

1840

Battery Positive Voltage

J

0.35 PK

2014

Heater Coolant Pump Relay Control (HP5)

J

0.35 PK

2014

Heater Coolant Pump Relay Control (HP5)

K

0.5 GY

5954

Inside Air Temperature Sensor Motor Control (C68)

K

0.5 GY

5954

Inside Air Temperature Sensor Motor Control (C68)

L

0.5 YE

61

Low Reference (C68)

L

0.5 YE

61

Low Reference (C68)

M

0.35 WH

193

Rear Defog Relay Control

M

0.35 WH

193

Rear Defog Relay Control

N

0.35 GY

1548

Passenger Sunload Sensor Signal (C68)

N

0.35 GY

1548

Passenger Sunload Sensor Signal (C68)

P

0.35 L-BU/BK

590

Driver Sunload Sensor Signal (C68)

P

0.35 L-BU/BK

590

Driver Sunload Sensor Signal (C68)

R

--

--

Not Used

R

--

--

Not Used

S

0.5 BK

350

Ground

S

0.5 BK

350

Ground

X204 I/P Harness to Body Harness


Object Number: 1538788  Size: CH

Object Number: 1715230  Size: CH

Connector Part Information

  • OEM: 15448129
  • Service: See Catalog
  • Description: 40-Way F GT 150, 280 Series (BK)

Connector Part Information

  • OEM: 15475869
  • Service: 88988307
  • Description: 40-Way M GT 150 280 Series (BK)

Terminal Part Information

  • Terminal/Tray: See Terminal Repair Kit
  • Core/Insulation Crimp: See Terminal Repair Kit
  • Release Tool/Test Probe: See Terminal Repair Kit

Terminal Part Information

  • Pins: A1-A2, A7-A8, B1-B12, C1-C12, D1-D2, D7-D8
  • Terminal/Tray: 15304702/19
  • Core/Insulation Crimp: Pins: A7-A8, D1-D2, D8 : 2/4
  • Core/Insulation Crimp: Pins: B5-B8, B11, C1, C5-C8, C10 : E/4
  • Core/Insulation Crimp: Pins: A1-A2, B1-B4, B9-B10, B12, C2-C4, C9, C11-C12, D7 : E/C
  • Release Tool/Test Probe: 15315247/J-35616-3 (GY)
  • Pins: A3, A5, D3-D6
  • Terminal/Tray: 15304722/8
  • Core/Insulation Crimp: E/C
  • Release Tool/Test Probe: 15315247/J-35616-5 (PU)
  • Pins: A4, A6
  • Terminal/Tray: 15304724/8
  • Core/Insulation Crimp: See Terminal Repair Kit
  • Release Tool/Test Probe: 15315247/J-35616-5 (PU)

X204 I/P Harness to Body Harness

Pin

Wire

Circuit

Function

Pin

Wire

Circuit

Function

A1

0.35 WH

7066

Entertainment Remote Enable Signal (U61)

A1

0.35 RD

7066

Entertainment Remote Enable Signal (U61)

A2

0.35 OG

6978

Audio Amplifier Enable (U61)

A2

0.35 OG

6978

Audio Amplifier Enable (U61)

A3

0.35 Bare

1792

Drain Wire (U61)

A3

0.35 Bare

1792

Drain Wire (U61)

A4

0.5 PK

1501

Driver Heated Seat High/Low Signal (C2B)

A4

0.5 PK

1501

Driver Heated Seat High/Low Signal (C2B)

0.5 PK

1501

Driver Heated Seat High/Low Signal (C2B)

A5

0.35 Bare

2099

Drain Wire (U61)

A5

0.35 Bare

2099

Drain Wire (U61)

A6

0.5 L-BU

1462

Heated Seat Switch Signal (C2B)

A6

0.5 L-BU

1462

Heated Seat Switch Signal (C2B)

0.5 L-BU

1462

Heated Seat Switch Signal (C2B)

A7

0.8 YE

1860

Front Center Speaker Output (+) (U61)

A7

0.8 YE

1860

Front Center Speaker Output (+) (U61)

A8

0.8 L-BU

1960

Front Center Speaker Output (-) (U61)

A8

0.8 L-BU

1960

Front Center Speaker Output (-) (U61)

B1

--

--

Not Used

B1

--

--

Not Used

B2

0.35 D-BU

5985

Accessory Wakeup Serial Data

B2

0.35 D-BU

5985

Accessory Wakeup Serial Data

B3

0.35 PK

5149

Voice Recognition Audio Signal (U3U)

B3

0.35 PK

5149

Voice Recognition Audio Signal (U3U)

B4

0.35 PK/BK

5152

Voice Recognition Audio Low Reference (U3U)

B4

0.35 PK/BK

5152

Voice Recognition Audio Low Reference (U3U)

B5

0.5 L-GN/WH

512

Right Front Low Level Audio Signal (+) (U61)

B5

0.5 L-GN/WH

512

Right Front Low Level Audio Signal (+) (U61)

B6

0.5 L-GN

1948

Right Front Low Level Audio Signal (-) (U61)

B6

0.5 L-GN

1948

Right Front Low Level Audio Signal (-) (U61)

B7

0.5 D-BU

546

Right Rear Low Level Audio Signal (+) (U61)

B7

0.5 D-BU

546

Right Rear Low Level Audio Signal (+) (U61)

B8

0.5 TN

1946

Right Rear Low Level Audio Signal (-) (U61)

B8

0.5 TN

1946

Right Rear Low Level Audio Signal (-) (U61)

B9-B12

--

--

Not Used

B9-B12

--

--

Not Used

C1-C2

--

--

Not Used

C1

--

--

Not Used

C3

0.35 D-BU

658

Cellular Telephone Voice Signal (UE1)

C3

0.35 D-BU

658

Cellular Telephone Voice Signal (UE1)

C4

0.35 L-BU/BK

659

Cellular Telephone Voice Low Reference (UE1)

C4

0.35 L-BU/BK

659

Cellular Telephone Voice Low Reference (UE1)

C5

0.5 TN

511

Left Front Low Level Audio Signal (+) (U61)

C5

0.5 TN

511

Left Front Low Level Audio Signal (+) (U61)

C6

0.5 D-GN

1947

Left Front Low Level Audio Signal (-) (U61)

C6

0.5 D-GN

1947

Left Front Low Level Audio Signal (-) (U61)

C7

0.5 BN/WH

599

Left Rear Low Level Audio Signal (+) (U61)

C7

0.5 BN/WH

599

Left Rear Low Level Audio Signal (+) (U61)

C8

0.5 BN

1999

Left Rear Low Level Audio Signal (-) (U61)

C8

0.5 BN

1999

Left Rear Low Level Audio Signal (-) (U61)

C9-C12

--

--

Not Used

C5

--

--

Not Used

D1

0.8 L-GN

200

Right Front Speaker Output (+) (UW6)

D1

0.8 L-GN

200

Right Front Speaker Output (+) (UW6)

D2

0.8 D-GN

117

Right Front Speaker Output (-) (UW6)

D2

0.8 D-GN

117

Right Front Speaker Output (-) (UW6)

D3

0.5 BARE

1782

Drain Wire

D3

0.5 BARE

1782

Drain Wire

D4

0.5 BARE

2011

Drain Wire (U61)

D4

0.5 BARE

2011

Drain Wire (U61)

D5

0.5 TN/BK

2500

High Speed GMLAN Serial Data Bus+

D5

0.5 TN/BK

2500

High Speed GMLAN Serial Data Bus+

D6

0.5 TN

2501

High Speed GMLAN Serial Data Bus-

D6

0.5 TN

2501

High Speed GMLAN Serial Data Bus-

D7

0.8 D-BU

46

Right Rear Speaker Output (+) (UW6)

D7

0.8 D-BU

46

Right Rear Speaker Output (+) (UW6)

D8

0.8 L-BU

115

Right Rear Speaker Output (-) (UW6)

D8

0.8 L-BU

115

Right Rear Speaker Output (-) (UW6)

X210 I/P Harness to Immobilizer Harness (LY7/LZ4)


Object Number: 1644506  Size: CH

Object Number: 2074860  Size: CH

Connector Part Information

  • OEM: 15480081
  • Service: 88988315
  • Description: 8-Way F Micro-Pack 64 (BK)

Connector Part Information

  • OEM: 7282-9022-30
  • Service: 89047353
  • Description: 8-Way M YESC Kaizen Series (BK)

Terminal Part Information

  • Terminal/Tray: 15359541/4
  • Core/Insulation Crimp: M/M
  • Release Tool/Test Probe: 15381651-2/J-35616-64B (L-BU)

Terminal Part Information

  • Terminal/Tray: See Terminal Repair Kit
  • Core/Insulation Crimp: See Terminal Repair Kit
  • Release Tool/Test Probe: See Terminal Repair Kit

X210 I/P Harness to Immobilizer Harness (LY7/LZ4)

Pin

Wire

Circuit

Function

Pin

Wire

Circuit

Function

A1

0.5 D-GN

5060

Low Speed GMLAN Serial Data

A1

0.5 D-GN

5060

Low Speed GMLAN Serial Data

A2

0.5 BK

350

Ground

A2

0.5 TN

350

Ground

A3

0.35 YE

43

Accessory Voltage

A3

0.35 YE

43

Accessory Voltage

A4

0.35 RD/WH

1740

Battery Positive Voltage

A4

0.35 RD/WH

1740

Battery Positive Voltage

A5

0.35 BK

350

Ground

A5

0.35 BK

350

Ground

A6

0.35 PU/WH

5905

Key Capture/Column Lock Shift Position Signal

A6

0.35 PU/WH

5905

Key Capture/Column Lock Shift Position Signal

A7

0.35 BK

350

Ground

A7

0.35 BK

350

Ground

A8

0.35 GY/BK

690

Courtesy Lamp Supply Voltage

A8

0.35 GY/BK

690

Courtesy Lamp Supply Voltage

X214 I/P Harness to Antenna Harness


Object Number: 1850604  Size: CH

Object Number: 1850607  Size: CH

Connector Part Information

  • OEM: GT13-1/1PP-HU
  • Service: 15306425
  • Description: 2-Way F GT 150 Series (BK)

Connector Part Information

  • OEM: 15332130
  • Service: 88986459
  • Description: 2-Way M GT 150 Series (BK)

Terminal Part Information

  • Terminal/Tray: See Terminal Repair Kit
  • Core/Insulation Crimp: See Terminal Repair Kit
  • Release Tool/Test Probe: See Terminal Repair Kit

Terminal Part Information

  • Terminal/Tray: See Terminal Repair Kit
  • Core/Insulation Crimp: See Terminal Repair Kit
  • Release Tool/Test Probe: See Terminal Repair Kit

X214 I/P Harness to Antenna Harness

Pin

Wire

Circuit

Function

Pin

Wire

Circuit

Function

1

0.35 RD

7066

Entertainment Remote Enable Signal

A

0.35 WH

7066

Entertainment Remote Enable Signal

0.35 RD

7066

Entertainment Remote Enable Signal (U61)

C

--

--

Coax

C

--

--

Coax

S

--

--

Not Used

S

--

--

Not Used

X250 Inflatable Restraint Steering Wheel Module Coil Jumper Harness to Body Harness (SIR)


Object Number: 1879122  Size: CH

Object Number: 2003895  Size: CH

Connector Part Information

  • OEM: 15422521
  • Service: 19178186
  • Description: 4-Way F 2.8 Apex, Sealed (YE)

Connector Part Information

  • OEM: 15336476
  • Service: 19178178
  • Description: 4-Way M 2.8 Apex, Sealed (YE)

Terminal Part Information

  • Terminal/Tray: See Terminal Repair Kit
  • Core/Insulation Crimp: See Terminal Repair Kit
  • Release Tool/Test Probe: See Terminal Repair Kit

Terminal Part Information

  • Terminal/Tray: See Terminal Repair Kit
  • Core/Insulation Crimp: See Terminal Repair Kit
  • Release Tool/Test Probe: See Terminal Repair Kit

X250 Inflatable Restraint Steering Wheel Module Coil Jumper Harness to Body Harness (SIR)

Pin

Wire

Circuit

Function

Pin

Wire

Circuit

Function

1

0.5 PK

3022

Steering Wheel Module - Stage 2 - Low Control

1

0.5 PK

3022

Steering Wheel Module - Stage 2 - Low Control

2

0.5 WH

3023

Steering Wheel Module - Stage 2 - High Control

2

0.5 WH

3023

Steering Wheel Module - Stage 2 - High Control

3

0.5 BN

3020

Steering Wheel Module - Stage 1 - Low Control

3

0.5 BN

3020

Steering Wheel Module - Stage 1 - Low Control

4

0.5 TN

3021

Steering Wheel Module - Stage 1- High Control

4

0.5 TN

3021

Steering Wheel Module - Stage 1 - High Control

X260 Inflatable Restraint I/P Module Jumper Harness to Body Harness (SIR)


Object Number: 1963315  Size: CH

Object Number: 1963316  Size: CH

Connector Part Information

  • OEM: 13579293
  • Service: See Catalog
  • Description: 4-Way F (YE)

Connector Part Information

  • OEM: 13592114
  • Service: 19178177
  • Description: 4-Way M (YE)

Terminal Part Information

  • Terminal/Tray: 1411560-2/25
  • Core/Insulation Crimp: E/C
  • Release Tool/Test Probe: 12094429/J-35616-64B (L-BU)

Terminal Part Information

  • Terminal/Tray: See Terminal Repair Kit
  • Core/Insulation Crimp: See Terminal Repair Kit
  • Release Tool/Test Probe: See Terminal Repair Kit

X260 Inflatable Restraint I/P Module Jumper Harness to Body Harness (SIR)

Pin

Wire

Circuit

Function

Pin

Wire

Circuit

Function

1

0.5 GY

3027

I/P Module - Stage 2 - High Control

1

0.5 GY

3027

I/P Module - Stage 2 - High Control

2

0.5 PU

3026

I/P Module - Stage 2 - Low Control

2

0.5 PU

3026

I/P Module - Stage 2 - Low Control

3

0.5 YE

3025

I/P Module - Stage 1 - High Control

3

0.5 YE

3025

I/P Module - Stage 1 - High Control

4

0.5 OG

3024

I/P Module - Stage 1 - Low Control

4

0.5 OG

3024

I/P Module - Stage 1 - Low Control

X262 Inflatable Restraint I/P Module Jumper Harness to Body Harness (SIR)


Object Number: 1879122  Size: CH

Object Number: 2003895  Size: CH

Connector Part Information

  • OEM: 15422521
  • Service: See Catalog
  • Description: 4-Way F 2.8 Apex, Sealed (YE)

Connector Part Information

  • OEM: 15336476
  • Service: 19178177
  • Description: 4-Way M 2.8 Apex, Sealed (YE)

Terminal Part Information

  • Terminal/Tray: See Terminal Repair Kit
  • Core/Insulation Crimp: See Terminal Repair Kit
  • Release Tool/Test Probe: See Terminal Repair Kit

Terminal Part Information

  • Terminal/Tray: See Terminal Repair Kit
  • Core/Insulation Crimp: See Terminal Repair Kit
  • Release Tool/Test Probe: See Terminal Repair Kit

X262 Inflatable Restraint I/P Module Jumper Harness to Body Harness (SIR)

Pin

Wire

Circuit

Function

Pin

Wire

Circuit

Function

1

0.5 YE

3025

I/P Module - Stage 1 - High Control

1

0.5 YE

3025

I/P Module - Stage 1 - High Control

2

0.5 OG

3024

I/P Module - Stage 1 - Low Control

2

0.5 OG

3024

I/P Module - Stage 1 - Low Control

3

0.5 GY

3027

I/P Module - Stage 2 - High Control

3

0.5 GY

3027

I/P Module - Stage 2 - High Control

4

0.5 PU

3026

I/P Module - Stage 2 - Low Control

4

0.5 PU

3026

I/P Module - Stage 2 - Low Control

X310 Console Harness to Body Harness (KA1)


Object Number: 1963314  Size: CH

Object Number: 823318  Size: CH

Connector Part Information

  • OEM: 15332169
  • Service: 88986447
  • Description: 14-Way F GT 150 Series (BK)

Connector Part Information

  • OEM: 15332174
  • Service: 88986449
  • Description: 14-Way M GT Mixed Series Sealed (BK)

Terminal Part Information

  • Terminal/Tray: 12191812/19
  • Core/Insulation Crimp: E/C
  • Release Tool/Test Probe: 15315247/J-35616-2A (GY)

Terminal Part Information

  • Pins: A-P
  • Terminal/Tray: 15304702/19
  • Core/Insulation Crimp: Pins: E-G : 2/4
  • Core/Insulation Crimp: Pins: A-D, H-P : E/C
  • Release Tool/Test Probe: 15315247/J-35616-3 (GY)

X310 Console Harness to Body Harness (KA1)

Pin

Wire

Circuit

Function

Pin

Wire

Circuit

Function

A

0.8 RD/WH

2740

Battery Positive Voltage

A

0.8 RD/WH

2740

Battery Positive Voltage

B

0.35 D-BU

6172

Driver Heated Seat Switch Back Cushion Signal (KA1)

B

0.35 D-BU

6172

Driver Heated Seat Switch Back Cushion Signal (KA1)

C

0.35 D-GN

1661

Driver Heated Seat High Temperature Indicator Control (KA1)

C

0.35 D-GN

1661

Driver Heated Seat High Temperature Indicator Control (KA1)

D

0.35 WH/BK

6177

Driver Heated Seat Medium Indicator Control (KA1)

D

0.35 WH/BK

6177

Driver Heated Seat Medium Indicator Control (KA1)

E

0.35 L-BU

1662

Driver Heated Seat Low Temperature Indicator Control (KA1)

E

0.35 L-BU

1662

Driver Heated Seat Low Temperature Indicator Control (KA1)

F

0.35 BN

41

Ignition 3 Voltage (KA1)

F

0.35 BN

41

Ignition 3 Voltage (KA1)

G

--

--

Not Used

G

--

--

Not Used

H

0.8 RD/WH

2640

Battery Positive Voltage

H

0.8 RD/WH

2640

Battery Positive Voltage

J

0.8 BK

450

Ground

J

0.8 BK

450

Ground

K

0.35 D-BU

6180

Passenger Heated Seat Switch Back Cushion Signal (KA1)

K

0.35 D-BU

6180

Passenger Heated Seat Switch Back Cushion Signal (KA1)

L

0.35 YE

1685

Passenger Heated Seat High Temperature Indicator Control (KA1)

L

0.35 YE

1685

Passenger Heated Seat High Temperature Indicator Control (KA1)

M

0.35 WH/BK

6185

Passenger Heated Seat Medium Indicator Control (KA1)

M

0.35 WH/BK

6185

Passenger Heated Seat Medium Indicator Control (KA1)

N

0.35 TN

1686

Passenger Heated Seat Low Temperature Indicator Control (KA1)

N

0.35 TN

1686

Passenger Heated Seat Low Temperature Indicator Control (KA1)

P

0.35 YE

1491

Backlight Lamps Control (KA1)

P

0.35 YE

1491

Backlight Lamps Control (KA1)

0.35 YE

1491

Backlight Lamps Control (KA1)

0.35 YE

1491

Backlight Lamps Control (KA1)

R

0.35 PU/WH

1382

LED Dimming Signal/LED Dimming Supply (KA1)

R

0.35 PU/WH

1382

LED Dimming Signal/LED Dimming Supply (KA1)

0.35 PU/WH

1382

LED Dimming Signal/LED Dimming Supply (KA1)

S

0.8 BK

450

Ground

S

0.8 BK

450

Ground

X350 Body Harness to Left Heated Seat Harness (AE8/KA1)


Object Number: 542307  Size: CH

Object Number: 655835  Size: CH

Connector Part Information

  • OEM: 15326925
  • Service: 19178181
  • Description: 8-Way F GT 280 Series (BK)

Connector Part Information

  • OEM: 15326928
  • Service: 15306176
  • Description: 8-Way M GT 280 Series (BK)

Terminal Part Information

  • Terminal/Tray: See Terminal Repair Kit
  • Core/Insulation Crimp: See Terminal Repair Kit
  • Release Tool/Test Probe: See Terminal Repair Kit

Terminal Part Information

  • Terminal/Tray: See Terminal Repair Kit
  • Core/Insulation Crimp: See Terminal Repair Kit
  • Release Tool/Test Probe: See Terminal Repair Kit

X350 Body Harness to Left Heated Seat Harness (AE8/KA1)

Pin

Wire

Circuit

Function

Pin

Wire

Circuit

Function

A

2 RD/WH

440

Battery Positive Voltage (AE8)

A

2 RD/WH

440

Battery Positive Voltage (AE8)

B

2 BK

450

Ground (AE8/KA1)

B

2 BK

450

Ground (AE8/KA1)

C

1.25 RD/WH

640

Battery Positive Voltage (KA1)

C

1 RD/WH

640

Battery Positive Voltage (KA1)

D

1.25 BN

41

Ignition 3 Voltage (KA1)

D

0.35 BN

41

Ignition 3 Voltage (KA1)

E

1.25 L-BU

1662

Driver Heated/Cool Seat Low Temperature Indicator Control (KA1)

E

0.35 L-BU

1662

Driver Heated/Cool Seat Low Temperature Indicator Control (KA1)

F

1.25 WH/BK

6177

Driver Heated/Cool Seat Medium Temperature Indicator Control (KA1)

F

0.35 WH/BK

6177

Driver Heated/Cool Seat Medium Temperature Indicator Control (KA1)

G

1.25 D-GN

1661

Driver Heated/Cool Seat High Temperature Indicator Control (KA1)

G

0.35 D-GN

1661

Driver Heated/Cool Seat High Temperature Indicator Control (KA1)

H

1.25 D-BU

6172

Driver Heated/Cool Seat Cushion and Back Heat (KA1)

H

0.35 D-BU

6172

Driver Heated/Cool Seat Cushion and Back Heat (KA1)

X351 Body Harness to Left Seat Belt Harness


Object Number: 1963315  Size: CH

Object Number: 1963316  Size: CH

Connector Part Information

  • OEM: 13579293
  • Service: 19178181
  • Description: 4-Way F (YE)

Connector Part Information

  • OEM: 13592114
  • Service: 15306176
  • Description: 4-Way M (YE)

Terminal Part Information

  • Terminal/Tray: See Terminal Repair Kit
  • Core/Insulation Crimp: See Terminal Repair Kit
  • Release Tool/Test Probe: See Terminal Repair Kit

Terminal Part Information

  • Terminal/Tray: See Terminal Repair Kit
  • Core/Insulation Crimp: See Terminal Repair Kit
  • Release Tool/Test Probe: See Terminal Repair Kit

X351 Body Harness to Left Seat Belt Harness

Pin

Wire

Circuit

Function

Pin

Wire

Circuit

Function

1

0.5 OG/BK

2119

Seat Belt Pretensioner - Left - Low Control

1

0.5 OG/BK

2119

Seat Belt Pretensioner - Left - Low Control

2

0.5 TN/WH

2118

Seat Belt Pretensioner - Left - High Control

2

0.5 BN/WH

2118

Seat Belt Pretensioner - Left - High Control

3

0.35 PK

5057

Seat Belt Switch - Low Reference

3

0.35 PK

5057

Seat Belt Switch - Low Reference

4

0.35 TN/WH

238

Seat Belt Switch - Left - Signal

4

0.35 BN/WH

238

Seat Belt Switch - Left - Signal

X352 Body Harness to Right Heated Seat Harness (KA1)


Object Number: 542307  Size: CH

Object Number: 655835  Size: CH

Connector Part Information

  • OEM: 15326925
  • Service: 19178181
  • Description: 8-Way F GT 280 Series (BK)

Connector Part Information

  • OEM: 15326928
  • Service: 15306176
  • Description: 8-Way M GT 280 Series (BK)

Terminal Part Information

  • Terminal/Tray: See Terminal Repair Kit
  • Core/Insulation Crimp: See Terminal Repair Kit
  • Release Tool/Test Probe: See Terminal Repair Kit

Terminal Part Information

  • Terminal/Tray: See Terminal Repair Kit
  • Core/Insulation Crimp: See Terminal Repair Kit
  • Release Tool/Test Probe: See Terminal Repair Kit

X352 Body Harness to Right Heated Seat Harness

Pin

Wire

Circuit

Function

Pin

Wire

Circuit

Function

A

--

--

Not Used

A

--

--

Not Used

B

2 BK

450

Ground

B

2 BK

450

Ground

C

1.25 RD/WH

640

Battery Positive Voltage

C

1 RD/WH

640

Battery Positive Voltage

D

1.25 BN

41

Ignition 3 Voltage

D

0.35 BN

41

Ignition 3 Voltage

E

1.25 L-BU

1686

Passenger Heated/Cool Seat Low Temperature Indicator Control

E

0.35 TN

1686

Passenger Heated/Cool Seat Low Temperature Indicator Control

F

1.25 WH/BK

6185

Passenger Heated/Cool Seat Medium Temperature Indicator Control

F

0.35 WH/BK

6185

Passenger Heated/Cool Seat Medium Temperature Indicator Control

G

1.25 D-GN

1685

Passenger Heated/Cool Seat High Temperature Indicator Control

G

0.35 YE

1685

Passenger Heated/Cool Seat High Temperature Indicator Control

H

1.25 D-BU

6180

Passenger Heated/Cool Seat Cushion and Back Heat

H

0.35 D-BU

6180

Passenger Heated/Cool Seat Cushion and Back Heat

X353 Body Harness to Right Seat Belt Harness


Object Number: 1963315  Size: CH

Object Number: 1963316  Size: CH

Connector Part Information

  • OEM: 13579293
  • Service: 19178181
  • Description: 4-Way F (YE)

Connector Part Information

  • OEM: 13592114
  • Service: 15306176
  • Description: 4-Way M (YE)

Terminal Part Information

  • Terminal/Tray: See Terminal Repair Kit
  • Core/Insulation Crimp: See Terminal Repair Kit
  • Release Tool/Test Probe: See Terminal Repair Kit

Terminal Part Information

  • Terminal/Tray: See Terminal Repair Kit
  • Core/Insulation Crimp: See Terminal Repair Kit
  • Release Tool/Test Probe: See Terminal Repair Kit

X353 Body Harness to Right Seat Belt Harness

Pin

Wire

Circuit

Function

Pin

Wire

Circuit

Function

1

0.5 OG

2117

Seat Belt Pretensioner - Right - Low Control

1

0.5 OG

2117

Seat Belt Pretensioner - Right - Low Control

2

0.5 L-GN

2116

Seat Belt Pretensioner - Right - High Control

2

0.5 D-GN

2116

Seat Belt Pretensioner - Right - High Control

3

0.35 PK

5057

Seat Belt Switch - Low Reference

3

0.35 PK

5057

Seat Belt Switch - Low Reference

4

0.35 OG

1362

Seat Belt Switch - Right - Signal

4

0.35 OG

1362

Seat Belt Switch - Right - Signal

X400 Headliner Harness to Body Harness


Object Number: 1993746  Size: CH

Object Number: 1993747  Size: CH

Graphic SIO does not exist


Connector Part Information

  • OEM: 13589898
  • Service: 19178209
  • Description: 20-Way F 090 III (WH)

Connector Part Information

  • OEM: 13591087
  • Service: 19178210
  • Description: 20-Way M 090 III (WH)

Terminal Part Information

  • Terminal/Tray: See Terminal Repair Kit
  • Core/Insulation Crimp: See Terminal Repair Kit
  • Release Tool/Test Probe: See Terminal Repair Kit

Terminal Part Information

  • Terminal/Tray: See Terminal Repair Kit
  • Core/Insulation Crimp: See Terminal Repair Kit
  • Release Tool/Test Probe: See Terminal Repair Kit

X400 Headliner Harness to Body Harness

Pin

Wire

Circuit

Function

Pin

Wire

Circuit

Function

1

0.35 L-GN/BK

2515

Keypad Supply Voltage (UE1)

1

0.35 L-GN/BK

2515

Keypad Supply Voltage (UE1)

2

0.35 PU

328

Interior Lamp Switch Voltage Supply Circuit

2

0.35 PU

328

Interior Lamp Switch Voltage Supply Circuit

3

0.35 D-GN/WH

2514

Keypad Signal (UE1)

3

0.35 D-GN/WH

2514

Keypad Signal (UE1)

4

2 BK

650

Ground

4

2 BK

650

Ground

5

0.35 BN

6132

Linear Interconnect Network Bus 1

5

0.35 BN

6132

Linear Interconnect Network Bus 1

6

0.35 BN

4

Accessory Voltage (CE1)

6

0.35 BN

4

Accessory Voltage (CE1)

7

0.35 L-GN

482

Outside Moisture Sensor Signal 2 (CE1)

7

0.35 L-GN

482

Outside Moisture Sensor Signal 2 (CE1)

8

0.8 BN/WH

230

I/P Lamps Dimming Control (CE1)

8

0.8 BN/WH

230

I/P Lamps Dimming Control (CE1)

9

0.35 YE

143

Accessory Voltage (CF5)

9

0.35 YE

143

Accessory Voltage (CF5)

10

0.5 BK

650

Ground

10

0.5 BK

650

Ground

11

0.35 BN/WH

2517

Keypad Red LED Signal (UE1)

11

0.35 BN/WH

2517

Keypad Red LED Signal (UE1)

12

0.35 YE/BK

2516

Keypad Green LED Signal (UE1)

12

0.35 YE/BK

2516

Keypad Green LED Signal (UE1)

13

0.5 RD/WH

1940

Battery Positive Voltage (CE1)

13

0.5 RD/WH

1940

Battery Positive Voltage (CE1)

14

0.35 PK

239

Ignition 1 Voltage

14

0.35 PK

239

Ignition 1 Voltage

14

0.35 PK

239

Ignition 1 Voltage (CE1/CF5)

15

0.5 OG

1732

Courtesy Lamps Supply Voltage

15

0.5 OG

1732

Courtesy Lamps Supply Voltage

16

0.5 GY/BK

690

Courtesy Lamp Supply Voltage

16

0.5 GY/BK

690

Courtesy Lamp Supply Voltage

17

0.35 TN

481

Outside Moisture Sensor Signal 1 (CE1)

17

0.35 TN

481

Outside Moisture Sensor Signal 1 (CE1)

18

0.5 BARE

1489

Drain Wire (UE1)

18

0.5 D-GN

1489

Drain Wire (UE1)

19

0.5 GY

655

Cellular Microphone Signal (UE1)

19

0.5 GY

655

Cellular Microphone Signal (UE1)

20

1 RD/WH

440

Battery Positive Voltage (CF5)

20

1 RD/WH

440

Battery Positive Voltage

X401 Headliner Harness to Body Harness (DD8)


Object Number: 439818  Size: CH

Object Number: 611495  Size: CH

Connector Part Information

  • OEM: 12047682
  • Service: 21019410
  • Description:1-Way F Metri-Pack 150 Series (BK)

Connector Part Information

  • OEM: 12047683
  • Service: 89046851
  • Description: 1-Way M Metri-Pack 150 Series (BK)

Terminal Part Information

  • Terminal/Tray: 12034046/2
  • Core/Insulation Crimp: E/A
  • Release Tool/Test Probe: 12094430/J-35616-4A (PU)

Terminal Part Information

  • Terminal/Tray: 12034047/2
  • Core/Insulation Crimp: E/A
  • Release Tool/Test Probe: 12094430/J-35616-5 (PU)

X401 Headliner Harness to Body Harness (DD8)

Pin

Wire

Circuit

Function

Pin

Wire

Circuit

Function

A

0.35L-GN

24

Backup Lamp Supply Voltage

A

0.35L-GN

24

Backup Lamp Supply Voltage

X402 Liftgate Harness to Body Harness


Object Number: 1830992  Size: CH

Object Number: 1830993  Size: CH

Connector Part Information

  • OEM: 13589328
  • Service: See Catalog
  • Description: 20-Way F 35896 Series (WH)

Connector Part Information

  • OEM: 13579299
  • Service: 19178201
  • Description: 20-Way M 35897 Series (WH)

Terminal Part Information

  • Pins: 2, 5
  • Terminal/Tray: 35421-6302/28
  • Core/Insulation Crimp: C/A
  • Release Tool/Test Probe: 12094429/J-35616-18 (BK)
  • Pins: 3-4
  • Terminal/Tray: 35421-6202/28
  • Core/Insulation Crimp: E/A
  • Release Tool/Test Probe: 12094429/J-35616-18 (BK)
  • Pins: 9-11, 13-14
  • Terminal/Tray: 50654-1001/28
  • Core/Insulation Crimp: J/J
  • Release Tool/Test Probe: 12094429/J-35616-16 (L-GN)

Terminal Part Information

  • Terminal/Tray: See Terminal Repair Kit
  • Core/Insulation Crimp: See Terminal Repair Kit
  • Release Tool/Test Probe: See Terminal Repair Kit

X402 Liftgate Harness to Body Harness

Pin

Wire

Circuit

Function

Pin

Wire

Circuit

Function

1

--

--

Not Used

1

--

--

Not Used

2

2 BK

650

Ground

2

2 BK

650

Ground

3

0.8 D-GN

392

Rear Window Washer Pump Control

3

0.8 D-GN

392

Rear Window Washer Pump Control

4

1 RD/WH

2240

Battery Positive Voltage

4

1 RD/WH

2240

Battery Positive Voltage

5

2 PU

293

Rear Defog Element Supply Voltage

5

2 PU

293

Rear Defog Element Supply Voltage

6-8

--

--

Not Used

6-8

--

--

Not Used

9

0.35 GY

391

Rear Window Wiper Switch Signal

9

0.35 GY

391

Rear Window Wiper Switch Signal

10

0.5 PU

709

Left Park Lamp Supply Voltage

10

0.5 PU

709

Left Park Lamp Supply Voltage

11

0.5 L-BU

6128

Rear Closure Unlatch Motor Unlatch Control

11

0.5 L-BU

6128

Rear Closure Unlatch Motor Unlatch Control

12

--

--

Not Used

12

--

--

Not Used

13

0.35 D-GN

6127

Liftgate Unlatch Switch Signal

13

0.35 D-GN

6127

Liftgate Unlatch Switch Signal

14

0.35 PK/BK

1303

Liftgate Ajar Switch Signal

14

0.35 PK/BK

1303

Liftgate Ajar Switch Signal

15-20

--

--

Not Used

15-20

--

--

Not Used

X404 Center High Mounted Stop Lamp (CHMSL) Jumper Harness to Body Harness


Object Number: 1283895  Size: CH

Object Number: 1409646  Size: CH

Connector Part Information

  • OEM: 15318080
  • Service: 21019410
  • Description: 2-Way F Metri-Pack 280 Series (BK)

Connector Part Information

  • OEM: 12147517
  • Service: 89046851
  • Description: 2-Way M Metri-Pack 280 Series (BK)

Terminal Part Information

  • Terminal/Tray: 12034046/2
  • Core/Insulation Crimp: E/A
  • Release Tool/Test Probe: 12094430/J-35616-4A (PU)

Terminal Part Information

  • Terminal/Tray: 12034047/2
  • Core/Insulation Crimp: E/A
  • Release Tool/Test Probe: 12094430/J-35616-5 (PU)

X404 Center High Mounted Stop Lamp (CHMSL) Jumper Harness to Body Harness

Pin

Wire

Circuit

Function

Pin

Wire

Circuit

Function

1

0.5 L-BU

5065

Stop Lamp Relay Coil Supply Voltage

1

0.5 L-BU

5065

Stop Lamp Relay Coil Supply Voltage

2

0.5 BK

550

Ground

2

0.5 BK

550

Ground

X406 Fuel Sender Harness to Body Harness


Object Number: 831375  Size: CH

Object Number: 1394019  Size: CH

Connector Part Information

  • OEM: 15326939
  • Service: 88988440
  • Description: 12-Way F GT 150 280 Series, Sealed (BK)

Connector Part Information

  • OEM: 15336034
  • Service: 19168032
  • Description: 12-Way M GT 150/280 Series, Sealed (BK)

Terminal Part Information

  • Pins: B-E, H-L
  • Terminal/Tray: 12191819/8
  • Core/Insulation Crimp: E/A
  • Release Tool/Test Probe: 15315247/J-35616-2A (GY)
  • Pins: F, M
  • Terminal/Tray: 15304720/19
  • Core/Insulation Crimp: 4/5
  • Release Tool/Test Probe: 15315247/J-35616-4A (PU)

Terminal Part Information

  • Terminal/Tray: See Terminal Repair Kit
  • Core/Insulation Crimp: See Terminal Repair Kit
  • Release Tool/Test Probe: See Terminal Repair Kit

X406 Fuel Sender Harness to Body Harness

Pin

Wire

Circuit

Function

Pin

Wire

Circuit

Function

A

0.5 D-GN

954

5 Volt Reference (HP5)

A

0.5 D-GN

954

5 Volt Reference (HP5)

B

0.5 BN/WH

6283

Fuel Tank Vapor Pressure Sensor Supply Voltage

B

0.5 BN/WH

6283

Fuel Tank Vapor Pressure Sensor Supply Voltage

C

0.5 D-GN

890

Fuel Tank Pressure Sensor Signal

C

0.5 D-GN

890

Fuel Tank Pressure Sensor Signal

D

0.5 BN/WH

6281

Fuel Level Sensor Low Reference

D

0.5 BN/WH

6281

Fuel Level Sensor Low Reference

E

0.5 D-BU

1936

Fuel Level Sensor Signal - Primary

E

0.5 D-BU

1936

Fuel Level Sensor Signal - Primary

F

2 PK

1580

Fuel Pump Motor Low Reference

F

2 PK

1580

Fuel Pump Motor Low Reference

G

--

--

Not Used

G

--

--

Not Used

H

0.5 WH

1310

EVAP Canister Vent Solenoid Control (HP5)

H

0.5 WH

1310

EVAP Canister Vent Solenoid Control (HP5)

J

0.5 WH

701

Drain Wire

J

0.5 BK

701

Drain Wire

K

0.5 RD/WH

2140

Battery Positive Voltage

K

0.5 RD/WH

2140

Battery Positive Voltage

L

0.5 L-BU

1937

Fuel Level Sensor Signal - Secondary

L

0.5 L-BU

1937

Fuel Level Sensor Signal - Secondary

M

2 GY

120

Fuel Pump Supply Voltage

M

2 GY

120

Fuel Pump Supply Voltage

X407 Body Harness to Generator Battery Assembly Harness (HP7)


Object Number: 62439  Size: CH

Object Number: 62434  Size: CH

Connector Part Information

  • OEM: 12047886
  • Service: 12101822
  • Description: 8-Way F Metri-Pack 150 Series (BK)

Connector Part Information

  • OEM: 12045688
  • Service: 12101827
  • Description: 8-Way M Metri-Pack 150 Series (BK)

Terminal Part Information

  • Pins: A-E
  • Terminal/Tray: 12064971/5
  • Core/Insulation Crimp: E/C
  • Release Tool/Test Probe: 12094429/J-35616-14 (GN)
  • Pins: F-G
  • Terminal/Tray: 12047767/2
  • Core/Insulation Crimp: E/A
  • Release Tool/Test Probe: 12094429/J-35616-14 (GN)

Terminal Part Information

  • Pins: A-C, F-H
  • Terminal/Tray: 12047581/2
  • Core/Insulation Crimp: Pins: A-B, G : E/C
  • Core/Insulation Crimp: Pins: C, F, H : E/A
  • Release Tool/Test Probe: 12094429/J-35616-3 (GY)

X407 Body Harness to Generator Battery Assembly Harness (HP7)

Pin

Wire

Circuit

Function

Pin

Wire

Circuit

Function

A

0.8 RD/WH

2140

Link Voltage

A

0.8 RD

2140

Link Voltage

B

0.35 L-BU

5986

Serial Data Communication Enable

B

0.35 PU

5986

Serial Data Communication Enable

C

0.35 BK

650

Ground

C

0.35 GN/WH

650

Ground

D

0.35 BK

650

Ground

D

0.35 GN

650

Ground

E

0.35 TN/BK

2500

High Speed GMLAN Serial Data Bus +

E

0.35 BL

2500

High Speed GMLAN Serial Data Bus +

F

0.35 TN

2501

High Speed GMLAN Serial Data Bus -

F

0.35 BL/WH

2501

High Speed GMLAN Serial Data Bus -

G

0.35 TN/BK

2500

High Speed GMLAN Serial Data Bus +

G

0.35 GY

2500

High Speed GMLAN Serial Data Bus

H

0.35 TN

2501

High Speed GMLAN Serial Data Bus -

H

0.35 GY/WH

2501

High Speed GMLAN Serial Data Bus -

X408 Rear Chassis Harness to Body Harness


Object Number: 1963318  Size: CH

Object Number: 823302  Size: CH

Connector Part Information

  • OEM: 15416081
  • Service: 19178167
  • Description: 10-Way F 1.5 Sealed (BK)

Connector Part Information

  • OEM: 10890594
  • Service: 88952440
  • Description: 10-Way M 1.5, Sealed (BK)

Terminal Part Information

  • Terminal/Tray: 7116-4102-08/9
  • Core/Insulation Crimp: E/1
  • Release Tool/Test Probe: 12094430/J-35616-2A (GY)

Terminal Part Information

  • Terminal/Tray: See Terminal Repair Kit
  • Core/Insulation Crimp: See Terminal Repair Kit
  • Release Tool/Test Probe: See Terminal Repair Kit

X408 Rear Chassis Harness to Body Harness

Pin

Wire

Circuit

Function

Pin

Wire

Circuit

Function

1

0.5 BK

550

Ground (LE5/LY7/LZ4)

1

0.8 BK

550

Ground (LE5/LY7/LZ4)

2

0.5 L-BU

5986

Serial Data Communication Enable (LE5/LY7/LZ4)

2

0.35 L-BU

5986

Serial Data Communication Enable (LE5/LY7/LZ4)

3

0.5 GY/BK

7127

Wheel Speed Sensor Supply Voltage Left Rear

3

0.5 GY/BK

7127

Wheel Speed Sensor Supply Voltage Left Rear

4

0.5 TN

884

Left Rear Wheel Speed Sensor Signal

4

0.5 TN

884

Left Rear Wheel Speed Sensor Signal

5

--

--

Not Used

5

--

--

Not Used

6

0.5 TN/BK

2500

High Speed GMLAN Serial Data Bus+

6

0.5 TN/BK

2500

High Speed GMLAN Serial Data Bus+

7

0.5 TN

2501

High Speed GMLAN Serial Data Bus-

7

0.5 TN

2501

High Speed GMLAN Serial Data Bus-

8

0.5 GY/BK

7128

Wheel Speed Sensor Supply Voltage Right Rear

8

0.5 GY/BK

7128

Wheel Speed Sensor Supply Voltage Right Rear

9

0.5 BN

882

Right Rear Wheel Speed Sensor Signal

9

0.5 BN

882

Right Rear Wheel Speed Sensor Signal

10

0.5 RD/WH

2140

Battery Positive Voltage (LE5/LY7/LZ4)

10

0.8 RD/WH

2140

Battery Positive Voltage (LE5/LY7/LZ4)

X409 Rear Marker Lamp Harness to Body Harness


Object Number: 1963319  Size: CH

Object Number: 806431  Size: CH

Connector Part Information

  • OEM: 15487756
  • Service: See Catalog
  • Description: 4-Way F GT 150 Series, Sealed (BK)

Connector Part Information

  • OEM: 15326820
  • Service: 15326820
  • Description: 4-Way M GT 150 Series, Sealed (BK)

Terminal Part Information

  • Terminal/Tray: 12191819/8
  • Core/Insulation Crimp: E/A
  • Release Tool/Test Probe: 15315247/J-35616-2A (GY)

Terminal Part Information

  • Terminal/Tray: 15326269/19
  • Core/Insulation Crimp: E/4
  • Release Tool/Test Probe: 15315247/J-35616-3 (GY)

X409 Rear Marker Lamp Harness to Body Harness

Pin

Wire

Circuit

Function

Pin

Wire

Circuit

Function

A

0.5 BK

550

Ground

A

0.5 BK

550

Ground

B

0.5 BN/WH

309

Right Park Lamp Supply Voltage

B

0.5 BN/WH

309

Right Park Lamp Supply Voltage

C

0.5 BK

550

Ground

C

0.5 BK

550

Ground

D

0.5 PU

709

Left Park Lamp Supply Voltage

D

0.5 PU

709

Left Park Lamp Supply Voltage

X410 Rear Tail Lamp Assembly Harness to Body Harness - Right


Object Number: 62439  Size: CH

Object Number: 62434  Size: CH

Connector Part Information

  • OEM: 12047886
  • Service: 12101822
  • Description: 8-Way F Metri-Pack 150 Series (BK)

Connector Part Information

  • OEM: 12045688
  • Service: 12101827
  • Description: 8-Way M Metri-Pack 150 Series (BK)

Terminal Part Information

  • Pins: A-C, F-H
  • Terminal/Tray: 12047767/2
  • Core/Insulation Crimp: Pins: A-B, G : E/C
  • Core/Insulation Crimp: Pins: C, F, H : E/A
  • Release Tool/Test Probe: 12094429/J-35616-14 (GN)

Terminal Part Information

  • Pins: A-C, F-H
  • Terminal/Tray: 12047581/2
  • Core/Insulation Crimp: Pins: A-B, G : E/C
  • Core/Insulation Crimp: Pins: C, F, H : E/A
  • Release Tool/Test Probe: 12094429/J-35616-3 (GY)

X410 Rear Tail Lamp Assembly Harness to Body Harness - Right

Pin

Wire

Circuit

Function

Pin

Wire

Circuit

Function

A

0.5 WH

24

Backup Lamp Supply Voltage

A

0.5 L-GN

24

Backup Lamp Supply Voltage

B

0.5 BK/WH

550

Ground

B

0.5 BK

550

Ground

C

0.8 BK

550

Ground

C

0.8 BK

550

Ground

D-E

--

--

Not Used

D-E

--

--

Not Used

F

0.8 RD

20

Stop Lamp Supply Voltage

F

0.8 L-BU

20

Stop Lamp Supply Voltage

G

0.5 D-BU

309

Right Park Lamp Supply Voltage

G

0.5 BN/WH

309

Right Park Lamp Supply Voltage

H

0.8 YE

19

Right Rear Stop/Turn Lamp Supply Voltage

H

0.8 D-GN

19

Right Rear Stop/Turn Lamp Supply Voltage

X411 Rear Tail Lamp Assembly Harness to Body Harness - Left


Object Number: 62439  Size: CH

Object Number: 62434  Size: CH

Connector Part Information

  • OEM: 12047886
  • Service: 12101822
  • Description: 8-Way F Metri-Pack 150 Series (BK)

Connector Part Information

  • OEM: 12045688
  • Service: 12101827
  • Description: 8-Way M Metri-Pack 150 Series (BK)

Terminal Part Information

  • Pins: A-C, F-H
  • Terminal/Tray: 12047767/2
  • Core/Insulation Crimp: Pins: A-B, G : E/C
  • Core/Insulation Crimp: Pins: C, F, H : E/A
  • Release Tool/Test Probe: 12094429/J-35616-14 (GN)

Terminal Part Information

  • Pins: A-C, F-H
  • Terminal/Tray: 12047581/2
  • Core/Insulation Crimp: Pins: A-B, G : E/C
  • Core/Insulation Crimp: Pins: C, F, H : E/A
  • Release Tool/Test Probe: 12094429/J-35616-3 (GY)

X411 Rear Tail Lamp Assembly Harness to Body Harness - Left

Pin

Wire

Circuit

Function

Pin

Wire

Circuit

Function

A

0.5 WH

24

Backup Lamp Supply Voltage

A

0.5 L-GN

24

Backup Lamp Supply Voltage

B

0.5 BK/WH

650

Ground

B

0.5 BK

650

Ground

C

0.8 BK

650

Ground

C

0.8 BK

650

Ground

D-E

--

--

Not Used

D-E

--

--

Not Used

F

0.8 RD

20

Stop Lamp Supply Voltage

F

0.8 L-BU

20

Stop Lamp Supply Voltage

G

0.5 D-BU

709

Left Park Lamp Supply Voltage

G

0.5 PU

709

Left Park Lamp Supply Voltage

H

0.5 YE

18

Left Rear Stop/Turn Lamp Supply Voltage

H

0.5 YE

18

Left Rear Stop/Turn Lamp Supply Voltage

X414 Headliner Harness to Sunroof Module Harness (CF5)


Object Number: 62439  Size: CH

Object Number: 62434  Size: CH

Connector Part Information

  • OEM: 12047886
  • Service: 12101822
  • Description: 8-Way F Metri-Pack 150 Series (BK)

Connector Part Information

  • OEM: 12045688
  • Service: 12101827
  • Description: 8-Way M Metri-Pack 150 Series (BK)

Terminal Part Information

  • Pins: A-E
  • Terminal/Tray: 12064971/5
  • Core/Insulation Crimp: E/C
  • Release Tool/Test Probe: 12094429/J-35616-14 (GN)
  • Pins: F-G
  • Terminal/Tray: 12047767/2
  • Core/Insulation Crimp: E/A
  • Release Tool/Test Probe: 12094429/J-35616-14 (GN)

Terminal Part Information

  • Pins: A-C, F-H
  • Terminal/Tray: 12047581/2
  • Core/Insulation Crimp: Pins: A-B, G : E/C
  • Core/Insulation Crimp: Pins: C, F, H : E/A
  • Release Tool/Test Probe: 12094429/J-35616-3 (GY)

X414 Headliner Harness to Sunroof Module Harness (CF5)

Pin

Wire

Circuit

Function

Pin

Wire

Circuit

Function

A

0.35 BN

100

Sunroof Switch Open Signal

A

0.35 BN

100

Sunroof Switch Open Signal

B

0.35 D-GN

2074

Sunroof Switch Express Signal

B

0.35 D-GN

2074

Sunroof Switch Express Signal

C

0.35 OG/BK

144

Sunroof Switch Open Vent Signal

C

0.35 OG/BK

144

Sunroof Switch Open Vent Signal

D

0.35 D-BU

128

Sunroof Switch Low Reference

D

0.35 D-BU

128

Sunroof Switch Low Reference

E

0.35 YE

143

Accessory Voltage

E

0.35 YE

143

Accessory Voltage

F

1 BK

650

Ground

F

1 BK

650

Ground

G

1 RD/WH

440

Battery Positive Voltage

G

1 RD/WH

440

Battery Positive Voltage

H

--

--

Not Used

H

--

--

Not Used

X430 Trailer Jumper Harness to Body Harness (V92)


Object Number: 831380  Size: CH

Object Number: 1464340  Size: CH

Connector Part Information

  • OEM: 15332141
  • Service: 88986249
  • Description: 6-Way F GT 150 Series, Sealed (BK)

Connector Part Information

  • OEM: 15332142
  • Service: 89046638
  • Description: 6-Way M GT 150/280 Series, Sealed (BK)

Terminal Part Information

  • Pins: A-E
  • Terminal/Tray: 12191812/19
  • Core/Insulation Crimp: Pins: A, C-D: E/C
  • Core/Insulation Crimp: Pins: B, E : C/A
  • Release Tool/Test Probe: 15315247/J-35616-2A (GY)

Terminal Part Information

  • Pins: A-E
  • Terminal/Tray: 15304702/19
  • Core/Insulation Crimp: Pins: A : E/4
  • Core/Insulation Crimp: Pins: B, E : 2/4
  • Core/Insulation Crimp: Pins: C-D : E/C
  • Release Tool/Test Probe: 15315247/J-35616-3 (GY)

X430 Trailer Jumper Harness to Body Harness (V92)

Pin

Wire

Circuit

Function

Pin

Wire

Circuit

Function

A

0.5 BN

5184

Left Trailer Park Lamp

A

0.5 BN

5184

Left Trailer Park Lamp

B

0.8 RD/WH

3140

Battery Positive Voltage

B

0.8 RD/WH

3140

Battery Positive Voltage

C

0.35 YE

5187

Right Trailer Turn Signal Lamp

C

0.35 YE

5187

Right Trailer Turn Signal Lamp

D

0.35 OG

5186

Left Trailer Turn Signal Lamp

D

0.35 OG

5186

Left Trailer Turn Signal Lamp

E

0.8 BK

550

Ground

E

0.8 BK

550

Ground

F

--

--

Not Used

F

--

--

Not Used

X450 Body Harness to Drive Motor Generator Battery Control Harness (HP5)


Object Number: 655811  Size: CH

Object Number: 655813  Size: CH

Connector Part Information

  • OEM: 15326084
  • Service: 12101822
  • Description: 16-Way 150 280 Series Sealed 4.0.5.8 (BK)

Connector Part Information

  • OEM: 15326085
  • Service: 12101827
  • Description: 16-Way 150 280 Series Sealed 4.0.5.8 (BK)

Terminal Part Information

  • Pins: A-E
  • Terminal/Tray: 15304718
  • Core/Insulation Crimp: E/C
  • Release Tool/Test Probe: 12094429/J-35616-14 (GN)
  • Pins: F-S
  • Terminal/Tray: 12191818
  • Core/Insulation Crimp: E/A
  • Release Tool/Test Probe: 12094429/J-35616-14 (GN)

Terminal Part Information

  • Pins: A-E
  • Terminal/Tray: 15304730
  • Core/Insulation Crimp: E/C
  • Release Tool/Test Probe: 12094429/J-35616-14 (GN)
  • Pins: F-S
  • Terminal/Tray: 15304706
  • Core/Insulation Crimp: E/A
  • Release Tool/Test Probe: 12094429/J-35616-14 (GN)

X450 Body Harness to Drive Motor Generator Battery Control Harness (HP5)

Pin

Wire

Circuit

Function

Pin

Wire

Circuit

Function

A

0.5 RD/WH

5340

Battery Positive Voltage

A

0.8 RD

101

Battery Positive Voltage

B

0.35 L-BU

5986

Serial Data Communication Enable

B

0.8 YE

118

Serial Data Communication Enable

C

--

--

Not Used

C

0.35 WH

123

Service CAN Low

D

0.5 PU

5087

High Voltage Interlock Loop Signal

D

0.8 WH/GN

115

High Voltage Interlock Loop Signal

E

0.35 TN

2501

High Speed GMLAN Serial Data Bus -

E

0.35 WH

125

High Speed GMLAN Serial Data Bus -

F

0.35 TN

2501

High Speed GMLAN Serial Data Bus -

F

0.35 WH

109

High Speed GMLAN Serial Data Bus -

G

--

--

Not Used

G

--

--

Not Used

H

1 RD/WH

4640

Battery Positive Voltage

H

0.8 BU

167

BP Fan and Pump Power

J

1 BK

550

Ground

J

0.8 BK

148

Ground

K

0.5 PK

988

Contactor Control Signal

K

0.8 GY

144

HV Battery Pack Contactor Control Signal

L

0.35 TN/BK

2500

High Speed GMLAN Serial Data Bus +

L

0.35 RD

124

High Speed GMLAN Serial Data Bus +

M

0.35 TN/BK

2500

High Speed GMLAN Serial Data Bus +

M

0.35 YE

108

High Speed GMLAN Serial Data Bus +

N

0.5 OG

5595

High Voltage Interlock Loop Signal (2)

N

0.8 PU

202

High Voltage Interlock Loop Signal (2)

P

--

--

Not Used

P

0.35 BK

107

Service CAN High

R

0.5 TN

3425

Hybrid Accessory Input

R

0.8 WH/YE

119

Hybrid Accessory Input

S

1 BK

550

Ground

S

0.8 WH/BK

147

Ground

X452 Body Harness to 110Volt Jumper Harness (V92)


Object Number: 82383  Size: CH

Object Number: 35441  Size: CH

Connector Part Information

  • OEM: 12047662
  • Service: See Catalog
  • Description: 2-Way F Metri Pack 150 Series (BK)

Connector Part Information

  • OEM: 12089868
  • Service: See Catalog
  • Description: 2-Way M Metri Pack 150 Series (BK)

Terminal Part Information

  • Pins: A-B,
  • Terminal/Tray: 7114-4103-08/9
  • Core/Insulation Crimp: E/1
  • Release Tool/Test Probe: 12094430/J-35616-3 (GY)

Terminal Part Information

  • Pins: A-B,
  • Terminal/Tray: 7114-4103-08/9
  • Core/Insulation Crimp: E/1
  • Release Tool/Test Probe: 12094430/J-35616-3 (GY)

X452 Body Harness to 110Volt Jumper Harness (V92)

Pin

Wire

Circuit

Function

Pin

Wire

Circuit

Function

A

0.5 YE

143

110V Outlet Enable Signal

A

0.5 YE

143

110V Outlet Enable Signal

B

--

--

Not Used

B

--

--

Not Used

X456 Drive Motor Generator Battery Control Harness to Drive Motor Generator Battery Cooling System (HP5)


Object Number: 476149  Size: CH

Object Number: 813080  Size: CH

Connector Part Information

  • OEM: 15326110
  • Service: See Catalog
  • Description: 12-Way F Micro-Pack HVT Series (WH)

Connector Part Information

  • OEM: 15336242
  • Service: See Catalog
  • Description: 12-Way F Micro-Pack HVT Series (BK)

Terminal Part Information

  • Terminal/Tray: 15445905/23
  • Core/Insulation Crimp: J/J
  • Release Tool/Test Probe: 12180559/J-35616-16 (L-GN)

Terminal Part Information

  • Terminal/Tray: 15445905/23
  • Core/Insulation Crimp: J/J
  • Release Tool/Test Probe: 12180559/J-35616-16 (L-GN)

X456 Drive Motor Generator Battery Control Harness to Drive Motor Generator Battery Cooling System (HP5)

Pin

Wire

Circuit

Function

Pin

Wire

Circuit

Function

A

0.35 RD

160

Drive Motor Generator Battery Coolant Fan 12 Volt Supply

A

0.35 RD

160

Drive Motor Generator Battery Coolant Fan 12 Volt Supply

B

--

--

Not Used

B

--

--

Not Used

C

0.35 BN/WH

154

Drive Motor Generator Battery Coolant Fan Speed Signal

C

0.35 BN/WH

154

Drive Motor Generator Battery Coolant Fan Speed Signal

D

0.35 WH

102

Drive Motor Generator Battery Air Inlet Temperature Sensor Signal

D

0.35 WH

102

Drive Motor Generator Battery Air Inlet Temperature Sensor Signal

E

0.35 D-BU

185

Drive Motor Generator Battery Air Inlet Temperature Sensor Ground

E

0.35 D-BU

185

Drive Motor Generator Battery Air Inlet Temperature Sensor Ground

F

0.35 BN

148

Drive Motor Generator Battery Coolant Fan Ground

F

0.35 BN

148

Drive Motor Generator Battery Coolant Fan Ground

G

0.35 GY

133

Drive Motor Generator Battery Coolant Pump Ground

G

0.35 GY

133

Drive Motor Generator Battery Coolant Pump Ground

H

--

--

Not Used

H

--

--

Not Used

J

0.35 WH

166

Drive Motor Generator Battery Coolant Temperature Sensor Ground

J

0.35 WH

166

Drive Motor Generator Battery Coolant Temperature Sensor Ground

K

0.35 GY

103

Drive Motor Generator Battery Coolant Temperature Sensor Low Reference

K

0.35 GY

103

Drive Motor Generator Battery Coolant Temperature Sensor Low Reference

L

0.35 WH

143

Drive Motor Generator Battery Coolant Temperature Sensor Signal

L

0.35 WH

143

Drive Motor Generator Battery Coolant Temperature Sensor Signal

M

0.35 RD/WH

157

Drive Motor Generator Battery Coolant Pump 12 Volt Supply

M

0.35 RD/WH

157

Drive Motor Generator Battery Coolant Pump 12 Volt Supply

X460 Drive Motor Generator Battery Control Harness to Battery Temperature Sensor 1 Harness (HP5)


Object Number: 1911012  Size: CH

Object Number: 1243485  Size: CH

Connector Part Information

  • OEM: 794188-1
  • Service: See Catalog
  • Description: 4-Way F Micro-Pack 150 Series (WH)

Connector Part Information

  • OEM: 794189-1
  • Service: See Catalog
  • Description: 2-Way M Metri Pack 150 Series (WH)

Terminal Part Information

  • Terminal/Tray: 15445905/23
  • Core/Insulation Crimp: J/J
  • Release Tool/Test Probe: 12180559/J-35616-16 (L-GN)

Terminal Part Information

  • Pins: A-B,
  • Terminal/Tray: 7114-4103-08/9
  • Core/Insulation Crimp: E/1
  • Release Tool/Test Probe: 12094430/J-35616-3 (GY)

X460 Drive Motor Generator Battery Control Harness to Battery Temperature Sensor 1 Harness (HP5)

Pin

Wire

Circuit

Function

Pin

Wire

Circuit

Function

1

0.35 OG

142

Battery Temperature Sensor 3 Low Reference

1

0.35 OG

142

Battery Temperature Sensor 3 Low Reference

2

0.35 WH

140

Battery Temperature Sensor 3 Supply

2

0.35 WH

140

Battery Temperature Sensor 3 Supply

3

0.35 BK

145

Battery Temperature Sensor 4 Low Reference

3

0.35 BK

145

Battery Temperature Sensor 4 Low Reference

4

0.35 WH

122

Battery Temperature Sensor 4 Supply

4

0.35 WH

122

Battery Temperature Sensor 4 Supply

X461 Drive Motor Generator Battery Control Harness to Battery Temperature Sensor 2 Harness (HP5)


Object Number: 1911012  Size: CH

Object Number: 1243485  Size: CH

Connector Part Information

  • OEM: 794188-1
  • Service: See Catalog
  • Description: 4-Way F Micro-Pack 150 Series (WH)

Connector Part Information

  • OEM: 794189-1
  • Service: See Catalog
  • Description: 2-Way M Metri Pack 150 Series (WH)

Terminal Part Information

  • Terminal/Tray: 15445905/23
  • Core/Insulation Crimp: J/J
  • Release Tool/Test Probe: 12180559/J-35616-16 (L-GN)

Terminal Part Information

  • Pins: A-B,
  • Terminal/Tray: 7114-4103-08/9
  • Core/Insulation Crimp: E/1
  • Release Tool/Test Probe: 12094430/J-35616-3 (GY)

X461 Drive Motor Generator Battery Control Harness to Battery Temperature Sensor 2 Harness (HP5)

Pin

Wire

Circuit

Function

Pin

Wire

Circuit

Function

1

0.35 BK

148

Battery Temperature Sensor 1 Low Reference

1

0.35 BK

148

Battery Temperature Sensor 1 Low Reference

2

0.35 WH

141

Battery Temperature Sensor 1 Supply

2

0.35 WH

141

Battery Temperature Sensor 1 Supply

3

0.35 GN

170

Battery Temperature Sensor 2 Low Reference

3

0.35 GN

170

Battery Temperature Sensor 2 Low Reference

4

0.35 WH

106

Battery Temperature Sensor 2 Supply

4

0.35 WH

106

Battery Temperature Sensor 2 Supply

X463 Drive Motor Generator Battery Control Harness to Battery Voltage Sensor Harness (HP5)


Object Number: 1283899  Size: CH

Object Number: 1283908  Size: CH

Connector Part Information

  • OEM: 794198-1
  • Service: See Catalog
  • Description: 12-Way F Micro-Pack HVT Series (WH)

Connector Part Information

  • OEM: 794199-1
  • Service: See Catalog
  • Description: 12-Way M Micro-Pack HVT Series (WH)

Terminal Part Information

  • Terminal/Tray: 15445905/23
  • Core/Insulation Crimp: J/J
  • Release Tool/Test Probe: 12180559/J-35616-16 (L-GN)

Terminal Part Information

  • Terminal/Tray: 15445905/23
  • Core/Insulation Crimp: J/J
  • Release Tool/Test Probe: 12180559/J-35616-16 (L-GN)

X463 Drive Motor Generator Battery Control Harness to Battery Voltage Sensor Harness (HP5)

Pin

Wire

Circuit

Function

Pin

Wire

Circuit

Function

1

0.35 WH

222

Module Voltage 12 Negative

1

0.35 WH

222

Module Voltage 12 Negative

2

0.35 WH

251

Module Voltage 13 Positive

2

0.35 WH

251

Module Voltage 13 Positive

3

0.35 WH

252

Module Voltage 15 Positive

3

0.35 WH

252

Module Voltage 15 Positive

4

0.35 WH

253

Module Voltage 17 Positive

4

0.35 WH

253

Module Voltage 17 Positive

5

0.35 WH

254

Module Voltage 19 Positive

5

0.35 WH

254

Module Voltage 19 Positive

6

0.35 WH

255

Module Voltage 21 Positive

6

0.35 WH

255

Module Voltage 21 Positive

7

0.35 WH

236

Module Voltage 12 Positive

7

0.35 WH

236

Module Voltage 12 Positive

8

0.35 WH

237

Module Voltage 14 Positive

8

0.35 WH

237

Module Voltage 14 Positive

9

0.35 WH

238

Module Voltage 16 Positive

9

0.35 WH

238

Module Voltage 16 Positive

10

0.35 WH

239

Module Voltage 18 Positive

10

0.35 WH

239

Module Voltage 18 Positive

11

0.35 WH

240

Module Voltage 20 Positive

11

0.35 WH

240

Module Voltage 20 Positive

12

0.35 WH

241

Module Voltage 22 Positive

12

0.35 WH

241

Module Voltage 22 Positive

X500 Body Harness to Door Harness - Left Front


Object Number: 1964278  Size: CH

Object Number: 1964276  Size: CH

Connector Part Information

  • OEM: 13583879
  • Service: 19178207
  • Description: 18-Way F 1.5 Timer 2.8 Mixed Series (BK)

Connector Part Information

  • OEM: 13583878
  • Service: See Catalog
  • Description: 36-Way M Timer 2.8 MCP (WH)

Terminal Part Information

  • Terminal/Tray: See Terminal Repair Kit
  • Core/Insulation Crimp: See Terminal Repair Kit
  • Release Tool/Test Probe: See Terminal Repair Kit

Connector Part Information

  • OEM: 13583880
  • Service: 19178208
  • Description: 18-Way F 1.5 Timer 2.8 Mixed Series (BK)

Terminal Part Information

  • Terminal/Tray: See Terminal Repair Kit
  • Core/Insulation Crimp: See Terminal Repair Kit
  • Release Tool/Test Probe: See Terminal Repair Kit

Terminal Part Information

  • Pins: 1-2, 16-17, 20-21, 35
  • Terminal/Tray: See Terminal Repair Kit
  • Core/Insulation Crimp: See Terminal Repair Kit
  • Release Tool/Test Probe: See Terminal Repair Kit
  • Pins: 3, 5-8, 10-14, 23-26, 28-34
  • Terminal/Tray: 964265-2/28
  • Core/Insulation Crimp: Pins: 11-12 : E/C
  • Core/Insulation Crimp: Pins: 23-26 : C/A
  • Core/Insulation Crimp: Pins: 3, 5-8, 10, 13-14, 28-34 : E/2
  • Release Tool/Test Probe: J-38125-560/J-35616-34 (YE)
  • Pins: 36
  • Terminal/Tray: 1743423-1/28
  • Core/Insulation Crimp: C/A
  • Release Tool/Test Probe: 12093647/J-35616-5 (PU)

X500 Body Harness to Door Harness - Left Front

Pin

Wire

Circuit

Function

Pin

Wire

Circuit

Function

1

0.35 GY/BK

745

Left Front Door Ajar Switch Signal

3

0.35 GY/BK

745

Left Front Door Ajar Switch Signal

2

2 BK

450

Ground

2

2 BK

450

Ground

3

2 YE

743

Accessory Voltage

1

2 YE

743

Accessory Voltage

4

--

--

Not Used

4

--

--

Not Used

5

0.35 OG/WH

881

Passenger Mirror Motor Right Control

8

0.35 OG/WH

881

Passenger Mirror Motor Right Control

6

0.35 PU/WH

889

Passenger Mirror Motor Down Control

7

0.35 PU/WH

889

Passenger Mirror Motor Down Control

7

0.35 YE

1496

Mirror Motor Right/Up Control

6

0.35 YE

1496

Mirror Motor Right/Up Control

0.35 YE

1496

Mirror Motor Right/Up Control

8

0.35 OG

267

Heated Mirror (DL8)

5

0.35 OG

267

Heated Mirror (DL8)

9

--

--

Not Used

9

--

--

Not Used

10

--

--

Not Used

15

--

--

Not Used

11

0.35 GY/BK

690

Courtesy Lamp Supply Voltage

14

0.35 GY/BK

690

Courtesy Lamp Supply Voltage

12

0.35 YE

1491

Backlight Lamps Control

13

0.35 YE

1491

Backlight Lamps Control

0.35 YE

1491

Backlight Lamps Control

13

--

118

Left Front Speaker Output (-) (UW6)

12

0.8 GY

118

Left Front Speaker Output (-) (UW6)

14

0.8 TN

201

Left Front Speaker Output (+) (UW6)

11

0.8 TN

201

Left Front Speaker Output (+) (UW6)

15

0.5 YE

343

Accessory Voltage

10

0.5 YE

343

Accessory Voltage

16

--

--

Not Used

16

--

--

Not Used

17

2 D-GN

168

Power Window Master Switch Left Rear Up Signal

17

2 D-GN

168

Power Window Master Switch Left Rear Up Signal

18

2 PU

169

Power Window Master Switch Left Rear Down Signal

18

2 PU

169

Power Window Master Switch Left Rear Down Signal

1

--

--

Not Used

19

--

--

Not Used

2

2 TN

167

Power Window Master Switch Right Front Down Signal

20

2 TN

167

Power Window Master Switch Right Front Down Signal

3

2 L-BU

166

Power Window Master Switch Right Front Up Signal

21

2 L-BU

166

Power Window Master Switch Right Front Up Signal

4

--

--

Not Used

22

--

--

Not Used

5

1 L-GN

170

Power Window Master Switch Right Rear Up Signal

23

1 L-GN

170

Power Window Master Switch Right Rear Up Signal

6

1 L-GN

170

Power Window Master Switch Right Rear Up Signal

24

1 L-GN

170

Power Window Master Switch Right Rear Up Signal

7

1 PU

171

Power Window Master Switch Right Rear Down Signal

25

1 PU

171

Power Window Master Switch Right Rear Down Signal

8

1 PU

171

Power Window Master Switch Right Rear Down Signal

26

1 PU

171

Power Window Master Switch Right Rear Down Signal

9

--

--

Not Used

27

--

--

Not Used

10

0.35 TN

126

Left Front Door Open Switch Signal (-HP7-HP5)

28

0.35 TN

126

Left Front Door Open Switch Signal (-HP7-HP5)

11

0.35 L-GN

1123

Door Lock Key Switch Lock Signal

29

0.35 L-GN

1123

Door Lock Key Switch Lock Signal

12

0.35 PU

1124

Door Lock Key Switch Unlock Signal

30

0.35 PU

1124

Door Lock Key Switch Unlock Signal

13

0.35 PK/BK

780

Driver Door Lock Switch Lock Signal

31

0.35 PK/BK

780

Driver Door Lock Switch Lock Signal

14

0.35 OG/BK

781

Driver Door Lock Switch Unlock Signal

32

0.35 OG/BK

781

Driver Door Lock Switch Unlock Signal

15

0.5 TN

694

Driver Door Lock Actuator Unlock Control

33

0.5 TN

694

Driver Door Lock Actuator Unlock Control

16

0.5 GY

295

Door Lock Actuator Lock Control

34

0.5 GY

295

Door Lock Actuator Lock Control

17

2 D-BU

1307

Power Window Master Switch Lockout Signal

35

2 D-BU

1307

Power Window Master Switch Lockout Signal

18

2 YE

643

Accessory Voltage

36

1 YE

643

Accessory Voltage

X505 Door Harness to Door Jumper Harness Left Front


Object Number: 476149  Size: CH

Object Number: 847281  Size: CH

Connector Part Information

  • OEM: 15326110
  • Service: 15306171
  • Description: 12-Way F GT 280 Series (BK)

Connector Part Information

  • OEM: 15326942
  • Service: 15326942
  • Description: 12-Way M GT 280 Series (BK)

Terminal Part Information

  • Pins: A-J
  • Terminal/Tray: 15304713/19
  • Core/Insulation Crimp: 4/4
  • Release Tool/Test Probe: 15315247/J-35616-4A (PU)
  • Pins: K-M
  • Terminal/Tray: 15304711/8
  • Core/Insulation Crimp: 2/A
  • Release Tool/Test Probe: 15315247/J-35616-4A (PU)

Terminal Part Information

  • Terminal/Tray: See Terminal Repair Kit
  • Core/Insulation Crimp: See Terminal Repair Kit
  • Release Tool/Test Probe: See Terminal Repair Kit

X505 Door Harness to Door Jumper Harness Left Front

Pin

Wire

Circuit

Function

Pin

Wire

Circuit

Function

A

2 L-BU

166

Power Window Master Switch Right Front Up Signal

A

2 L-BU

166

Power Window Master Switch Right Front Up Signal

B

2 TN

167

Power Window Master Switch Right Front Down Signal

B

2 TN

167

Power Window Master Switch Right Front Down Signal

C

2 D-GN

168

Power Window Master Switch Left Rear Up Signal

C

2 D-GN

168

Power Window Master Switch Left Rear Up Signal

D

2 PU

169

Power Window Master Switch Left Rear Down Signal

D

2 PU

169

Power Window Master Switch Left Rear Down Signal

E

2 L-GN

170

Power Window Master Switch Right Rear Up Signal

E

2 L-GN

170

Power Window Master Switch Right Rear Up Signal

F

2 PU

171

Power Window Master Switch Right Rear Down Signal

F

2 PU

171

Power Window Master Switch Right Rear Down Signal

G

2 BK

450

Ground

G

2 BK

450

Ground

H

2 YE

743

Accessory Voltage

H

2 YE

743

Accessory Voltage

J

2 D-BU

1307

Power Window Master Switch Lockout Signal

J

2 D-BU

1307

Power Window Master Switch Lockout Signal

K

1 D-BU

164

Power Window Motor Left Front Up Control

K

1 D-BU

164

Power Window Motor Left Front Up Control

L

1 BN

165

Power Window Motor Left Front Down Control

L

1 BN

165

Power Window Motor Left Front Down Control

M

1 YE

643

Accessory Voltage

M

1 YE

643

Accessory Voltage

X507 Door Harness to Door Jumper Harness - Left Front


Object Number: 1962089  Size: CH

Object Number: 1707495  Size: CH

Connector Part Information

  • OEM: 15486794
  • Service: 19178169
  • Description: 16-Way F Micro-Pack HVT Series (BN)

Connector Part Information

  • OEM: 13592732
  • Service: 89047490
  • Description: 16-Way M Kaizen 0.64 (BN)

Terminal Part Information

  • Pins: 1-2, 4, 6-15
  • Terminal/Tray: 15445905/23
  • Core/Insulation Crimp: Pins: 1-2, 4, 6, 8-14 : J/J
  • Core/Insulation Crimp: Pins: 7, 15 : K/K
  • Release Tool/Test Probe: 12180559/J-35616-16 (L-GN)

Terminal Part Information

  • Terminal/Tray: See Terminal Repair Kit
  • Core/Insulation Crimp: See Terminal Repair Kit
  • Release Tool/Test Probe: See Terminal Repair Kit

X507 Door Harness to Door Jumper Harness - Left Front

Pin

Wire

Circuit

Function

Pin

Wire

Circuit

Function

1

0.35 OG/WH

881

Passenger Mirror Motor Right Control

1

0.35 OG/WH

881

Passenger Mirror Motor Right Control

2

0.35 L-GN

89

Driver Mirror Motor Down Control

2

0.35 L-GN

89

Driver Mirror Motor Down Control

3

--

--

Not Used

3

--

--

Not Used

4

0.5 YE

343

Accessory Voltage

4

0.5 YE

343

Accessory Voltage

5

--

--

Not Used

5

--

--

Not Used

6

0.35 OG/BK

781

Driver Door Lock Switch Unlock Signal

6

0.35 OG/BK

781

Driver Door Lock Switch Unlock Signal

7

0.8 YE

1956

Left Front Tweeter Speaker Output (-)

7

0.8 YE

1956

Left Front Tweeter Speaker Output (-)

8

0.35 GY/BK

690

Courtesy Lamp Supply Voltage

8

0.35 GY/BK

690

Courtesy Lamp Supply Voltage

9

0.35 PU/WH

889

Passenger Mirror Motor Down Control

9

0.35 PU/WH

889

Passenger Mirror Motor Down Control

10

0.35 WH

81

Driver Mirror Motor Right Control

10

0.35 WH

81

Driver Mirror Motor Right Control

11

0.35 YE

1496

Mirror Motor Right/Up Control

11

0.35 YE

1496

Mirror Motor Right/Up Control

12

0.35 YE

1491

Backlight Lamps Control

12

0.35 YE

1491

Backlight Lamps Control

13

0.35 PK/BK

780

Driver Door Lock Switch Lock Signal

13

0.35 PK/BK

780

Driver Door Lock Switch Lock Signal

14

0.35 YE

1491

Backlight Lamps Control

14

0.35 YE

1491

Backlight Lamps Control

15

0.8 TN

1856

Left Front Tweeter Speaker Output (+)

15

0.8 TN

1856

Left Front Tweeter Speaker Output (+)

16

--

--

Not Used

16

--

--

Not Used

X509 Left Front Door Trim Harness to Left Door Courtesy Lamp Harness


Object Number: 1962074  Size: CH

Object Number: 1830936  Size: CH

Connector Part Information

  • OEM: 13583214
  • Service: 21019410
  • Description: 2-Way F 090 Series (WH)

Connector Part Information

  • OEM: 49228-0210
  • Service: See Catalog
  • Description: 2-Way M 090 Series (WH)

Terminal Part Information

  • Terminal/Tray: 12015858/4
  • Core/Insulation Crimp: F/G
  • Release Tool/Test Probe: 12094430/J-35616-4A (PU)

Terminal Part Information

  • Terminal/Tray: 12020116/2
  • Core/Insulation Crimp: A/D
  • Release Tool/Test Probe: 12094430/J-35616-5 (PU)

X509 Left Front Door Trim Harness to Left Door Courtesy Lamp Harness

Pin

Wire

Circuit

Function

Pin

Wire

Circuit

Function

1

0.35 GY/BK

690

Courtesy Lamp Supply Voltage

1

0.35 BK

690

Courtesy Lamp Supply Voltage

2

0.35 BK

450

Ground

2

0.35BK

450

Ground

X600 Body Harness to Door Harness - Right Front


Object Number: 1964278  Size: CH

Object Number: 1964276  Size: CH

Connector Part Information

  • OEM: 13583879
  • Service: 19178207
  • Description: 18-Way F 1.5 Timer 2.8 Mixed Series (BK)

Connector Part Information

  • OEM: 13583878
  • Service: See Catalog
  • Description: 36-Way M Timer 2.8 MCP (WH)

Terminal Part Information

  • Terminal/Tray: See Terminal Repair Kit
  • Core/Insulation Crimp: See Terminal Repair Kit
  • Release Tool/Test Probe: See Terminal Repair Kit

Connector Part Information

  • OEM: 13583880
  • Service: 19178208
  • Description: 18-Way F 1.5 Timer 2.8 Mixed Series (BK)

Terminal Part Information

  • Terminal/Tray: See Terminal Repair Kit
  • Core/Insulation Crimp: See Terminal Repair Kit
  • Release Tool/Test Probe: See Terminal Repair Kit

Terminal Part Information

  • Pins: 2, 16-17
  • Terminal/Tray: 1743423-1/28
  • Core/Insulation Crimp: Pins: 2 : E/2
  • Core/Insulation Crimp: Pins: 16-17 : E/A
  • Release Tool/Test Probe: 12093647/J-35616-5 (PU)
  • Pins: 3, 5-8, 14, 33-34
  • Terminal/Tray: 964265-2/28
  • Core/Insulation Crimp: E/2
  • Release Tool/Test Probe: J-38125-560/J-35616-34 (YE)
  • Pins: 20-21, 35
  • Terminal/Tray: See Terminal Repair Kit
  • Core/Insulation Crimp: See Terminal Repair Kit
  • Release Tool/Test Probe: See Terminal Repair Kit

X600 Body Harness to Door Harness - Right Front

Pin

Wire

Circuit

Function

Pin

Wire

Circuit

Function

1

0.35 TN/WH

746

Right Front Door Ajar Switch Signal

3

0.35 TN/WH

746

Right Front Door Ajar Switch Signal

2

0.5 BK

450

Ground

2

0.5 BK

450

Ground

3

--

--

Not Used

1

--

--

Not Used

4

--

--

Not Used

4

--

--

Not Used

5

0.35 OG/WH

881

Passenger Mirror Motor Right Control

8

0.35 OG/WH

881

Passenger Mirror Motor Right Control

6

0.35 PU/WH

889

Passenger Mirror Motor Down Control

7

0.35 PU/WH

889

Passenger Mirror Motor Down Control

7

0.35 L-GN

1496

Mirror Motor Right/Up Control

6

0.35 L-GN

1496

Mirror Motor Right/Up Control

8

0.35 OG

267

Heated Mirror

5

0.35 OG

267

Heated Mirror

9

--

--

Not Used

9

--

--

Not Used

10

--

--

Not Used

15

--

--

Not Used

11

0.35 GY/BK

690

Courtesy Lamp Supply Voltage

14

0.35 GY/BK

690

Courtesy Lamp Supply Voltage

12

--

--

Not Used

13

--

--

Not Used

13

--

--

Not Used

12

--

--

Not Used

14

--

--

Not Used

11

--

--

Not Used

15

--

--

Not Used

10

--

--

Not Used

16

--

--

Not Used

16

--

--

Not Used

17

0.8 PU

1952

Right Front Tweeter Speaker Output (-) (U61)

17

0.8 PU

1952

Right Front Tweeter Speaker Output (-) (U61)

0.8 D-GN

117

Right Front Speaker Output (-) (UW6)

0.8 D-GN

117

Right Front Speaker Output (-) (UW6)

18

0.8 L-GN

1852

Right Front Tweeter Speaker Output (+) (U61)

18

0.8 L-GN

1852

Right Front Tweeter Speaker Output (+) (U61)

0.8 L-GN

200

Right Front Speaker Output (+) (UW6)

0.8 L-GN

200

Right Front Speaker Output (+) (UW6)

1

--

--

Not Used

19

--

--

Not Used

2

2 TN

167

Power Window Master Switch Right Front Down Signal

20

2 TN

167

Power Window Master Switch Right Front Down Signal

3

2 L-BU

166

Power Window Master Switch Right Front Up Signal

21

2 L-BU

166

Power Window Master Switch Right Front Up Signal

4-14

--

--

Not Used

22-32

--

--

Not Used

15

0.5 TN

294

Door Lock Actuator Unlock Control

33

0.5 TN

294

Door Lock Actuator Unlock Control

16

0.5 GY

295

Door Lock Actuator Lock Control

34

0.5 GY

295

Door Lock Actuator Lock Control

17

2 YE

743

Accessory Voltage

35

2 YE

743

Accessory Voltage

18

--

--

Not Used

36

--

--

Not Used

X605 Door Harness to Door Jumper Harness - Right Front


Object Number: 476149  Size: CH

Object Number: 847281  Size: CH

Connector Part Information

  • OEM: 15326110
  • Service: 15306171
  • Description: 12-Way F GT 280 Series (BK)

Connector Part Information

  • OEM: 15326942
  • Service: 15326942
  • Description: 12-Way M GT 280 Series (BK)

Terminal Part Information

  • Pins: A-C, G-H
  • Terminal/Tray: 15304713/19
  • Core/Insulation Crimp: 4/4
  • Release Tool/Test Probe: 15315247/J-35616-4A (PU)
  • Pins: D-E, J-K
  • Terminal/Tray: 15304711/8
  • Core/Insulation Crimp: Pins: J-K : 2/A
  • Core/Insulation Crimp: Pins: D-E : E/A
  • Release Tool/Test Probe: 15315247/J-35616-4A (PU)

Terminal Part Information

  • Terminal/Tray: See Terminal Repair Kit
  • Core/Insulation Crimp: See Terminal Repair Kit
  • Release Tool/Test Probe: See Terminal Repair Kit

X605 Door Harness to Door Jumper Harness - Right Front

Pin

Wire

Circuit

Function

Pin

Wire

Circuit

Function

A

2 L-BU

166

Power Window Master Switch Right Front Up Signal

A

2 L-BU

166

Power Window Master Switch Right Front Up Signal

B

2 TN

167

Power Window Master Switch Right Front Down Signal

B

2 TN

167

Power Window Master Switch Right Front Down Signal

C

2 YE

743

Accessory Voltage

C

2 YE

743

Accessory Voltage

D

0.5 BK

450

Ground

D

0.5 BK

450

Ground

E

0.35 GY/BK

690

Courtesy Lamp Supply Voltage

E

0.35 GY/BK

690

Courtesy Lamp Supply Voltage

F

--

--

Not Used

F

--

--

Not Used

G

2 BN

667

Power Window Motor Right Front Down Control

G

2 BN

667

Power Window Motor Right Front Down Control

H

2 D-BU

666

Power Window Motor Right Front Up Control

H

2 D-BU

666

Power Window Motor Right Front Up Control

J

0.8 L-GN

1852

Right Front Tweeter Speaker Output (+)

J

0.8 L-GN

1852

Right Front Tweeter Speaker Output (+)

K

0.8 PU

1952

Right Front Tweeter Speaker Output (-)

K

0.8 PU

1952

Right Front Tweeter Speaker Output (-)

L-M

--

--

Not Used

L-M

--

--

Not Used

X609 Right Front Door Trim Harness to Right Door Courtesy Lamp Harness


Object Number: 1962074  Size: CH

Object Number: 1830936  Size: CH

Connector Part Information

  • OEM: 13583214
  • Service: 21019410
  • Description: 2-Way F 090 Series (N/A)

Connector Part Information

  • OEM: 49228-0210
  • Service: See Catalog
  • Description: 2-Way M 090 Series (N/A)

Terminal Part Information

  • Terminal/Tray: 12015858/4
  • Core/Insulation Crimp: F/G
  • Release Tool/Test Probe: 12094430/J-35616-4A (PU)

Terminal Part Information

  • Terminal/Tray: 12020116/2
  • Core/Insulation Crimp: A/D
  • Release Tool/Test Probe: 12094430/J-35616-5 (PU)

X609 Right Front Door Trim Harness to Right Door Courtesy Lamp Harness

Pin

Wire

Circuit

Function

Pin

Wire

Circuit

Function

1

0.35 GY/BK

690

Courtesy Lamp Supply Voltage

1

0.35 BK

690

Courtesy Lamp Supply Voltage

2

0.35 BK

450

Ground

2

0.35BK

450

Ground

X700 Body Harness to Door Harness - Left Rear


Object Number: 1963323  Size: CH

Object Number: 1963324  Size: CH

Connector Part Information

  • OEM: 13579291
  • Service: 19178199
  • Description: 15-Way F Hybrid (WH)

Connector Part Information

  • OEM: 13579647
  • Service: See Catalog
  • Description: 15-Way M Mixed Series (WH)

Terminal Part Information

  • Pins: 1-2, 4
  • Terminal/Tray: See Terminal Repair Kit
  • Core/Insulation Crimp: See Terminal Repair Kit
  • Release Tool/Test Probe: See Terminal Repair Kit
  • Pins: 6-8, 10, 14-15
  • Terminal/Tray: 964274-2/16
  • Core/Insulation Crimp: Pins: 6-8, 10, 15 : E/1
  • Core/Insulation Crimp: Pins: 14 : See Terminal Repair Kit
  • Release Tool/Test Probe: J-38125-560/J-35616-33 (YE)

Terminal Part Information

  • Terminal/Tray: See Terminal Repair Kit
  • Core/Insulation Crimp: See Terminal Repair Kit
  • Release Tool/Test Probe: See Terminal Repair Kit

X700 Body Harness to Door Harness - Left Rear

Pin

Wire

Circuit

Function

Pin

Wire

Circuit

Function

1

2 D-GN

168

Power Window Master Switch Left Rear Up Signal

1

2 D-GN

168

Power Window Master Switch Left Rear Up Signal

2

2 PU

169

Power Window Master Switch Left Rear Down Signal

2

2 PU

169

Power Window Master Switch Left Rear Down Signal

3

--

--

Not Used

3

--

--

Not Used

4

2 D-BU

1307

Power Window Master Switch Lockout Signal

4

2 D-BU

1307

Power Window Master Switch Lockout Signal

5

--

--

Not Used

5

--

--

Not Used

6

0.5 TN

294

Door Lock Actuator Unlock Control

6

0.5 TN

294

Door Lock Actuator Unlock Control

7

0.8 BN

199

Left Rear Speaker Output (+)

7

0.8 BN

199

Left Rear Speaker Output (+)

0.8 BN

199

Left Rear Speaker Output (+) (U61)

8

0.8 YE

116

Left Rear Speaker Output (-)

8

0.8 YE

116

Left Rear Speaker Output (-)

0.8 YE

116

Left Rear Speaker Output (-) (U61)

9

--

--

Not Used

9

--

--

Not Used

10

0.5 GY

295

Door Lock Actuator Lock Control

10

0.5 GY

295

Door Lock Actuator Lock Control

11-13

--

--

Not Used

11-13

--

--

Not Used

14

0.35 TN/WH

746

Left Rear Door Ajar Switch Signal

14

0.35 TN/WH

746

Left Rear Door Ajar Switch Signal

15

0.5 BK

650

Ground

15

0.5 BK

650

Ground

X701 Door Harness to Door Jumper Harness - Left Rear


Object Number: 1356281  Size: CH

Object Number: 1356280  Size: CH

Connector Part Information

  • OEM: 172130-2
  • Service: See Catalog
  • Description: 2-Way F 250 Sealed (BK)

Connector Part Information

  • OEM: 172129-2
  • Service: See Catalog
  • Description: 2-Way F 250 Sealed (BK)

Terminal Part Information

  • Terminal/Tray: See Terminal Repair Kit
  • Core/Insulation Crimp: See Terminal Repair Kit
  • Release Tool/Test Probe: See Terminal Repair Kit

Terminal Part Information

  • Terminal/Tray: See Terminal Repair Kit
  • Core/Insulation Crimp: See Terminal Repair Kit
  • Release Tool/Test Probe: See Terminal Repair Kit

X701 Door Harness to Door Jumper Harness - Left Rear

Pin

Wire

Circuit

Function

Pin

Wire

Circuit

Function

A

2 D-BU

668

Power Window Motor Left Rear Up Control

A

2 D-BU

668

Power Window Motor Left Rear Up Control

B

2 BN

669

Power Window Motor Left Rear Down Control

B

2 BN

669

Power Window Motor Left Rear Down Control

X800 Body Harness to Door Harness - Right Rear


Object Number: 1963323  Size: CH

Object Number: 1963324  Size: CH

Connector Part Information

  • OEM: 13579291
  • Service: 19178199
  • Description: 15-Way F Hybrid (WH)

Connector Part Information

  • OEM: 13579647
  • Service: See Catalog
  • Description: 15-Way M Mixed Series (WH)

Terminal Part Information

  • Pins: 1-2, 4
  • Terminal/Tray: See Terminal Repair Kit
  • Core/Insulation Crimp: See Terminal Repair Kit
  • Release Tool/Test Probe: See Terminal Repair Kit
  • Pins: 6-8, 10, 14-15
  • Terminal/Tray: 964274-2/16
  • Core/Insulation Crimp: Pins: 6-8, 10, 15 : E/1
  • Core/Insulation Crimp: Pins: 14 : See Terminal Repair Kit
  • Release Tool/Test Probe: J-38125-560/J-35616-33 (YE)

Terminal Part Information

  • Terminal/Tray: See Terminal Repair Kit
  • Core/Insulation Crimp: See Terminal Repair Kit
  • Release Tool/Test Probe: See Terminal Repair Kit

X800 Body Harness to Door Harness - Right Rear

Pin

Wire

Circuit

Function

Pin

Wire

Circuit

Function

1

2 L-GN

170

Power Window Master Switch Right Rear Up Signal

1

2 L-GN

170

Power Window Master Switch Right Rear Up Signal

2

2 PU

171

Power Window Master Switch Right Rear Down Signal

2

2 PU

171

Power Window Master Switch Right Rear Down Signal

3

--

--

Not Used

3

--

--

Not Used

4

2 D-BU

1307

Power Window Master Switch Lockout Signal

4

2 D-BU

1307

Power Window Master Switch Lockout Signal

5

--

--

Not Used

5

--

--

Not Used

6

0.5 TN

294

Door Lock Actuator Unlock Control

6

0.5 TN

294

Door Lock Actuator Unlock Control

7

0.8 D-BU

46

Right Rear Speaker Output (+) (U61)

7

0.8 D-BU

46

Right Rear Speaker Output (+)

0.8 D-BU

46

Right Rear Speaker Output (+) (U61)

8

0.8 L-BU

115

Right Rear Speaker Output (-) (U61)

8

0.8 L-BU

115

Right Rear Speaker Output (-)

0.8 L-BU

115

Right Rear Speaker Output (-) (U61)

9

--

--

Not Used

9

--

--

Not Used

10

0.5 GY

295

Door Lock Actuator Lock Control

10

0.5 GY

295

Door Lock Actuator Lock Control

11-13

--

--

Not Used

11-13

--

--

Not Used

14

0.35 TN/WH

746

Right Rear Door Ajar Switch Signal

14

0.35 TN/WH

746

Right Rear Door Ajar Switch Signal

15

0.5 BK

550

Ground

15

0.5 BK

550

Ground

X801 Door Harness to Door Jumper Harness - Right Rear


Object Number: 1356281  Size: CH

Object Number: 1356280  Size: CH

Connector Part Information

  • OEM: 172130-2
  • Service: See Catalog
  • Description: 2-Way F 250 Sealed (BK)

Connector Part Information

  • OEM: 172129-2
  • Service: See Catalog
  • Description: 2-Way F 250 Sealed (BK)

Terminal Part Information

  • Terminal/Tray: See Terminal Repair Kit
  • Core/Insulation Crimp: See Terminal Repair Kit
  • Release Tool/Test Probe: See Terminal Repair Kit

Terminal Part Information

  • Terminal/Tray: See Terminal Repair Kit
  • Core/Insulation Crimp: See Terminal Repair Kit
  • Release Tool/Test Probe: See Terminal Repair Kit

X801 Door Harness to Door Jumper Harness - Right Rear

Pin

Wire

Circuit

Function

Pin

Wire

Circuit

Function

A

2 D-BU

670

Power Window Motor Right Rear Up Control

A

2 D-BU

670

Power Window Motor Right Rear Up Control

B

2 BN

671

Power Window Motor Right Rear Down Control

B

2 BN

671

Power Window Motor Right Rear Down Control

X910 Liftgate Harness to Rear Defogger Jumper Harness


Object Number: 1283895  Size: CH

Object Number: 1409646  Size: CH

Connector Part Information

  • OEM: 15318080
  • Service: 21019410
  • Description: 2-Way F Metri-Pack 280 Series (BK)

Connector Part Information

  • OEM: 12147517
  • Service: 89046851
  • Description: 2-Way M Metri-Pack 280 Series (BK)

Terminal Part Information

  • Terminal/Tray: 12015858/4
  • Core/Insulation Crimp: F/G
  • Release Tool/Test Probe: 12094430/J-35616-4A (PU)

Terminal Part Information

  • Terminal/Tray: 12020116/2
  • Core/Insulation Crimp: A/D
  • Release Tool/Test Probe: 12094430/J-35616-5 (PU)

X910 Liftgate Harness to Rear Defogger Jumper Harness

Pin

Wire

Circuit

Function

Pin

Wire

Circuit

Function

1

2 PU

293

Rear Defog Element Supply Voltage

1

2 PU

293

Rear Defog Element Supply Voltage

2

--

--

Not Used

2

--

--

Not Used

X912 Liftgate Harness to Liftgate Jumper Harness


Object Number: 1963320  Size: CH

Object Number: 1963321  Size: CH

Connector Part Information

  • OEM: 13584549
  • Service: See Catalog
  • Description: 18-Way F (BK)

Connector Part Information

  • OEM: 13584548
  • Service: See Catalog
  • Description: 18-Way M (BK)

Terminal Part Information

  • Pins: 1, 8, 18
  • Terminal/Tray: See Terminal Repair Kit
  • Core/Insulation Crimp: See Terminal Repair Kit
  • Release Tool/Test Probe: See Terminal Repair Kit
  • Pins: 3, 5-7, 13
  • Terminal/Tray: SNAC3-A021T-M0.64/20
  • Core/Insulation Crimp: J/J
  • Release Tool/Test Probe: 15315247/J-35616-64B (L-BU)

Terminal Part Information

  • Terminal/Tray: See Terminal Repair Kit
  • Core/Insulation Crimp: See Terminal Repair Kit
  • Release Tool/Test Probe: See Terminal Repair Kit

X912 Liftgate Harness to Liftgate Jumper Harness

Pin

Wire

Circuit

Function

Pin

Wire

Circuit

Function

1

0.8 D-GN

392

Rear Window Washer Pump Control

1

0.8 D-GN

392

Rear Window Washer Pump Control

2

--

--

Not Used

2

--

--

Not Used

3

0.35 GY

391

Rear Window Wiper Switch Signal

3

0.35 GY

391

Rear Window Wiper Switch Signal

4

--

--

Not Used

4

--

--

Not Used

5

0.5 PU

709

Left Park Lamp Supply Voltage

5

0.5 PU

709

Left Park Lamp Supply Voltage

6

0.5 L-BU

6128

Rear Closure Unlatch Motor Unlatch Control

6

0.5 L-BU

6128

Rear Closure Unlatch Motor Unlatch Control

7

0.35 PK/BK

1303

Liftgate Ajar Switch Signal

7

0.35 PK/BK

1303

Liftgate Ajar Switch Signal

8

1 RD/WH

2240

Battery Positive Voltage

8

1 RD/WH

2240

Battery Positive Voltage

9-12

--

--

Not Used

9-12

--

--

Not Used

13

0.35 D-GN

6127

Liftgate Unlatch Switch Signal

13

0.35 D-GN

6127

Liftgate Unlatch Switch Signal

14-17

--

--

Not Used

14-17

--

--

Not Used

18

2 BK

650

Ground

18

2 BK

650

Ground

X925 Liftgate Jumper Harness to License Lamp Harness


Object Number: 1283830  Size: CH

Object Number: 1334462  Size: CH

Connector Part Information

  • OEM: 15337961
  • Service: 21019410
  • Description: 2-Way F Metri-Pack 280 Series (N/A)

Connector Part Information

  • OEM: 12147517
  • Service: 89046851
  • Description: 2-Way M Metri-Pack 280 Series (BK)

Terminal Part Information

  • Terminal/Tray: 12015858/4
  • Core/Insulation Crimp: F/G
  • Release Tool/Test Probe: 12094430/J-35616-4A (PU)

Terminal Part Information

  • Terminal/Tray: 12020116/2
  • Core/Insulation Crimp: A/D
  • Release Tool/Test Probe: 12094430/J-35616-5 (PU)

X925 Liftgate Jumper Harness to License Lamp Harness

Pin

Wire

Circuit

Function

Pin

Wire

Circuit

Function

1

0.5 PU

709

Park Lamp Supply Voltage

1

0.5 WH

709

Park Lamp Supply Voltage

2

0.5 BK

650

Ground

2

0.5 BK

650

Ground