GM Service Manual Online
For 1990-2009 cars only

Removal Procedure

Caution: Ensure that the vehicle is properly supported and squarely positioned. To help avoid personal injury when a vehicle is on a hoist, provide additional support for the vehicle on the opposite end from which the components are being removed.


    Object Number: 1884621  Size: SH
  1. Raise and suitably support the vehicle. Refer to Lifting and Jacking the Vehicle .
  2. Disconnect the fuel tank wiring harness electrical connector (1) from the evaporative emission (EVAP) canister vent solenoid valve.

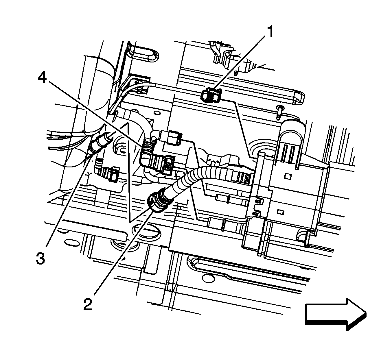
  3. Object Number: 1885584  Size: SH
  4. Disconnect the fuel tank vapor line quick connect fitting (4) from the EVAP canister. Refer to Plastic Collar Quick Connect Fitting Service .
  5. Disconnect the chassis EVAP line quick connect fitting (1) from the EVAP canister. Refer to Plastic Collar Quick Connect Fitting Service .
  6. Disconnect the EVAP canister line quick connect fitting (2) from the fuel tank fresh air line (3). Refer to Plastic Collar Quick Connect Fitting Service .

  7. Object Number: 1885884  Size: SH
  8. Remove the EVAP canisters nuts (2).
  9. Remove the canister (1) from the vehicle underbody.

Installation Procedure


    Object Number: 1885884  Size: SH
  1. Position the EVAP canister (1) to the underbody studs.
  2. Notice: Refer to Fastener Notice in the Preface section.

  3. Install the EVAP canister nuts (2).
  4. Tighten
    Tighten the nuts to 8 N·m (71 lb in).


    Object Number: 1885584  Size: SH
  5. Connect the EVAP canister line quick connect fitting (2) to the fuel tank fresh air line (3). Refer to Plastic Collar Quick Connect Fitting Service .
  6. Connect the fuel tank vapor line quick connect fitting (4) to the EVAP canister. Refer to Plastic Collar Quick Connect Fitting Service .
  7. Connect the chassis EVAP line quick connect fitting (1) to the EVAP canister. Refer to Plastic Collar Quick Connect Fitting Service .

  8. Object Number: 1884621  Size: SH
  9. Connect the fuel tank wiring harness electrical connector (1) to the EVAP canister vent solenoid valve.
  10. Lower the vehicle.

Removal Procedure

Warning: Ensure that the vehicle is properly supported and squarely positioned. To help avoid personal injury when a vehicle is on a hoist, provide additional support for the vehicle on the opposite end from which the components are being removed.


    Object Number: 1884621  Size: SH
  1. Raise and suitably support the vehicle. Refer to Lifting and Jacking the Vehicle.
  2. Disconnect the fuel tank wiring harness electrical connector (1) from the evaporative emission (EVAP) canister vent solenoid valve.

  3. Object Number: 1885584  Size: SH
  4. Disconnect the fuel tank vapor line quick connect fitting (4) from the EVAP canister. Refer to Plastic Collar Quick Connect Fitting Service.
  5. Disconnect the chassis EVAP line quick connect fitting (1) from the EVAP canister. Refer to Plastic Collar Quick Connect Fitting Service.
  6. Disconnect the EVAP canister line quick connect fitting (2) from the fuel tank fresh air line (3). Refer to Plastic Collar Quick Connect Fitting Service.

  7. Object Number: 1885884  Size: SH
  8. Remove the EVAP canisters nuts (2).
  9. Remove the canister (1) from the vehicle underbody.

Installation Procedure


    Object Number: 1885884  Size: SH
  1. Position the EVAP canister (1) to the underbody studs.
  2. Caution: Refer to Fastener Caution in the Preface section.

  3. Install the EVAP canister nuts (2).
  4. Tighten
    Tighten the nuts to 8 N·m (71 lb in).


    Object Number: 1885584  Size: SH
  5. Connect the EVAP canister line quick connect fitting (2) to the fuel tank fresh air line (3). Refer to Plastic Collar Quick Connect Fitting Service.
  6. Connect the fuel tank vapor line quick connect fitting (4) to the EVAP canister. Refer to Plastic Collar Quick Connect Fitting Service.
  7. Connect the chassis EVAP line quick connect fitting (1) to the EVAP canister. Refer to Plastic Collar Quick Connect Fitting Service.

  8. Object Number: 1884621  Size: SH
  9. Connect the fuel tank wiring harness electrical connector (1) to the EVAP canister vent solenoid valve.
  10. Lower the vehicle.