GM Service Manual Online
For 1990-2009 cars only

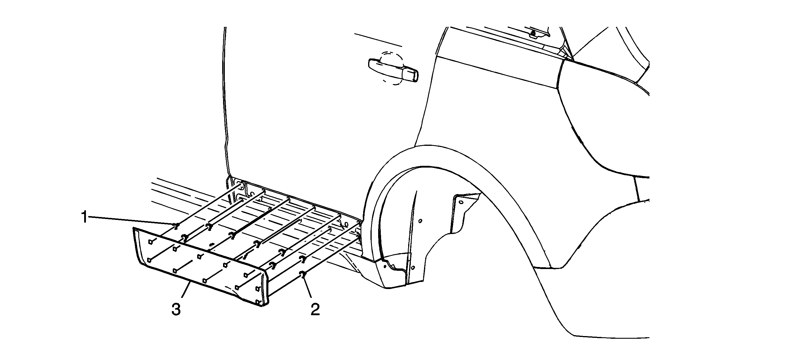
Object Number: 1872806  Size: SF

Callout

Component Name

Preliminary Procedures

  1. Open either the LR or RR door assembly to assist with the removal process.
  2. Remove the 1 rear side door lower front molding nut securing the molding to the inner door.

1

Lower Door Molding Locator Pin

Procedure

  1. Align the front pin to the door.
  2. Align the retainers and apply pressure to secure the molding to the lower door.
  3. Install the rear door lower molding nut and finger tighten.

2

Lower Door Molding Retainer (Qty: 10)

Procedure

Release the lower retainers working upward on the molding.

3

Lower Door Molding Assembly

Tip
Ensure the door is in the closed position prior to installing the lower molding to the door.