GM Service Manual Online
For 1990-2009 cars only
Table 1: Torque Dampener and Differential Side
Table 2: Case Side Cover

Torque Dampener and Differential Side


Object Number: 2047285  Size: MF

Torque Dampener and Differential Side

Callout

Component Name

Caution: Do not use abrasive pads or bristle devices to clean the sealing surfaces. Abrasive pads produce a fine grit that can effect transmission function. Abrasive pads can also remove enough metal to create oil leaks.

Caution: After cleaning the transmission components, allow to air dry. Do not use cloth or paper towels in order to dry any transmission components. Lint from the towels can cause component failure.

Caution: Do not reuse cleaning solvents. Previously used solvents may deposit sediment which may damage the component.

Preliminary Procedures

  1. Thoroughly clean the transmission case assembly, including case threads, with clean solvent.
  2. Clean gasket sealing surfaces. Remove all residual gasket material.
  3. Inspect all threaded holes. If necessary, repair any thread damage.

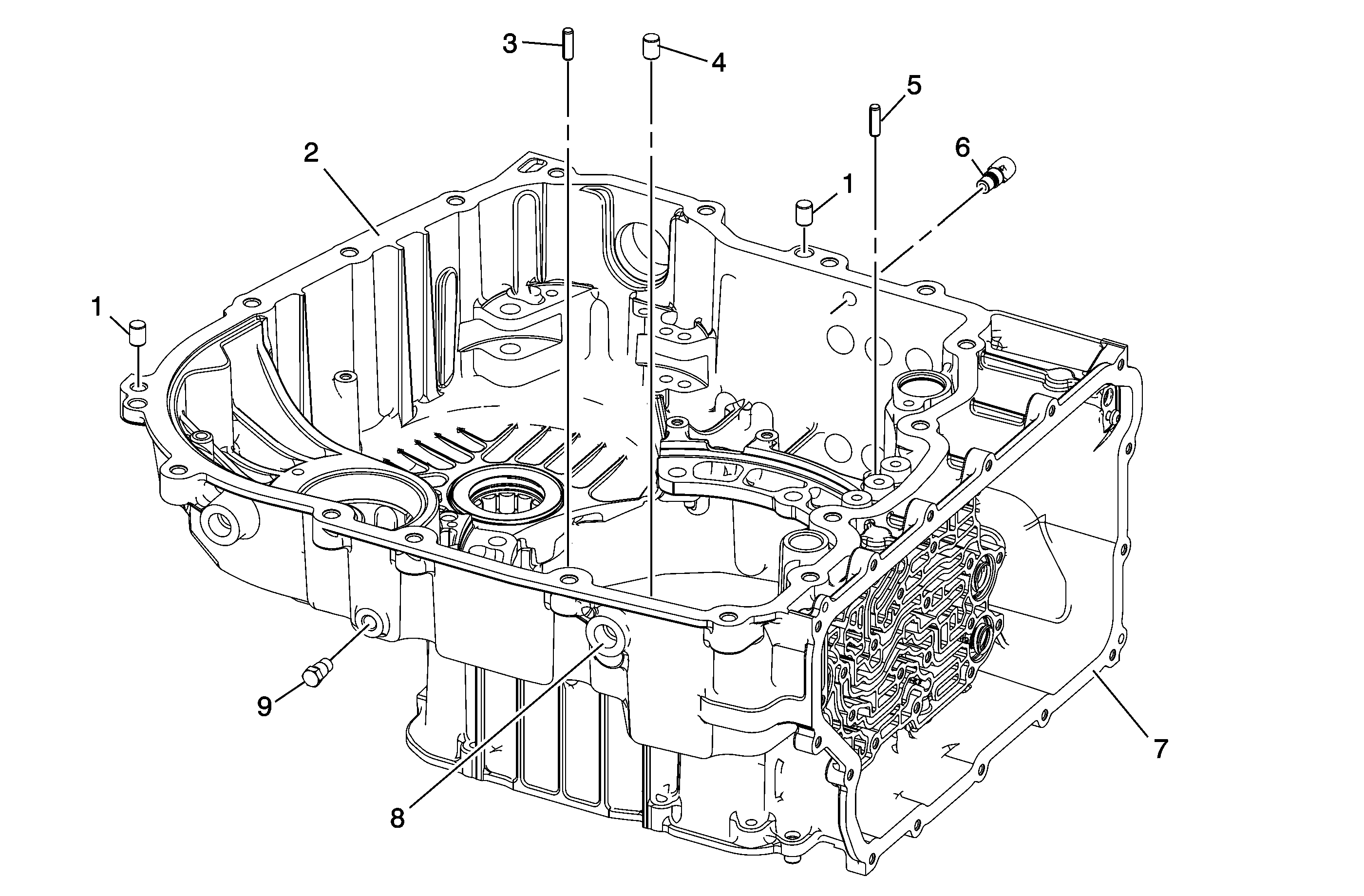
1

Transmission Case Locator Pin

2

Torque Dampener and Differential Housing Sealing Surface

3

Generator/Drive Motor Stator Locating Pin

4

Transmission Case Locator Pin

5

Generator/Drive Motor Stator Locator Pin

6

A/Trans Vent Assembly

7

Control Valve Body Cover Sealing Surface

8

Manual Shift Shaft Seal Surface

9

Oil Level Plug

Case Side Cover


Object Number: 2047286  Size: MF

Case Side Cover

Callout

Component Name

Caution: Do not use abrasive pads or bristle devices to clean the sealing surfaces. Abrasive pads produce a fine grit that can effect transmission function. Abrasive pads can also remove enough metal to create oil leaks.

Caution: After cleaning the transmission components, allow to air dry. Do not use cloth or paper towels in order to dry any transmission components. Lint from the towels can cause component failure.

Caution: Do not reuse cleaning solvents. Previously used solvents may deposit sediment which may damage the component.

Preliminary Procedures

  1. Thoroughly clean the transmission case assembly, including case threads, with clean solvent.
  2. Clean gasket sealing surfaces. Remove all residual gasket material.
  3. Inspect all threaded holes. If necessary, repair any thread damage.

1

Transmission Case Locator Pin

2

Generator/Drive Motor Stator Locator Pin

3

Generator/Drive Motor Stator Locator Pin

4

Case Cover Sealing Surface