GM Service Manual Online
For 1990-2009 cars only

Object Number: 2187449  Size: MF

Callout

Component Name

Preliminary Procedures

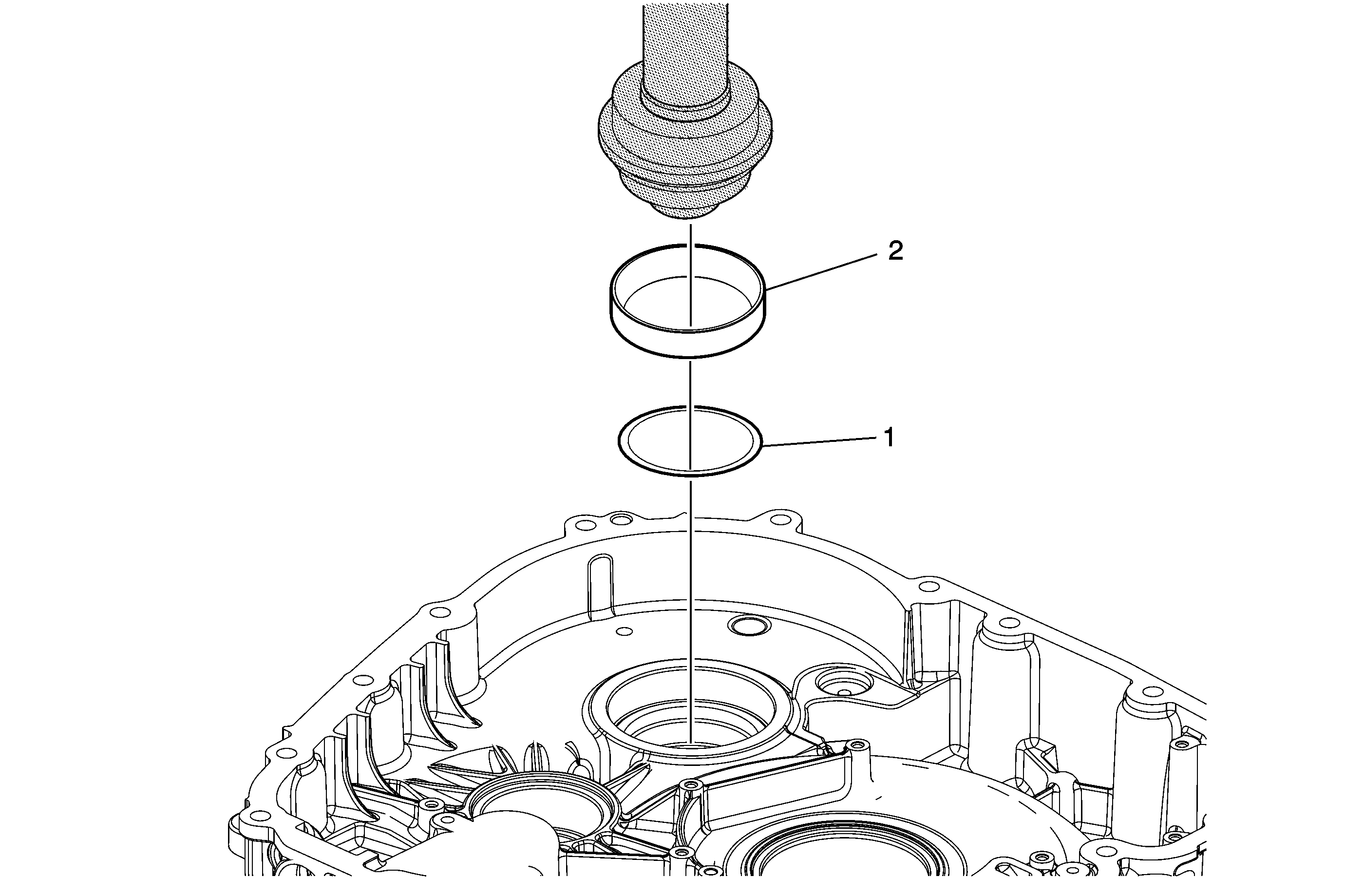
    • Install the correct differential bearing washer as determined by the thrust washer measurement procedure. Refer to Front Differential Drive Pinion Gear Bearing Thrust Washer and Front Differential Bearing Washer Measurement.
    • Do not install the bearing cup until after the selective washer measurement has been performed. Refer to Front Differential Drive Pinion Gear Bearing Thrust Washer and Front Differential Bearing Washer Measurement.

1

Front Differential Bearing Washer - Selective

2

Front Differential Drive Pinion Gear Bearing Cup

Caution: Support the back side of the torque dampener housing while installing the bearing cup. Install the bearing cup until it stops moving. Applying excessive pressure to the bearing cup once it is seated could cause damage to the torque dampener housing casting.

Special Tools

    • DT-49263 Bearing Cup Installer
    • J 8092 Driver Handle

For equivalent regional tools, refer to Special Tools.