GM Service Manual Online
For 1990-2009 cars only

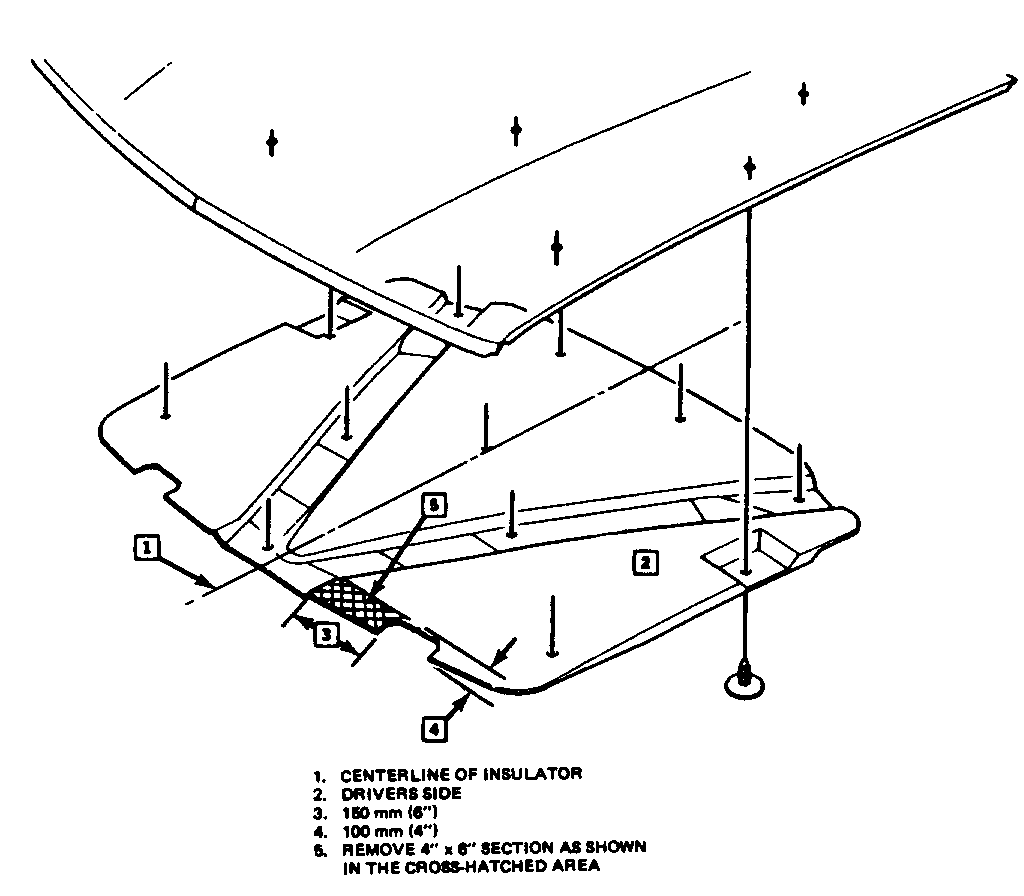
LOSS OF POWER (LOOSE HOOD) INSULATION MAY BLOCK AIR)

Model and Year: 1988 CAVALIERS (EXCEPT Z-24)

All Chevrolet Cavaliers with LL8 or LB6 Engines (except Z-24) built prior to January 26, 1988 were built with hood insulators that may sag down and interfere with the engine air intake. This could cause a noticeable loss of power. Should this condition be encountered, it can be addressed by removing a section of the hood insulator as shown in the illustration.

The hood insulator has been changed in production by increasing the size of the clearance cutout at the air intake.


Object Number: 86524  Size: LF

General Motors bulletins are intended for use by professional technicians, not a "do-it-yourselfer". They are written to inform those technicians of conditions that may occur on some vehicles, or to provide information that could assist in the proper service of a vehicle. Properly trained technicians have the equipment, tools, safety instructions and know-how to do a job properly and safely. If a condition is described, do not assume that the bulletin applies to your vehicle, or that your vehicle will have that condition. See a General Motors dealer servicing your brand of General Motors vehicle for information on whether your vehicle may benefit from the information.