GM Service Manual Online
For 1990-2009 cars only

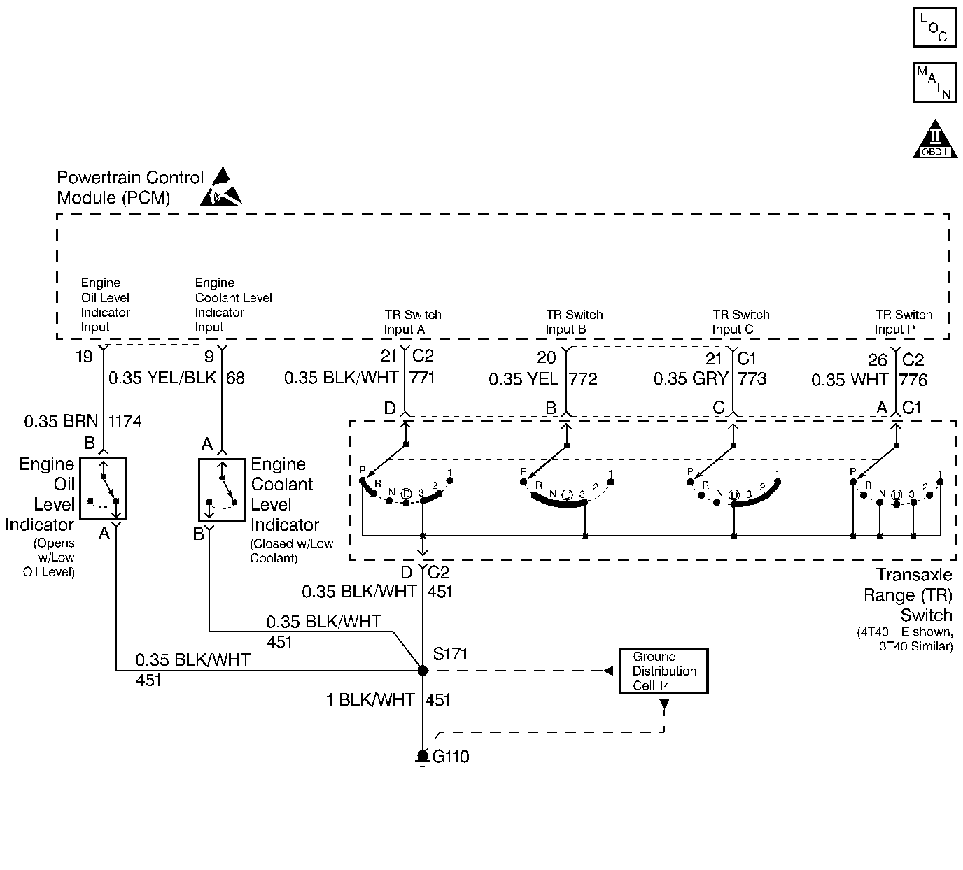
Powertrain Control Module Controlled Warning Lamps Diagnosis Oil Level Input


Object Number: 27325  Size: LF
Engine Controls Components
IAC Valve, Generator, TR, Oil, and Coolant Switches
OBD II Symbol Description Notice
Handling ESD Sensitive Parts Notice

Diagnosis

    • The following tables will diagnose the oil level switch, the oil pressure switch and the coolant level switch circuits.
    • For diagnosis of the fuel pump circuitry portion of the fuel pump and engine oil level switch, refer to Engine Cranks but Does Not Run 2.4L. Engine Cranks but Does Not Run 2.2L.
    • For diagnosis of the Instrument Panel Cluster (IPC), refer to Section 8A and Section 8C1 .
    • For PCM replacement information, refer to Powertrain Control Module/EEPROM Replacement/Programming 2.4L. Powertrain Control Module/EEPROM Replacement/Programming 2.2L.

Circuit Description

A Check Oil telltale lamp is located on the Instrument Panel Cluster (IPC). The lamp will illuminate whenever a low engine oil level condition is detected by the engine oil level switch.

The engine oil level switch is a static style switch. The switch can only determine oil level when the engine is not running. The engine oil level switch contacts are closed whenever the engine oil level is OK. Whenever the oil level falls below a certain level, the contacts inside the oil level switch will open.

The PCM first checks the engine oil level when the ignition is OFF. The PCM will then wait for 10 minutes after the ignition has been turned OFF before determining the engine oil level. This will allow enough time for the oil to drain back into the oil pan. When the ignition is turned ON, and a low oil level condition still exists, the PCM will then send a signal to the IPC to illuminate the Check Oil telltale lamp. Once the ignition is cycled OFF, the PCM will wait for another 10 minute cycle before telling the IPC to illuminate the Check Oil telltale lamp. The PCM will check the engine oil level only once per ignition OFF and once per ignition ON cycle.

The Check Oil lamp will illuminate when:

    • The ignition OFF logic has detected low engine oil level condition.
    • The ignition has been OFF for 10 minutes.
    • The ignition ON logic has detected low engine oil level condition.
    • All the above conditions have been satisfied.

Diagnostic Aids

    • The IPC will illuminate the Check Oil lamp for 3 seconds when the ignition is turned ON to check the bulb. If the Check Oil lamp does not illuminate for 3 seconds and then go out, or is illuminated continuously after several key ON cycles less than 10 minutes apart, refer to Instrument Panel Cluster, Section 8C1 .
    • An Intermittent problem may be caused by a poor connection, rubbed through wire insulation, or a wire that is broken inside the insulation.
    • Any circuitry, that is suspected as causing the intermittent complaint, should be thoroughly checked for the following conditions:
       - Backed out terminals
       - Improper mating
       - Broken locks
       - Damage to the wiring harness

Test Description

Number(s) below refer to the step number(s) on the Diagnostic Table.

  1. The Powertrain OBD System Check prompts the technician to complete some basic checks and store the freeze frame and failure records data on the scan tool if applicable. This creates an electronic copy of the data taken when the fault occurred. The information is then stored on the scan tool for later reference.

  2. A scan tool is necessary to diagnose the engine oil level system. The scan tool will react quickly to oil level changes and due to the nature of the way the engine oil level is checked, does not reflect when the Check Oil lamp is illuminated but rather an actual indication of the engine oil level switch and it's circuitry.

  3. Probing cavity B (CKT 1174) of the engine oil level switch electrical connector simulates the engine oil level as being OK. The scan tool will display oil level as OK while being probed. If the test light illuminates, then the circuit is shorted to voltage or the PCM is faulty.

  4. Disconnecting the engine oil level switch electrical connector simulates a Low engine oil level condition. If the scan tool displays engine oil level as OK, then CKT 1174 is shorted to ground or the PCM is faulty.

  5. Replacement PCM's must be reprogrammed. Refer to the latest Techline information for programming procedures.

  6. If no faults have been found at this point, refer to Diagnostic Aids for additional checks and information.

Oil Level Input

Step

Action

Value(s)

Yes

No

1

Was the Powertrain On-Board Diagnostic (OBD) System Check performed?

--

Go to Step 2

Go to

Powertrain On Board Diagnostic (OBD) System Check 2.4L

Powertrain On Board Diagnostic (OBD) System Check 2.2L

2

Was a DTC P1601 set?

--

Go to

DTC P1601 Serial Communication Malfunction 2.4L

DTC P1601 Serial Communication Malfunction 2.2L

Go to Step 3

3

Check the engine oil level.

Is the engine oil level OK?

--

Go to Step 4

Go to Step 5

4

  1. Turn the ignition switch ON, with the engine OFF.
  2. Install a scan tool.

Does the scan tool indicate the engine oil level as low?

--

Go to Step 6

Go to Step 7

5

Add engine oil.

Is the action complete?

--

Go to Step 4

--

6

  1. Disconnect the engine oil level switch electrical connector.
  2. With a test light connected to ground, probe the oil level signal circuit.

Does the test light illuminate?

--

Go to Step 8

Go to Step 9

7

Disconnect the engine oil level switch electrical connector.

Does the scan tool indicate the engine oil level as low?

--

Go to Step 15

Go to Step 10

8

Check for a short to voltage in the signal circuit and repair as necessary.

Was a repair necessary?

--

Go to Step 16

Go to Step 15

9

Was the engine oil level indicated as OK on the scan tool when the engine oil level signal circuit was probed?

--

Go to Step 11

Go to Step 12

10

Check for a short to ground in the signal circuit and repair as necessary.

Was a repair necessary?

--

Go to Step 16

Go to Step 15

11

Connect the test light to B+ and probe the engine oil level switch ground circuit.

Does the test light illuminate?

--

Go to Step 13

Go to Step 14

12

Check for an open or poor connection in the signal circuit and repair as necessary.

Was a repair necessary?

--

Go to Step 16

Go to Step 15

13

Replace the engine oil level switch.

Is the action complete?

--

Go to Step 16

--

14

Repair the open or poor connection in the engine oil level switch ground circuit.

Is the action complete?

--

Go to Step 16

--

15

Replace the PCM.

Is the action complete?

--

Go to Step 16

--

16

Operate vehicle within the conditions under which the original symptom was noted.

Does the system now operate properly?

--

System OK

Refer to Diagnostic Aids

Go to Step 2

Powertrain Control Module Controlled Warning Lamps Diagnosis Fuel Pump/Oil Pressure Switch


Object Number: 25480  Size: LF
Engine Controls Components
Fuel Controls
OBD II Symbol Description Notice
Handling ESD Sensitive Parts Notice

Diagnosis

    • The following tables will diagnose the oil level switch, the oil pressure switch and the coolant level switch circuits.
    • For diagnosis of the fuel pump circuitry portion of the fuel pump and engine oil level switch, refer to Engine Cranks but Does Not Run 2.4L. Engine Cranks but Does Not Run 2.2L.
    • For diagnosis of the Instrument Panel Cluster (IPC), refer to Section 8A and Section 8C1 .
    • For PCM replacement information, refer to Powertrain Control Module/EEPROM Replacement/Programming 2.4L. Powertrain Control Module/EEPROM Replacement/Programming 2.2L.

Circuit Description

The fuel pump and engine oil pressure indicator switch has two functions. One is to indicate low engine oil pressure and the other is to supply battery voltage to the fuel pump in the event the fuel pump relay fails.

The oil pressure portion of the switch has normally closed contacts that open when oil pressure is greater than 41 kPa (6 psi). The contacts will close when oil pressure is less than 14 kPa (2 psi). When the contacts are closed, the oil pressure signal is sent to the Powertrain Control Module (PCM). The PCM then sends this signal to the Instrument Panel Cluster (IPC) through to illuminate the oil pressure telltale lamp on the IPC.

The fuel pump portion of the switch has normally open contacts that close when oil pressure is greater than 4  kPa (6 psi). The contacts will open when the oil pressure is less than 14 kPa (2 psi). In the event the fuel pump relay fails, battery voltage is supplied to the fuel pump through the closed contacts.

Diagnostic Aids

    • For diagnosis of the fuel pump circuitry portion of the fuel pump and engine oil level switch, refer to Engine Cranks but Does Not Run 2.4L. Engine Cranks but Does Not Run 2.2L, step 25.
    • Low oil level or low oil pressure at times may be caused by an engine mechanical problem. If a low oil pressure problem is suspected, refer to Section 6A .
    • An Intermittent problem may be caused by a poor connection, rubbed through wire insulation, or a wire that is broken inside the insulation.
    • Any circuitry, that is suspected as causing the intermittent complaint, should be thoroughly checked for the following conditions:
       - Backed out terminals
       - Improper mating
       - Broken locks
       - Damage to the wiring harness

Test Description

Number(s) below refer to the step number(s) on the Diagnostic Table.

  1. The Powertrain OBD System Check prompts the technician to complete some basic checks and store the freeze frame and failure records data on the scan tool if applicable. This creates an electronic copy of the data taken when the fault occurred. The information is then stored on the scan tool for later reference.

  2. This step is crucial to prevent possible engine damage due to a low oil condition.

  3. The PCM senses when the oil pressure signal is pulled low by the oil pressure switch. This step will determine if the PCM is able to sense the signal.

  4. When the oil pressure is low, the signal circuit is grounded through the oil pressure switch. This step will determine if the signal is grounded because of the oil pressure switch or a short to ground.

  5. The PCM uses a voltage signal to sense when the oil pressure circuit is pulled low. This step will determine if battery voltage was on this circuit normally or because of a short. When the signal circuit is probed by a test light connected to ground, the oil pressure symbol will illuminate.

  6. If an oil pressure problem is suspected, do not run the engine longer than necessary to avoid possible internal engine damage.

  7. Refer to Section 8C1 for Instrument Panel Cluster (IPC) replacement.

  8. Replacement PCM's must be reprogrammed. Refer to the latest Techline information for programming procedures.

  9. If no faults have been found at this point, refer to Diagnostic Aids for additional checks and information.

Fuel Pump and Engine Oil Pressure Switch

Step

Action

Value(s)

Yes

No

1

Was the Powertrain On-Board Diagnostic (OBD) System Check performed?

--

Go to Step 2

Go to

Powertrain On Board Diagnostic (OBD) System Check 2.4L

Powertrain On Board Diagnostic (OBD) System Check 2.2L

2

Check the engine oil level.

Is the engine oil level OK?

--

Go to Step 3

Go to Step 5

3

Was a DTC P1601 set?

--

Go to

DTC P1601 Serial Communication Malfunction 2.4L

DTC P1601 Serial Communication Malfunction 2.2L

Go to Step 4

4

Turn the ignition switch ON, with the engine OFF.

Does the engine oil pressure telltale lamp illuminate and stay illuminated?

--

Go to Step 6

Go to Step 7

5

Add engine oil.

Is the action complete?

--

Go to Step 4

--

6

Start the engine.

Is the oil pressure telltale lamp illuminated?

--

Go to Step 8

Go to Step 20

7

  1. Disconnect the oil pressure switch electrical connector.
  2. With a DVM connected to ground, probe the oil pressure signal circuit.

Does the DVM read the specified value?

B+

Go to Step 9

Go to Step 10

8

  1. Turn the ignition switch ON, with the engine OFF.
  2. Disconnect the oil pressure switch electrical connector.
  3. With a test light connected to B+, probe the oil pressure signal circuit.

Does the test light illuminate?

--

Go to Step 11

Go to Step 12

9

With a test light connected to ground, probe the oil pressure signal circuit.

Does the test light illuminate?

--

Go to Step 13

Go to Step 14

10

Check for a poor connection or an open in the oil pressure signal circuit and repair as necessary.

Was a repair necessary?

--

Go to Step 20

Go to Step 19

11

Repair the short to ground in the oil pressure signal circuit.

Is the action complete?

--

Go to Step 20

--

12

  1. Install a scan tool.
  2. Reconnect the oil pressure switch electrical connector.
  3. Start the engine.

Does the scan tool indicate low oil pressure?

--

Go to Step 15

Go to Step 16

13

Install a scan tool.

Does the scan tool indicate low oil pressure?

--

Go to Step 16

Go to Step 17

14

Repair the short to B+ in the oil pressure signal circuit.

Is the action complete?

--

Go to Step 20

--

15

Check for a basic engine problem causing low oil pressure (refer to Section 6A ) and repair as necessary.

Was a repair necessary?

--

Go to Step 20

Go to Step 18

16

Replace the IPC.

Is the action complete?

--

Go to Step 20

--

17

Check for a poor connection in the oil pressure signal circuit and repair as necessary.

Was a repair necessary?

--

Go to Step 20

Go to Step 18

18

Replace the fuel pump and engine oil pressure switch.

Is the action complete?

--

Go to Step 20

--

19

Replace the PCM.

Is the action complete?

--

Go to Step 20

--

20

Operate vehicle within the conditions under which the original symptom was noted.

Does the system now operate properly?

--

System OK

Refer to Diagnostic Aids

Go to Step 2

Powertrain Control Module Controlled Warning Lamps Diagnosis Coolant Level Switch


Object Number: 27325  Size: LF
Engine Controls Components
IAC Valve, Generator, TR, Oil, and Coolant Switches
OBD II Symbol Description Notice
Handling ESD Sensitive Parts Notice

Diagnosis

    • The following tables will diagnose the oil level switch, the oil pressure switch and the coolant level switch circuits.
    • For diagnosis of the fuel pump circuitry portion of the fuel pump and engine oil level switch, refer to Engine Cranks but Does Not Run 2.4L. Engine Cranks but Does Not Run 2.2L.
    • For diagnosis of the Instrument Panel Cluster (IPC), refer to Section 8A and Section 8C1 .
    • For PCM replacement information, refer to Powertrain Control Module/EEPROM Replacement/Programming 2.4L. Powertrain Control Module/EEPROM Replacement/Programming 2.2L.

Circuit Description

The coolant level switch is an assembly containing a reed switch and magnetic float. When the coolant level is normal, the float rests away from the reed switch, causing the switch to open. When the coolant level is low, the float rests near the reed switch and the switch closes.

The coolant level switch is mounted in the radiator surge tank. If the coolant level falls below a specified level, the switch closes sending a ground signal to the Powertrain Control Module (PCM). The PCM will then send this signal to the instrument panel cluster (IPC). The IPC will then illuminate the low coolant level telltale lamp.

Diagnostic Aids

    • Quick Test: Disconnect the coolant level switch electrical connector. With a test light connected to ground, probe the signal circuit. This will cause the coolant level indicator to turn ON if the wiring, PCM and IPC are OK.
    • An Intermittent problem may be caused by a poor connection, rubbed through wire insulation.
    • Any circuitry, that is suspected as causing the intermittent complaint, should be thoroughly checked for the following items:
       - Backed out terminals
       - Improper mating
       - Broken locks

Test Description

Number(s) below refer to the step number(s) on the Diagnostic Table.

  1. The Powertrain OBD System Check prompts the technician to complete some basic checks and store the freeze frame and failure records data on the scan tool if applicable. This creates an electronic copy of the data taken when the fault occurred. The information is then stored on the scan tool for later reference.

  2. The coolant level switch cannot be removed from the surge tank. Draining the coolant from the tank will check if the switch can detect an empty tank and also check the PCM and wiring.

  3. A test light is used to determine if the coolant level telltale lamp is remaining ON because of a shorted signal circuit, a faulty PCM, or a faulty IPC. If the test light is ON, then the signal circuit is shorted to ground.

  4. This simulates a normal coolant level. If the telltale lamp turns OFF when the coolant level switch is disconnected, then the PCM, the IPC and the wiring are OK.

  5. The PCM uses a voltage signal to sense when the coolant signal circuit is pulled low by the coolant switch. If voltage is not present on this the signal circuit, then the circuit is open, or connections or the PCM are faulty.

  6. This will determine that the battery voltage seen on the signal circuit was from the PCM and not a wire shorted to voltage.

  7. The PCM sends coolant level information through serial data to the IPC. If the scan tool indicates a low coolant level when the coolant level switch electrical connector disconnected, then the PCM is faulty.

  8. Replacement PCM's must be reprogrammed. Refer to the latest Techline information for programming procedures.

  9. If no faults have been found at this point and no additional DTC's were set, refer to Diagnostic Aids for additional checks and information.

Coolant Level Switch

Step

Action

Value(s)

Yes

No

1

Was the Powertrain On-Board Diagnostic (OBD) System Check performed?

--

Go to Step 2

Go to

Powertrain On Board Diagnostic (OBD) System Check 2.4L

Powertrain On Board Diagnostic (OBD) System Check 2.2L

2

Was a DTC P1601 set?

--

Go to

DTC P1601 Serial Communication Malfunction 2.4L

DTC P1601 Serial Communication Malfunction 2.2L

Go to Step 3

3

Turn the ignition switch ON, with the engine OFF.

Did the coolant level telltale lamp on the instrument panel cluster turn ON for about 3 seconds and then turn OFF?

--

Go to Step 4

Go to Step 5

4

Drain the coolant from the surge tank.

Did coolant level telltale on instrument panel cluster turn ON?

--

Go to Step 20

Go to Step 6

5

Check the coolant level in the surge tank.

Is the coolant level OK?

--

Go to Step 7

Go to Step 8

6

  1. Disconnect the coolant level switch electrical connector from the switch.
  2. With a test light connected to B+, probe the engine coolant level switch ground circuit.

Does the test light illuminate?

--

Go to Step 9

Go to Step 10

7

Disconnect the coolant level switch electrical connector.

Is the coolant level indicator lamp illuminated?

--

Go to Step 11

Go to Step 17

8

Fill the surge tank.

Is the action complete?

--

Go to Step 2

--

9

With a DVM connected to ground, probe the coolant level switch signal circuit.

Does the DVM read the specified value?

B+

Go to Step 12

Go to Step 13

10

Repair the poor connection or open coolant level switch ground circuit.

Is the action complete?

--

Go to Step 20

--

11

With a test light connected to B+, probe the coolant level indicator switch signal circuit.

Does the test light illuminate?

--

Go to Step 14

Go to Step 15

12

With a test light connected to ground, probe the coolant level indicator switch signal circuit.

Does the test light illuminate?

--

Go to Step 16

Go to Step 17

13

Check for a poor connection or open coolant level switch signal circuit and repair as necessary.

Was a repair necessary?

--

Go to Step 20

Go to Step 19

14

Check for a short to ground in the coolant level switch signal circuit and repair as necessary.

Was a repair necessary?

--

Go to Step 20

Go to Step 19

15

Install a scan tool.

Is the coolant level indicated as low?

--

Go to Step 19

Go to Step 18

16

Check for a short to B+ in the coolant level switch signal circuit and repair as necessary.

Was a repair necessary?

--

Go to Step 20

Go to Step 19

17

Replace the engine coolant level switch.

Is the action complete?

--

Go to Step 20

--

18

Replace the IPC.

Is the action complete?

--

Go to Step 20

--

19

Replace the PCM.

Is the action complete?

--

Go to Step 20

--

20

Operate vehicle within the conditions under which the original symptom was noted.

Does the system now operate properly?

--

System OK

Refer to Diagnostic Aids

Go to Step 2