GM Service Manual Online
For 1990-2009 cars only

Cross-Flow Radiator Core and Outlet and Inlet Tanks


Object Number: 11677  Size: SH

These models have an aluminum, cross-flow design core (1). The core uses a stack of horizontal tubes (2) that resist plugging. The cooling fins (3) surround these tubes. The top and bottom ribs strengthen the assembly. The saw-cut in each strengthening rib allows for expansion during temperature changes.

The inlet and the outlet tanks are molded from high-temperature, nylon reinforced plastic. A high-temperature rubber gasket seals the tank flange around the edge. The inlet and the outlet tanks are clamped to the right side and the left side of the core with clinch tabs. These tabs are part of the aluminum header at each end of the core. Radiators used with automatic transmissions have transmission oil coolers with inlet and outlet fittings for transmission fluid circulation.

You can identify an aluminum-plastic radiator by the black plastic side tanks and an aluminum radiator core.

Transaxle Fluid Cooler

All models, equipped with an automatic transaxle, use a transaxle fluid cooler in the right end tank of the radiator. This cools the automatic transaxle fluid which flows through the cooler.

Radiator Drain Cock

The radiator drain cock is on the bottom, left side of the radiator end tank. The drain cock includes the drain cock and the drain cock seal. Use the drain cock when you drain the coolant.

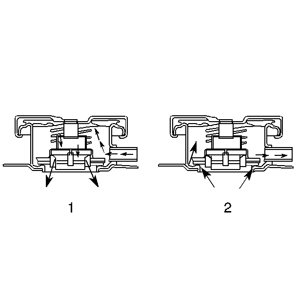
Radiator Surge Tank Pressure Cap


Object Number: 11660  Size: SH

The surge tank uses a pressure-vent cap to allow a buildup of 103 kPa (15 psi) in the cooling system. The cap allows the system to operate at a higher-than-atmospheric pressure. This pressure raises the boiling point of the coolant to about 125°C (262°F) at sea level.

The pressure-type cap contains a blowoff (pressure) valve (2) and a vacuum (atmospheric) valve (1). The cap protects the radiator by relieving any pressure that exceeds 103 kPa (15 psi).

In order to prevent radiator collapse, caused by vacuum as the engine cools, the vacuum valve prevents excessive pressure differences from occurring between the cooling system and the atmosphere.

The surge tank cap has a new threaded design to allow for easier and safer removal. In order to safely remove the cap from a cool system, do the following steps:

    Caution: With a pressurized cooling system, the coolant temperature in the radiator can be considerably higher than the boiling point of the solution at atmospheric pressure. Removal of the surge tank cap, while the cooling system is hot and under high pressure, causes the solution to boil instantaneously with explosive force. This will cause the solution to spew out over the engine, the fenders, and the person removing the cap. Serious bodily injury may result.

  1. Slowly rotate the cap counterclockwise ¼ turn and then stop, do not press down.
  2. Allow any residual pressure, indicated by a hissing sound, to be relieved.
  3. After the hissing stops, continue to rotate the cap counterclockwise until the cap is removed.

There is no specific orientation of the lettering on the cap versus the cap being tight. To retighten the cap, use hand tight pressure.