GM Service Manual Online
For 1990-2009 cars only

Tools Required

    • J 41231 Inner Seal Installer
    • J 23327 Return Spring Compressor

    Object Number: 20839  Size: SH
  1. Assemble a new inner seal assembly (608) if the old seal was damaged and removed. Use an arbor press and the J 41231 in order to press the inner seal assembly onto the forward clutch housing (609).

  2. Object Number: 20838  Size: SH
  3. Assemble the forward clutch piston assembly (607) into the forward clutch housing (609). In order to ease assembly, lubricate the seals with transmission fluid.
  4. With the snap ring tabs facing up, assemble the forward clutch return spring assembly (606) into the forward clutch housing (609).

  5. Object Number: 20245  Size: SH

    Notice: Compress the return spring (606) only enough to install the snap ring (605), or damage may occur to the spring assembly (606).

  6. Compress the return spring assembly. Use the J 23327 .
  7. Assemble the snap ring (605) in order to retain the forward clutch return spring.
  8. Remove the J 23327 .

  9. Object Number: 20243  Size: SH
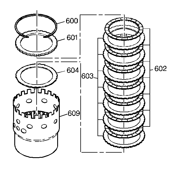
  10. Install the forward clutch waved plate (604.
  11. Install the seven steel plates (603) and the seven new fiber plates (602) in alternating order beginning with a steel plate (603).
  12. Install the forward clutch backing plate (601).
  13. Install the forward clutch backing plate snap ring (600) in order to retain the clutch pack.