GM Service Manual Online
For 1990-2009 cars only
Figure 1:

Oil Pump Assembly


Object Number: 20843  Size: LF
(200)Oil Pump Bearing and Seal Assembly
(201)Oil Pump Base
(202)Oil Pump Vane Ring
(202)Oil Pump Vane Ring
(203)Oil Pump Vane
(204)Oil Pump Rotor
(205)Pivot Pin (Oil Pump Slide)
(206)Oil Pump Slide
(207)Oil Pump Slide Seal Support
(208)Oil Pump Slide Seal
(209)O-Ring Seal (Oil Pump Slide)
(210)Fluid Seal Ring (Slide to Body)
(212)Oil Pump Priming Spring
(213)Locating Pin
(214)Pressure Relief Ball
(215)Pressure Relief Spring
(216)Oil Pump Body
(217)Pump Cover
Figure 2:

Control Valve Body Assembly


Object Number: 20844  Size: LF
(300)Control Valve Assembly Body
(300)Control Valve Assembly Body
(301)1-2 Shift Valve Spring
(302)1-2 Shift Valve
(303) Shift Solenoid A and B O-Ring
(303) Shift Solenoid A and B O-Ring
(304)Retainer Clip
(304)Retainer Clip
(304)Retainer Clip
(304)Retainer Clip
(304)Retainer Clip
(304)Retainer Clip
(304)Retainer Clip
(304)Retainer Clip
(304)Retainer Clip
(304)Retainer Clip
(304)Retainer Clip
(304)Retainer Clip
(304)Retainer Clip
(305)Shift (A and B) Solenoid
(305)Shift (A and B) Solenoid
(306)2-3 Shift Valve Spring
(307) 2-3 Shift Valve
(308)Torque Signal Regulator Valve Spring
(309)Torque Signal Regulator Valve
(310)Pressure Control Solenoid O-Ring
(311)Pressure Control Solenoid O-Ring
(312)Pressure Control Solenoid
(313)Actuator Oil Filter O-Ring
(314) Actuator Oil Filter
(315)Actuator Feed Limit Valve
(316)Actuator Feed Limit Valve Spring
(317)Bore Plug
(317)Bore Plug
(317)Bore Plug
(317)Bore Plug
(317)Bore Plug
(318)3-4 Shift Valve Spring
(319) 3-4 Shift Valve
(320)3-4 Shift Valve Plug O-Ring
(321)Bore Plug
(322)1-2/3-4 Accumulator Valve Spring
(323) 1-2/3-4 Accumulator Valve
(324)Pressure Regulator Boost Bushing
(325)Pressure Regulator Boost Valve
(326) Isolator Spring
(327)Pressure Regulator Valve Spring
(328)Pressure Regulator Valve
(329)2-3 Accumulator Valve Spring
(330)2-3 Accumulator Valve
(331)TCC Feed Limit Valve Spring
(332)TCC Feed Limit Spring
(333) TCC Control Valve Spring
(334)TCC Control Valve
(335)TCC Control Solenoid
(337)TCC Control Solenoid O-Ring
(338)TCC Control Solenoid O-Ring
(339)TCC Regulated Apply Valve
(340)TCC Regulated Apply Valve Spring
Figure 3:

Driven Sprocket Support Assembly/2nd Clutch


Object Number: 20845  Size: MF
(400)Driven Sprocket Support Bearing
(401)Driven Sprocket Support
(402)Driven Sprocket Support Bushing
(403)Oil Seal Ring
(404)2nd Clutch Piston Assembly
(405)2nd Clutch Spring Assembly
(406)2nd Clutch Spring Retaining Ring
Figure 4:

Reverse Input Clutch Assembly


Object Number: 20846  Size: MF
(450)2nd Roller Clutch Retainer
(451)2nd Roller Clutch Cam
(452)2nd Roller Clutch Assembly
(453)Reverse Clutch Bushing
(454) Reverse Clutch Housing
(455)Reverse Clutch Bushing
(456)Reverse Clutch Center Retainer and Seal Assembly
(457)Reverse Clutch Piston Assembly
(458)Reverse Clutch Spring and Retainer Assembly
(459)Snap (Reverse Clutch Spring Retainer) Ring
(460) Reverse Clutch (Waved) Plate
(461)Reverse Clutch (Steel) Plate
(462)Reverse Clutch (Fiber) Plate
(463)Reverse Clutch (Backing) Selective Plate
(464)Snap (Reverse Clutch) Ring
Figure 5:

Direct and Coast Clutch Assemblies


Object Number: 20847  Size: MF
(500)Input Shaft Oil Seal Ring
(501)Input Shaft Bushing
(502)Direct and Coast Clutch and Input Shaft Housing
(503)Direct Clutch Housing to Output Shaft Bushing
(504)Coast Clutch Piston Assembly
(505)Coast Clutch Release Spring
(506)Coast Clutch Spring Retainer
(507)Snap Ring (Coast Clutch Spring Retainer)
(508)Coast Clutch Plate (Steel)
(509)Coast Clutch Plate (Fiber)
(510)Thrust Bearing
(511)Input Sun Gear Shaft and Inner Race Assembly
(512)Outer Race (Input Sprag)
(514)Sprag Clutch End Bearings (2)
(514)Sprag Clutch End Bearings (2)
(515)Input Sprag Assembly
(516)Snap Ring (Outer Race to Sprag Assembly)
(517)Snap Ring (Direct/Coast Clutch Retaining)
(518)Direct Clutch Piston Assembly
(519)Direct Clutch Spring and Retainer Assembly
(520)Direct Clutch Spring Retainer Ring
(521)Direct Clutch Plate (Steel)
(522)Direct Clutch Plate (Fiber)
(523)Direct Clutch Plate (Backing)
(524)Thrust Bearing
(525)Reaction Carrier Shaft Bushing
(526)Reaction Carrier Shaft Shell
(527)Thrust Bearing (Carrier Shaft to Shell)
(528)Reaction Sun Gear Bushing
(529)Reaction Sun Shell
(531)Reaction Carrier Assembly
(532)Thrust Bearing (Reaction Carrier to Sun Gear)
(533)Input Sun Gear
(534)Snap Ring
Figure 6:

Reaction Carrier Assembly


Object Number: 20848  Size: SF
(550)Reaction Carrier
(551)Thrust Bearing
(552)Planetary Pinion Gear Pin
(553)Pinion Thrust Reaction Washer
(553)Pinion Thrust Reaction Washer
(554)Pinion Thrust Inner Washer
(554)Pinion Thrust Inner Washer
(555)Roller Needle Bearing
(556)Reaction Planetary Pinion Gear
Figure 7:

Input Carrier Assembly


Object Number: 20849  Size: MF
(560)Internal Gear (Input and Reaction)
(561)Thrust Bearing
(562)Input Carrier
(563)Snap Ring (Input Carrier to Internal Gear)
(564)Planetary Pinion Gear Pin
(565)Pinion Thrust Input Washer
(565)Pinion Thrust Input Washer
(566)Pinion Thrust Inner Washer
(566)Pinion Thrust Inner Washer
(567)Roller Needle Bearing
(568)Input Planetary Pinion Gear
Figure 8:

Input Internal Gear and Forward Clutch Hub


Object Number: 20850  Size: SF
(560)Internal Gear (Input and Reaction)
(575)Input Flange Bushing
(577)Input Flange and Forward Clutch Hub
(578)Snap Ring (Input Internal Gear to Input Flange)
Figure 9:

Forward Clutch Assembly


Object Number: 20851  Size: LF
(600)Snap Ring (Forward Clutch)
(601)Forward Clutch Plate (Backing)
(602)Forward Clutch Plate (Fiber)
(603)Forward Clutch Plate (Steel)
(604)Forward Clutch Plate (Waved)
(605)Snap Ring (Forward Clutch Spring Assembly)
(606)Forward Clutch Return Spring Assembly
(607)Forward Clutch Piston Assembly
(608)Forward Clutch Inner Seal and Sleeve Assembly
(609)Forward Clutch Housing
(610)Forward Clutch Support Bushing
(611)Forward Clutch Support Bushing
Figure 10:

Forward Clutch Support Assembly


Object Number: 20852  Size: MF
(650)Final Drive Sun Shaft Bushing
(651)Final Drive Sun Shaft
(652)Lo Roller Clutch Assembly
(654)Oil Seal Ring (Forward Clutch Support)
(656)Forward Clutch Support
(658)Thrust Bearing (Forward Support to Park Gear)
(659)Park Lock Gear
(660)Snap Ring (Final Drive Sun Shaft)
(661)Parking Lock Pawl Shaft
(662)Parking Lock Pawl Return Spring
(663)Parking Lock Pawl
Figure 11:

Final Drive and Differential Assembly


Object Number: 20853  Size: MF
(115)Sun Gear (Final Drive)
(700)Thrust Bearing
(701)Spiral Pin Retaining Ring
(702)Differential and Final Drive Carrier
(703)Differential Pinion Shaft
(704)Differential Pinion Shaft Retaining Pin
(705)Speed Sensor Rotor
(706)Thrust Washer (Differential Pinion)
(706)Thrust Washer (Differential Pinion)
(707)Differential Pinion Gear
(707)Differential Pinion Gear
(708)Thrust Washer (Differential Side Gear)
(708)Thrust Washer (Differential Side Gear)
(709)Differential Side Gear
(709)Differential Side Gear
(710)Pinion Thrust Washer
(710)Pinion Thrust Washer
(711)Pinion Gear (Final Drive Planetary)
(712)Roller Needle Bearing
(713)Pinion Needle Bearing Spacer
(714)Planetary Pinion Gear Pin
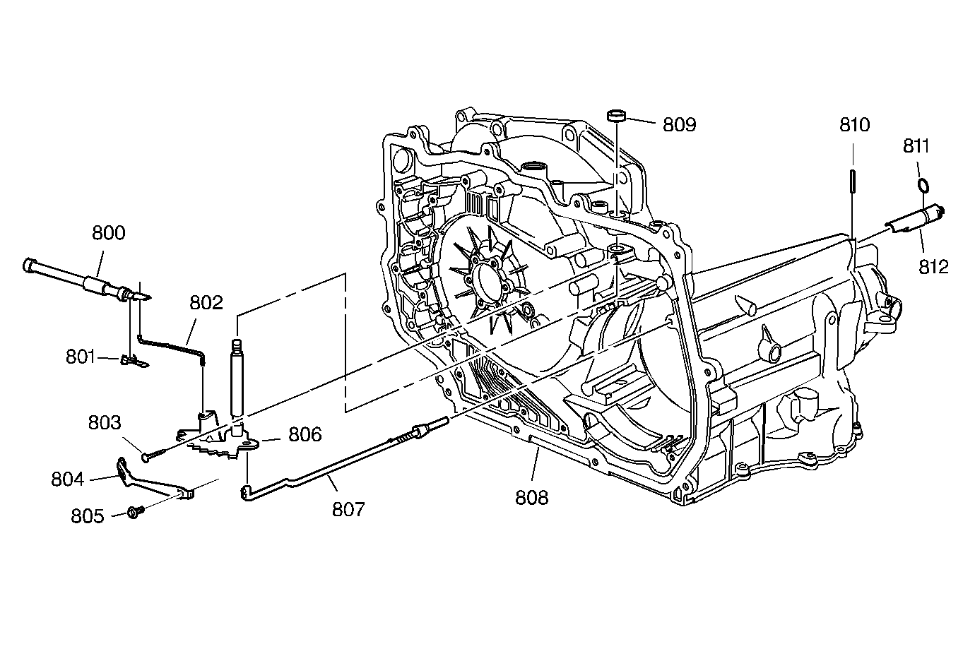
Figure 12:

Manual Shaft, Parking Panel and Actuator Assembly


Object Number: 20854  Size: MF
(51)
(800)Manual Valve
(801)Manual Valve-to-Link Clip
(802)Manual Valve-to-Detent Lever Link
(803)Manual Shaft-to-Case Pin
(804) Manual Detent Spring and Roller Assembly
(805)Spring and Roller Assembly-to-Channel Plate Bolt
(806) Manual Shaft and Detent Lever Assembly
(807)Parking Lock Actuator Assembly
(809)Manual Shaft-to-Case Seal
(810) Spring (Actuator Guide) Pin
(811)Actuator Guide Seal
(812)Actuator Guide
Figure 13:

Case & Associated Parts (1 of 3)


Object Number: 20857  Size: MF
(1)Side Cover (Structural)
(2)Axle Oil Seal
(3)Side Cover Bolt
(4)Side Cover Stud
(5)Side Cover Gasket
(6)Side Cover Oil Level Control Gasket
(7) Thrust (Side Cover to Driven Sprocket) Washer
(8)Oil Pump Bolt
(9)Oil Pump Bolt
(10)Transmission Oil Pump Assembly
(11)Tranmission Wiring Assembly
(12) Pressure Switch Assembly Bolt
(13)Pressure Switch Assembly (PSA)
(15)Wiring Harness Bracket Bolt/Input Speed Sensor Bolt
(51)Transmission Case
(52)Vent Cap
(55)Torque Converter Assembly
(61)Output Speed Sensor Stud
(62)Output Speed Sensor
(63) O-Ring (Output Speed Sensor) Seal
(64)Band Anchor-Lo/Reverse Pin
(65)Oil Level Control Plug
(81) Tube Assembly Bolt/ Bottom Pan Bolt
(84)Transmission Oil Filter Seal
(85)Transmission Oil Filter Assembly
(86) Oil Level Control Valve
(87)Transmission Bottom Pan Gasket
(88)Transmission Oil Pan
(89)Chip Collector Magnet
Figure 14:

Case & Associated Parts (2 of 3)


Object Number: 20858  Size: LF
(16)Valve Body Bolt
(17)Filter
(18)Control Valve Body Assembly
(19)Oil Pump Drive Shaft
(20)Spacer Plate Support Bolt
(21)Spacer Plate Support
(22)Valve Body to Spacer Plate Gasket
(23)Valve Body Spacer Plate
(24)Spacer Plate to Channel Plate Gasket
(25)Channel Plate Bolt/Servo Cover Bolt
(25)Channel Plate Bolt/Servo Cover Bolt
(25) Channel Plate Bolt/Servo Cover Bolt
(26)Checkballs
(27)Channel Plate
(28)Case To Channel Plate Gasket
(29)Accumulator Piston (1-2, 2-3, and 3-4)
(29)Accumulator Piston (1-2, 2-3, and 3-4)
(29)Accumulator Piston (1-2, 2-3, and 3-4)
(30)Accumulator Piston Seal (1-2, 2-3, and 3-4)
(30)Accumulator Piston Seal (1-2, 2-3, and 3-4)
(30)Accumulator Piston Seal (1-2, 2-3, and 3-4)
(31)1-2 Accumulator Piston Spring
(32)2-3 and 3-4 Accumulator Piston Spring
(32)2-3 and 3-4 Accumulator Piston Spring
(45)Dowel (Channel Plate to Case) Pin
(47)Spring 1-2 and 2-3 Accumulator Piston Cushion
(48)Line Pressure Tap Plug
(49)Cooler Pipe Seal
(51)Transmission Case
(66)Servo Return (Lo/Reverse) Spring
(67) Servo Apply (Lo/Reverse) Pin
(68)Servo Cushion Spring
(68)Servo Cushion Spring
(69)Servo (Lo/Reverse) Piston
(70)Servo Snap Ring
(70) Servo Snap Ring
(71)Servo Piston (Lo/Reverse) Seal
(72)Servo Cover (Lo/Reverse) Seal
(73)Servo (Lo/Reverse) Cover
(75)Servo Return (Intermediate/4th) Spring
(76)Servo Apply (Intermediate/4th) Pin
(77)Servo (Intermediate/4th) Piston
(78) Servo Piston (Intermediate/4th) Seal
(79)Servo Cover (Intermediate/4th) Seal
(80)Servo (Intermediate/4th) Cover
(81)Tube Assembly Bolt/Bottom Pan Bolt
(81)Tube Assembly Bolt/Bottom Pan Bolt
(81)Tube Assembly Bolt/Bottom Pan Bolt
(82)Oil Feed Tube Assembly Seal
(82)Oil Feed Tube Assembly Seal
(82)Oil Feed Tube Assembly Seal
(82d) Oil Feed Tube Assembly Seal
(83)Oil Feed Tube Assembly
Figure 15:

Case and Associated Parts (3 of 3)


Object Number: 20859  Size: LF
(2)Axle Oil Seal
(15)Wiring Harness Bracket Bolt/Input Speed Sensor Bolt
(33) Turbine Shaft To Drive Sprocket Ring
(34)Washer Thrust Channel Plate to Drive Sprocket
(35)Snap (Turbine Shaft To Drive Sprocket) Ring
(36)Drive Link Assembly
(37) Drive Sprocket
(38)Thrust (Drive Sprocket to Support) Washer
(39)Turbine Shaft
(40)Turbine Shaft to Support Seal
(41)O-ring Seal (Torque Converter)
(42) Drive Sprocket Support Bearing
(43)Drive Sprocket Support
(44)Drive Sprocket Support Bushing
(45)Dowel Pin (Channel Plate to Case)
(46) Input Speed Sensor
(48)Line Pressure Tap Plug
(49)Cooler Pipe Seal
(51)Transmission Case
(52)Vent Cap
(53)Drive Sprocket Support Screw
(54)Converter Seal
(56)Output/Stub Shaft Sleeve
(56)Output/Stub Shaft Sleeve
(57)Output/Stub Shaft Snap Ring
(57)Output/Stub Shaft Snap Ring
(57)Output/Stub Shaft Snap Ring
(58) Output Stub Shaft
(60)Case To Final Drive Bushing
(91)Driven Sprocket
(92)Thrust (Driven Sprocket to Support) Washer
(94) Output Shaft
(95) Driven Sprocket Support Assembly
(96)2nd Clutch Waved Plate
(97)2nd Clutch Steel Plate
(98)2nd Clutch Fiber Plate
(99)2nd Clutch Backing Plate
(100)Intermediate/4th Band
(101)Thrust (Support To Reverse Input Clutch) Washer
(102)Reverse Input Clutch Assembly
(103) Thrust Bearing
(104)Thrust (Selective) Washer
(105)Direct & Coast Clutch Assembly
(106)Input Carrier Assembly
(107) Thrust Bearing
(108)Input Flange & Forward Clutch Hub Assembly
(109)Thrust Washer
(110)Forward Clutch Assembly
(111) Lo/Reverse Band
(112)Snap Ring (Foward Clutch Support to Case)
(113)Thrust Bearing
(114)Forward Clutch Support Assembly
(115) Sun Gear (Final Drive)
(116)Differential and Final Drive Assembly
(117)Thrust Bearing
(118)Final Drive Internal Gear
(119)Fretting Internal Gear to Case Ring
Figure 16:

Valve Body-to-Spacer Plate Gasket


Object Number: 20904  Size: LF
(1)Suction
(2)Line
(2)Line
(2)Line
(2)Line
(2)Line
(2)Line
(3) Decrease
(4) Converter Feed
(4) Converter Feed
(5) TCC Feed Limit
(5) TCC Feed Limit
(5) TCC Feed Limit
(5) TCC Feed Limit
(6) Release
(6) Release
(7) Apply
(8) Cooler
(10) Lube 2
(10) Lube 2
(10) Lube 2
(11) PRN
(11) PRN
(13) PRND4
(13) PRND4
(14) Actuator Feed
(14) Actuator Feed
(14) Actuator Feed
(14) Actuator Feed
(14) Actuator Feed
(14) Actuator Feed
(17) 2-3 Signal
(17) 2-3 Signal
(17) 2-3 Signal
(18)Torque Signal
(18)Torque Signal
(18)Torque Signal
(18)Torque Signal
(20)1-2/3-4 Accumulator
(20)1-2/3-4 Accumulator
(20)1-2/3-4 Accumulator
(20)1-2/3-4 Accumulator
(20)1-2/3-4 Accumulator
(21)1-2 Accumulator Feed
(21)1-2 Accumulator Feed
(22)3-4 Accumulator Feed
(22)3-4 Accumulator Feed
(23) 2-3 Accumulator
(24)2-3 Accumulator Feed
(24)2-3 Accumulator Feed
(25)Reverse
(25)Reverse
(25)Reverse
(25)Reverse
(25)Reverse
(27)Lo Band
(27)Lo Band
(27)Lo Band
(28)Drive
(28)Drive
(30)2-3 Drive
(30)2-3 Drive
(30)2-3 Drive
(30)2-3 Drive
(30)2-3 Drive
(31)Filtered 2-3 Drive
(32)2nd Clutch
(32)2nd Clutch
(32)2nd Clutch
(33) TCC Signal (PWM)
(33) TCC Signal (PWM)
(34)TCC Regulated Apply
(34)TCC Regulated Apply
(35)3-4 Drive
(35)3-4 Drive
(36)Direct Clutch Feed
(36)Direct Clutch Feed
(36)Direct Clutch Feed
(38)4th Band
(38)4th Band
(39)D321
(39)D321
(39)D321
(39)D321
(40)Coast Clutch
(41)D21
(42)Intermediate Band Feed
(42)Intermediate Band Feed
(42)Intermediate Band Feed
(43)Intermediate Band
(43)Intermediate Band
(43)Intermediate Band
(43)Intermediate Band
(44) Lo
(44) Lo
(44) Lo
(45)Exhaust
(45)Exhaust
(45)Exhaust
(45)Exhaust
(46) Orificed Exhaust
(46) Orificed Exhaust
(47)Void
(47)Void
Figure 17:

Channel Plate Fluid Passages (Case Side)


Object Number: 20900  Size: MF
(1)Suction
(1)Suction
(2)Line
(3)Decrease
(8)Cooler
(9)Lube 1
(9)Lube 1
(9)Lube 1
(10)Lube 2
(21)1-2 Accumulator Feed
(22)3-4 Accumulator Feed
(24)2-3 Accumulator Feed
(25)Reverse
(25)Reverse
(27)Lo Band
(28)Drive
(32)2nd Clutch
(32)2nd Clutch
(36)Direct Clutch Feed
(37)Direct Clutch
(38)4th Band
(38)4th Band
(40)Coast Clutch
(43)Intermediate Band
(45)Exhaust
(45)Exhaust
(45)Exhaust
(45)Exhaust
(47)Void
(47)Void
(47)Void
Figure 18:

Ease Passages - Channel Plate Side


Object Number: 20898  Size: MF
(1)Suction
(1)Suction
(2)Line
(8) Cooler
(9) Lube 1
(9) Lube 1
(9) Lube 1
(10) Lube 2
(10) Lube 2
(24)Direct Clutch Feed
(24)Direct Clutch Feed
(25)Reverse
(25)Reverse
(25)Reverse
(27)Lo Band
(27)Lo Band
(28)Drive
(28)Drive
(32)2nd Clutch
(32)2nd Clutch
(37)Direct Clutch
(38)4th Band
(38)4th Band
(38)4th Band
(38)4th Band
(40)Coast Clutch
(43)Intermediate Band
(43)Intermediate Band
(45)Exhaust
(47)Void
(47)Void
Figure 19:

Case Fluid Passages - Bottom


Object Number: 20897  Size: LF
(1)Suction
(10)Lube 2
(10)Lube 2
(25)Reverse
(25)Reverse
(27)Lo Band
(27)Lo Band
(29)Forward Clutch
(29)Forward Clutch
(38)4th Band
(43)Intermediate Band
(47)Void
(47)Void
(47)Void
(48)Oil Level Control
(48)Oil Level Control
Figure 20:

Spacer Plate-to-Channel Plate Gasket


Object Number: 20902  Size: LF
(1)Suction
(2)Line
(2)Line
(2)Line
(2)Line
(2)Line
(2)Line
(2)Line
(3)Decrease
(4)Converter Feed
(4)Converter Feed
(5)TCC Feed Limit
(5)TCC Feed Limit
(5)TCC Feed Limit
(5)TCC Feed Limit
(6)Release
(6)Release
(6)Release
(7)Apply
(8)Cooler
(10)Lube 2
(10)Lube 2
(10)Lube 2
(11)PRN
(12)LO/PRN
(12)LO/PRN
(13)PRND4
(13)PRND4
(14)Actuator Feed
(14)Actuator Feed
(14)Actuator Feed
(14)Actuator Feed
(14)Actuator Feed
(14)Actuator Feed
(17)2-3 Signal
(17)2-3 Signal
(17)2-3 Signal
(18)Torque Signal
(18)Torque Signal
(18)Torque Signal
(18)Torque Signal
(18)Torque Signal
(20)1-2/3-4 Accumulator
(20)1-2/3-4 Accumulator
(20)1-2/3-4 Accumulator
(20)1-2/3-4 Accumulator
(20)1-2/3-4 Accumulator
(20)1-2/3-4 Accumulator
(21)1-2 Accumulator Feed
(22) 3-4 Accumulator Feed
(23)2-3 Accumulator
(23)2-3 Accumulator
(23)2-3 Accumulator
(24)2-3 Accumulator Feed
(25)Reverse
(25)Reverse
(25)Reverse
(25)Reverse
(25)Reverse
(27)LO Band
(27)LO Band
(27)LO Band
(28)Drive
(28)Drive
(30)2-3 Drive
(30)2-3 Drive
(30)2-3 Drive
(30)2-3 Drive
(30)2-3 Drive
(30)2-3 Drive
(30)2nd Clutch
(32)2nd Clutch
(32)2nd Clutch
(33)TCC Signal (PWM)
(33)TCC Signal (PWM)
(34)TCC Regulated Apply
(34)TCC Regulated Apply
(35)3-4 Drive
(35)3-4 Drive
(35)3-4 Drive
(35)3-4 Drive
(36)Direct Clutch Feed
(37)Direct Clutch
(38)4th Band
(38)4th Band
(39)D321
(39)D321
(39)D321
(39)D321
(40)Coast Clutch
(41)D21
(41)D21
(42)Intermediate Band Feed
(42)Intermediate Band Feed
(43)Intermediate Band
(43)Intermediate Band
(43)Intermediate Band
(43)Intermediate Band
(43)Intermediate Band
(44) LO
(44) LO
(44) LO
(44) LO
(45)Exhaust
(45)Exhaust
(45)Exhaust
(45)Exhaust
(46) Orificed Exhaust
(46) Orificed Exhaust
Figure 21:

Channel Plate to Case Gasket


Object Number: 20899  Size: MF
(1)Suction
(1)Suction
(2)Line
(8)Cooler
(9)Lube 1
(10)Lube 2
(10)Lube 2
(24)2-3 Accumulator Feed
(24)2-3 Accumulator Feed
(25)Reverse
(25)Reverse
(27)Lo Band
(27)Lo Band
(28)Drive
(28)Drive
(32)2nd Clutch
(38)4th Band
(38)4th Band
(38)4th Band
(43)Intermediate Band
(43)Intermediate Band
(45)Exhaust
(47)Void
(47)Void
(47)Void
Figure 22:

Spacer Plate


Object Number: 20903  Size: LF
(1)Suction
(2)Line
(2)Line
(2)Line
(2)Line
(2)Line
(2)Line
(2)Line
(3)Decrease
(4)Converter Feed
(4)Converter Feed
(5)TCC Feed Limit
(5)TCC Feed Limit
(5)TCC Feed Limit
(5)TCC Feed Limit
(6)Release
(6)Release
(6)Release
(7)Apply
(8)Cooler
(10)Lube 2
(10)Lube 2
(10)Lube 2
(11)PRN
(11)PRN
(12)LO/PRN
(12)LO/PRN
(12)LO/PRN
(13)PRND4
(13)PRND4
(14)Actuator Feed
(14)Actuator Feed
(14)Actuator Feed
(14)Actuator Feed
(14)Actuator Feed
(14)Actuator Feed
(17)2-3 Signal
(17)2-3 Signal
(17)2-3 Signal
(18)Torque Signal
(18)Torque Signal
(18)Torque Signal
(18)Torque Signal
(18)Torque Signal
(20)1-2/3-4 Accumulator
(20)1-2/3-4 Accumulator
(20)1-2/3-4 Accumulator
(20)1-2/3-4 Accumulator
(20)1-2/3-4 Accumulator
(20)1-2/3-4 Accumulator
(20)1-2/3-4 Accumulator
(20)1-2/3-4 Accumulator
(21)1-2 Accumulator Feed
(21)1-2 Accumulator Feed
(21)1-2 Accumulator Feed
(22) 3-4 Accumulator Feed
(22) 3-4 Accumulator Feed
(22) 3-4 Accumulator Feed
(23)2-3 Accumulator
(23)2-3 Accumulator
(23)2-3 Accumulator
(23)2-3 Accumulator
(24)2-3 Accumulator Feed
(24)2-3 Accumulator Feed
(24)2-3 Accumulator Feed
(25)Reverse
(25)Reverse
(25)Reverse
(25)Reverse
(25)Reverse
(27)LO Band
(27)LO Band
(27)LO Band
(28)Drive
(28)Drive
(28)Drive
(30)2-3 Drive
(30)2-3 Drive
(30)2-3 Drive
(30)2-3 Drive
(30)2-3 Drive
(30)2-3 Drive
(30)2-3 Drive
(30)2-3 Drive
(31)Filtered 2-3 Drive
(32) 2nd Clutch
(32) 2nd Clutch
(32) 2nd Clutch
(32) 2nd Clutch
(33) TCC Signal (PWM)
(33) TCC Signal (PWM)
(34)TCC Regulated Apply
(34)TCC Regulated Apply
(35)3-4 Drive
(35)3-4 Drive
(35)3-4 Drive
(35)3-4 Drive
(36)Direct Clutch Feed
(36)Direct Clutch Feed
(36)Direct Clutch Feed
(36)Direct Clutch Feed
(36)Direct Clutch Feed
(37)Direct Clutch
(37)Direct Clutch
(38)4th Band
(38)4th Band
(39)D321
(39)D321
(39)D321
(39)D321
(40)Coast Clutch
(41)D21
(42)Intermediate Band Feed
(42)Intermediate Band Feed
(42)Intermediate Band Feed
(42)Intermediate Band Feed
(43) Intermediate Band
(43) Intermediate Band
(43) Intermediate Band
(43) Intermediate Band
(43) Intermediate Band
(43) Intermediate Band
(44)LO
(44)LO
(44)LO
(44)LO
(45)Exhaust
(45)Exhaust
(45)Exhaust
(45)Exhaust
(46)Orificed Exhaust
(46)Orificed Exhaust
Figure 23:

Oil Pump Base Fluid Passages - Control Valve Body Side


Object Number: 20907  Size: MH
(1)Suction
(1)Suction
(1)Suction
(2)Line
(2)Line
(2)Line
(2)Line
(3)Decrease
(47)Void
(47)Void
(47)Void
(47)Void
(47)Void
(47)Void
(47)Void
(47)Void
(47)Void
(47)Void
(47)Void
(47)Void
Figure 24:

Leak Inspection Points


Object Number: 20920  Size: LF
(1)Actuator Guide Seal
(2)Case
(3)Cooler Pipe Seals
(4)Line Pressure Tap Plug
(5)Axle Oil Seal (Case) and Stub Shaft Sleeve
(6)Manual Shaft Seal
(7)Pass-Thru Connector Seal
(8)Converter Seal
(9)Torque Converter Assembly
(10)Oil Level Control Plug
(11)Output Speed Sensor O-Ring Seal
(12)Fill and Vent Cap Seal
(13)Axle Oil Seal (Side Cover) and Output Shaft Sleeve
(14)Side Cover Gaskets
(15)Bottom Pan Gasket
Figure 25:

Electronic Component Location Views


Object Number: 20916  Size: LF
(13)Pressure Switch Assembly
(46) Input Speed Sensor
(62)Vehicle Speed Sensor
(305)1-2/2-3 Shift Solenoid
(305)1-2/2-3 Shift Solenoid
(312)Pressure Control Solenoid
(335)TCC Control PWM Solenoid
Figure 26:

Control Valve Body Fluid Passages (Channel Plate Side)


Object Number: 20905  Size: LF
(1)Suction
(2)Line
(2)Line
(2)Line
(2)Line
(2)Line
(2)Line
(2)Line
(2)Line
(2)Line
(2)Line
(3)Decrease
(3)Decrease
(4)Converter Feed
(4)Converter Feed
(4)Converter Feed
(5)TCC Feed Limit
(5)TCC Feed Limit
(5)TCC Feed Limit
(6)Release
(6)Release
(6)Release
(7)Apply
(8)Cooler
(8)Cooler
(10)Lube 2
(10)Lube 2
(10)Lube 2
(10)Lube 2
(11)PRN
(12)Lo/PRN
(12)Lo/PRN
(13)PRND4
(14)Actuator Feed
(14)Actuator Feed
(14)Actuator Feed
(14)Actuator Feed
(14)Actuator Feed
(15)Filtered Actuator Feed
(15)Filtered Actuator Feed
(16)1-2 Signal
(16)1-2 Signal
(16)1-2 Signal
(17)2-3 Signal
(17)2-3 Signal
(18)Torque Signal
(18)Torque Signal
(18)Torque Signal
(18)Torque Signal
(18)Torque Signal
(18)Torque Signal
(19)VBS Signal
(20)1-2/3-4 Accumulator
(20)1-2/3-4 Accumulator
(20)1-2/3-4 Accumulator
(20)1-2/3-4 Accumulator
(21)1-2 Accumulator Feed
(22)3-4 Accumulator
(23)2-3 Accumulator
(23)2-3 Accumulator
(24)2-3 Accumulator Feed
(25)Reverse
(25)Reverse
(25)Reverse
(25)Reverse
(25)Reverse
(25)Reverse
(27)Lo Band
(27)Lo Band
(27)Lo Band
(27)Lo Band
(28)Drive
(28)Drive
(28)Drive
(28)Drive
(30)2-3 Drive
(30)2-3 Drive
(30)2-3 Drive
(30)2-3 Drive
(30)2-3 Drive
(31)Filtered 2-3 Drive
(32)2nd Clutch
(32)2nd Clutch
(32)2nd Clutch
(33)TCC Signal (PWM)
(33)TCC Signal (PWM)
(33)TCC Signal (PWM)
(34)TCC Regulated Apply
(34)TCC Regulated Apply
(34)TCC Regulated Apply
(35)3-4 Drive
(35)3-4 Drive
(35)3-4 Drive
(35)3-4 Drive
(37)Direct Clutch
(38)4th Band
(38)4th Band
(38)4th Band
(39)D321
(39)D321
(39)D321
(39)D321
(40)Coast Clutch
(40)Coast Clutch
(40)Coast Clutch
(41)D21
(42)Intermediate Band Feed
(42)Intermediate Band Feed
(42)Intermediate Band Feed
(42)Intermediate Band Feed
(42)Intermediate Band Feed
(43)Intermediate Band
(43)Intermediate Band
(43)Intermediate Band
(43)Intermediate Band
(44)Lo
(44)Lo
(45)Exhaust
(45)Exhaust
(45)Exhaust
(45)Exhaust
(45)Exhaust
(45)Exhaust
(45)Exhaust
(45)Exhaust
(45)Exhaust
(45)Exhaust
(45)Exhaust
(45)Exhaust
(45)Exhaust
(45)Exhaust
(45)Exhaust
(45)Exhaust
(45)Exhaust
(45)Exhaust
(45)Exhaust
(45)Exhaust
(45)Exhaust
(46)Orificed Exhaust
(46)Orificed Exhaust
(47)Void
(47)Void
(47)Void
(47)Void
(47)Void
(47)Void
(47)Void
(47)Void
(47)Void
(47)Void
(47)Void
(47)Void
(47)Void
(47)Void
(47)Void
(47)Void
(47)Void
(47)Void
(47)Void
(47)Void
(47)Void
(47)Void
(47)Void
(47)Void
(47)Void
(47)Void
(47)Void
(47)Void
(47)Void
(47)Void
(47)Void
(47)Void
(47)Void
(47)Void
(47)Void
(47)Void
(47)Void
(47)Void
(47)Void
Figure 27:

Control Valve Body Fluid Passages (Oil Pump Base Side)


Object Number: 20906  Size: LF
(1)Suction
(1)Suction
(1)Suction
(2)Line
(2)Line
(2)Line
(2)Line
(2)Line
(3)Decrease
(6)Release
(13)PRND4
(25)Reverse
(28)Drive
(41)D21
(44)Lo
(45)Exhaust
(45)Exhaust
(45)Exhaust
(45)Exhaust
(45)Exhaust
(45)Exhaust
(45)Exhaust
(45)Exhaust
(45)Exhaust
(45)Exhaust
(45)Exhaust
(45)Exhaust
(45)Exhaust
(45)Exhaust
(45)Exhaust
(45)Exhaust
(45)Exhaust
(47)Void
(47)Void
(47)Void
(47)Void
(47)Void
(47)Void
(47)Void
(47)Void
(47)Void
(47)Void
(47)Void
(47)Void
(47)Void
(47)Void
(47)Void
(47)Void
(47)Void
(47)Void
(47)Void
(47)Void
(47)Void
Figure 28:

Channel Plate Fluid Passages (Control Valve Body Side)


Object Number: 20901  Size: LF
(1)Suction
(2)Line
(2)Line
(2)Line
(2)Line
(2)Line
(2)Line
(2)Line
(2)Line
(2)Line
(2)Line
(3)Decrease
(4)Converter Feed
(4)Converter Feed
(5)TCC Feed Limit
(5)TCC Feed Limit
(6)Release
(6)Release
(6)Release
(7)Apply
(7)Apply
(7)Apply
(7)Apply
(8)Cooler
(8)Cooler
(9)Lube 1
(9)Lube 1
(9)Lube 1
(9)Lube 1
(9)Lube 1
(10)Lube 2
(10)Lube 2
(11)PRN
(11)PRN
(11)PRN
(11)PRN
(11/45)PRN/Exhaust
(12)Lo/PRN
(13)PRND4
(13)PRND4
(14)Actuator Feed
(14)Actuator Feed
(14)Actuator Feed
(14)Actuator Feed
(17)2-3 Signal
(17)2-3 Signal
(18)Torque Signal
(18)Torque Signal
(18)Torque Signal
(20)1-2/3-4 Accumulator
(20)1-2/3-4 Accumulator
(20)1-2/3-4 Accumulator
(20)1-2/3-4 Accumulator
(21)1-2 Accumulator Feed
(22)3-4 Accumulator Feed
(23)2-3 Accumulator
(24)2-3 Accumulator Feed
(25)Reverse
(25)Reverse
(25)Reverse
(25)Reverse
(25)Reverse
(25)Reverse
(27)Lo Band
(27)Lo Band
(27)Lo Band
(27)Lo Band
(28)Drive
(28)Drive
(30)2-3 Drive
(30)2-3 Drive
(30)2-3 Drive
(30)2-3 Drive
(30)2-3 Drive
(30)2-3 Drive
(32)2nd Clutch
(32)2nd Clutch
(32)2nd Clutch
(32)2nd Clutch
(33)TCC Signal (PWM)
(34)TCC Regulated Apply
(35)3-4 Drive
(36)Direct Clutch Feed
(36)Direct Clutch Feed
(37)Direct Clutch
(37)Direct Clutch
(38)4th Band
(38)4th Band
(39)D321
(39)D321
(39)D321
(40)Coast Clutch
(40)Coast Clutch
(41)D21
(41)D21
(42)Intermediate Band Feed
(43)Intermediate Band
(43)Intermediate Band
(43)Intermediate Band
(43)Intermediate Band
(43)Intermediate Band
(44)Lo
(44)Lo
(45)Exhaust
(45)Exhaust
(45)Exhaust
(45)Exhaust
(46)Orificed Exhaust
(47)Void
(47)Void
(47)Void
(47)Void
(47)Void
(47)Void
(47)Void
(47)Void
(47)Void
(47)Void
(47)Void
(47)Void
(47)Void
(47)Void
(47)Void
(47)Void
(47)Void
(47)Void
(47)Void
(47)Void
(47)Void
(47)Void
(47)Void
(47)Void
(47)Void
(47)Void
(47)Void
(47)Void
(#1)Ball Check Valve
(#2)Ball Check Valve
(#3)Ball Check Valve
(#4)Ball Check Valve
(#5)Ball Check Valve
(#6)Ball Check Valve
(#7)Ball Check Valve