GM Service Manual Online
For 1990-2009 cars only
Makes
🢒
Chevrolet
🢒
2000
🢒
Cavalier
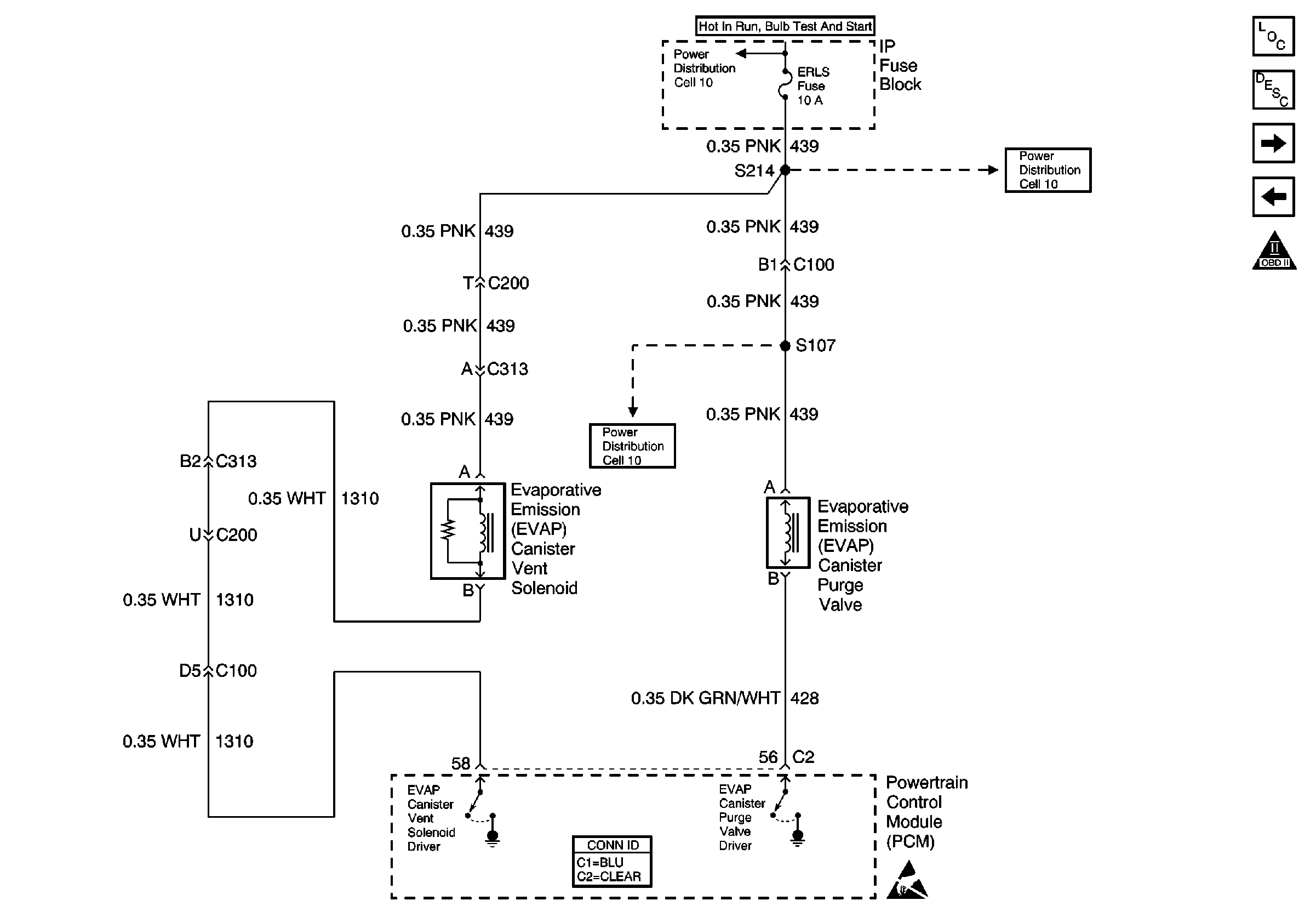
🢒 Power, Ground and EVAP
Power, Ground and EVAP
Power, Ground and EVAP
Engine Controls Components
Powertrain Control Module Description
Power, Ground, IAC, Generator and PNP Switch
Power, Ground, and O2 Sensors
OBD II Symbol Description Notice
ALARM, and ERLS Fuses
ALARM, and ERLS Fuses
Handling ESD Sensitive Parts Notice
ALARM, and ERLS Fuses