GM Service Manual Online
For 1990-2009 cars only

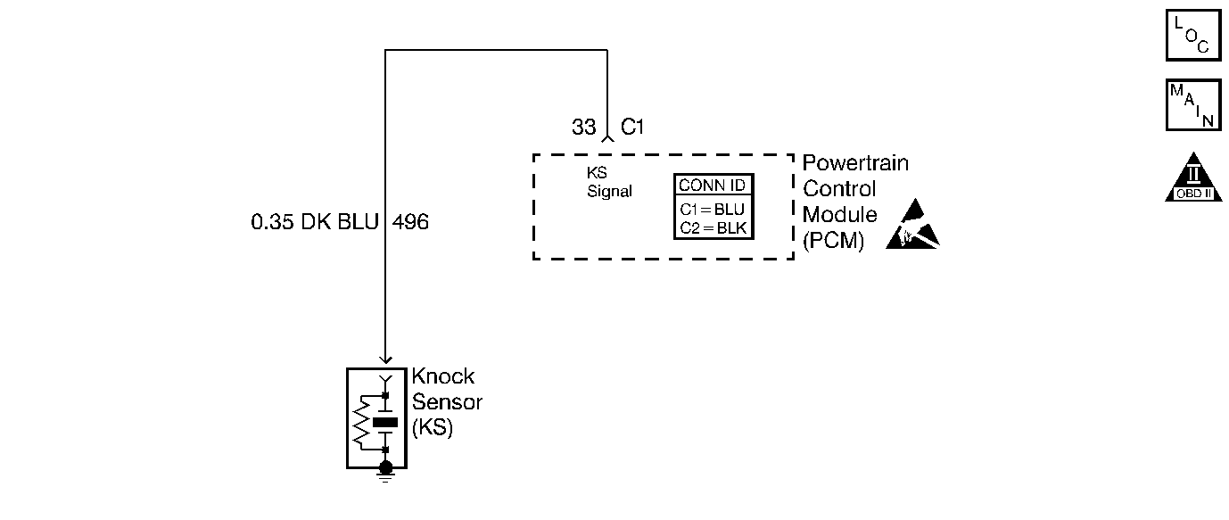
Object Number: 563997  Size: SF
Engine Controls Components
Ignition Controls
OBD II Symbol Description Notice
Powertrain Control Module Connector End Views
Handling ESD Sensitive Parts Notice

Circuit Description

The knock sensor (KS) system detects an engine detonation. The knock sensor produces an AC voltage signal. The amplitude and the frequency of the AC voltage signal depends on the knock level being detected. This signal then travels to the KS module that is an internal part of the Powertrain Control Module (PCM). If knock is detected, the PCM will retard the spark timing based on the signal from the knock sensor.

Conditions for Running the DTC

    • The engine run time is more than 20 seconds.
    • The engine coolant temperature (ECT) is more than 56°C (131°F).
    • The engine speed is more than 1600 RPM.
    • The MAP is more than 60 kPa.
    • The engine vacuum is less than 33 kPa.

Conditions for Setting the DTC

    • The KS voltage and variation is not within normally expected ranges.
    • The above condition is present for more than 60 seconds.

Action Taken When the DTC Sets

    • The malfunction indicator lamp (MIL) will illuminate after two consecutive ignition cycles in which the diagnostic runs with the fault active.
    • The PCM records the operating conditions at the time when the diagnostic fails. This information stores in the Freeze Frame and Failure Records buffers.
    • A history DTC stores.
    • The coolant fan turns ON.

Conditions for Clearing the MIL/DTC

    • The MIL will turn OFF after three consecutive ignition cycles in which the diagnostic runs without a fault.
    • A history DTC will clear after 40 consecutive warm-up cycles without a fault.
    • Use a scan tool to clear the DTCs.

Diagnostic Aids

    • Check and correct any abnormal engine noise before using the diagnostic table.
    • Thoroughly inspect any suspected circuitry for the following conditions:
       - Backed-out terminals
       - Improper mating
       - Broken locks
       - Improperly-formed connectors
       - Damaged terminals
       - Faulty terminal-to-wire connections
       - Physical damage to the wiring harness

Test Description

The numbers below refer to the step numbers on the diagnostic table.

  1. The Powertrain On-Board Diagnostic (OBD) System Check prompts you to complete some of the basic checks and to store the Freeze Frame and Failure Records data on the scan tool, if applicable. This creates an electronic copy of the data that was captured when the this DTC set. The scan tool stores this data for later reference.

  2. If the conditions for the test as described previously are met, a DTC P0325 will set and the MIL will illuminate.

  3. If the engine has an internal knock or an audible noise that causes a knocking type of noise on the engine block, this indicates that the knock sensor may be responding to the noise.

  4. This step checks the internal resistance of the knock sensor or the wiring to the knock sensor.

  5. Thoroughly inspect any suspected circuitry for the following conditions:

  6. • Backed-out terminals
    • Improper mating
    • Broken locks
    • Improperly-formed or damaged terminals
    • Faulty terminal-to-wire connections
    • Physical damage to the wiring harness
  7. Reprogram the replacement PCM and perform the crankshaft position system variation learn procedure. Refer to the latest Techline™ information for PCM programming.

DTC P0325-Knock Sensor (KS) Circuit

Step

Action

Value(s)

Yes

No

1

Did you perform the Powertrain On-Board Diagnostic (OBD) System Check?

--

Go to Step 2

Go to

Powertrain On Board Diagnostic (OBD) System Check

2

  1. Turn ON the ignition, with the engine OFF.
  2. Install a scan tool.
  3. Review the Freeze Frame data and record the parameters.
  4. Start the engine.
  5. Operate the vehicle within the Conditions for Setting the DTC as specified in the supporting text.

Does the malfunction indicator lamp (MIL) illuminate?

--

Go to Step 3

Go to Step 11

3

Listen to the engine while increasing and decreasing the engine speed.

Is a knock or an audible noise present?

--

Go to Step 4

Go to Step 5

4

  1. Turn OFF the ignition.
  2. Check and repair the following conditions:
  3. • A mechanical engine problem
    • A loose bracket
    • A loose component

Is the action complete?

--

Go to Step 11

--

5

  1. Turn OFF the ignition.
  2. Disconnect the PCM electrical connectors at the PCM.
  3. Connect a DMM to ground.
  4. Measure the resistance of the knock sensor through the knock sensor signal circuit on the sensor side.

Is the measured value within the specified value?

90K-110Kohms

Go to Step 6

Go to Step 8

6

  1. Check the knock sensor signal circuit for a faulty electrical connection at the PCM.
  2. Repair the circuit as necessary. Refer to the Wiring Repairs in Wiring Systems.

Was a repair necessary?

--

Go to Step 11

Go to Step 7

7

Important: Refer to Powertrain Control Module Replacement/Programming .

Replace the PCM. Refer to Powertrain Control Module Replacement .

Did you complete the replacement?

--

Go to Step 11

--

8

  1. Inspect the knock sensor electrical connector for a faulty electrical connection.
  2. Repair the electrical connector as necessary. Refer to Wiring Repairs in Wiring Systems.

Was a repair necessary?

--

Go to Step 11

Go to Step 9

9

  1. Inspect the knock sensor signal circuit for the following conditions:
  2. • An open circuit
    • A short to ground
    • A short to voltage
  3. Repair the circuit as necessary. Refer to Wiring Repairs in Wiring Systems.

Was a repair necessary?

--

Go to Step 11

Go to Step 10

10

Replace the knock sensor (KS). Refer to Knock Sensor Replacement .

Is the action complete?

--

Go to Step 11

--

11

  1. Clear the DTCs with the scan tool.
  2. Start the engine.
  3. Idle the engine at the normal operating temperature.
  4. Operate the vehicle within the Conditions for Setting this DTC as specified in the supporting text.

Does the scan tool indicate that this diagnostic ran and passed?

--

Go to Step 12

Go to Step 3

12

Check to see if any DTCs are set.

Does the scan tool display any DTCs that you have not diagnosed?

--

Go to Diagnostic Trouble Code (DTC) List/Type

System OK