GM Service Manual Online
For 1990-2009 cars only

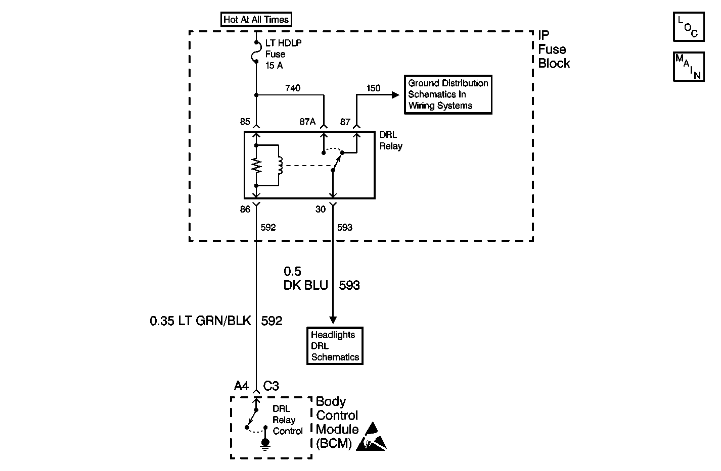
Object Number: 477048  Size: MF
Lighting Systems Components
Headlamps, Headlamp Switch and Body Control Module
Ground Distribution Schematics
Headlamps, Headlamp Switch and Body Control Module

Circuit Description

The daytime running lamps (DRL) relay is controlled by the body control module (BCM). Positive voltage is applied to the relay coil at all times. The BCM grounds the DRL relay control circuit in order to turn on the DRL relay. When the DRL relay control circuit becomes shorted to ground without being commanded on by the BCM, DTC B2602 is set.

Conditions for Running the DTC

    • The ignition switch is on
    • The transaxle is in park.

Conditions for Setting the DTC

All of the following conditions must be met:

    • The BCM is not commanding the DRL relay on.
    • The headlamp feedback is present for 5 seconds.

Action Taken When the DTC Sets

    • The BCM disables the DRL relay control as long as the malfunction is present.
    • The SERVICE VEHICLE SOON indicator illuminates.
    • The CHECK GAGES indicator illuminates.

Conditions for Clearing the DTC

    • A current DTC B2602 will clear when the malfunction is no longer present.
    • All BCM history codes clear after 100 ignition cycles (from OFF to ON) with no current codes active during the 100 ignition cycles.

Diagnostic Aids

    • If DTC B2601 is set along with DTC B2602, test the DRL relay control circuit between the BCM and the DRL relay for a short to ground.
    • The park brake must be unapplied and the transaxle must be in gear for the DRLs to operate properly.
    • If the DTC is a history DTC, the problem may be intermittent. Perform the above tests while wiggling the wiring and connectors. This may often cause the malfunction to appear.

Test Description

The number(s) below refer to the step number(s) on the diagnostic table.

  1. Listen for an audible click when the DRL relay operates. Command both the ON and OFF states. Repeat the commands as necessary.

  2. Tests for voltage at the coil side of the DRL relay.

  3. Verifies that the body control module is providing ground to the DRL relay.

  4. Tests if ground is constantly being applied to the DRL relay.

Step

Action

Yes

No

1

Did you perform the Lighting Systems Diagnostic System Check?

Go to Step 2

Go to Diagnostic System Check - Lighting Systems

2

  1. Install a scan tool.
  2. Turn ON the ignition, with the engine OFF.
  3. With a scan tool, command the DRL relay ON and OFF.

Does the DRL relay turn ON and OFF with each command?

Go to Testing for Intermittent Conditions and Poor Connections in Wiring Systems

Go to Step 3

3

  1. Turn OFF the ignition.
  2. Disconnect the DRL relay.
  3. Turn ON the ignition, with the engine OFF.
  4. Probe the coil side feed circuit of the DRL relay with a test lamp that is connected to a good ground.

Does the test lamp illuminate?

Go to Step 4

Go to Step 10

4

  1. Connect a test lamp between the control circuit of the DRL relay and the coil side feed circuit of the DRL relay.
  2. With a scan tool, command the DRL relay ON and OFF .

Does the test lamp turn ON and OFF with each command?

Go to Step 8

Go to Step 5

5

Does the test lamp remain illuminated with each command?

Go to Step 7

Go to Step 6

6

Test the control circuit of the DRL relay for an open. Refer to Circuit Testing and Wiring Repairs in Wiring Systems.

Did you find and correct the condition?

Go to Step 13

Go to Step 9

7

Test the control circuit of the DRL relay for a short to ground. Refer to Circuit Testing and Wiring Repairs in Wiring Systems.

Did you find and correct the condition?

Go to Step 13

Go to Step 9

8

Inspect for poor connections at the DRL relay. Refer to Testing for Intermittent Conditions and Poor Connections and Connector Repairs in Wiring Systems.

Did you find and correct the condition?

Go to Step 13

Go to Step 11

9

Inspect for poor connections at the harness connector of the body control module. Refer to Testing for Intermittent Conditions and Poor Connections and Connector Repairs in Wiring Systems.

Did you find and correct the condition?

Go to Step 13

Go to Step 12

10

Repair the coil side feed circuit of the DRL relay. Refer to Wiring Repairs in Wiring Systems.

Did you complete the repair?

Go to Step 13

--

11

Replace the DRL relay.

Did you complete the replacement?

Go to Step 13

--

12

Important: Perform the set up procedure for the body control module. Refer to Body Control Module (BCM) Programming/RPO Configuration .

Replace the body control module. Refer to Body Control Module Replacement in Body Control System.

Did you complete the replacement?

Go to Step 13

--

13

  1. Use the scan tool in order to clear the DTCs .
  2. Operate the vehicle within the Conditions for Running the DTC as specified in the supporting text.

Does the DTC reset?

Go to Step 2

System OK