GM Service Manual Online
For 1990-2009 cars only

EVAP System Operation

The evaporative emission (EVAP) control system limits fuel vapors from escaping into the atmosphere. Fuel tank vapors are allowed to move from the fuel tank due to pressure in the tank, through the vapor line, into the EVAP canister. Carbon in the canister absorbs and stores the fuel vapors. Excess pressure is vented through the vent line and EVAP vent solenoid to atmosphere. The EVAP canister stores the fuel vapors until the engine is able to use them. At an appropriate time, the powertrain control module (PCM) will command the EVAP purge valve open, allowing the engine vacuum to be applied to the EVAP canister. With the EVAP vent valve open, fresh air will be drawn through the valve and vent line to the EVAP canister. Fresh air is drawn through the canister, pulling fuel vapors from the carbon. The air/fuel vapor mixture continues through the EVAP purge line and EVAP purge valve into the intake manifold to be consumed during normal combustion. The EVAP system requires the PCM be able to detect a leak as small as 0.040 inches in the EVAP system. The PCM uses several tests to determine if the EVAP system is sealed.

Weak Vacuum Test

This tests for large leaks and blockages in the EVAP system. The PCM will command the EVAP vent valve ON (close), and the EVAP purge valve ON (open) with the engine running, allowing engine vacuum into the EVAP system. The PCM monitors the fuel tank pressure (FTP) sensor to verify that the system is able to reach and hold a predetermined level of vacuum within a set amount of time. If the PCM does not detect the predetermined vacuum level on two consecutive tests, a DTC P0440 will set.

Vacuum Decay Test

If the weak vacuum test passes, the PCM will command the EVAP purge valve OFF, sealing the EVAP system. The PCM tests for vacuum decay in the EVAP system by monitoring the fuel tank pressure (FTP) sensor for a change in voltage over a period of time. If the decay rate is more than a calibrated value, the PCM will rerun the test. If the test fails again, DTC P0442 will set.

EVAP Vent Restriction Test

A restricted or blocked EVAP vent path is detected by the PCM commanding the purge valve ON (open) and the vent valve ON (closed) allowing a vacuum to be applied to the EVAP system. Once a calibrated vacuum level has been reached, the PCM commands the purge valve OFF (closed) and the vent valve OFF (open) while monitoring the FTP sensor for a decrease in vacuum. If the vacuum does not decrease to near 0 inches H2O in a calibrated time, DTC P0446 will set.

Purge Valve Leak Test

If the EVAP purge valve does not seal properly, fuel vapors could enter the engine at an undesired time causing driveability concerns. The PCM tests for this by commanding the EVAP purge and vent valves closed, sealing the system, and monitoring the FTP for an increase in vacuum. If the PCM detects an increase in vacuum, DTC P1441 will set.

EVAP System Components

EVAP System Overview


Object Number: 678941  Size: LF
(1)EVAP Canister Purge Solenoid
(2)EVAP Canister
(3)Fuel Fill Neck/Fill Cap
(4)Rollover Valve/Fuel Tank Pressure (FTP) Sensor
(5)Fuel Tank
(6)EVAP Canister Vent Solenoid
(7)Vent Hose/Pipe
(8)EVAP Vapor Pipe
(9)EVAP Purge Pipe
(10)EVAP Service Port

The EVAP system consists of the following components:

  1. The EVAP canister purge valve
  2. The EVAP canister
  3. The fuel fill neck/fill cap
  4. The rollover valve/fuel pressure sensor (FTP)
  5. The fuel tank
  6. The EVAP canister vent valve
  7. The vent line
  8. The EVAP vapor line
  9. The EVAP purge line
  10. The EVAP service port

EVAP Canister


Object Number: 12722  Size: LH

The EVAP canister is a sealed unit with the following 3 ports:

  1. Purge line
  2. Vapor line
  3. Vent line

EVAP Canister


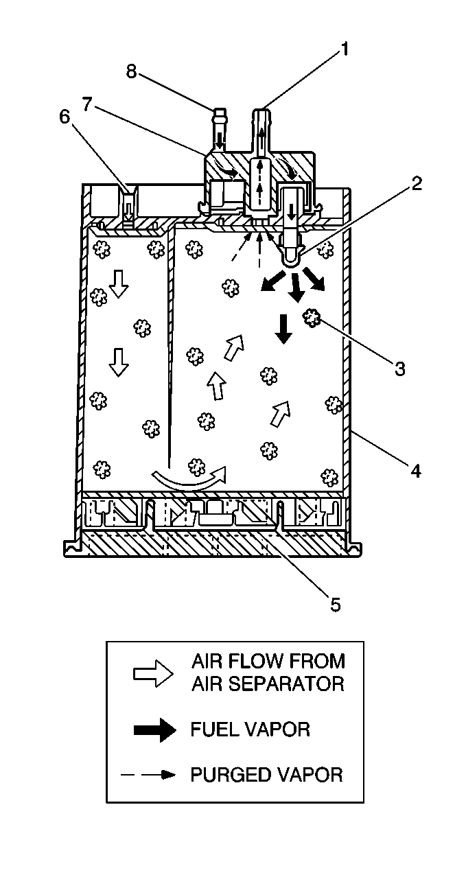
Object Number: 11795  Size: LH
(1)Purge Tube to Solenoid
(2)Buffer Tube
(3)Charcoal Bed
(4)EVAP Charcoal Canister
(5)Volume Compensator
(6)Fresh Air Inlet from Air Separator
(7)Liquid Fuel Trap
(8)Vapor Tube from Fuel Tank

The canister is filled with carbon pellets used to absorb and store fuel vapors. Fuel vapor is stored in the canister until the PCM determines that the vapor can be consumed in the normal combustion process.

EVAP Purge Valve

The EVAP purge valve controls the flow of vapors from the EVAP system to the intake manifold. This normally closed valve is pulse width modulated by the PCM to precisely control the flow of fuel vapor to the engine. The valve will also be opened during some portions of the EVAP testing, allowing engine vacuum to enter the EVAP system.

EVAP Vent Valve

The EVAP vent valve controls fresh airflow into the EVAP canister. It is a normally open valve. The PCM will command the valve closed during some EVAP tests, allowing the system to be tested for leaks.

Fuel Tank Pressure Sensor

The fuel tank pressure (FTP) sensor measures the difference between the pressure or vacuum in the fuel tank and outside air pressure. The FTP sensor mounts in the top of the fuel tank-sending unit. The PCM provides a 5-volt reference and a ground to the FTP sensor. The FTP sensor provides a signal voltage back to the PCM that can vary between 0.1 and 4.9 volts. As fuel tank pressure increases, FTP sensor voltage decreases (high pressure = low voltage). As fuel tank pressure decreases, FTP voltage increases (low pressure or vacuum = high voltage).

EVAP Service Port

The EVAP service port is located in the EVAP purge pipe between the EVAP purge valve and the EVAP canister. The service port is identified by a green colored cap.