GM Service Manual Online
For 1990-2009 cars only

Removal Procedure


    Object Number: 604753  Size: SH
  1. Remove the HVAC module assembly. Refer to HVAC Module Assembly Replacement .
  2. Remove the 2 screws holding the recirculation actuator housing to the HVAC module assembly.
  3. Remove the recirculation actuator housing from the HVAC module assembly.
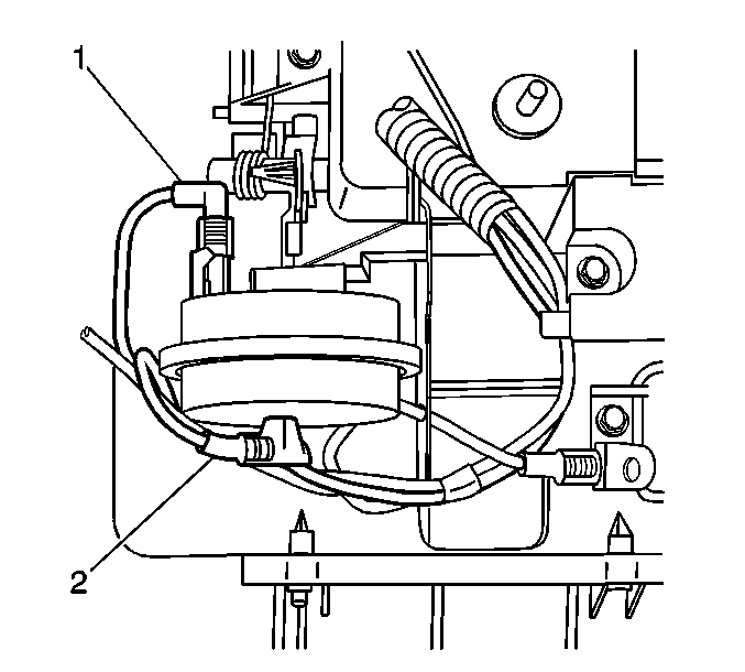
  4. Remove the blue vacuum hose (1) and the green vacuum hose (2) from the defroster actuator.

  5. Object Number: 604614  Size: SH
  6. Remove the defroster actuator.
  7. 5.1. Lift the defroster actuator lock tab.
    5.2. Remove the defroster actuator.

    Object Number: 604733  Size: SH
  8. Remove the defroster actuator linkage from the defroster door lever.
  9. Squeeze the tabs on the lever in order to remove the linkage.

Installation Procedure


    Object Number: 604733  Size: SH
  1. Install the defroster actuator linkage to the defroster door lever.

  2. Object Number: 604614  Size: SH
  3. Slide the defroster actuator on to the mounting bracket until the tab locks.

  4. Object Number: 604753  Size: SH
  5. Connect the blue vacuum hose (1) and the green vacuum hose (2) to the defroster actuator.
  6. Install the recirculation actuator housing to the HVAC module assembly.
  7. Install the 2 screws holding the recirculation actuator housing to the HVAC module assembly.
  8. Install the HVAC module assembly. Refer to HVAC Module Assembly Replacement .