GM Service Manual Online
For 1990-2009 cars only

Backup Lamp Replacement Chevrolet Coupe

Removal Procedure


    Object Number: 591181  Size: SH
  1. Open the rear compartment.
  2. Remove the bulb/socket from the backup lamp.
  3. Remove the bulb from the socket, if required.
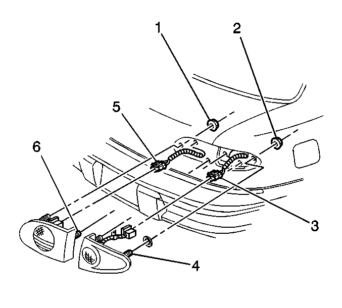
  4. Disconnect the electrical connector (5) from the backup lamp.
  5. Remove the nuts (1) from the backup lamp.
  6. Remove the backup lamp from the rear compartment lid.

Installation Procedure


    Object Number: 591181  Size: SH
  1. Install the bulb to the socket, if required.
  2. Install the bulb/socket to the backup lamp.
  3. Connect the electrical connector (5) to the backup lamp.
  4. Notice: Note the correct routing of the electrical wiring. Failure to reinstall the wiring properly could result in damage to the wiring.

  5. Position the backup lamp to the rear compartment lid.
  6. Notice: Use the correct fastener in the correct location. Replacement fasteners must be the correct part number for that application. Fasteners requiring replacement or fasteners requiring the use of thread locking compound or sealant are identified in the service procedure. Do not use paints, lubricants, or corrosion inhibitors on fasteners or fastener joint surfaces unless specified. These coatings affect fastener torque and joint clamping force and may damage the fastener. Use the correct tightening sequence and specifications when installing fasteners in order to avoid damage to parts and systems.

  7. Install the nuts (1) to the backup lamp.
  8. Tighten
    Tighten the backup lamp nuts to 2 N·m (18 lb in).

  9. Close the rear compartment.

Backup Lamp Replacement Pontiac

Removal Procedure

  1. Raise and support the vehicle. Refer to Lifting and Jacking the Vehicle in General Information.

  2. Object Number: 737282  Size: SH
  3. Remove the bulb/socket from the backup lamp.

  4. Object Number: 737298  Size: SH
  5. Remove the bulb from the socket, if required.

  6. Object Number: 737250  Size: SH
  7. Remove the nuts from the backup lamp.

  8. Object Number: 737253  Size: SH
  9. Remove the backup lamp from the rear bumper fascia.

Installation Procedure


    Object Number: 737253  Size: SH
  1. Position the backup lamp to the rear bumper fascia.
  2. Notice: Use the correct fastener in the correct location. Replacement fasteners must be the correct part number for that application. Fasteners requiring replacement or fasteners requiring the use of thread locking compound or sealant are identified in the service procedure. Do not use paints, lubricants, or corrosion inhibitors on fasteners or fastener joint surfaces unless specified. These coatings affect fastener torque and joint clamping force and may damage the fastener. Use the correct tightening sequence and specifications when installing fasteners in order to avoid damage to parts and systems.


    Object Number: 737250  Size: SH
  3. Install the nuts to the backup lamp.
  4. Tighten
    Tighten the backup lamp nuts to 2 N·m (18 lb in).


    Object Number: 737298  Size: SH
  5. Install the bulb to the socket, if required.

  6. Object Number: 737282  Size: SH
  7. Install the bulb/socket to the backup lamp.
  8. Lower the vehicle.