GM Service Manual Online
For 1990-2009 cars only

Instrument Panel Accessory Trim Plate Replacement Pontiac

Removal Procedure


    Object Number: 288294  Size: SH
  1. Open the instrument panel (IP) compartment in order to access the screws (2).
  2. Remove the screws (2) from the IP accessory trim plate (3).
  3. Remove the IP accessory trim plate (3) pulling rearward in order to disengage the retainers.

Installation Procedure


    Object Number: 288294  Size: SH
  1. Position the tabs to the IP accessory trim plate (3) to the slots on the IP (1).
  2. Install the IP accessory trim plate (3) pressing into place until fully seated.
  3. Notice: Use the correct fastener in the correct location. Replacement fasteners must be the correct part number for that application. Fasteners requiring replacement or fasteners requiring the use of thread locking compound or sealant are identified in the service procedure. Do not use paints, lubricants, or corrosion inhibitors on fasteners or fastener joint surfaces unless specified. These coatings affect fastener torque and joint clamping force and may damage the fastener. Use the correct tightening sequence and specifications when installing fasteners in order to avoid damage to parts and systems.

  4. Install the IP accessory trim plate screws (2).
  5. Tighten
    Tighten the screws to 3 N·m (27 lb in).

  6. Close the IP compartment door.

Instrument Panel Accessory Trim Plate Replacement Chevrolet

Removal Procedure


    Object Number: 288289  Size: MH
  1. Disable the SIR system. Refer to Disabling the SIR System in SIR.
  2. Remove the instrument panel (IP) trim pad. Refer to Instrument Panel Trim Pad Replacement .
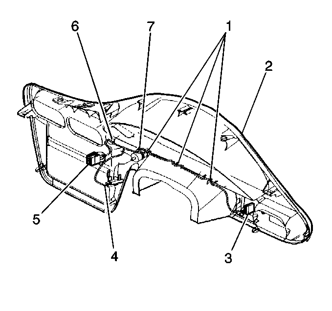
  3. Remove the screws (1) from the IP trim plate (3).
  4. Remove the IP accessory trim plate (3) pulling rearward in order to disengage the retainers.

  5. Object Number: 288291  Size: SH
  6. Disconnect the electrical connectors (3) and  (5) from the IP.

Installation Procedure


    Object Number: 288291  Size: SH
  1. Connect the IP electrical connectors (3) and  (5).

  2. Object Number: 288289  Size: MH
  3. Align the IP accessory trim plate tabs (2) to the retainers around the HVAC control and the radio.
  4. Install the IP accessory trim plate (3) pressing into place until fully seated.
  5. Notice: Use the correct fastener in the correct location. Replacement fasteners must be the correct part number for that application. Fasteners requiring replacement or fasteners requiring the use of thread locking compound or sealant are identified in the service procedure. Do not use paints, lubricants, or corrosion inhibitors on fasteners or fastener joint surfaces unless specified. These coatings affect fastener torque and joint clamping force and may damage the fastener. Use the correct tightening sequence and specifications when installing fasteners in order to avoid damage to parts and systems.

  6. Install the screws (1) to the IP accessory trim plate (3).
  7. Tighten
    Tighten the screws to 3 N·m (27 lb in).

  8. Install the IP trim pad. Refer to Instrument Panel Trim Pad Replacement .
  9. Enable the SIR system. Refer to Enabling the SIR System in SIR.