GM Service Manual Online
For 1990-2009 cars only

Removal Procedure


    Object Number: 875667  Size: SH
  1. Remove the instrument panel (I/P) trim pad. Refer to Instrument Panel Trim Pad Replacement .
  2. Open the compartment door.
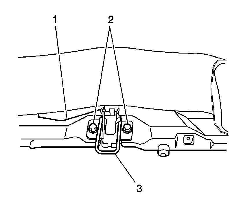
  3. Remove the screws (2) holding the compartment striker (3) to the I/P carrier (1).
  4. Remove the striker (3) from the I/P carrier (1).

Installation Procedure


    Object Number: 875667  Size: SH
  1. Install the striker (3) to the I/P carrier (1).
  2. Install the screws (2) to the striker (3).
  3. Notice: Use the correct fastener in the correct location. Replacement fasteners must be the correct part number for that application. Fasteners requiring replacement or fasteners requiring the use of thread locking compound or sealant are identified in the service procedure. Do not use paints, lubricants, or corrosion inhibitors on fasteners or fastener joint surfaces unless specified. These coatings affect fastener torque and joint clamping force and may damage the fastener. Use the correct tightening sequence and specifications when installing fasteners in order to avoid damage to parts and systems.

  4. Adjust the striker (3) for proper alignment to the I/P compartment.
  5. Tighten
    Tighten the screws to 2.3 N·m (20 lb in).

  6. Install the I/P trim pad. Refer to Instrument Panel Trim Pad Replacement .