GM Service Manual Online
For 1990-2009 cars only
Makes
🢒
Chevrolet
🢒
2001
🢒
Cavalier
🢒
Body and Accessories
🢒
Doors
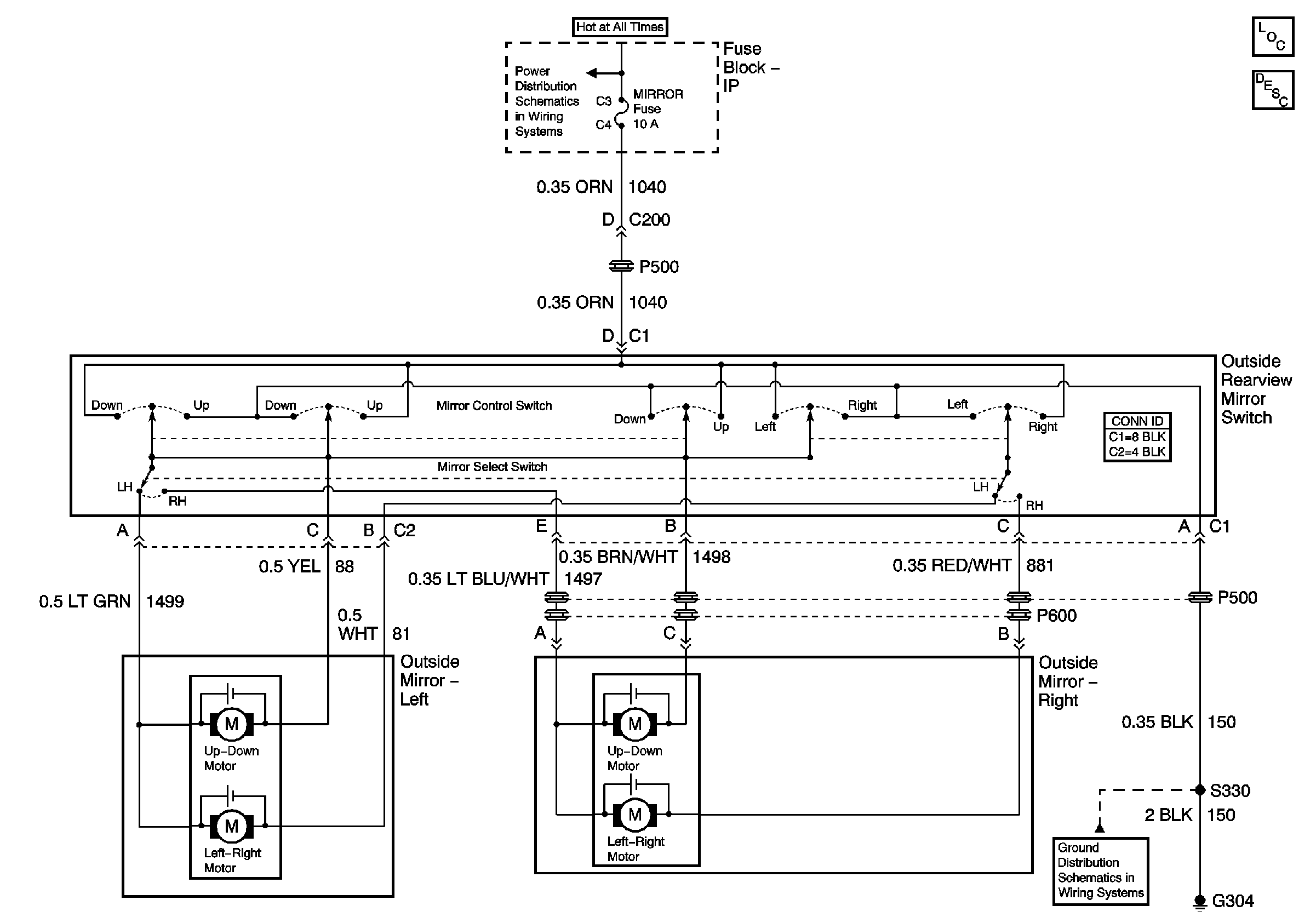
🢒 Outside Rearview Mirror Schematics
Outside Mirror Controls
Master Electrical Component List
G304 1 of 2
Underhood Fuse Block BATT 1 Fuse and IP Fuse Block MIRROR, RT HDLP, FLS/PASS, RDO/INTLP, RFA BATT, and AMPL Fuses