GM Service Manual Online
For 1990-2009 cars only

Removal Procedure

  1. Lower the window to the full DOWN position.
  2. Remove the door outer belt sealing strip. Refer to Front Side Door Window Belt Outer Sealing Strip Replacement or Rear Door Window Belt Outer Sealing Strip Replacement .

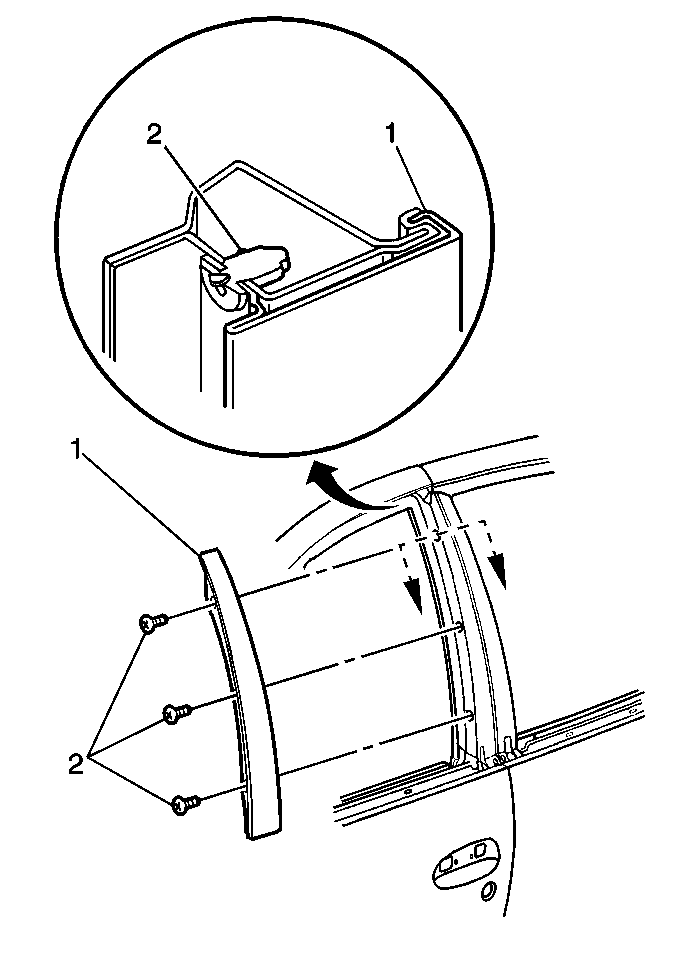
  3. Object Number: 279049  Size: MH
  4. Pull the door window channel retainer at the door window frame applique (1) in order to access the door window frame applique screws (2).
  5. Remove the screws (2) from the door window frame applique.
  6. Pull and slide the door window frame applique in order to disengage the applique (1) from the door.

Installation Procedure


    Object Number: 279049  Size: MH
  1. Slide and push the door window frame applique (1) in order to engage the applique onto the door.
  2. Notice: Use the correct fastener in the correct location. Replacement fasteners must be the correct part number for that application. Fasteners requiring replacement or fasteners requiring the use of thread locking compound or sealant are identified in the service procedure. Do not use paints, lubricants, or corrosion inhibitors on fasteners or fastener joint surfaces unless specified. These coatings affect fastener torque and joint clamping force and may damage the fastener. Use the correct tightening sequence and specifications when installing fasteners in order to avoid damage to parts and systems.

  3. Install the screws (2) to the door window frame applique.
  4. Tighten
    Tighten the door window frame applique screws (2) to 2 N·m (20 lb in).

  5. Install the door outer belt sealing strip. Refer to Front Side Door Window Belt Outer Sealing Strip Replacement or Rear Door Window Belt Outer Sealing Strip Replacement .
  6. Push the door window channel retainer in order to seat the retainer.