GM Service Manual Online
For 1990-2009 cars only

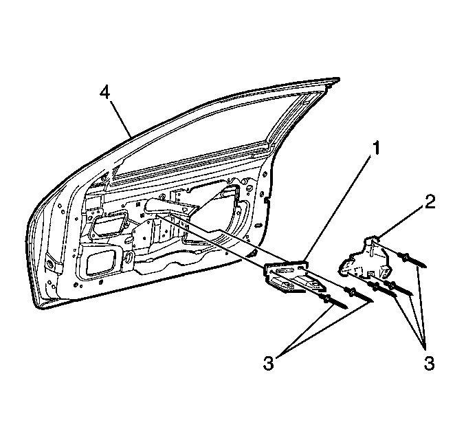
Removal Procedure


    Object Number: 279012  Size: SH
  1. Remove the door trim panel. Refer to Front Side Door Trim Panel Replacement or Rear Side Door Trim Panel Replacement .
  2. Drill out the rivets (3) which retain the door armrest hanger plate (1).
  3. Remove the door armrest hanger plate (1) from the door.

Installation Procedure


    Object Number: 279012  Size: SH
  1. Position the door armrest hanger plate (1) to the door.
  2. Install the new rivets (3) to the door hanger plate.
  3. Install the door trim panel. Refer to Front Side Door Trim Panel Replacement or Rear Side Door Trim Panel Replacement .