GM Service Manual Online
For 1990-2009 cars only

Tools Required

    • J 39384-10 Torsion Rod Adjustment Bar
    • J 39719 Trunk Deck Lid Torsion Rod Adjuster

Removal Procedure


    Object Number: 284020  Size: SH

    Caution:  When a hood hold open device is being removed or installed, provide alternate support to avoid the possibility of damage to the vehicle or personal injury.

  1. Prop the compartment lid (2) in the full-open position.

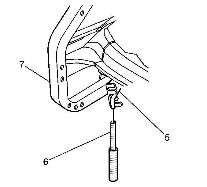
  2. Object Number: 738527  Size: SH
  3. Use the J 39719 , the J 39384-10 or the equivalent (6) in order to remove the torque rod (5) from the adjusting notch.
  4. With the torque rod removed from the adjuster notch, push the rod out of the hinge arm.

  5. Object Number: 284020  Size: SH
  6. Remove the torque rod (1) from the rear compartment lid hinge (4).

Installation Procedure


    Object Number: 284020  Size: SH
  1. Install the torque rod to the compartment lid hinge arm(4).

  2. Object Number: 738527  Size: SH
  3. Use theJ 39719 , the J 39384-10 or the equivalent (6) in order to engage the torque rod (5) to the adjusting notch.
  4. Adjust the operating effort by adjusting the rear compartment torque rods.
  5. Use the following procedure:

    3.1. Reposition the end of the torque rod (5) to a lower adjusting notch in order to obtain the following results:
       • Increase the amount of effort needed in order to raise the compartment lid.
       • Decrease the amount of effort needed in order to close the compartment lid.
    3.2. Reposition the end of the torque rod (5) to a higher adjusting notch in order to obtain the following results:
       • Decrease the amount of effort needed in order to raise the compartment lid.
       • Increase the amount of effort needed in order to close the compartment lid.