GM Service Manual Online
For 1990-2009 cars only

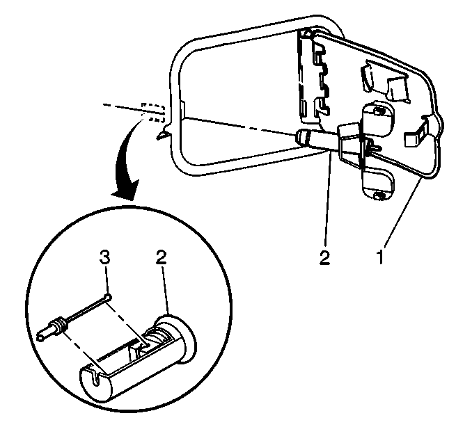
Removal Procedure


    Object Number: 295787  Size: SH
  1. Pull back enough of the rear compartment carpet to access the fuel filler release cable.
  2. Remove the cable (3) from the fuel filler door latch. Unsnap the unit.
  3. Squeeze the tabs on the fuel filler door latch by reaching through the right rear wheel housing.
  4. Remove the filler door latch (2).

Installation Procedure


    Object Number: 295787  Size: SH
  1. Install the filler door latch (2). Press the latch in order to engage the tabs.
  2. Install the cable (3) into the filler door latch (2) prssing into place until fully seated.
  3. Reposition the rear compartment carpet.
  4. Close the fuel filler door.