GM Service Manual Online
For 1990-2009 cars only

Removal Procedure

  1. Remove the handle cover from the compartment lid release.

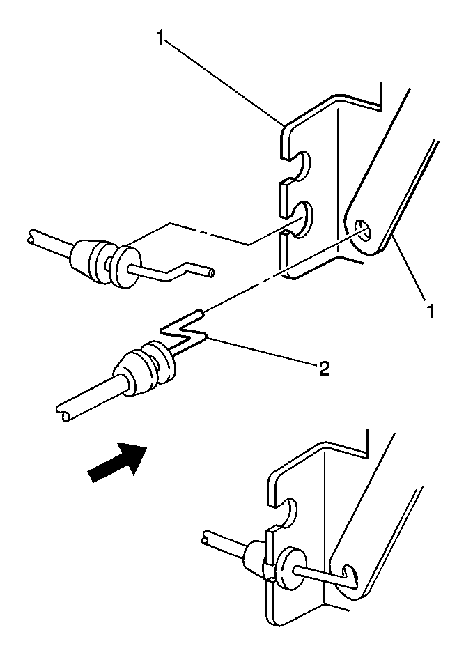
  2. Object Number: 284048  Size: MH
  3. Remove the remote release cable (2) from the remote release handle (1).

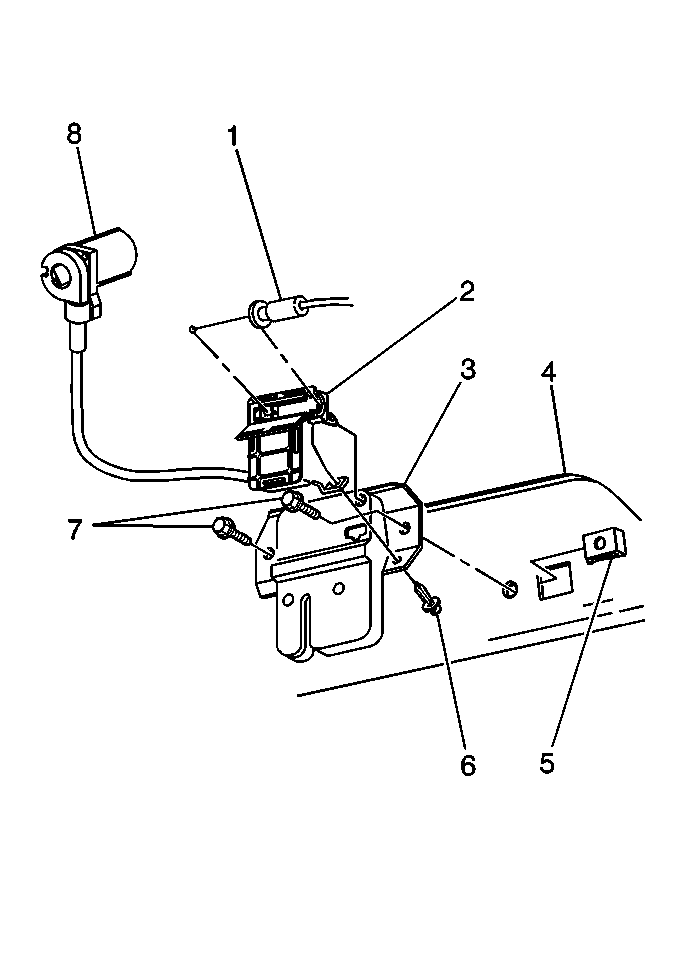
  4. Object Number: 283996  Size: MH
  5. Unclip the cable door at the top of the lock release box (2).
  6. Remove the remote release cable (1) from the lock release box (2).

Installation Procedure


    Object Number: 284048  Size: MH
  1. Route the remote release cable (2).
  2. Install the remote release cable (2) to the remote release handle (1).
  3. Install the release handle cover.

  4. Object Number: 283996  Size: MH
  5. Install the remote release cable (1) to the lock release box (2).
  6. Press and secure the cable door at the top of the lock release box.