GM Service Manual Online
For 1990-2009 cars only
Makes
🢒
Chevrolet
🢒
2001
🢒
Cavalier
🢒
Body and Accessories
🢒
Body Rear End
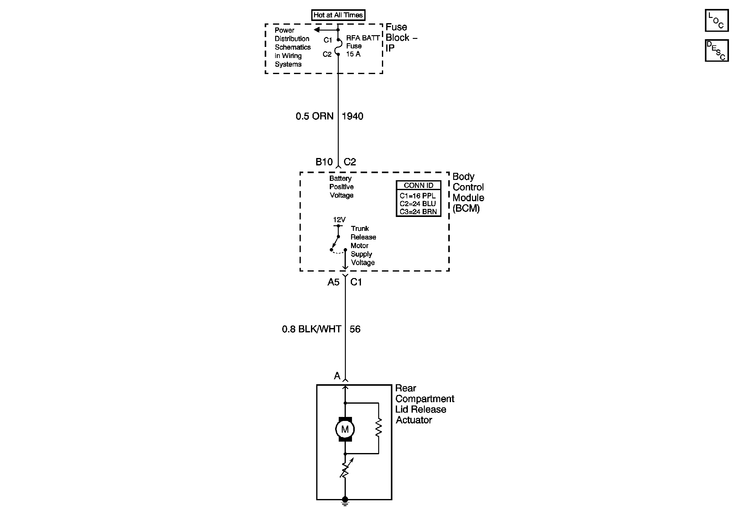
🢒 Body Rear End Schematics
Master Electrical Component List