GM Service Manual Online
For 1990-2009 cars only

    Object Number: 16467  Size: SH
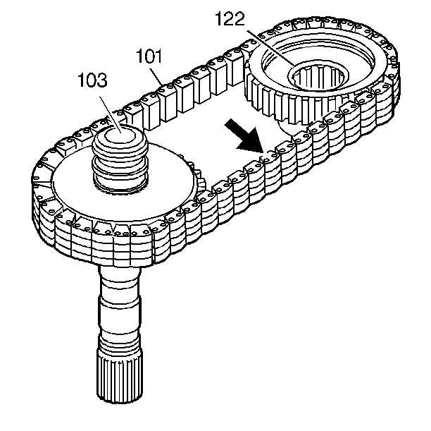
  1. Inspect the drive link assembly (101) for damaged, cracked, or binding links.

  2. Object Number: 20690  Size: SH
  3. Use TRANSJEL™ or equivalent in order to retain the drive sprocket thrust washer (104) onto the drive sprocket (103).

  4. Object Number: 20691  Size: SH
  5. Use TRANSJEL™ or equivalent in order to retain the driven sprocket thrust washer (123) onto the driven sprocket (122).

  6. Object Number: 20692  Size: SH

    Important: If you are reinstalling the same assembly that you previously removed, insert the black link in its original position. If you are installing a new assembly, the black link should face upward.

  7. Install the drive and driven sprockets (103, 122) into the drive link assembly (101).

  8. Object Number: 20693  Size: SH
  9. Use your hands in order to install the drive link assembly (101) into the case. Use a slight rocking motion in order to work the sprockets into place.

  10. Object Number: 20694  Size: SH
  11. Install the case cover thrust bearing (121) into the driven sprocket (122).