GM Service Manual Online
For 1990-2009 cars only

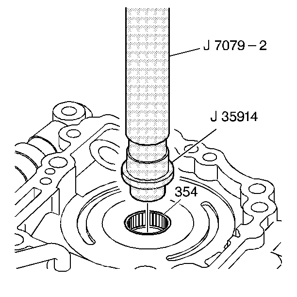
Tools Required

    • J 35914 Pump Bearing Remover/Installer
    • J 7079-2 Bearing Installing Handle

Object Number: 20760  Size: SH

Important: Remove the oil pump shaft bearing only if inspection indicated that the bearing is defective

Use J 35914 and J 7079-2 in order to remove the pump shaft bearing (354).