GM Service Manual Online
For 1990-2009 cars only

    Object Number: 16436  Size: SH
  1. Inspect the direct clutch housing (610) for the following conditions:
  2. • Bad welds
    • Scoring on the band contact surface
    • Heat damage
    • Dishing or flatness of band surfaces
    • Bushing cracks, damage, or scoring

    Object Number: 16437  Size: SH
  3. Inspect the direct clutch piston (615) for the following conditions:
  4. • Damage or cracks
    • Seal grooves for burrs, nicks, or distortion
  5. Inspect the apply ring and release spring assembly (616) for damaged or collapsed springs.

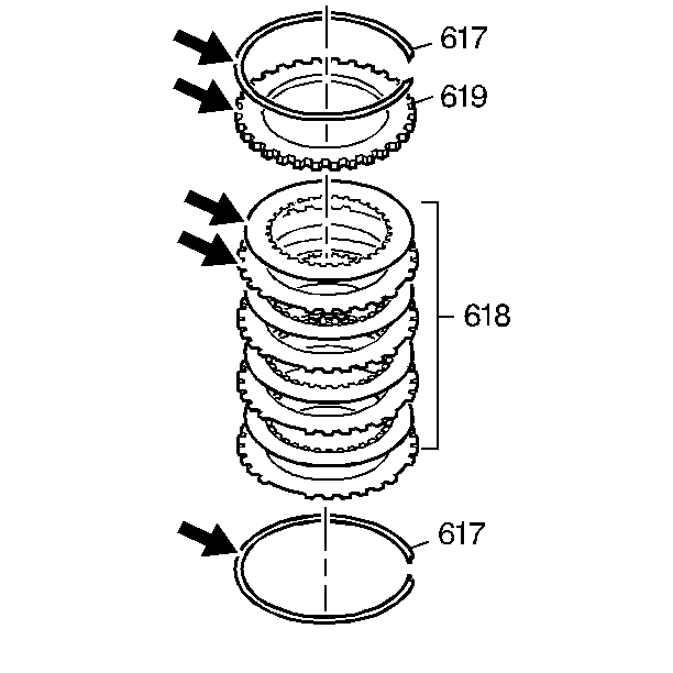
  6. Object Number: 16438  Size: SH
  7. Inspect the clutch plates (618) for the following conditions:
  8. • Wear or burning
    • Backing plate for damage, cracks, or burning
  9. Inspect the snap rings (617) for damage or distortion.

  10. Object Number: 16439  Size: SH
  11. Inspect the ball check valve (609) for free operation.
  12. Important: The ball check valve must be in its seated position before you perform the leak test.

  13. Using automatic transmission fluid, inspect the ball check valve (609) for leaks.