GM Service Manual Online
For 1990-2009 cars only

Object Number: 16441  Size: SH

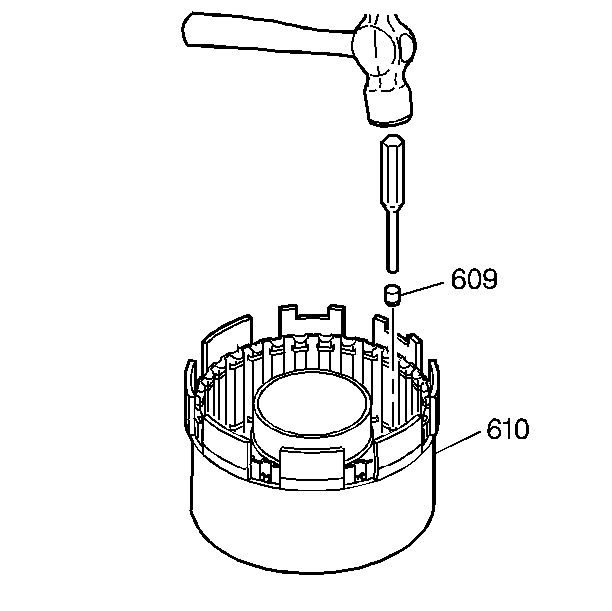
Using a 9.5 mm (3/8 in) drift and a mallet, install the ball check valve assembly (609) in the direct clutch housing (610).