GM Service Manual Online
For 1990-2009 cars only
Makes
🢒
Chevrolet
🢒
2001
🢒
Cavalier
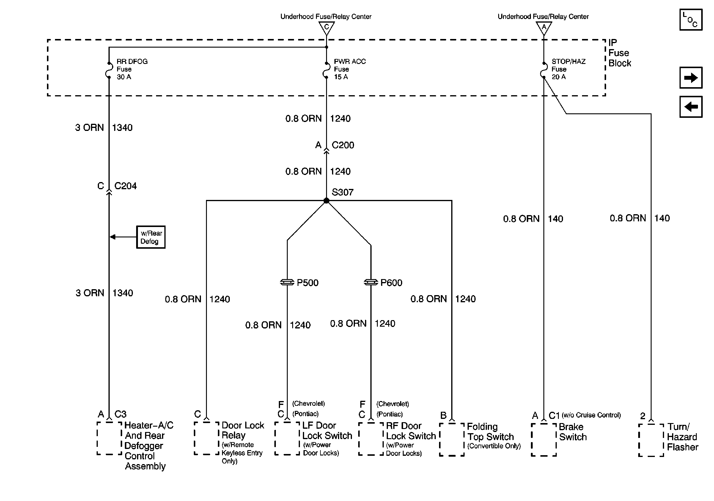
🢒 RR DFOG, PWR ACC, and STOP/HAZ Fuses
RR DFOG, PWR ACC, and STOP/HAZ Fuses
RR DFOG, PWR ACC, and STOP/HAZ Fuses
Power and Grounding Components
MIRR/LAMPS, RDO/LAMPS, RFA BATT, and RT HDLP Fuses
LT HDLP, CIG, HORN, CLUSTER, EXT LAMP, and FOG LP Fuses
Cooling Fan, BATT1, BATT2, IGN, PCM/HVAC and ABS Fuses
Cooling Fan, BATT1, BATT2, IGN, PCM/HVAC and ABS Fuses