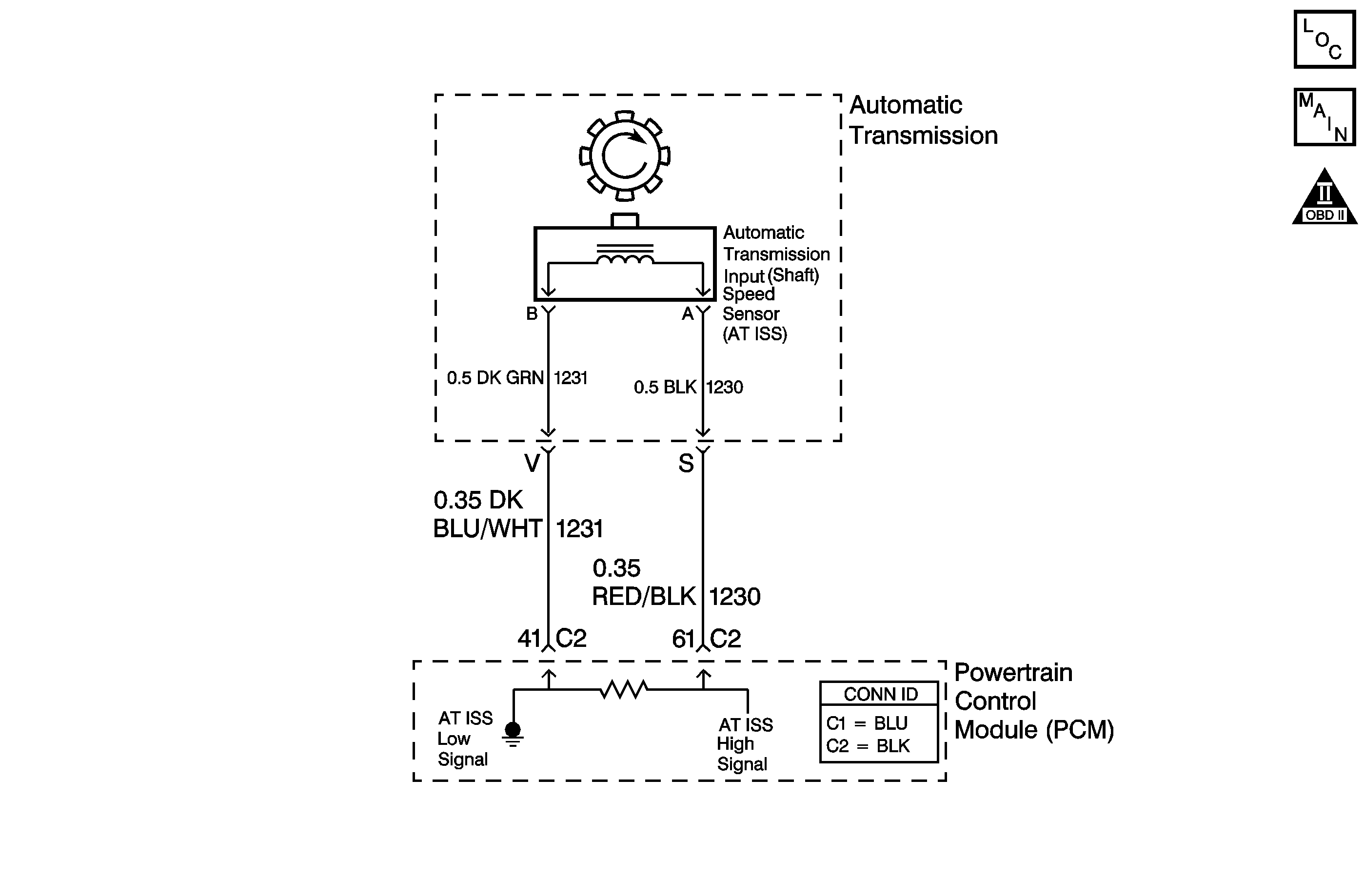
The automatic transmission input shaft speed sensor (AT ISS) provides transmission input speed to the PCM. The AT ISS is a permanent magnet generator. The sensor mounts into the transmission case and maintains a slight air gap between the sensor and the drive sprocket. The AT ISS produces an AC voltage as the drive sprocket rotor teeth pass through the sensor's magnetic field. The AC voltage level increases as the turbine shaft speed increases. The PCM converts the AC voltage into a digital signal. The PCM determines actual turbine speed using the digital signal. The PCM uses the input speed to calculate torque converter slip speed, and gear ratios.
When the PCM detects a low input speed and the vehicle has a large vehicle speed, then DTC P0717 sets. DTC P0717 is a type B DTC.
| • | No VSS DTCs P0502 or P0503. |
| • | No TFP manual valve position switch DTC P1810. |
| • | The engine is running. |
| • | The TFP manual valve position switch indicates the vehicle is not in PARK or NEUTRAL. |
| • | The vehicle speed is greater than 8 km/h (5 mph). |
The input speed is less than 100 RPM for 5 seconds.
| • | The PCM illuminates the malfunction indicator lamp (MIL) during the second consecutive trip in which the Conditions for Setting the DTC are met. |
| • | The PCM commands maximum line pressure. |
| • | The PCM freezes transmission adapt functions. |
| • | The PCM records the operating conditions when the Conditions for Setting the DTC are met. The PCM stores this information as Freeze Frame and Failure Records. |
| • | The PCM stores DTC P0717 in PCM history during the second consecutive trip in which the Conditions for Setting the DTC are met. |
| • | The PCM turns OFF the MIL during the third consecutive trip in which the diagnostic test runs and passes. |
| • | A scan tool can clear the MIL/DTC. |
| • | The PCM clears the DTC from PCM history if the vehicle completes 40 warm-up cycles without an emission-related diagnostic fault occurring. |
| • | The PCM cancels the DTC default actions when the ignition switch is OFF long enough in order to power down the PCM. |
Ensure the wiring harness is not stretched too tightly or other components are pressing on the connector body. Also, inspect for proper clearance to any other components and wiring. Refer to Testing for Intermittent Conditions and Poor Connections in Wiring Systems.
The numbers below refer to the step numbers on the diagnostic table.
This step tests the AT ISS for correct resistance.
This step tests the AT ISS high signal circuit for being shorted to another circuit within the transmission.
Step | Action | Value(s) | Yes | No | ||||||
|---|---|---|---|---|---|---|---|---|---|---|
1 | Did you perform the Powertrain Diagnostic System Check? | -- | Go to Step 2 | Go to Diagnostic System Check - Engine Controls in Engine Controls - 2.2L (L61) or Diagnostic System Check - Engine Controls in Engine Controls - 2.2L (LN2) | ||||||
2 |
Important: Before clearing the DTC, use the scan tool in order to record the Freeze Frame and Failure Records. Using the Clear Info function erases the Freeze Frame and Failure Records from the PCM. Is the transmission input speed greater than the specified value? | 500 RPM | Go to Intermittent Conditions in Engine Controls - 2.2L (L61) or Intermittent Conditions in Engine Controls - 2.2L (LN2) | Go to Step 3 | ||||||
Refer to Automatic Transmission Inline Harness Connector End View . Is the resistance within the specified range? | 615-835 ohms | Go to Step 7 | Go to Step 4 | |||||||
4 | Is the resistance greater than the specified value? | 835 ohms | Go to Step 5 | Go to Step 6 | ||||||
5 |
Refer to Circuit Testing in Wiring Systems. Did you find a high resistance or open condition? | -- | Go to Step 11 | Go to Step 12 | ||||||
6 | Test the high signal circuit (CKT 1230) and the low signal circuit (CKT 1231) of the AT ISS for being shorted together between the AT inline 20-way connector and the AT ISS. Refer to Circuit Testing in Wiring Systems. Did you find the condition? | -- | Go to Step 11 | Go to Step 12 | ||||||
7 | Measure the resistance between terminal S of the J 44152 and ground. Refer to Automatic Transmission Inline Harness Connector End View . Is the resistance less than the specified value? | 1,000 ohms | Go to Step 11 | Go to Step 8 | ||||||
Measure the resistance between terminal S and all other terminals, except terminal V, of the J 44152 . Refer to Automatic Transmission Inline Harness Connector End View . Is the resistance between terminal S and any other terminal, except terminal V, less than the specified value? | 1,000 ohms | Go to Step 11 | Go to Step 9 | |||||||
9 | Test the high signal circuit (CKT 1230) of the AT ISS for a high resistance, an open, a short to ground or a short to voltage between the PCM connector C1 and the AT inline 20-way connector. Refer to Circuit Testing and Wiring Repairs in Wiring Systems. Did you find and correct a condition? | -- | Go to Step 14 | Go to Step 10 | ||||||
10 | Test the low signal circuit (CKT 1231) of the AT ISS for a high resistance or an open between the PCM connector C2 and the AT inline 20-way connector. Refer to Circuit Testing and Wiring Repairs in Wiring Systems. Did you find and correct a condition? | -- | Go to Step 14 | Go to Step 13 | ||||||
11 | Replace the automatic transmission wiring harness. Refer to Wiring Harness Replacement . Did you complete the replacement? | -- | Go to Step 14 | -- | ||||||
12 | Replace the AT ISS. Refer to Input Speed Sensor Removal in Transmission Unit Repair Manual. Did you complete the replacement? | -- | Go to Step 14 | -- | ||||||
13 | Replace the PCM. Refer to Powertrain Control Module Replacement in Engine Controls - 2.2L (L61) or Powertrain Control Module Replacement in Engine Controls - 2.2L (LN2). Did you complete the replacement? | -- | Go to Step 14 | -- | ||||||
14 | Perform the following procedure in order to verify the repair:
Has the test run and passed? | -- | System OK | Go to Step 1 |
The automatic transmission input shaft speed sensor (AT ISS) provides transmission input speed to the PCM. The AT ISS is a permanent magnet generator. The sensor mounts into the transmission case and maintains a slight air gap between the sensor and the drive sprocket. The AT ISS produces an AC voltage as the drive sprocket rotor teeth pass through the sensor's magnetic field. The AC voltage level increases as the turbine shaft speed increases. The PCM converts the AC voltage into a digital signal. The PCM determines actual turbine speed using the digital signal. The PCM uses the input speed to calculate torque converter slip speed, and gear ratios.
When the PCM detects a low input speed and the vehicle has a large vehicle speed, then DTC P0717 sets. DTC P0717 is a type B DTC.
| • | No VSS DTCs P0502 or P0503. |
| • | No TFP manual valve position switch DTC P1810. |
| • | The engine is running. |
| • | The TFP manual valve position switch indicates the vehicle is not in PARK or NEUTRAL. |
| • | The vehicle speed is greater than 8 km/h (5 mph). |
The input speed is less than 100 RPM for 5 seconds.
| • | The PCM illuminates the malfunction indicator lamp (MIL) during the second consecutive trip in which the Conditions for Setting the DTC are met. |
| • | The PCM commands maximum line pressure. |
| • | The PCM freezes transmission adapt functions. |
| • | The PCM records the operating conditions when the Conditions for Setting the DTC are met. The PCM stores this information as Freeze Frame and Failure Records. |
| • | The PCM stores DTC P0717 in PCM history during the second consecutive trip in which the Conditions for Setting the DTC are met. |
| • | The PCM turns OFF the MIL during the third consecutive trip in which the diagnostic test runs and passes. |
| • | A scan tool can clear the MIL/DTC. |
| • | The PCM clears the DTC from PCM history if the vehicle completes 40 warm-up cycles without an emission-related diagnostic fault occurring. |
| • | The PCM cancels the DTC default actions when the ignition switch is OFF long enough in order to power down the PCM. |
Ensure the wiring harness is not stretched too tightly or other components are pressing on the connector body. Also, inspect for proper clearance to any other components and wiring. Refer to Testing for Intermittent Conditions and Poor Connections in Wiring Systems.
The numbers below refer to the step numbers on the diagnostic table.
This step tests the AT ISS for correct resistance.
This step tests the AT ISS high signal circuit for being shorted to another circuit within the transmission.
Step | Action | Value(s) | Yes | No | ||||||
|---|---|---|---|---|---|---|---|---|---|---|
1 | Did you perform the Powertrain Diagnostic System Check? | -- | Go to Step 2 | Go to Diagnostic System Check - Engine Controls in Engine Controls - 2.4L | ||||||
2 |
Important: Before clearing the DTC, use the scan tool in order to record the Freeze Frame and Failure Records. Using the Clear Info function erases the Freeze Frame and Failure Records from the PCM. Is the transmission input speed greater than the specified value? | 500 RPM | Go to Intermittent Conditions in Engine Controls - 2.4L | Go to Step 3 | ||||||
Refer to Automatic Transmission Inline Harness Connector End View . Is the resistance within the specified range? | 615-835 ohms | Go to Step 7 | Go to Step 4 | |||||||
4 | Is the resistance greater than the specified value? | 835 ohms | Go to Step 5 | Go to Step 6 | ||||||
5 |
Refer to Circuit Testing in Wiring Systems. Did you find a high resistance or open condition? | -- | Go to Step 11 | Go to Step 12 | ||||||
6 | Test the high signal circuit (CKT 1230) and the low signal circuit (CKT 1231) of the AT ISS for being shorted together between the AT inline 20-way connector and the AT ISS. Refer to Circuit Testing in Wiring Systems. Did you find the condition? | -- | Go to Step 11 | Go to Step 12 | ||||||
7 | Measure the resistance between terminal S of the J 44152 and ground. Refer to Automatic Transmission Inline Harness Connector End View . Is the resistance less than the specified value? | 1,000 ohms | Go to Step 11 | Go to Step 8 | ||||||
Measure the resistance between terminal S and all other terminals, except terminal V, of the J 44152 . Refer to Automatic Transmission Inline Harness Connector End View . Is the resistance between terminal S and any other terminal, except terminal V, less than the specified value? | 1,000 ohms | Go to Step 11 | Go to Step 9 | |||||||
9 | Test the high signal circuit (CKT 1230) of the AT ISS for a high resistance, an open, a short to ground or a short to voltage between the PCM connector C1 and the AT inline 20-way connector. Refer to Circuit Testing and Wiring Repairs in Wiring Systems. Did you find and correct a condition? | -- | Go to Step 14 | Go to Step 10 | ||||||
10 | Test the low signal circuit (CKT 1231) of the AT ISS for a high resistance or an open between the PCM connector C2 and the AT inline 20-way connector. Refer to Circuit Testing and Wiring Repairs in Wiring Systems. Did you find and correct a condition? | -- | Go to Step 14 | Go to Step 13 | ||||||
11 | Replace the automatic transmission wiring harness. Refer to Wiring Harness Replacement . Did you complete the replacement? | -- | Go to Step 14 | -- | ||||||
12 | Replace the AT ISS. Refer to Input Speed Sensor Removal in Transmission Unit Repair Manual. Did you complete the replacement? | -- | Go to Step 14 | -- | ||||||
13 | Replace the PCM. Refer to Powertrain Control Module Replacement in Engine Controls - 2.4L. Did you complete the replacement? | -- | Go to Step 14 | -- | ||||||
14 | Perform the following procedure in order to verify the repair:
Has the test run and passed? | -- | System OK | Go to Step 1 |