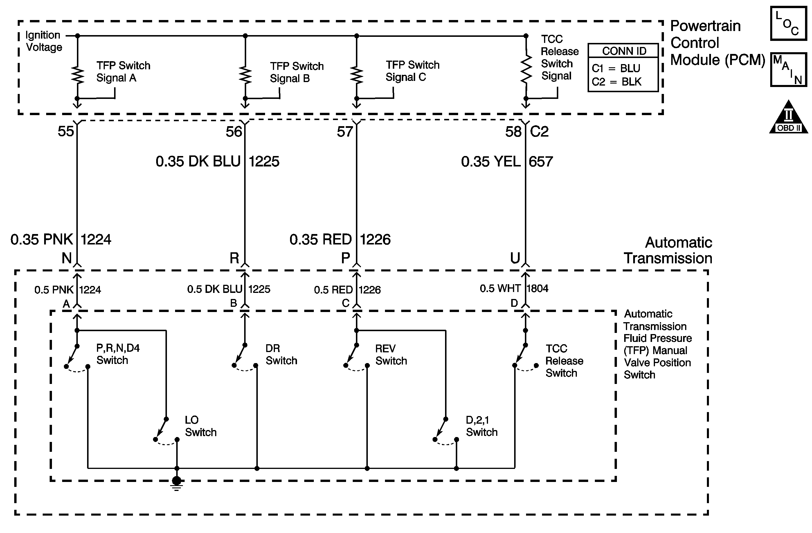
The automatic transmission fluid pressure (TFP) manual valve position switch consists of six pressure switches. Five of the switches are normally open, and determine gear range selection. The sixth switch is normally closed, and detects torque converter clutch (TCC) release fluid pressure. The TFP manual valve position switch also contains the automatic transmission fluid temperature (TFT) sensor. These components are combined into one unit, attached to the control valve body.
The PCM provides battery voltage on the three range signal circuits. By grounding one or more of the switches with fluid pressure from the manual shift valve, the PCM detects the selected gear range. When you disconnect the transmission electrical connector and the ignition is ON, the ground potential for three range signals from the PCM will be removed, and an invalid gear range will be indicated. Refer to Transmission Fluid Pressure Manual Valve Position Switch Logic .
When the PCM detects any of the following conditions, DTC P1810 sets.
| • | An invalid gear range. |
| • | A gear range other than PARK/NEUTRAL indicated at start-up. |
| • | A gear range which does not agree with the current gear ratio. |
DTC P1810 is a type B DTC.
| • | The engine is running. |
| • | The system voltage is 8-18 volts. |
One of the following three cases occurs:
The gear range is invalid for 60 seconds. Refer to the Transmission Fluid Pressure Manual Valve Position Switch Logic table.
| • | No VSS DTCs P0502 or P0503. |
| • | The engine speed is in transition from 0 RPM to greater than 600 RPM. |
| • | The vehicle speed is less than 3 km/h (2 mph). |
| • | D2, D4 or Reverse gear is indicated after start-up for 2 seconds. |
| • | No TP DTCs P0121, P0122, or P0123. |
| • | No VSS DTCs P0502 or P0503. |
| • | No AT ISS DTCs P0716 or P0717. |
| • | No shift solenoid DTCs P0751, P0753, P0756 or P0758. |
| • | The TP is 10 percent or greater. |
| • | The vehicle speed is 8 km/h (5 mph) or greater. |
| • | The engine torque is greater than 14 N·m (10 lb ft). |
| • | All of the above conditions are met and one of the following occurs for 5 seconds: |
| - | The TFP manual valve position switch indicates PARK/NEUTRAL when the gear ratio is less than 0.71:1, 4th gear. |
| - | The TFP manual valve position switch indicates REVERSE when the gear ratio is greater than 2.23:1, or less than 2.02:1. |
| - | The TFP manual valve position switch indicates D4, D3, D2 or D1 when the gear ratio indicates REVERSE. |
| • | The PCM illuminates the malfunction indicator lamp (MIL) during the second consecutive trip in which the Conditions for Setting the DTC are met. |
| • | The PCM elevates line pressure. |
| • | The PCM assumes a D4 shift pattern. |
| • | The PCM freezes transmission adapt functions. |
| • | The PCM records the operating conditions when the Conditions for Setting the DTC are met. The PCM stores this information as Freeze Frame and Failure Records. |
| • | The PCM stores DTC P1810 in PCM history during the second consecutive trip in which the Conditions for Setting the DTC are met. |
| • | The PCM turns OFF the MIL during the third consecutive trip in which the diagnostic test runs and passes. |
| • | A scan tool can clear the MIL/DTC. |
| • | The PCM clears the DTC from PCM history if the vehicle completes 40 warm-up cycles without an emission-related diagnostic fault occurring. |
| • | The PCM cancels the DTC default actions when the ignition switch is OFF long enough in order to power down the PCM. |
The numbers below refer to the step numbers on the diagnostic table.
This step tests the indicated range signal to the manual valve range actually selected.
This step tests for correct voltage from the PCM.
Step | Action | Value(s) | Yes | No | ||||||
|---|---|---|---|---|---|---|---|---|---|---|
1 | Did you perform the Powertrain Diagnostic System Check? | -- | Go to Step 2 | Go to Diagnostic System Check - Engine Controls in Engine Controls - 2.2L (L61) or Diagnostic System Check - Engine Controls in Engine Controls - 2.2L (LN2) | ||||||
2 | Did you perform the Transmission Fluid Checking Procedure? | -- | Go to Step 3 | Go to Transmission Fluid Check | ||||||
Important: Before clearing the DTC, use the scan tool in order to record the Freeze Frame and Failure Records. Using the Clear Info function erases the Freeze Frame and Failure Records from the PCM. Does each selected transmission range match the scan tool TFP Switch display? | -- | Go to Intermittent Conditions in Engine Controls - 2.2L (L61) or Intermittent Conditions in Engine Controls - 2.2L (LN2) | Go to Step 4 | |||||||
4 |
Refer to Transmission Control Replacement . Did the linkage require adjustment? | -- | Go to Step 17 | Go to Step 5 | ||||||
5 |
Does the scan tool TFP Switch A/B/C parameter indicate HI for all range states? | -- | Go to Step 6 | Go to Step 10 | ||||||
Refer to Automatic Transmission Inline Harness Connector End View . Does the voltage measure ignition voltage at all three terminals? | -- | Go to Step 7 | Go to Step 11 | |||||||
7 | Connect a fused jumper wire from terminal N of the J 44152 , signal A circuit, to ground while monitoring the scan tool TFP Switch A/B/C parameter. Refer to Automatic Transmission Inline Harness Connector End View . When the signal A circuit (CKT 1224) is grounded, do any other signal circuits indicate LOW? | -- | Go to Step 12 | Go to Step 8 | ||||||
8 | Connect a fused jumper wire from terminal R of the J 44152 , signal B circuit, to ground while monitoring the scan tool TFP Switch A/B/C parameter. Refer to Automatic Transmission Inline Harness Connector End View . When the signal B circuit (CKT 1225) is grounded, do any other signal circuits indicate LOW? | -- | Go to Step 12 | Go to Step 9 | ||||||
9 | Connect a fused jumper wire from terminal P of the J 44152 , signal C circuit, to ground while monitoring the scan tool TFP Switch A/B/C parameter. Refer to Automatic Transmission Inline Harness Connector End View . When the signal C circuit (CKT 1226) is grounded, do any other signal circuits indicate LOW? | -- | Go to Step 12 | Go to Step 13 | ||||||
10 | Test the signal circuits (CKTs 1224, 1225, and 1226) of the TFP manual valve position switch that did not indicate HI for a short to a ground between the PCM connector C1 and the AT inline 20-way connector. Refer to Circuit Testing and Wiring Repairs in Wiring Systems. Did you find and correct a condition? | -- | Go to Step 17 | Go to Step 16 | ||||||
11 | Test the signal circuits (CKTs 1224, 1225, and 1226) of the TFP manual valve position switch that did not indicate ignition voltage for an open between the PCM connector C1 and the AT inline 20-way connector. Refer to Circuit Testing and Wiring Repairs in Wiring Systems. Did you find and correct a condition? | -- | Go to Step 17 | Go to Step 16 | ||||||
12 | Test the affected signal circuits of the TFP manual valve position switch for a shorted together condition between the PCM connector C1 and the AT inline 20-way connector. Refer to Circuit Testing and Wiring Repairs in Wiring Systems. Did you find and correct a condition? | -- | Go to Step 17 | Go to Step 16 | ||||||
13 | Test the affected signal circuits of the TFP manual valve position switch for an open or shorted condition between the AT inline 20-way connector and the TFP manual valve position switch. Refer to Circuit Testing in Wiring Systems. Did you find and correct the condition? | -- | Go to Step 14 | Go to Step 15 | ||||||
14 | Replace the automatic transmission wiring harness. Refer to Wiring Harness Replacement . Did you complete the replacement? | -- | Go to Step 17 | -- | ||||||
15 | Replace the TFP manual valve position switch. Refer to Transmission Fluid Pressure Manual Valve Position Switch Replacement . Did you complete the replacement? | -- | Go to Step 17 | -- | ||||||
16 | Replace the PCM. Refer to Powertrain Control Module Replacement in Engine Controls - 2.2L (L61) or Powertrain Control Module Replacement in Engine Controls - 2.2L (LN2). Is the replacement complete? | -- | Go to Step 17 | -- | ||||||
17 | Perform the following procedure in order to verify the repair:
Has the test run and passed? | -- | System OK | Go to Step 1 |
The automatic transmission fluid pressure (TFP) manual valve position switch consists of six pressure switches. Five of the switches are normally open, and determine gear range selection. The sixth switch is normally closed, and detects torque converter clutch (TCC) release fluid pressure. The TFP manual valve position switch also contains the automatic transmission fluid temperature (TFT) sensor. These components are combined into one unit, attached to the control valve body.
The PCM provides battery voltage on the three range signal circuits. By grounding one or more of the switches with fluid pressure from the manual shift valve, the PCM detects the selected gear range. When you disconnect the transmission electrical connector and the ignition is ON, the ground potential for three range signals from the PCM will be removed, and an invalid gear range will be indicated. Refer to Transmission Fluid Pressure Manual Valve Position Switch Logic .
When the PCM detects any of the following conditions, DTC P1810 sets.
| • | An invalid gear range. |
| • | A gear range other than PARK/NEUTRAL indicated at start-up. |
| • | A gear range which does not agree with the current gear ratio. |
DTC P1810 is a type B DTC.
| • | The engine is running. |
| • | The system voltage is 8-18 volts. |
One of the following three cases occurs:
The gear range is invalid for 60 seconds. Refer to the Transmission Fluid Pressure Manual Valve Position Switch Logic table.
| • | No VSS DTCs P0502 or P0503. |
| • | The engine speed is in transition from 0 RPM to greater than 600 RPM. |
| • | The vehicle speed is less than 3 km/h (2 mph). |
| • | D2, D4 or Reverse gear is indicated after start-up for 2 seconds. |
| • | No TP DTCs P0121, P0122, or P0123. |
| • | No VSS DTCs P0502 or P0503. |
| • | No AT ISS DTCs P0716 or P0717. |
| • | No shift solenoid DTCs P0751, P0753, P0756 or P0758. |
| • | The TP is 10 percent or greater. |
| • | The vehicle speed is 8 km/h (5 mph) or greater. |
| • | The engine torque is greater than 14 N·m (10 lb ft). |
| • | All of the above conditions are met and one of the following occurs for 5 seconds: |
| - | The TFP manual valve position switch indicates PARK/NEUTRAL when the gear ratio is less than 0.71:1, 4th gear. |
| - | The TFP manual valve position switch indicates REVERSE when the gear ratio is greater than 2.23:1, or less than 2.02:1. |
| - | The TFP manual valve position switch indicates D4, D3, D2 or D1 when the gear ratio indicates REVERSE. |
| • | The PCM illuminates the malfunction indicator lamp (MIL) during the second consecutive trip in which the Conditions for Setting the DTC are met. |
| • | The PCM elevates line pressure. |
| • | The PCM assumes a D4 shift pattern. |
| • | The PCM freezes transmission adapt functions. |
| • | The PCM records the operating conditions when the Conditions for Setting the DTC are met. The PCM stores this information as Freeze Frame and Failure Records. |
| • | The PCM stores DTC P1810 in PCM history during the second consecutive trip in which the Conditions for Setting the DTC are met. |
| • | The PCM turns OFF the MIL during the third consecutive trip in which the diagnostic test runs and passes. |
| • | A scan tool can clear the MIL/DTC. |
| • | The PCM clears the DTC from PCM history if the vehicle completes 40 warm-up cycles without an emission-related diagnostic fault occurring. |
| • | The PCM cancels the DTC default actions when the ignition switch is OFF long enough in order to power down the PCM. |
The numbers below refer to the step numbers on the diagnostic table.
This step tests the indicated range signal to the manual valve range actually selected.
This step tests for correct voltage from the PCM.
Step | Action | Value(s) | Yes | No | ||||||
|---|---|---|---|---|---|---|---|---|---|---|
1 | Did you perform the Powertrain Diagnostic System Check? | -- | Go to Step 2 | Go to Diagnostic System Check - Engine Controls in Engine Controls - 2.4L | ||||||
2 | Did you perform the Transmission Fluid Checking Procedure? | -- | Go to Step 3 | Go to Transmission Fluid Check | ||||||
Important: Before clearing the DTC, use the scan tool in order to record the Freeze Frame and Failure Records. Using the Clear Info function erases the Freeze Frame and Failure Records from the PCM. Does each selected transmission range match the scan tool TFP Switch display? | -- | Go to Intermittent Conditions in Engine Controls - 2.4L | Go to Step 4 | |||||||
4 |
Refer to Transmission Control Replacement . Did the linkage require adjustment? | -- | Go to Step 17 | Go to Step 5 | ||||||
5 |
Does the scan tool TFP Switch A/B/C parameter indicate HI for all range states? | -- | Go to Step 6 | Go to Step 10 | ||||||
Refer to Automatic Transmission Inline Harness Connector End View . Does the voltage measure ignition voltage at all three terminals? | -- | Go to Step 7 | Go to Step 11 | |||||||
7 | Connect a fused jumper wire from terminal N of the J 44152 , signal A circuit, to ground while monitoring the scan tool TFP Switch A/B/C parameter. Refer to Automatic Transmission Inline Harness Connector End View . When the signal A circuit (CKT 1224) is grounded, do any other signal circuits indicate LOW? | -- | Go to Step 12 | Go to Step 8 | ||||||
8 | Connect a fused jumper wire from terminal R of the J 44152 , signal B circuit, to ground while monitoring the scan tool TFP Switch A/B/C parameter. Refer to Automatic Transmission Inline Harness Connector End View . When the signal B circuit (CKT 1225) is grounded, do any other signal circuits indicate LOW? | -- | Go to Step 12 | Go to Step 9 | ||||||
9 | Connect a fused jumper wire from terminal P of the J 44152 , signal C circuit, to ground while monitoring the scan tool TFP Switch A/B/C parameter. Refer to Automatic Transmission Inline Harness Connector End View . When the signal C circuit (CKT 1226) is grounded, do any other signal circuits indicate LOW? | -- | Go to Step 12 | Go to Step 13 | ||||||
10 | Test the signal circuits (CKTs 1224, 1225, and 1226) of the TFP manual valve position switch that did not indicate HI for a short to a ground between the PCM connector C1 and the AT inline 20-way connector. Refer to Circuit Testing and Wiring Repairs in Wiring Systems. Did you find and correct a condition? | -- | Go to Step 17 | Go to Step 16 | ||||||
11 | Test the signal circuits (CKTs 1224, 1225, and 1226) of the TFP manual valve position switch that did not indicate ignition voltage for an open between the PCM connector C1 and the AT inline 20-way connector. Refer to Circuit Testing and Wiring Repairs in Wiring Systems. Did you find and correct a condition? | -- | Go to Step 17 | Go to Step 16 | ||||||
12 | Test the affected signal circuits of the TFP manual valve position switch for a shorted together condition between the PCM connector C1 and the AT inline 20-way connector. Refer to Circuit Testing and Wiring Repairs in Wiring Systems. Did you find and correct a condition? | -- | Go to Step 17 | Go to Step 16 | ||||||
13 | Test the affected signal circuits of the TFP manual valve position switch for an open or shorted condition between the AT inline 20-way connector and the TFP manual valve position switch. Refer to Circuit Testing in Wiring Systems. Did you find and correct the condition? | -- | Go to Step 14 | Go to Step 15 | ||||||
14 | Replace the automatic transmission wiring harness. Refer to Wiring Harness Replacement . Did you complete the replacement? | -- | Go to Step 17 | -- | ||||||
15 | Replace the TFP manual valve position switch. Refer to Transmission Fluid Pressure Manual Valve Position Switch Replacement . Did you complete the replacement? | -- | Go to Step 17 | -- | ||||||
16 | Replace the PCM. Refer to Powertrain Control Module Replacement in Engine Controls - 2.4L. Is the replacement complete? | -- | Go to Step 17 | -- | ||||||
17 | Perform the following procedure in order to verify the repair:
Has the test run and passed? | -- | System OK | Go to Step 1 |