GM Service Manual Online
For 1990-2009 cars only
Makes
🢒
Chevrolet
🢒
2003
🢒
Cavalier
🢒
Transmission/Transaxle
🢒
Shift Lock Control
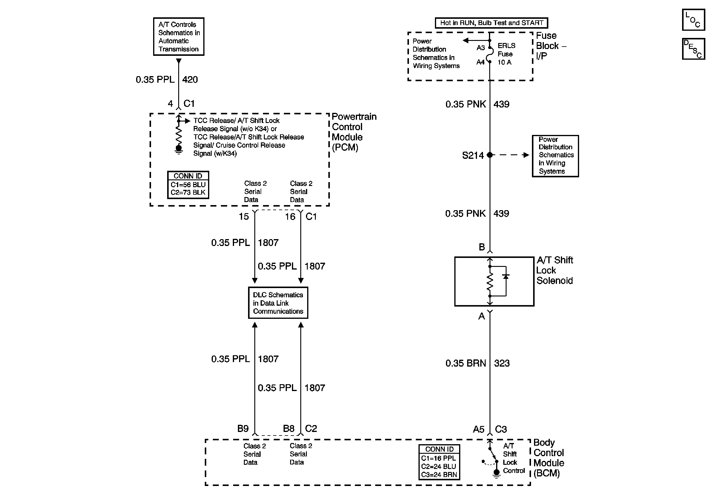
🢒 Shift Lock Control Schematics
Master Electrical Component List
Automatic Transmission Shift Lock Control Description and Operation
PNP Switch and TCC Release Signal
Fuse Block-I/P ERLS Fuse
Fuse Block-I/P ERLS Fuse
Data Link Connector (DLC)