GM Service Manual Online
For 1990-2009 cars only

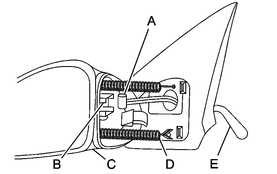
Object Number: 807660  Size: B3
  1. Adjustment Lever T End

  2. Lever Slide

  3. Mirror

  4. Spring

  5. Adjustment Lever Handle

If the mirror control lever is unable to operate the mirror adjustment, you can reset the adjustment lever on the driver's side mirror only, by following these steps:

  1. Roll down the driver's door window.
  2. Fold the mirror toward the front of the vehicle. Hold the mirror in position with your left hand.
  3. With your right hand, move the adjustment lever handle (inside the vehicle) in order to align the T end of the lever with the lever slide.
  4. Fold the mirror back to the original position in order to engage the T end of the lever with the lever slide.
  5. Make sure the mirror housing is fully seated to its base.