GM Service Manual Online
For 1990-2009 cars only
Makes
🢒
Chevrolet
🢒
2005
🢒
Cavalier
🢒
Vehicle Control Systems
🢒
Vehicle DTC Information
🢒 Instrument Cluster Schematics
Figure
1:
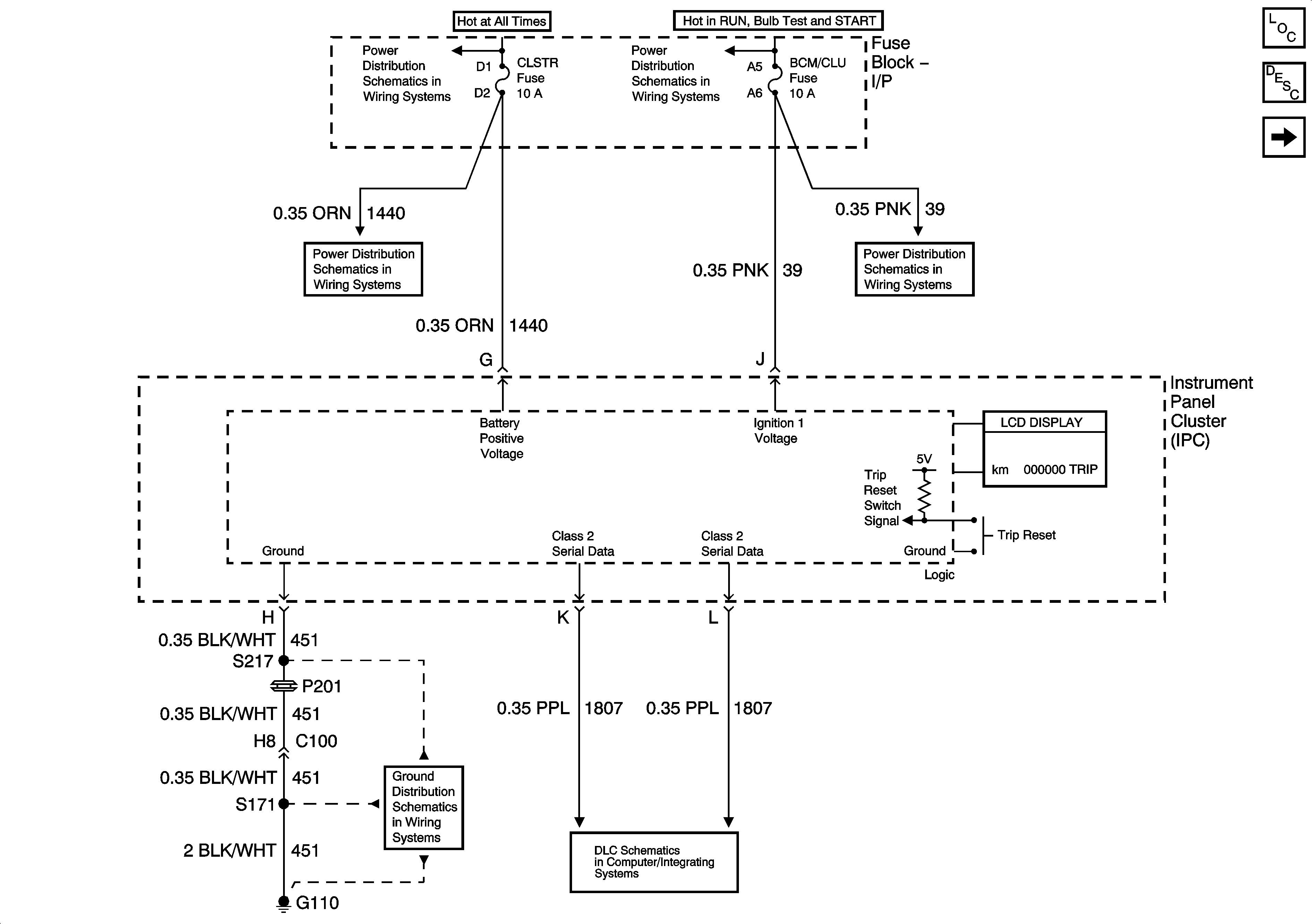
Power, Ground and Serial Data
Figure
2:
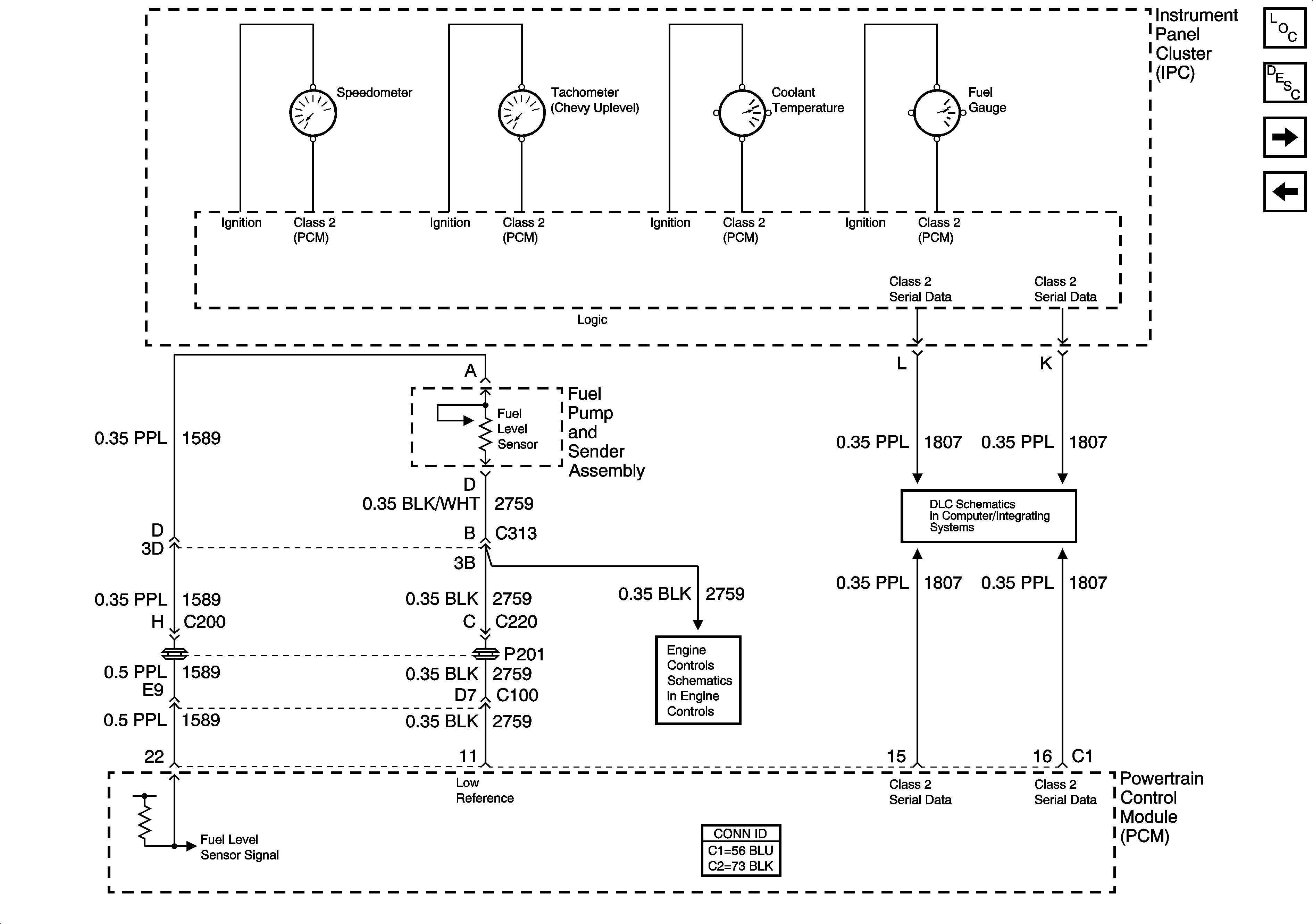
Gages
Figure
3:
Indicator Lights and EOP