Location | Description | Length | Width | Height |
|---|---|---|---|---|
2 | Center Line | -- | -- | -- |
a | Outer Tail Lamp Mounting Hole | 2695 | 676 614 - Pontiac Coupe | 776 739 - Pontiac Coupe |
b | Lower Tail Lamp Mounting Hole | 2759 | 570 483 - Pontiac Coupe | 756 710 - Pontiac Coupe |
c | Gage Hole | 2759 | 440 | 405 |
d | Outer Lower Bumper Mounting Hole | 2759 | 492 | 373 |
e | Outer Upper Bumper Mounting Hole | 2759 | 492 | 428 |
All dimensions are measured from a zero line, a center line, and a common datum. All dimensions are symmetrical unless otherwise specified. | ||||
Location | Description | Length | Width | Height |
|---|---|---|---|---|
1 | Datum Line | -- | -- | -- |
3 | Zero Line | -- | -- | -- |
a | Door Striker Lower Hole | 1284 | 771 | 561 |
b | Upper Hinge Upper Hole | 53 | 720 | 760 |
c | Upper Hinge Lower Hole | 23 | 720 | 748 |
d | Lower Hinge Upper Hole | 33 | 735 | 376 |
e | Lower Hinge Lower Hole | 63 | 735 | 366 |
f | Conduit Hole | 40 | 726 | 525 |
All dimensions are measured from a zero line, a center line, and a common datum. All dimensions are symmetrical unless otherwise specified. | ||||
Location | Description | Length | Width | Height |
|---|---|---|---|---|
1 | Datum Line | -- | -- | -- |
2 | Center Line | -- | -- | -- |
a | Center Mounting Bar | 1137 | 200 | 650 |
b | Headlamp Mounting | 1078 | 452 | 545 |
c | 10x19 Slot | 1251 | 517 | 462 |
d | 9 mm Hole | 1280 | 397 | 388 |
e | Cage Nut | 171 | 150 | 184 |
All dimensions are measured from a zero line, a center line, and a common datum. All dimensions are symmetrical unless otherwise specified. | ||||
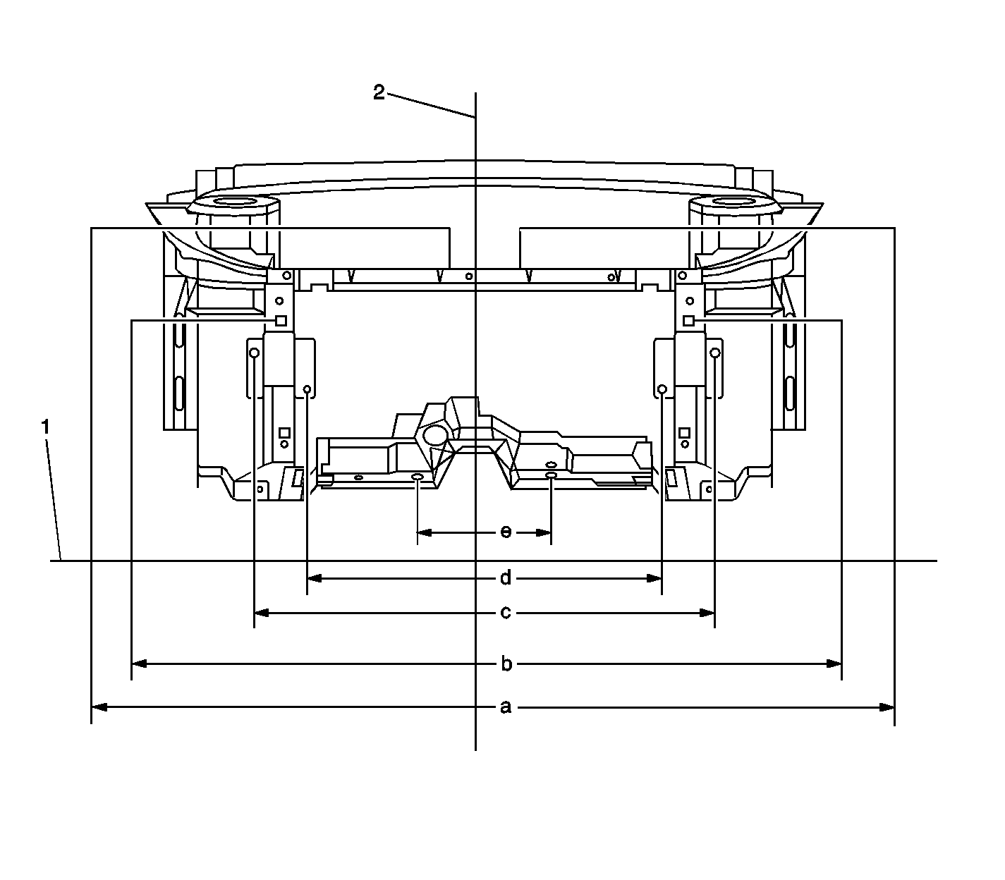
Location | Description | Length | Width | Height |
|---|---|---|---|---|
1 | Datum Line | -- | -- | -- |
2 | Center Line | -- | -- | -- |
3 | Zero Line | -- | -- | -- |
a | Lower Tie Bar Mount | 1120 | 450 | 200 |
b | Cradle Mounting | 455 | 437 | 374 |
c | 19 mm | 1575 | 563 | 230 |
d | Suspension Support | 1705 | 553 | 212 |
e | 19 mm Hole | 2391 | 440 | 375 |
f | 19 mm Hole | 2718 | 440 | 362 |
All dimensions are measured from a zero line, a center line, and a common datum. All dimensions are symmetrical unless otherwise specified. | ||||
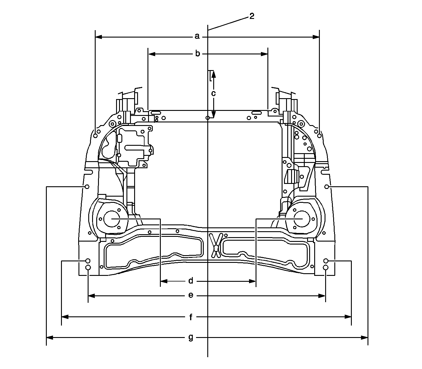
Location | Description | Length | Width | Height |
|---|---|---|---|---|
2 | Center Line | -- | -- | -- |
a | Fender Bolt Hole | 1012 - Chevrolet 1027 - Pontiac | 641 - Chevrolet 657 - Pontiac | 683 - Chevrolet 677 - Pontiac |
b | Headlamp Mounting | 1148 | 400 | 646 |
c | Gage Hole | 1105 | 200 | 650 |
d | Center of Strut Tower | 506 | 561 | 810 |
e | Front Hood Hinge Hole | 262 | 685 | 807 |
f | Rear Hood Hinge Hole | 202 | 685 | 813 |
g | Fender Bolt Hole | 725 | 673 | 755 |
All dimensions are measured from a zero line, a center line, and a common datum. All dimensions are symmetrical unless otherwise specified. | ||||
Location | Description | Length | Width | Height |
|---|---|---|---|---|
1 | -- | -- | -- | -- |
3 | -- | -- | -- | -- |
a | Rear Striker Upper Hole | 1908 | 760 | 776 |
b | Lower Rear Hinge Upper Hole | 997 | 776 | 473 |
c | Upper Rear Hinge Lower Hole | 997 | 759 | 721 |
d | Upper Rear Hinge Upper Hole | 1005 | 759 | 733 |
e | Front Striker Upper Hole | 975 | 750 | 587 |
f | Lower Rear Hinge Lower Hole | 965 | 776 | 463 |
g | Upper Front Hinge Lower Hole | 966 | 720 | 760 |
h | Upper Front Hinge Lower Hole | 53 | 720 | 748 |
i | Lower Front Hinge Upper Hole | 23 | 735 | 376 |
j | Lower Front Hinge Lower Hole | 63 | 735 | 366 |
k | Conduit Hole | 40 | 726 | 525 |
All dimensions are measured from a zero line, a center line, and a common datum. All dimensions are symmetrical unless otherwise specified. | ||||