GM Service Manual Online
For 1990-2009 cars only
Figure 1:

Headlamp, Fog Lamp Relay


Object Number: 924369  Size: LF
(1)Headlamp Left -- Right Similar
(2)Front Impact Bar
(3)Fog Lamp Relay
Figure 2:

Front Lamps Pontiac


Object Number: 902591  Size: LF
(1)Marker Lamp -- RF
(2)Headlamp -- RF
(3)Park/Turn Signal Lamp -- RF
(4)Park/Turn Signal Lamp -- LF
(5)Headlamp -- LF
(6)Marker Lamp -- LF
(7)Fog Lamp -- LF
(8)Fog Lamp -- RF
Figure 3:

Front Lamps Cavalier


Object Number: 902594  Size: LF
(1)Side Marker Lamp -- RF
(2)Park/Turn Signal Lamp -- RF
(3)Headlamp -- RF
(4)Headlamp -- LF
(5)Park/Turn Signal Lamp -- LF
(6)Side Marker Lamp -- LF
(7)Fog Lamp -- LF
(8)Fog Lamp -- RF
Figure 4:

Behind Right Front Headlamp


Object Number: 902203  Size: LF
(1)Daytime Running Lamps Connector
(2)DRL Resistor Connector
Figure 5:

Left Side of the Instrument Panel


Object Number: 600093  Size: SF
(1)Traction Control Switch Connector
(2)Ignition Switch
(3)Traction Control/Fog/I/P Dimmer Switch Assembly
(4)I/P Dimmer Switch Connector
(5)Fog Lamp Switch Connector
Figure 6:

Steering Column Components


Object Number: 600090  Size: LF
(1)Wiper/Washer Switch Connector
(2)Passlockā„¢ Sensor Connector
(3)Hazard Flasher Switch
(4)Wiper/Washer Switch
(5)Turn Signal/Multifunction Switch
(6)Turn Signal/Multifunction Switch Connectors
(7)Cruise Control ON/OFF Switch Connector
Figure 7:

LR of Engine Compartment and Brake Pedal Components


Object Number: 597183  Size: MF
(1)Brake Fluid Level Switch
(2)Electronic Brake Control Module (EBCM)
(3)Turn Signal/Hazard Flasher Module
(4)Stop Lamp Switch
Figure 8:

Headliner


Object Number: 577931  Size: LF
(1)Courtesy Reading Lamp - Right
(2)Courtesy Reading Lamp Switch - Right
(3)C202
(4)Courtesy Reading Lamp Switch -- Left
(5)Coutesy Reading Lamp -- Left
(6)Dome Lamp Assembly
Figure 9:

Rearview Mirror Lamps


Object Number: 577933  Size: LF
(1)Rearview Mirror Reading Lamps
Figure 10:

Under Center Console


Object Number: 600094  Size: LF
(1)Shift Indicator Lamp
Figure 11:

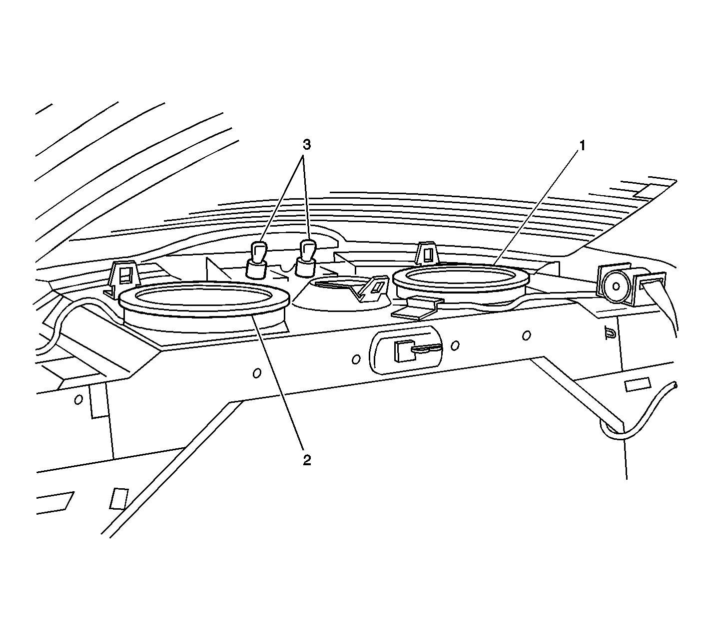
Rear Package Shelf -- Speakers and CHMSL


Object Number: 793695  Size: LF
(1)Left Rear Speaker
(2)Right Rear Speaker
(3)Center High Mounted Stop Lamp--Chevrolet (-T43)
Figure 12:

Rear Compartment Lamp


Object Number: 793715  Size: LF
(1)Rear Compartment Lamp
Figure 13:

Rear Lamps Pontiac


Object Number: 902551  Size: LF
(1)Center High Mounted Stop Lamp (CHMSL)
(2)Stop/Turn Lamp -- Right
(3)Backup Light --RR
(4)License Lamp
(5)Backup Light -- LR
(6)Stop/Turn Lamp -- Left
(7)Marker Lamp -- LR, RR Similar
Figure 14:

Rear Lamps Cavalier


Object Number: 902593  Size: LF
(1)Stop/Turn Signal Lamp -- LR
(2)Backup Lamp -- LR
(3)Center High Mounted Stop Lamp (CHMSL)
(4)Backup Lamp -- RR
(5)Stop/Turn Signal Lamp -- RR
(6)License Lamp